патент
№ RU 2557970
МПК F02B47/06

ДИЗЕЛЬНЫЙ ДВИГАТЕЛЬ И СПОСОБ ЕГО РАБОТЫ

Авторы:
Болотин Николай Борисович
Номер заявки
2014138676/06
Дата подачи заявки
24.09.2014
Опубликовано
27.07.2015
Страна
RU
Как управлять
интеллектуальной собственностью
Чертежи 
8
Реферат

Группа изобретений относится к области двигателестроения, а именно к двигателям, работающим на компонентах топлива и окислителя. Техническим результатом является повышение его мощности и КПД. Сущность изобретения заключается в том, что дизельный двигатель содержит цилиндр и установленную в нем форсунку горючего. На входе системы впуска двигателя установлена герметичная заслонка, а внутри системы размещена форсунка окислителя, к которой подсоединен трубопровод подачи окислителя и форсунка балластного продукта, к которой присоединен трубопровод подачи балластного продукта. К каждой форсунке горючего через распределитель присоединен трубопровод подачи горючего. Трубопроводы подачи окислителя, горючего и балластного продукта соединены с выходами из насосного агрегата, имеющего насосы окислителя, горючего и балластного продукта с общим валом, который соединен с коленчатым валом. Пропорционально расходу горючего изменяют расход окислителя. При этом синхронизация изменения расхода окислителя, горючего и балластного продукта выполнена за счет синхронизации частоты вращения коленчатого вала и общего вала насосов окислителя, горючего и балластного продукта. Пропорционально расходу горючего можно изменять расход балластного продукта. 2 н. и 4 з.п. ф-лы, 9 ил.

Формула изобретения

1. Дизельный двигатель, содержащий коленчатый вал с ведущей звездочкой, систему газораспределения, выполненную в головке цилиндров, в свою очередь, содержащую систему впуска, систему выхлопа продуктов сгорания, по меньшей мере, один цилиндр, с установленным в нем поршнем и форсункой горючего, отличающийся тем, что на входе системы впуска установлена герметичная заслонка, а внутри размещена форсунка окислителя, к которой подсоединен трубопровод подачи окислителя и форсунка балластного продукта, к которой присоединен трубопровод подачи балластного продукта, а к каждой форсунке горючего через распределитель присоединен трубопровод подачи горючего, трубопроводы подачи окислителя, горючего и балластного продукта соединены с выходами из насосного агрегата, имеющего насосы окислителя, горючего и балластного продукта с общим валом, который, в свою очередь, соединен с коленчатым валом.

2. Дизельный двигатель по п. 1, отличающийся тем, что он содержит блок управления.

3. Дизельный двигатель по п. 2, отличающийся тем, что он оборудован датчиком углового положения дроссельной заслонки.

4. Дизельный двигатель по п. 2, отличающийся тем, что датчик углового положения дроссельной заслонки соединен электрической связью с блоком управления.

5. Способ работы дизельного двигателя, включающий изменение расхода горючего, отличающийся тем, что пропорционально расходу горючего изменяют расход окислителя, при этом синхронизация изменения расхода окислителя, горючего и балластного продукта выполнена за счет синхронизации частоты вращения общего вала насосов окислителя, горючего и балластного продукта, соединенного с коленчатым валом.

6. Способ работы дизельного двигателя по п. 5, отличающийся тем, что пропорционально расходу горючего изменяют расход балластного продукта.

Описание

[1]

Изобретение относится к области двигателестроения, точнее, к дизельным двигателям внутреннего сгорания и их системам топливопитания.

[2]

Известен дизельный двигатель по патенту РФ на изобретение №2413854, МПК, F02B 69/04, опубл. 10.03.2011 г.

[3]

Этот двигатель включает системы питания дизельным топливом, газом с регуляторами их количества и систему питания воздухом. Система питания воздухом состоит из воздушного фильтра, воздухопроводов и впускного тракта. После воздушного фильтра в воздухопровод установлена смесительная камера с тремя входами и одним выходом. Один из входов смесительной камеры содержит скруббер Вентури и сообщен с воздушным фильтром. Два других входа соединены с источниками газообразного топлива с низким цетановым числом и с высоким цетановым числом соответственно и содержат устройства для регулировки количества газообразных топлив, подаваемых в смесительную камеру.

[4]

Недостатки - сложность топливной системы и неприспособленность двигателя для работы при недостатке атмосферного воздуха.

[5]

Известен дизельный двигатель и способ его работы по патенту РФ на изобретение №2388916, МПК F02B 19/18, опубл. 10.05.2010 г., прототип.

[6]

Способ работы двигателя внутреннего сгорания включает введение части топлива во всасывающий коллектор. Внешнее смесеобразование осуществляют путем введения части топлива в объеме 20% от полной цикловой подачи топлива во всасывающий коллектор. Внутреннее смесеобразование осуществляют путем впрыскивания в цилиндр оставшейся части топлива в объеме 80% от полной цикловой подачи с воспламенением смеси от сжатия. Полная цикловая подача топлива соответствует коэффициенту избытка воздуха α=1,0÷4,05. Устройство для осуществления комбинированного смесеобразования включает всасывающий коллектор, который снабжен смесительной камерой, выполненной в виде эллипсоида вращения. На смесительной камере установлена дополнительная форсунка и ультразвуковые магнитострикционные вибраторы, расположенные соосно с двух сторон под углом 30° к большой оси смесительной камеры.

[7]

Недостатки - невозможность работы двигателя в высокогорных условиях, в замкнутых помещениях и под водой при отсутствии воздуха и перегрев.

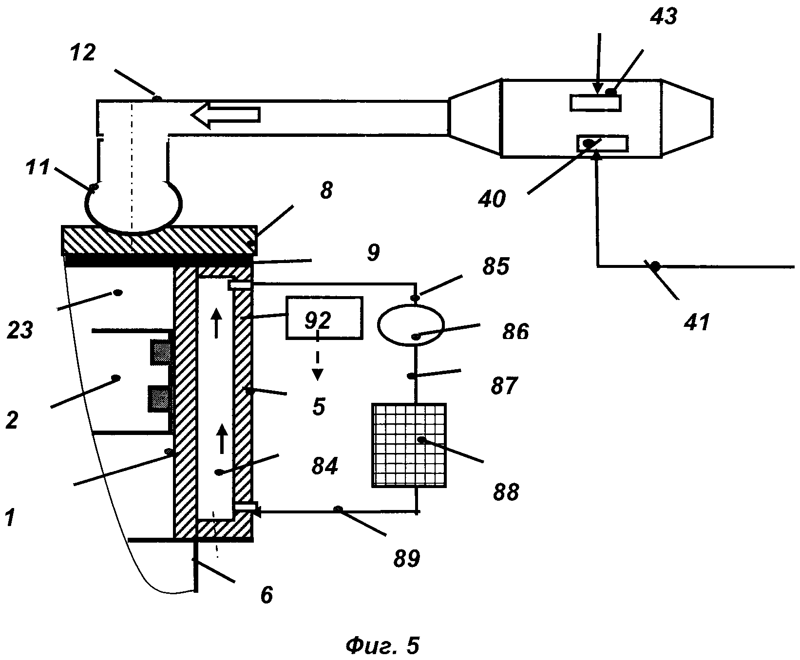
[8]

Задачами создания группы изобретения является обеспечение его работоспособности при отсутствии воздуха, повышение мощности и КПД на всех режимах.

[9]

Решение указанных задач достигнуто в дизельном двигателе, содержащем коленчатый вал с ведущей звездочкой, систему газораспределения, выполненную в головке цилиндров, в свою очередь, содержащую систему впуска, систему выхлопа продуктов сгорания, по меньшей мере, один цилиндр с установленным в нем поршнем и форсункой горючего, тем, что в на входе системы впуска установлена герметичная заслонка, а внутри размещена форсунка окислителя, к которой подсоединен трубопровод подачи окислителя и форсунка балластного продукта, к которой присоединен трубопровод подачи балластного продукта, а к каждой форсунке горючего через распределитель присоединен трубопровод подачи горючего, трубопроводы подачи окислителя, горючего и балластного продукта соединены с выходами из насосного агрегата, имеющего насосы окислителя, горючего и балластного продукта с общим валом, который, в свою очередь, соединен с коленчатым валом. Дизельный двигатель по может содержать блок управления. Дизельный двигатель может быть оборудован датчиком углового положения дроссельной заслонки. Датчик углового положения дроссельной заслонки может быть соединен электрической связью с блоком управления.

[10]

Решение указанных задач достигнуто в способе работы дизельного двигателя, включающем изменение расхода горючего, тем, что пропорционально расходу горючего изменяют расход окислителя, при этом синхронизация изменения расхода окислителя, горючего и балластного продукта выполнена за счет синхронизации частоты вращения общего вала насосов окислителя, горючего и балластного продукта, соединенного с коленчатым валом. Пропорционально расходу горючего можно изменять расход балластного продукта.

[11]

Сущность изобретения поясняется на чертежах Фиг. 1…9, где:

[12]

на фиг. 1 приведен вид с торца,

[13]

на фиг. 2 приведен разрез А-А,

[14]

на фиг. 3 приведен продольный разрез двигателя внутреннего сгорания по В-В,

[15]

на фиг. 4 приведен продольный разрез двигателя по Б-Б,

[16]

на фиг. 5 приведена система охлаждения двигателя,

[17]

на фиг. 6 приведен разрез D-D,

[18]

на фиг. 7 приведен насосный агрегат,

[19]

на фиг. 8 приведен график изменения расхода окислителя и горючего,

[20]

на фиг. 9 приведен график изменения расхода окислителя, горючего и балласта.

[21]

Дизельный двигатель внутреннего сгорания (в дальнейшем - двигатель) содержит (фиг. 1…9), по меньшей мере, один цилиндр 1 и установленный в нем поршень 2.

[22]

В дальнейшем описание изобретении приведено на примере двухцилиндрового четырехтактного дизельного двигателя. Тем не менее, изобретение распространяет свои права и на одноцилиндровый двигатель, а также на двигатели с любым числом цилиндров и с любым их расположением, например, с V- образным расположением цилиндров. Также изобретение может быть применено в двухтактных двигателях, имеющих жидкостное охлаждение. Каждый поршень 2 имеет компрессионные и маслосъемные кольца 3 и 4 соответственно. Цилиндры 1 выполнены за одно с корпусом 5, имеющим поддон 6 для масла 7. Над цилиндрами 1 установлена головка цилиндров 8, между ними установлена прокладка 9.

[23]

Двигатель имеет коленчатый вал 10, систему газораспределения, выполненную в головке цилиндров 8.

[24]

Система газораспределения содержит систему впуска 11 с впускным патрубком 12, дроссельной заслонкой 13 и ее приводом 14 и систему выпуска выхлопных газов 15 с глушителем 16 и распределительный вал 17 с кулачками 18.

[25]

Распределительный вал 17 установлены параллельно оси коленчатого вала 10. В головке цилиндров 8 выполнены впускные отверстия 19 с впускными клапанами 20 и выпускные отверстия 21 с выпускными клапанами 22. В цилиндрах 1 при работе образуются камеры сгорания 23.

[26]

Поршни 2 связаны с коленчатым валом 10 шатунами 24, в которых установлены пальцы 25. Шатуны 24 имеют шатунные подшипники 26. Коленчатый вал 10 установлен на коренных подшипниках 27 и уплотнен уплотнениями 28. Внутри коленчатого вала 10 выполнены маслоканалы 29.

[27]

В систему газораспределения входят ведущая звездочка 30, и ведомая звездочка 31 соединенные цепью (или ремнем) 32. Диаметр ведомой звездочки 30 в 2 раза больше диаметра ведущей звездочки 31. За два оборота коленчатого вала 10 распределительный вал 17 совершает всего один оборот (это относится только к четырехтактным двигателям).

[28]

Около бокового участка цепи 31 установлен натяжитель цепи 33.

[29]

Кроме того, двигатель имеет установленные в каждом цилиндре 1 топливные форсунки 34, соединенные трубопроводами высокого давления 35 с распределителем 36. К распределителю 36 присоединен трубопровод подачи топлива 37, другой конец которого соединен с насосным агрегатом 38. Трубопровод подачи топлива 37 содержит регулятор - отсечной клапан горючего 39.

[30]

В впускном патрубке 12 установлена форсунка окислителя 40, соединенная трубопроводом подачи окислителя 41 с насосным агрегатом 38. Трубопровод подачи окислителя 41 содержит отсечной клапан окислителя 42.

[31]

Во впускном патрубке 12 установлена также форсунка балластного продукта 43, соединенная трубопроводом подачи балласта 44 с насосным агрегатом 38. Трубопровод подачи балласта 44 содержит отсечной клапан балласта 45.

[32]

Насосный агрегат 38 (фиг. 7) содержит установленные на общем валу 46 насос окислителя 47, насос горючего 48, насос балласта 49 и редуктор 50. Редуктор 50 через вал отбора мощности 51 и второй редуктор 52 соединен с коленчатым валом 10. Распределитель 36 валом 53 через третий редуктор 54 соединен тоже с коленчатым валом 10.

[33]

Система подачи горючего содержит бак горючего 55, который трубопроводом горючего 56, содержащим клапан 57, соединен с входом в насос горючего 48. В качестве горючего может использоваться улеводородное топливо или спирт.

[34]

Система подачи окислителя содержит бак окислителя 58, который трубопроводом окислителя 99, содержащим клапан окислителя 60, соединен с входом в насос окислителя 47. В качестве окислителя используется кислород или перекись водорода или любой окислитель.

[35]

Система подачи балластного продукта содержит бак балласта 61, который трубопроводом балласта 62, содержащим клапан балласта 63 соединен с входом в насос балласта 49. В качестве балластного продукта используется вода или азот.

[36]

Применение балластного продукта необходимо для исключения перегрева двигателя. При работе только на окислителе и горючем температура в цилиндрах 1 может достичь 3500…4000°С. Современные системы охлаждения не могут обеспечить эффективное охлаждение, поэтому добавка в цилиндры 1 балластного продукта позволит уменьшить температуру продуктов сгорания до 1500…1800°С.

[37]

Более подробно конструкция насосного агрегата 38 показана на фиг. 7. Насосный агрегат 38 содержит насос окислителя 47, насос горючего 48 и насос балласта 49, имеющие общий вал 46, к которому присоединен электропривод 50.

[38]

Насос окислителя 47 содержит входной корпус 64, шнек 65, центробежное рабочее колесо 66, установленные на валу 46, выходной корпус 67, опору 68 и уплотнение 69.

[39]

Насос горючего 48 содержит входной корпус 70, шнек 71, центробежное рабочее колесо 72, выходной корпус 73, опору 74 и уплотнение 75.

[40]

Насос балласта 48 содержит входной корпус 76, шнек 77, центробежное рабочее колесо 78, выходной корпус 79, опору 80 и уплотнение 81.

[41]

Двигатель может быть оборудован блоком управления 82, который электрическими связями 83 соединен с приводом 14 и распределителем 36.

[42]

В двигателе применена система жидкостного охлаждения. Между цилиндрами 1 и корпусом 5 выполнена полость 84 для охлаждения цилиндров 1. которая отводящим трубопроводом 85, содержащим насос 86, промежуточный трубопровод 87, радиатор 88 и подводящий трубопровод 89, закольцована для циркуляции охлаждающей жидкости.

[43]

ДАТЧИКИ КОНТРОЛЯ

[44]

Двигатель может быть оборудован датчиком углового положения дроссельной заслонки 90 и датчиком давления за дроссельной заслонкой 91. Датчики 90 и 91 линиями связями 83 соединены с блоком управления 82 (фиг. 1). Это позволит скорректировать опережение зажигания при работе с минимальной нагрузкой на высоких оборотах коленчатого вала 10 для экономии топлива.

[45]

Кроме того, двигатель может быть оборудован датчиком температуры охлаждающей жидкости 92, датчиком частоты вращения коленчатого вала 93, датчиком углового положения распределительного вала 94, которые линиями связи 83 соединены с блоком управления 82.

[46]

Графики изменения расхода окислителя 95, горючего 96 приведены на фиг. 8. На фиг. 9 приведен аналогичный график и дополнительно график изменения расхода балласта 97.

[47]

РАБОТА ДВИГАТЕЛЯ

[48]

В исходном положении заслонка 13 закрыта для исключения выброса окислителя. Положение дроссельной заслонки 13 контролируется датчиком положения дроссельной заслонки 90.

[49]

Для запуска двигателя стартером (на фиг. 1…9 не показано) раскручивают коленчатый вал 10. Одновременно открывают клапаны 57, 60 и 66, горючее, окислитель и балластный продукт заполняют насосы 47, 48 и 49. Коленчатый вал 10 раскручивает общий вал 46 насосного агрегата 38 (фиг. 1 и 7). Давление горючего, окислителя и балластного продукта на выходах из насосов 47, 48 и 49 возрастает. Открывают клапаны 38, 42 и 45, горючее, окислитель и балластный продукт поступают в двигатель.

[50]

Окислитель из насоса окислителя 47 по трубопроводу окислителя 41 через клапан 42 подается на форсунки 40 и впрыскивается в впускной патрубок 12. Окислитель в цилиндр 1 подается из впускного патрубка 12 по системе впуска 11 (Фиг. 3), через впускные отверстия 19 при открытом впускном клапане 20 поступает в камеру сгорания 23. При этом первый поршень 2 находится в верхней мертвой точке ВМТ и начинает движение вниз, работая в режиме впуска топливовоздушной смеси. Смесь окислителя с балластным продуктом поступает в камеру сгорания 23 первого цилиндра 1. Система выхлопа 15 первого цилиндра 1 в это время закрыта. В это же время для второго цилиндра 1 впускное отверстие 19 закрыто впускным клапаном 20. Продукты сгорания из второго цилиндра 1 поступают в систему выхлопа 15 и глушитель 16 через выпускное отверстие 21 при открытом выпускном клапане 22. После того как коленчатый вал 10 совершит пол-оборота, произойдет сжатие топливовоздушной смеси в камере сгорания 23 первого цилиндра 1 и блок управления 82 по линии связи 83 подает сигнал на распределитель 36, который управляет подачей горючего на соответствующую форсунку горючего 34 (сначала на форсунку горючего 34 первого цилиндра 1 первую). Вследствие высокой степени сжатия в цилиндрах смесь окислителя с балластным продуктом разогреваются до высокой температуры. Происходит самовоспламенение горючего. Таким образом, циклы повторяются поочередно во всех цилиндрах 1. Цилиндры 1 нагреваются до температуры 500…700°С, и без охлаждения двигатель неработоспособен.

[51]

Наиболее эффективно жидкостное охлаждение. Для этого вокруг всех цилиндров 1 сформирована полость 84, заполненная охлаждающей жидкостью (вода или антифриз). Нагретая охлаждающая жидкость отбирается из полости 84 трубопроводом отбора 85 и насосом 86 через промежуточный трубопровод 87 подается в радиатор 88, где охлаждается воздухом и возвращается в полость 84 по трубопроводу возврата 89 (фиг. 1).

[52]

Для выключения двигателя выключают выключатель 52 и закрывают клапана 54, 60, 63 и 38, 42, 45.

[53]

РЕГУЛИРОВАНИЕ РЕЖИМА РАБОТЫ ДВИГАТЕЛЯ

[54]

При изменении расхода горючего 95 (фиг. 8) пропорционально изменяют расход окислителя 96. Это делается синхронизаций работы насосов 47, 48 и 49, установленных на одном общем валу 46 и имеющих привод от коленчатого вала 10.

[55]

Также целесообразно пропорционально расходу горючего 95 и окислителя 96 изменять расход балластного продукта 97 (фиг. 9). Это позволит на всех режимах работать при оптимальном соотношении компонентов топлива и получать максимальный КПД двигателя.

[56]

КОНТРОЛЬ РАБОТЫ

[57]

Датчик положения дроссельной заслонки 90 позволяет контролировать ее положение при установлении соответствующего режима работы двигателя. Датчик давления за дроссельной заслонкой 91 дублирует эту функцию и контролирует это давление. Датчик температуры охлаждающей жидкости 92 позволяет контролировать перегрев двигателя.

[58]

Датчик частоты вращения коленчатого вала 93 контролирует частоту вращения коленчатого вала 10 (режим и нагрузку), а датчик углового положения распределительного вала 94 постоянно измеряет угловое положение распределительного вала 17 для управления моментом впрыска горючего через блок управления 82 и распределитель горючего 36.

[59]

Применение изобретения позволило:

[60]

1. Обеспечить работоспособность двигателя в разреженной атмосфере и при отсутствии воздуха.

[61]

2. Повысить КПД двигателя на всех режимах за счет синхронного изменения расхода горючего, окислителя и балластного продукта применением привода всех насосов от коленчатого вала.

[62]

3. Исключить перегрев двигателя за счет использования балластного продукта и наличия системы жидкостного охлаждения.

[63]

4. Повысить надежность и ресурс системы за счет исключения влияния регулировок и износа деталей механизма газораспределения.

Как компенсировать расходы
на инновационную разработку
Похожие патенты