патент
№ RU 2555286
МПК F27B7/14

ВРАЩАЮЩАЯСЯ ПЕЧЬ

Авторы:
Теляшев Эльшад Гумерович Трошин Антон Михайлович Арпишкин Игорь Михайлович
Все (6)
Номер заявки
2013154456/02
Дата подачи заявки
06.12.2013
Опубликовано
10.07.2015
Страна
RU
Как управлять
интеллектуальной собственностью
Чертежи 
2
Реферат

Изобретение относится к вращающейся печи для получения портландцементного клинкера. Вращающаяся печь содержит корпус с уклоном, опирающийся через бандажи на опорные ролики, привод, питательную трубу для подачи обжигаемого материала, головку для подачи в печь топлива и воздуха, цепной фильтр-подогреватель и теплообменники, установку для водяного охлаждения и центральную систему смазки, при этом корпус в поперечном сечении выполнен в виде эллипса или эллипса с эксцентриситетом. Стенки корпуса с внутренней части выполнены ровными, привод выполнен двойным и состоит из двух электродвигателей, двух редукторов, двух подвенцовых шестерен, одного венцового колеса. Корпус вращающейся печи выполнен с уклоном в 3,5-4. Печь снабжена цепной завесой и периферийным загружателем. Изобретение обеспечивает интенсификацию процесса теплообмена между сырьем и теплом дымовых газов, исключение наличия мертвых зон во время перемешивания сыпучего материала. 3 з.п. ф-лы, 3 ил.

Формула изобретения

1. Вращающаяся печь для получения портландцементного клинкера, содержащая водоохлаждаемый корпус, установленный с уклоном и опирающийся в середине печи посредством бандажей на опорные ролики, привод вращения корпуса, питательную трубу для подачи обжигаемого материала, головку для подачи в печь топлива и воздуха со стороны горячего конца и установленные со стороны холодного конца печи теплообменники и цепной фильтр-подогреватель, отличающаяся тем, что она снабжена установленными внутри печи со стороны ее холодного конца цепной завесой для обеспыливания отходящих газов и периферийным загружателем для возврата уловленной пыли в печь, при этом корпус с внутренней стороны в поперечном сечении выполнен в виде эллипса или эллипса с эксцентриситетом.

2. Вращающаяся печь по п.1, отличающаяся тем, что стенки корпуса с внутренней стороны выполнены ровными.

3. Вращающаяся печь по п.1, отличающаяся тем, что привод вращения корпуса состоит из двух электродвигателей, двух редукторов, двух подвенцовых шестерен и одного венцового колеса.

4. Вращающаяся печь по п.1, отличающаяся тем, что корпус вращающейся печи установлен с уклоном в 3,5-4º.

Описание

[1]

Изобретение относится к устройствам для получения портландцементного клинкера и может быть использовано в цементной промышленности.

[2]

Известны вращающиеся печи, в которых корпус смонтирован горизонтально и изготовлен, по меньшей мере, из одной свернутой в цилиндрические витки, соединенные друг с другом по продольным кромкам, полосы, согнутой по размещенным под углом к ее продольным кромкам линиям сгиба, с образованием по наружной и внутренней поверхностям направленных в одну сторону винтовых линий и винтовых поверхностей в виде карманов многоугольной формы, расстояние между линиями сгиба равно длине каждого элемента многоугольника или из одной полосы, согнутой по прямым линиям, размещенным под углом к кромкам полосы с образованием одинаковых параллелограммов, расположенных на полосе попеременно в противоположные стороны, при этом полоса свернута в цилиндрические витки, соединенные друг с другом по продольным кромкам, с образованием по периметру однонаправленных ломаных винтовых линий и одинаковых ломаных винтовых карманов треугольной формы по наружной и внутренней поверхностям корпуса (Патент РФ №2421669, МПК F27B 7/14, опубл. 10.03.2011 г., патент РФ №2421670, МПК F27B 7/14, опубл. 10.03.2011 г.).

[3]

Основными недостатками известных устройств являются сложность в изготовлении корпуса и наличие мертвых зон (карманов) в местах сопряжения полос.

[4]

Известна вращающаяся печь для получения портландцементного клинкера, принятая за прототип, которая содержит цилиндрический корпус, опирающийся через бандажи на опорные ролики, двойной привод, состоящий из двух электродвигателей и двух редукторов, двух подвенцовых шестерен, одного венцового колеса, питательную трубу для подачи сыпучего материала, головки, через которую в печь подается топливо и воздух, цепной фильтр-подогреватель и теплообменники. Корпус имеет уклон 3.5-4° и снабжен установкой для водяного охлаждения и центральной системой смазки (Комар А.Г. / Строительные материалы и изделия // А.Г. Комар / учебник. Высшая школа, 1988, с. 147-148).

[5]

Недостатком известного устройства является недостаточная интенсивность теплообмена, ограниченные технологические возможности и наличие мертвых зон во время перемешивания сыпучего материала.

[6]

Задачей настоящего изобретения является интенсификация процессов теплообмена и перемешивания, а также ликвидация мертвых зон во время перемешивания сыпучего материала.

[7]

Указанная задача решается тем, что вращающаяся печь для получения портландцементного клинкера, содержащая водоохлаждаемый корпус с центральной системой смазки, установленный с уклоном и опирающийся в середине печи посредством бандажей на опорные ролики, привод вращения корпуса, питательную трубу для подачи обжигаемого материала, головку для подачи в печь топлива и воздуха со стороны горячего конца, и установленные со стороны холодного конца печи теплообменники и цепной фильтр-подогреватель, согласно изобретению, она снабжена установленными внутри печи со стороны ее холодного конца цепной завесой для обеспыливания отходящих газов и периферийным загружателем для возврата уловленной пыли в печь, при этом корпус с внутренней стороны в поперечном сечении выполнен в виде эллипса или эллипса с эксцентриситетом.

[8]

Целесообразно стенки корпуса с внутренней стороны выполнить ровными.

[9]

Целесообразно привод вращения корпуса выполнить из двух электродвигателей, двух редукторов, двух подвенцовых шестерен и одного венцового колеса.

[10]

Целесообразно корпус вращающейся печи установить с уклоном в 3,5-4°.

[11]

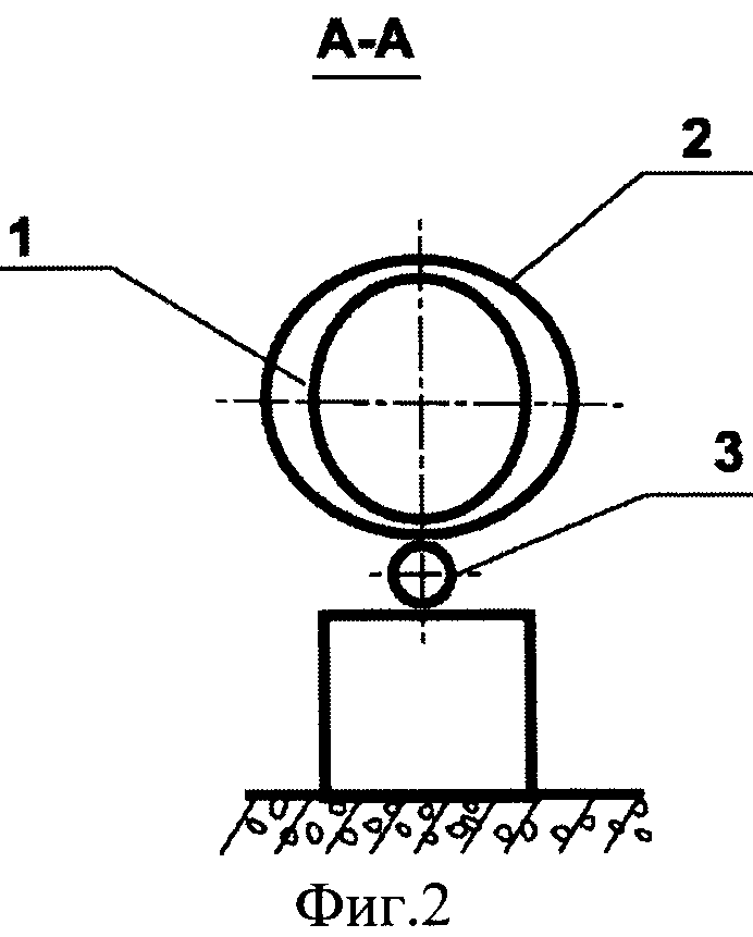
На фиг. 1 показан главный вид вращающейся печи для получения портландцементного клинкера, на фиг. 2 - поперечное сечение устройства с эллиптическим сечением обжиговой трубы печи, на фиг. 3 - поперечное сечение устройства обжиговой трубы печи в виде эллипса с эксцентриситетом.

[12]

Вращающаяся печь для получения портландцементного клинкера состоит из корпуса 1, смонтированного под углом 3,5-4° и выполненного в поперечном сечении в виде эллипса или эллипса с эксцентриситетом, опирающегося через круглые бандажи 2 на опорные ролики 3. Привод печи двойной и состоит из двух электродвигателей 4, двух редукторов 5, одного шестеренчатого венцового колеса 6. В середине печи, на одной из ее опор устанавливается пара роликов (горизонтально) - для контроля над смещением печи вдоль оси (вниз или вверх), на фиг. 1 они не показаны. Вращающаяся печь для получения портландцементного клинкера снабжена с одной стороны питательной трубой 7 для подачи частиц сыпучих материалов в корпус 1, а с противоположной стороны - головкой 8 для подачи топлива и воздуха. Для улучшения теплопередачи и обеспыливания газов внутри печи, в холодном ее конце размещается цепной фильтр-подогреватель 9, создается цепная завеса 10 и устанавливаются теплообменники 11. Также печь снабжена периферийным загружателем 12, оборудована установкой для водяного охлаждения 14 и центральной системой смазки 15.

[13]

Вращающаяся печь для получения портландцементного клинкера работает следующим образом.

[14]

Корпус 1, смонтированный под углом 3,5-4°, начинает вращаться, частицы сыпучих материалов подают в питательную трубу 7 при помощи ковшовых или объемных дозаторов, находящихся у холодного конца печи. Со стороны головки 8 в печь (корпус 1) подают топливо и воздух. В результате сгорания топлива получаются горячие газы, поток которых направлен от горячего конца печи (корпуса 1) к холодному, навстречу движущимся частицам сыпучих материалов. Частицы сыпучих материалов, находясь внутри вращающегося корпуса 1, выполненного в поперечном сечении в виде эллипса, резко «подпрыгивают» вверх и, поднявшись по направлению вращения корпуса 1, скатываются лавинообразно вниз, таким образом осуществляется пульсирующий режим перемешивания. Цепной фильтр-подогреватель 9 улучшает теплопередачу и обеспыливает газы. Пыль, уловленная в результате газоочистки, возвращается обратно в печь. Она транспортируется пневмонасосом в бункер (на фиг. 1 не показаны), а из него при помощи периферийного загружателя 12 направляется в полую часть печи, расположенную рядом с цепной завесой 10.

[15]

Предлагаемое изобретение позволяет интенсифицировать процесс теплообмена между сырьем и теплом дымовых газов, избежать наличия мертвых зон во время перемешивания сыпучего материала.

Как компенсировать расходы
на инновационную разработку
Похожие патенты