патент
№ RU 2547200
МПК F16K3/06

ЗАДВИЖКА ДИСКОВАЯ

Авторы:
Бакиров Денис Рафаилович Машков Виктор Алексеевич Бакиров Дмитрий Рафаилович
Все (4)
Номер заявки
2014104175/06
Дата подачи заявки
07.02.2014
Опубликовано
10.04.2015
Страна
RU
Как управлять
интеллектуальной собственностью
Чертежи 
3
Реферат

Изобретение относится к трубопроводной арматуре. Задвижка состоит из двух полукорпусов, связанных друг с другом. В расточке одного из полукорпусов установлен шибер с внутренней радиусной расточкой, в которой выполнена зубчатая насечка, с которой кинематически связаны зубья приводного вала, пропущенного через расточку, в которой размещается подпятник, с подшипником скольжения внутри. В торце приводного вала выполнено отверстие, в котором размещен шарик, с опорой на внутреннюю коническую проточку в теле подпятника. На торце подпятника выполнены поперечные пазы, а на цилиндрической поверхности - продольные пазы для подачи смазки от масленки к трущимся поверхностям зубчатого зацепления. Шибер установлен на оси вращения и содержит на периферии радиусной расточки карманы. В осевых каналах полукорпусов установлены подпружиненные седла, поджимаемые к шиберу, с обеспечением герметичного контакта. При вращении приводного вала обеспечивается открытие-закрытие потока рабочей жидкости шибером, который вращается на оси. Механические примеси и окалина, попадающие в смазку, накапливаются в карманах на периферии радиусной расточки. 4 ил.

Формула изобретения

Задвижка дисковая, содержащая корпус из двух соединенный между собой полукорпусов, шибера с зубчатым венцом в радиусной расточке, установленный в расточке полукорпуса на оси вращения, с возможностью взаимодействия с зубьями приводного вала, установленного на подшипниках скольжения, отличающаяся тем, что устройство снабжено подпятником, размещенным в цилиндрической расточке полукорпуса и выполненным в виде стакана, на внешней цилиндрической поверхности которого выполнен ряд продольных пазов, совмещенных с поперечными пазами, выполненными на его днище с коническим отверстием внутри, обращенным большим основанием конуса к приводному валу, на торце которого выполнено отверстие и установлен шарик, с возможностью взаимодействия с поверхностью конуса в теле подпятника, причем в шибере на периферийных участках радиусной расточки выполнены карманы, а подшипник скольжения размещен внутри подпятника.

Описание

[1]

Изобретение относится к области нефтяного и химического машиностроения и может быть использовано в качестве запирающего устройства устьевой фонтанной арматуры и на трубопроводах.

[2]

Известна задвижка (II) (см. пат. РФ. №2.246.652, М. кл. F16K 3/06; 27/04, опубл. 20.02.2005, бюл. №5).

[3]

Задвижка состоит из корпуса в виде двух соединенных между собой полукорпусов, между которыми размещен дисковый шибер с зубчатым сектором. Последний взаимодействует с приводной шестерней. Соединение полукорпусов - посредством бандажных полуколец.

[4]

Дисковый шибер имеет не менее двух проходных отверстий. Зубчатый сектор на дисковом шибере выполнен замкнутым.

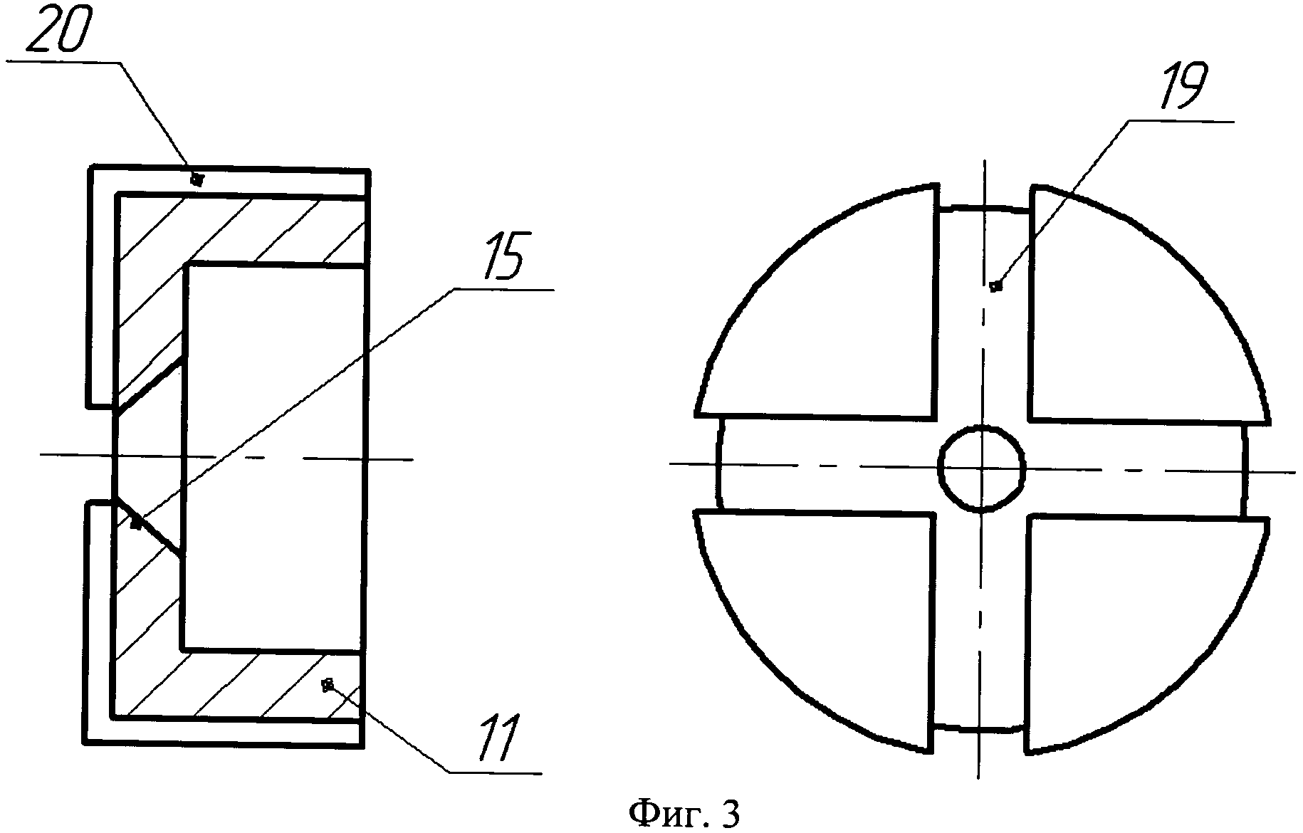
[5]

К недостаткам конструкции относится то, что монтаж-соединение полукорпусов бандажными полукольцами, нагретыми до высокой температуры, не может обеспечить надежного и герметичного соединения:

[6]

- при демонтаже задвижки могут возникнуть трудности со съемом полуколец бандажа, поскольку их необходимо нагреть, но при этом за счет тепломассопереноса будут нагреваться полукорпуса, что сложно контролировать;

[7]

- расположение зубчатого сектора по отношению к шестерне, имеется в виду внешнее зацепление, требует приложения большего крутящего момента на вращение дискового шибера;

[8]

- конструкция задвижки не предусматривает подачу смазки к подшипникам скольжения и зубчатому зацеплению шестерни с зубьями венца.

[9]

Известна задвижка (см. пат. РФ №2.229.051, М. кл. F16K 3/06, опубл. 20.05.2004 г.).

[10]

Задвижка состоит из двух полукорпусов, между которыми закреплено распорное кольцо, во внутренней полости которого размещен дисковый шибер с проходным каналом. Механизм поворота шибера состоит из выполненного в нем зубчатого сектора, с которым взаимодействует приводная шестерня. Дисковый шибер центрируется по внутреннему диаметру распорного кольца. На внутренней поверхности распорного кольца, симметрично приводной шестерни, со стороны зубчатого сектора выполнена сегментная смазочная канавка. Длина смазочной канавки равна длине регулирования. Диаметр проходного канала расчетный. Упорные подшипники в виде контурных уплотнительных элементов установлены на торцовых поверхностях шибера.

[11]

Для исключения попадания рабочей среды в периферийную полость на опорных поверхностях дискового шибера установлены упорные подшипники в виде контурных уплотнительных элементов. Уплотнение шибера обеспечивается двумя подпружиненными седлами.

[12]

Смазка в зазоры между шибером и полукорпусами, а также в зону зубчатого зацепления при сборке задвижки подается через нагнетательный клапан и специальные каналы, выполненные в вал - шестерне и шибере.

[13]

Известна задвижка (см. пат. РФ №2.286.499, М. кл. F16K 3/06, опубл. 10.05.2006 г.).

[14]

Задвижка состоит из двух соединенных между собой полукорпусов, между которыми закреплено промежуточное кольцо, в полости которого размещен дисковый шибер с зубчатым венцом, установленным с возможностью взаимодействия с шестерней приводного вала. Зубчатый венец установлен в полости, образованной шибером, промежуточным кольцом и полу корпусами.

[15]

Работа задвижки

[16]

При вращении вала - шестерни зубчатый венец проворачивается на оси из положения «открыто» в положение «закрыто». Угол поворота приводного вала зависит от основных размеров деталей задвижки: дискового шибера и параметров зубчатого венца.

[17]

К недостаткам конструкции устройства можно отнести следующие:

[18]

- наличие промежуточного кольца между полукорпусами требует достаточно высокой точности изготовления сопрягаемых деталей и дополнительных затрат рабочего времени;

[19]

- подача смазочной жидкости и консерванта с применением клапана нагнетательного к зубчатому зацеплению затруднено из-за отсутствия подающего канала;

[20]

- центровка приводного вала обеспечивается применением подшипника скольжения со стороны установки клапана нагнетательного;

[21]

- в процессе работы задвижки в положении «открыто» при длительной эксплуатации имеет место изменение свойств смазочной и консервирующей жидкостей, появление окислов, что приводит к неполному «открытию», «закрытию» шибера, поскольку на границе нахождения шестерни откладываются примеси.

[22]

Технический результат, который может быть получен при реализации предлагаемого изобретения, заключается в следующем:

[23]

- прямая подача смазочной жидкости к зубчатой передаче;

[24]

- прямая подача консервирующей жидкости в свободные полости внутри задвижки;

[25]

- возможность центровки приводного вала относительно зубьев венца радиусной расточки шибера за счет наличия тела качения (шарика) с подпятником на одной опоре и подшипника скольжения - на другой опоре;

[26]

- возможность вывода масла и консервирующей жидкости с механическими частицами из зоны взаимодействия зубьев приводного вала с зубьями венца в карманы на периферии радиусной расточки.

[27]

Технический результат достигается тем, что задвижка дисковая состоит из двух соединенных между собой полукорпусов, шибера с зубчатым венцом в радиусной расточке, установленным на оси вращения, приводного вала на подшипниках скольжения.

[28]

В левом полукорпусе выполнена цилиндрическая расточка и установлен подпятник в виде стакана. На его внешней цилиндрической поверхности выполнен ряд продольных пазов, совмещенных с поперечными пазами, выполненными на его днище. Также данный стакан снабжен коническим отверстием, обращенным большим основанием конуса к приводному валу, на торце которого выполнено отверстие и установлена сферическая опора - шарик, с возможностью взаимодействия с поверхностью конуса в теле подпятника. В шибере, на периферии радиусной расточки выполнены карманы, а подшипник скольжения размещен внутри подпятника.

[29]

Конструкция задвижки дисковой показана на чертежах, где:

[30]

- фиг.1 - конструкция задвижки в разрезе;

[31]

- фиг.2 - конструкция дискового шибера;

[32]

- фиг.3 - конструкция опоры (подпятника);

[33]

- фиг.4 - указатель положения шибера.

[34]

Задвижка дисковая состоит из левого полукорпуса 1 с технологической расточкой 2, в которой на оси 3 установлен шибер 4 с радиусной расточкой 5. Данная расточка снабжена внутренним зубчатым венцом 6 (см. фиг.2), с которым кинематически связан приводной вал 7, пропущенный через цилиндрическую расточку 8 в правом полукорпусе 9. В левом полукорпусе 1 выполнена цилиндрическая расточка 10 осесимметрично расточке 8 в правом полукорпусе 9, в которой размещается подпятник 11 с подшипником скольжения 12, охватывающим выходной конец приводного вала 7.

[35]

В торце приводного вала 7 выполнено отверстие 13, в котором размещается шарик 14, установленный с возможностью кинематического контакта с внутренней конической проточкой 15 в теле подпятника 11.

[36]

Правый полукорпус 9 снабжен подшипником 16, охватывающим приводной вал 7 и поджимаемый крышкой 17 за счет крепления болтами.

[37]

Левый полукорпус 1 снабжен клапаном нагнетательным 18, установленным на резьбе, проточный канал которого гидравлически связан с поперечными пазами 19 на днище подпятника 11, на внешней цилиндрической поверхности которого выполнены продольные пазы 20, связанные гидравлически друг с другом (см. фиг.3).

[38]

Радиусная расточка 5 выполнена в виде дуги, угол раскрытия которой достаточен для обеспечения открытия-закрытия задвижки, при нахождении приводного вала 7 в крайнем правом или крайнем левом положениях. В теле дискового шибера 4 со стороны, противоположной размещению приводного вала 7, на периферии радиусной расточки 5 выполнены карманы 21 (см. фиг.2) для накопления окалины и механических примесей.

[39]

На зубчатом венце шибера, на участках между зубьями, выполнены сквозные отверстия 22, которые служат для вытеснения жидкости из зоны зацепления при вращении вала-шестерни и его взаимодействии с зубчатым венцом шибера. Эти отверстия также выполняют роль карманов для накопления окалины и механических примесей.

[40]

В осевых каналах 23 левого полукорпуса 1 и правого полукорпуса 9 выполнены технологические расточки 24 и 25, в которых размещаются седла 26 и 27, поджимаемые к поверхности шибера 4 пружинами 28 и 29.

[41]

Кольцевой зазор между седлами 26 и 27 и полукорпусами 1 и 9 перекрыт уплотнительными кольцами 30 и 31.

[42]

Технологический зазор между левым 1 и правым 9 полукорпусами герметизирован уплотнительным кольцом 32. Изоляция кольцевого зазора между приводным валом 7 и крышкой 17 обеспечивается уплотнительным кольцом 33. Выходной конец приводного вала 7 снабжен присоединительным местом, на которое крепится съемная рукоятка 34.

[43]

Работа задвижки дисковой

[44]

Задвижка присоединительными фланцами монтируется на месте применения. При этом (см. фиг.1) задвижка показана в положении гидравлической связи осевого канала 23 левого полукорпуса 1 с осевым каналом 23 правого полукорпуса 9. В этом положении задвижка считается открытой на пропуск рабочей жидкости. Седла 26 и 27 усилием пружин 28 и 29 поджимаются к торцовым поверхностям шибера 4.

[45]

При открытии клапана нагнетательного 18 осуществляют подачу под давлением смазки внутрь расточки 10 в левом полукорпусе 1, откуда смазка по поперечным пазам 19 на днище подпятника 11 и продольным пазам 20 подается к контактирующим зубьям венца 6 и зубьям приводного вала 7 по зазору между шибером 4 и внутренней поверхностью технологической расточки 2 в левом полукорпусе 1. Также с помощью нагнетательного клапана 18 осуществляют подачу консервирующей жидкости для заполнения всех свободных внутренней полостей, находящихся внутри расточки 2 на левом полукорпусе 1, и радиусной расточки 5, находящейся на шибере 4.

[46]

В режиме закрытия на присоединительное место на приводном валу 7 устанавливается рукоятка 34. Вращением приводного вала 7 приводят во вращение шибер 4 на оси 3 с выведением из взаимодействия с седлами 26 и 27 по месту расположения осевого отверстия шибера 4.

[47]

Для вывода информации о положении шибера предусмотрена система индикации (см. фиг.4). Она состоит из накрученного на резьбовую часть приводного вала 7, лимба 35 и установленного в него указателя 36. При вращении приводного вала 7 вокруг оси против часовой стрелки шиберный диск с помощью зубчатой передачи устанавливается в положение «открыто» так, что его отверстие под условный проход становится соосным с отверстиями 23 на полукорпусах 1 и 9. При вращении вала лимб 35 по резьбовой части совершает линейное перемещение вдоль оси вала. Вместе с лимбом перемещается установленный в нем указатель 36 внутри прорези 37 овальной формы, выполненной в крышке 17. Рядом с крайними точками прорези предусмотрены отметки о положении закрытия или открытия шибера (вид А на фиг.4). При совпадении положения указателя 36 с соответствующей отметкой на прорези 37 выводится информация о закрытии или открытии шибера 4.

[48]

При длительной эксплуатации задвижки возможно изменение в худшую сторону смазочных свойств масел, например их окисление или попадание окалины, механических частиц. Для удаления механических частиц на периферии радиусной расточки 5, в теле шибера 4 выполнены карманы 21 для накопления осадка.

[49]

Источники информации

[50]

1. Пат. РФ №2.246.652, М. кл. F16K 3/06; 27/04, опубл. 20.02.2005, бюл. №5.

[51]

2. Пат. РФ №2.229.051, М. кл. F16K 3/06, опубл. 20.05.2004 г.

[52]

3. Пат. РФ №2.286.499, М. кл. F16K 3/06, опубл. 10.05.2006 г.

Как компенсировать расходы
на инновационную разработку
Похожие патенты