патент
№ RU 2543035
МПК A61F2/26

КОЛПАЧОК ПРОТЕЗА ПОЛОВОГО ЧЛЕНА, АГРЕГАТ И ИНСТРУМЕНТ ДЛЯ ИМПЛАНТАЦИИ

Авторы:
МОРНИНГСТАР Рэнди Л. (US)
Правообладатель:
Номер заявки
2012110556/14
Дата подачи заявки
26.08.2010
Опубликовано
27.02.2015
Страна
RU
Дата приоритета
15.12.2025
Номер приоритета
Страна приоритета
Как управлять
интеллектуальной собственностью
Реферат

Заявленная группа изобретений относится к медицине, а именно к хирургическим способам лечения эректильной дисфункции. Имплантируемое устройство протеза полового члена включает в себя цилиндр и колпачок, выполненный с возможностью прикрепления к цилиндру. Колпачок состоит из секций корпуса и наконечника. Секция корпуса содержит углубление для прикрепления к концу цилиндра имплантируемого протеза полового члена. Имплантацию осуществляют инструментом, включающим рукоять с рычагами. Рычаги дальними концами соединяют с пазами колпачка на дистальном конце цилиндра. Система и способ имплантации протеза полового члена в тело пациента при протаскивании имплантируемого цилиндра обеспечивают введение цилиндра протеза без разрезов и швов в области дистального конца полового члена и травматизации пещеристых тел. 4 н. и 33 з.п. ф-лы, 15 ил.

Формула изобретения

1. Система имплантируемого протеза полового члена, содержащая:
надувной цилиндр протеза полового члена;
колпачок, который содержит конец наконечника, противоположный концу основания, который прикреплен к концу надувного цилиндра протеза полового члена, причем колпачок определяет по меньшей мере два паза, выполненные в нем, при этом пазы содержат первый паз и второй паз, выполненные в колпачке на стороне, противоположной первому пазу, при этом пазы проходят под углом так, что они сходятся в направлении конца наконечника колпачка; и
инструмент, который содержит первый и второй рычаги, где первый и второй рычаги содержат дистальные концевые участки, каждый из которых выполнен с возможностью вхождения в зацепление с соответствующим ему одним из двух пазов, выполненных в колпачке, и удерживания надувного цилиндра протеза полового члена между первым и вторым рычагами.

2. Система по п.1, в которой каждый рычаг имеет изогнутую внутреннюю поверхность, которая дополняет кривизну наружной поверхности надувного цилиндра протеза полового члена.

3. Система по п.1 или 2, в которой инструмент содержит рукоятку, причем первый и второй рычаги выходят из рукоятки и содержат сходящиеся дистальные концевые участки.

4. Система по п.1, в которой каждый паз, выполненный в колпачке, имеет отверстие паза, проделанное снаружи колпачка, и конец паза, заканчивающийся внутри колпачка, при этом каждый конец паза отделен от и разнесен с другим концом паза.

5. Система по п.1, в которой каждый рычаг, первый и второй, определяет множество сквозных отверстий, и каждое сквозное отверстие выполнено с возможностью вмещения фиксирующего приспособления, которое выполнено с возможностью закрепления рычагов и надувного цилиндра протеза полового члена в теле пациента.

6. Система по п.5, в которой по меньшей мере один из рычагов - первый или второй - имеет градиентную маркировку.

7. Система по п.1, в которой каждый паз содержит клиновидный паз с отверстием паза, имеющим ширину бóльшую, чем ширина конца паза, причем отверстие паза проходит приблизительно по 25% длины окружности колпачка.

8. Система по п.1, в которой колпачок представляет собой колпачок проксимального конца.

9. Система по п.1, в которой колпачок представляет собой удлинитель заднего наконечника, выполненный с возможностью прикрепления к проксимальному концу надувного цилиндра протеза полового члена.

10. Колпачок, выполненный с возможностью прикрепления к цилиндру имплантируемого протеза полового члена, где колпачок содержит:
секцию корпуса и секцию наконечника, где секция корпуса определяет углубление, которое пригодно для прикрепления к концу цилиндра имплантируемого протеза полового члена, а секция наконечника заканчивается наконечником, содержащим изогнутую наружную поверхность, причем колпачок определяет по меньшей мере один паз, выполненный в нем, при этом паз выходит из секции корпуса и имеет ось паза, которая пересекается с продольной осью колпачка.

11. Колпачок по п.10, дополнительно содержащий шовное отверстие, выполненное в секции наконечника, где шовное отверстие имеет ось шовного отверстия, по существу ортогональную продольной оси колпачка.

12. Колпачок по п.10 или 11, в котором колпачок содержит длину колпачка, при этом углубление в секции корпуса проходит, по меньшей мере, по большей части длины колпачка вдоль продольной оси колпачка.

13. Колпачок по п.10, в котором цилиндр имплантируемого протеза полового члена выполнен из первого материала, а колпачок выполнен из второго материала, который отличается от первого материала.

14. Колпачок по п.13, в котором первый материал содержит уретан, а второй материал содержит силикон, при этом уретановый цилиндр покрывается коллоидальным диоксидом кремния для прикрепления к нему силиконового колпачка.

15. Колпачок по п.10, в котором паз проходит между отверстием паза, выполненным в секции корпуса, и концом паза, который заканчивается в секции наконечника.

16. Колпачок по п.10, в котором паз проходит между отверстием паза, выполненным в секции наконечника, и концом паза, который заканчивается в секции наконечника.

17. Колпачок по п.10, в котором паз проходит между отверстием паза и концом паза, который заканчивается в секции наконечника, причем отверстие паза ориентировано вдоль поперечной оси, которая по существу ортогональна продольной оси, и паз выполнен в виде клиновидного паза с отверстием паза, имеющим поперечный размер вдоль поперечной оси больше, чем ширина конца паза.

18. Колпачок по п.10, в котором секция корпуса содержит наружную поверхность и клапан, выходящий из наружной поверхности, а паз проходит между отверстием паза, выполненным между клапаном и наружной поверхностью, и концом паза, который заканчивается внутри секции наконечника.

19. Колпачок по п.10, который содержит второй паз, смещенный относительно паза на 180 градусов, где каждый из паза и второго паза имеет ось паза, которая сходится в направлении наконечника, пересекая продольную ось колпачка под острым углом.

20. Колпачок по п.19, в котором каждый паз содержит клиновидный паз с отверстием, имеющим ширину большую, чем ширина конца паза, причем отверстие паза проходит приблизительно по 25% длины окружности колпачка.

21. Колпачок по п.10, в котором колпачок представляет собой удлинитель заднего наконечника, при этом углубление в секции корпуса выполнено с возможностью прикрепления к проксимальному концу цилиндра и таким образом выполнено с возможностью имплантации проксимально в направлении ножки полового члена.

22. Колпачок по п.10, в котором секция наконечника отличается отсутствием шовного отверстия.

23. Способ имплантации протеза полового члена в тело пациента, в котором:
вводят в зацепление колпачок, который прикреплен к цилиндру протеза полового члена, с дистальным концом инструмента;
осуществляют поддержку цилиндра протеза полового члена между двумя опорными рычагами инструмента; и
вставляют два опорных рычага инструмента и цилиндр, закрепленный между двумя опорными рычагами, в пещеристое тело пациента.

24. Способ по п.23, в котором вводят в зацепление колпачок, который прикреплен к бесшовному протезу полового члена, с дистальным концом инструмента.

25. Способ по п.23 или 24, в котором этап, при котором вводят в зацепление колпачок, который прикреплен к цилиндру протеза полового члена, с дистальным концом инструмента включает скольжение каждого дистального конца из пары сходящихся дистальных концов инструмента в соответствующий паз, выполненный на противоположной стороне колпачка, при этом каждый паз проходит под углом, сходясь в направлении конца колпачка.

26. Способ по п.25, в котором направляют конец колпачка внутрь венца головки полового члена пациента при помощи инструмента.

27. Способ по п.25, в котором направляют конец колпачка в направлении ножки полового члена пациента при помощи инструмента.

28. Способ по п.23, в котором вводят в зацепление колпачок, который прикреплен к дистальному концу цилиндра протеза полового члена, с дистальным концом инструмента и вставляют два опорных рычага инструмента и цилиндр, закрепленный между двумя опорными рычагами, в пещеристое тело пациента в направлении головки полового члена пациента; и
вводят в зацепление колпачок, который прикреплен к проксимальному концу цилиндра протеза полового члена, с дистальным концом инструмента и вставляют два опорных рычага инструмента и цилиндр, закрепленный между двумя опорными рычагами, в проксимальную часть пещеристого тела пациента, которое проходит вблизи ножки полового члена пациента.

29. Способ по п.23, в котором прикрепляют опорные рычаги инструмента к ретрактору.

30. Способ по п.29, в котором отсоединяют опорные рычаги инструмента от ретрактора и извлекают инструмент из пещеристого тела пациента.

31. Способ по п.23, в котором по меньшей мере один из двух опорных рычагов инструмента содержит метки длины, в котором дополнительно:
измеряют длину пещеристого тела пациента при помощи меток длины на инструменте; и
выбирают длину цилиндра протеза полового члена в соответствии с измеренной длиной пещеристого тела.

32. Способ по п.23, в котором дополнительно:
по меньшей мере частично растягивают пещеристое тело при помощи инструмента.

33. Способ имплантации протеза полового члена в тело пациента, при этом способ содержит этапы, на которых:
получают доступ к пещеристому телу пациента;
растягивают пещеристое тело пациента;
закрепляют цилиндр бесшовного протеза полового члена между двумя опорными рычагами инструмента; и
вставляют бесшовный протез полового члена в растянутое пещеристое тело пациента при помощи двух опорных рычагов инструмента.

34. Способ по п.33, в котором вводят в зацепление два сходящихся дистальных конца инструмента с соответствующими пазами, которые выполнены в колпачке, прикрепленном к бесшовному протезу полового члена.

35. Способ по п.34, в котором вводят в зацепление два сходящихся дистальных конца инструмента с соответствующими пазами, которые выполнены в колпачке, прикрепленном к проксимальному концу бесшовного протеза полового члена.

36. Способ по любому из пп.33, 34 или 35, в котором дополнительно:
измеряют длину растянутого пещеристого тела пациента при помощи шкалы, нанесенной по меньшей мере на один из двух опорных рычагов инструмента.

37. Способ по любому из пп.33, 34, 35, в котором дополнительно:
закрепляют фиксирующее приспособление между щелью, выполненной на каждом из двух опорных рычагов инструмента, и приспособлением для ретракции, размещенным на теле пациента.

Описание

[1]

Предпосылки

[2]

Имплантированные протезы полового члена обеспечивают оказание помощи мужчинам с эректильной дисфункцией.

[3]

В типичной процедуре имплантации половой член пациента рассекается, обнажая пару пещеристых тел, которые расположены аксиально в ориентации бок о бок внутри полового члена. Каждое пещеристое тело растягивается, например, путем постепенного введения штырей большего размера из нержавеющей стали в пещеристое тело до тех пор, пока не будет создано пространство, размер которого пригоден для вмещения цилиндра протеза полового члена. Цилиндр, как правило, оснащается шов-держалкой, прикрепленной к его дальнему концу. Инструмент (например, интродьюсер «Furlow») вводится в пространство, образованное в пещеристом теле, для направления иглы (например, иглы «Keith»), прикрепленной к шов-держалке через дистальную поверхность головки полового члена. Игла и нить затем пропускаются через головку полового члена, втягивая цилиндр протеза полового члена в дистальное положение внутри пещеристого тела, что располагает дальний конец протеза, приблизительно в середине головки полового члена. И хотя описанный выше подход, как показано, является эффективным при лечении эректильной дисфункции, игла образует повреждение в головке полового члена, что может приводить к кровотечению и дискомфорту для пациента.

[4]

Краткое описание

[5]

Одна из особенностей предусматривает колпачок, сконфигурированный для прикрепления к цилиндру имплантируемого протеза полового члена. Колпачок включает секцию корпуса и секцию наконечника. Секция корпуса определяет углубление, которое пригодно для прикрепления к одному из концов цилиндра имплантируемого протеза полового члена, и секция наконечника заканчивается наконечником, имеющим изогнутую наружную поверхность. Секция наконечника определяет по меньшей мере один сформированный в ней паз, который проходит из секции корпуса и имеет ось паза, которая пересекается с продольной осью колпачка.

[6]

Краткое описание графических материалов

[7]

Сопроводительные графические материалы включены для того, чтобы обеспечить дальнейшее понимание вариантов осуществления изобретения, включены в данное описание и составляют часть данного описания. Графические материалы иллюстрируют варианты осуществления и совместно с описанием служат для разъяснения принципов вариантов осуществления изобретения. Другие варианты осуществления изобретения и многие из предполагаемых преимуществ вариантов осуществления изобретения будут легко приняты во внимание, поскольку они становятся более понятными при отсылке к нижеследующему подробному описанию. Элементы графических материалов необязательно масштабированы друг относительно друга. Похожие ссылочные позиции обозначают соответствующие сходные детали.

[8]

Фигура 1 - вид в перспективе системы, включающей инструмент, сконфигурированный для имплантации агрегата протеза полового члена согласно одному из вариантов осуществления изобретения.

[9]

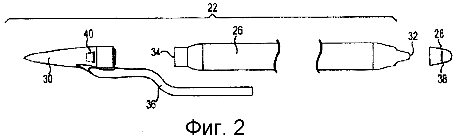
Фигура 2 - покомпонентный вид сбоку агрегата протеза полового члена, проиллюстрированного на фигуре 1.

[10]

Фигура 3 - вид в перспективе инструмента, проиллюстрированного на фигуре 1.

[11]

Фигура 4 - вид сверху инструмента, проиллюстрированного на фигуре 1.

[12]

Фигура 5 - вид в поперечном разрезе, полученный через дальний конец инструмента, проиллюстрированного на фигуре 4.

[13]

Фигура 6 - развернутый вид сверху дальнего конца инструмента, проиллюстрированного на фигуре 4.

[14]

Фигура 7 - вид в перспективе колпачка, прикрепляемого к цилиндру протеза полового члена согласно одному из вариантов осуществления изобретения.

[15]

Фигура 8 - вид сбоку колпачка, проиллюстрированного на фигуре 7.

[16]

Фигура 9 - вид в поперечном разрезе колпачка, проиллюстрированного на фигуре 8, где вид в поперечном разрезе развернут на 180 градусов относительно ориентации по фигуре 8.

[17]

Фигура 10А - развернутый вид в поперечном разрезе дальнего конца колпачка, проиллюстрированного на фигуре 9.

[18]

Фигура 10В - развернутый вид в поперечном разрезе другого варианта осуществления колпачка.

[19]

Фигура 11 - вид сбоку системы, проиллюстрированной на фигуре 1, включающей инструмент, введенный в зацепление с агрегатом протеза полового члена.

[20]

Фигура 12 - вид сверху пациента, подготовленного к хирургической имплантации агрегата протеза полового члена, проиллюстрированного на фигуре 11.

[21]

Фигура 13 - вид сверху пациента с агрегатом протеза полового члена, вставленным дистально в одно из пещеристых тел полового члена, согласно одному из вариантов осуществления изобретения.

[22]

Фигура 14А - вид сбоку агрегата протеза полового члена, включающего ближний колпачок заднего наконечника, содержащий паз, который имеет размер, подходящий для вмещения инструмента, проиллюстрированного на фигуре 3.

[23]

Фигура 14В - вид в перспективе инструмента, показанного на фигуре 3, прикрепленного к колпачку заднего наконечника агрегата протеза полового члена, проиллюстрированного на фигуре 14А.

[24]

Фигура 14С - вид в перспективе агрегата протеза полового члена, проиллюстрированного на фигуре 1, и другого варианта осуществления инструмента, сконфигурированного для имплантации агрегата в одно из пещеристых тел пациента.

[25]

Фигура 15 - вид сбоку удлинителя заднего наконечника, прикрепляемого к агрегату протеза полового члена, проиллюстрированному на фигуре 2, в соответствии с одним из вариантов осуществления изобретения.

[26]

Подробное описание

[27]

В нижеследующем подробном описании делается отсылка к сопроводительным графическим материалам, которые составляют его часть и на которых в качестве иллюстрации показаны конкретные варианты осуществления изобретения, в которых изобретение может быть применено. В этом отношении терминология, относящаяся к направлению, такая как «верхний», «нижний», «передний», «задний», «ведущий», «ведомый» и т.д., используется с отсылкой к ориентации на описываемой фигуре (фигурах). Поскольку компоненты вариантов осуществления изобретения могут располагаться в большом количестве различных ориентаций, терминология, относящаяся к направлению, используется с целью иллюстрации и никоим образом не является ограничивающей. Следует понимать, что могут использоваться и другие варианты осуществления изобретения, и конструкционные или логические изменения могут быть сделаны без отступления от объема настоящего изобретения. Поэтому нижеследующее подробное описание не следует воспринимать в ограничивающем смысле, а объем настоящего изобретения определяется прилагаемой формулой изобретения.

[28]

Следует понимать, что характерные признаки различных иллюстративных вариантов осуществления изобретения, описанные в данном описании, могут комбинироваться друг с другом, если прямо не обусловлено иное.

[29]

Мягкая ткань включает кожную ткань, подкожную ткань, связки, сухожилия или мембраны, но не включает кость.

[30]

Термин «проксимальный» в том смысле, как он используется в данной заявке, означает, что деталь располагается рядом или поблизости от точки прикрепления, или от начала координат, или от центральной точки - как расположенная в направлении центра человеческого тела. Термин «дистальный» в том смысле, как он используется в данной заявке, означает, что деталь располагается вдали от точки прикрепления, или от начала координат, или от центральной точки - как расположенная в направлении от центра человеческого тела. Дальний конец - это наиболее удаленное концевое положение дальнего участка описываемого предмета, в то время как ближний конец - это ближайшее концевое положение ближнего участка описываемого предмета. Например, головка полового члена расположена дистально, а ножка полового члена и луковица полового члена располагаются проксимально относительно тела мужчины.

[31]

Острый угол определяется как угол меньше 90°. Ортогональный угол - это прямой угол, который представляет собой угол 90°. Таким образом, острый угол - это не прямой угол.

[32]

Бесшовный протез полового члена - это протез полового члена, который отличается отсутствием шовного отверстия, образованного на дальнем конце протеза. Традиционные протезы полового члена содержат шов, прикрепленный к шовному отверстию, образованному на дальнем конце протеза, где шов сконфигурирован для прохождения через головку полового члена с целью содействия вставке протеза дистально в пещеристое тело. Напротив, бесшовный протез полового члена, описываемый в данном описании, не содержит шовного отверстия и сконфигурирован для вставки в дальний конец пещеристого тела без прохождения шва, или иглы, через головку полового члена.

[33]

Варианты осуществления изобретения предусматривают агрегат имплантируемого протеза полового члена, который включает бесшовный цилиндр, сконфигурированный для имплантации в тело пациента. Агрегат включает колпачок, содержащий секцию наконечника, которая определяет по меньшей мере один или, предпочтительно, два паза, которые сходятся в направлении дальнего конца колпачка. В одном из вариантов осуществления изобретения предусматривается инструмент, содержащий сходящиеся дальние концевые части, где каждая сходящаяся дальняя концевая часть сконфигурирована для вхождения в зацепление с соответствующим одним из пазов, сформированных в колпачке. Инструмент сконфигурирован для удерживания протезного цилиндра между парой разнесенных рычагов. Сходящиеся пазы в сочетании со сходящимися дальними концевыми частями инструмента обеспечивают механизм зацепления, который позволяет инструменту вставлять цилиндр протеза полового члена в дальний конец тела полового члена пациента без употребления швов.

[34]

Фигура 1 иллюстрирует вид в перспективе системы 20 для имплантации протеза полового члена в соответствии с одним из вариантов осуществления изобретения. Система 20 включает агрегат 22 имплантируемого протеза полового члена и инструмент 24, сконфигурированный для имплантации агрегата 22 в одно из пещеристых тел пациента. В одном из вариантов осуществления изобретения комплект 22 включает надувной цилиндр 26, колпачок 28 дальнего конца и колпачок 30 ближнего конца (или удлинитель 30 заднего наконечника). Инструмент 24 сконфигурирован для вхождения в зацепление с одним или обоими концевыми колпачками 28, 30 по отдельности для облегчения имплантации агрегата 22 в тело пациента без использования шва, который обычно употребляется для протаскивания традиционного цилиндра к дистальному концу пещеристого тела.

[35]

Фигура 2 иллюстрирует покомпонентный вид сбоку агрегата 22 протеза полового члена. Надувной цилиндр 26, как правило, предусматривается в виде продолговатого цилиндра, который закрыт на дальнем конце 32 и закрыт на ближнем конце 34 тогда, когда прикреплен колпачок 30 ближнего конца. При такой сборке цилиндр 26 является герметизированным и сконфигурированным для надувания при введении в трубку 36 текучей среды (например, как правило, солевого раствора или газа).

[36]

В одном из вариантов осуществления изобретения надувной цилиндр 26 изготавливается из уретанового материала, продаваемого под торговой маркой Bioflex и поставляемого Coloplast Corp., Миннеаполис, Миннесота. В одном из вариантов осуществления изобретения дальний конец 32 цилиндра 26 погружается в уретановый материал, который затвердевает, обеспечивая требуемую форму ведущего конца цилиндра 26, где дальний конец 32 цилиндра 26 включает ступеньку так, чтобы концевой колпачок 28 при прикреплении к дальнему концу 32 гладко переходил в дальний конец 32. В одном из вариантов осуществления изобретения колпачок 28 дальнего конца формируется из силикона, который является разнородным с уретановым материалом цилиндра 26 Bioflex. Для облегчения скрепления этих разнородных материалов в одном из вариантов осуществления изобретения уретановый материал цилиндра 26 покрывается коллоидальным диоксидом кремния для подготовки уретановой поверхности к связыванию с силиконовым колпачком 28.

[37]

Один или оба колпачка, колпачок 28 дальнего конца и колпачок 30 ближнего конца формируются так, чтобы они включали пазы 38, 40 соответственно, которые сходятся внутрь колпачка и имеют размер, пригодный для вмещения зажимных концов инструмента 24, что позволяет осуществлять бесшовную имплантацию агрегата 22.

[38]

Фигура 3 иллюстрирует вид в перспективе инструмента 24. В одном из вариантов осуществления изобретения инструмент 24 включает рукоять 50, содержащую спинку 52, первый и второй захваты 54, 56, выходящие из спинки 52, и первый и второй рычаги 64, 66, выходящие, соответственно, из захватов 54, 56. Рычаги 64, 66 заканчиваются парой противостоящих и сходящихся дальних концов 65, 67 соответственно. В одном из вариантов осуществления изобретения инструмент 24 формируется из металла или пластмассы так, чтобы спинка 52 обеспечивала захваты 54, 56 жесткостью пружины, которая позволяла бы рычагам 64, 66 функционировать в качестве пружинных щипцов. Один из пригодных материалов для изготовления инструмента 24 включает, например, нержавеющую сталь калибра 22 (толщиной около 0,029 дюймов), которая является электрополированной.

[39]

В одном из вариантов осуществления изобретения рычаги 64, 66, как правило, являются прямыми и проходят вдоль главной оси А инструмента 24, которая расположена под углом В относительно рукояти 50. В одном из вариантов осуществления изобретения угол В находится в интервале 5-45°, и, таким образом, рукоять 50 имеет угол относительно рычагов 64, 66. Рычаги 64, 66 могут быть параллельными или непараллельными друг относительно друга.

[40]

В одном из вариантов осуществления изобретения по меньшей мере один из рычагов 64, 66 включает метки уклона 70, начинающиеся на одном из дальних концов 65, 67 и проходящие в проксимальном направлении к положению, где рычаги 64, 66 прикрепляются к захватам 54, 56 соответственно. Метки уклона 70 сконфигурированы так, чтобы они позволяли хирургу измерять глубину растянутого пещеристого тела по мере того, как рычаги 64, 66 вставляются дистально, или проксимально, в растянутое пещеристое тело. В одном из вариантов осуществления изобретения метки уклона 70 находятся в интервале 0-16 см, однако для меток уклона 70 также приемлемы и другие интервалы.

[41]

В одном из вариантов каждый рычаг 64, 66 формируется так, чтобы он включал множество сквозных отверстий 72, ориентированных в ряд. Сквозные отверстия сконфигурированы для вмещения одного или нескольких фиксирующих приспособлений, которые употребляются для обездвиживания рычагов 64, 66 относительно поверхности хирургического поля. Как правило, хирург прикрепляет один конец фиксирующего приспособления (не показано, однако см. фигуру 13) к одному из сквозных отверстий 72 на одном из рычагов 64, 66, и другой конец фиксирующего приспособления - к хирургическому полю с целью стабилизации или иначе удерживания на месте инструмента 24.

[42]

Фигура 4 иллюстрирует вид сверху, и фигура 5 иллюстрирует вид в поперечном разрезе инструмента 24. Инструмент 24 конфигурируется для функционирования в качестве пружинных щипцов, где рычаги 64, 66 в значительной мере параллельны (или немного расходятся) для приспособления размещения цилиндра 26 (фигура 2) на главной оси А между рычагами 64, 66. Дальние концы 65, 67 сходятся в форме пинцета.

[43]

Фигура 5 иллюстрирует вид в поперечном разрезе инструмента 24, полученный вдоль линии 5-5 по фигуре 4, и иллюстрирует один из вариантов осуществления изобретения, где каждая из поверхностей - внутренняя поверхность 74 дальней части рычага 64 и внутренняя поверхность 76 дальней части рычага 66 - является изогнутой так, чтобы она определяла часть дуги. В ходе вставки агрегата 22 (фигура 2) цилиндр сдувается, создавая «лепешкообразный» сплющенный цилиндр. Прямые плоские внутренние поверхности рычагов 64, 66 сочленяются со сплющенными стенками цилиндра 26. Колпачок 28 прикрепляется к цилиндру 26 и, как правило, сохраняет свою коническую форму. Для этого внутренние поверхности 74, 76 рычагов 64, 66 изгибаются, дополняя наружную поверхность колпачка 28 (фигура 2), что позволяет плоской ближней части рычагов 64, 66 обрамлять сплющенный цилиндр 26, а вогнутым внутренним поверхностям 74, 76 рычагов 64, 66 - обрамлять колпачок 28 в ходе вставки агрегата 22 (фигура 2).

[44]

Фигура 6 иллюстрирует развернутый вид сверху сходящихся дальних концов 65, 67 инструмента 24. Главная ось А инструмента 24 (фигура 3) находится на средней линии инструмента 24, расположенной между рычагами 64, 66. Как правило, каждый дальний конец 65, 67 формируется так, чтобы он сходился к средней линии инструмента 24. В одном из вариантов осуществления изобретения, описанном в отношении сходящегося дальнего конца 67, каждая часть сходящегося дальнего конца формируется из ряда секций, которые постепенно сходятся в увеличивающейся степени к главной оси А. Например, сходящийся дальний конец 67 формируется из первой секции 80, проходящей от рычага 66 к оси А, второй секции 82, проходящей от первой секции 80 к оси А, третьей секции 84, проходящей от второй секции 82 к оси А. В одном из вариантов осуществления изобретения первая секция 80 в значительной мере линейна относительно рычага 66; вторая секция 82 проходит под углом около 5-15°, сходясь к главной оси А; и третья секция 84 проходит под углом около 20-45°, в еще большей степени сходясь к главной оси А. В одном из вариантов осуществления изобретения ряд постепенно сходящихся секций объединяется для того, чтобы выгнуть в пинцет концы 65, 67, которые имеют прилежащий угол Р, который является дополнительным углу схождения для пазов 38, в которые вставляются концы 65, 67.

[45]

Сходящийся дальний конец 65 сходным образом конфигурируется аналогично. Соответственно, сходящиеся дальние концы 65, 67 сходятся к средней линии главной оси А, и, таким образом, концы 65, 67 разносятся вплотную или, в альтернативном варианте, концы 65, 67 стягиваются и касаются друг друга.

[46]

В одном из вариантов осуществления изобретения каждая из секций 80, 82, 84 проходит на длину между около 0,2-0,4 дюймов, и, таким образом, сходящиеся дальние концы 65, 67 имеют общую длину между около 0,6-1,2 дюймов.

[47]

Фигура 7 иллюстрирует вид в перспективе, и фигура 8 иллюстрирует вид сбоку колпачка 28. В одном из вариантов осуществления изобретения колпачок 28 включает секцию 90 корпуса и секцию 92 наконечника, где секция 90 корпуса определяет углубление 94, размер которого пригоден для прикрепления к дальнему концу 32 цилиндра 26 (фигура 2). Секция 90 корпуса формируется как полая конусообразная муфта вокруг углубления 94, которая, как правило, является гибкой и приспосабливаемой для насадки на дальний конец 32 цилиндра 26. Секция 92 наконечника формуется, или отливается, так, чтобы она была цельной. В одном из вариантов осуществления изобретения колпачок 28 отливается из силикона, однако также приемлемы и другие пригодные для этого материалы.

[48]

В одном из вариантов осуществления изобретения секция 92 наконечника предусматривает изогнутую наружную поверхность и включает один или несколько пазов 38, по меньшей мере, частично сформированных в секции 92 наконечника. Например, в одном из вариантов осуществления изобретения паз 38 выходит из отверстия 96 паза, сформированного в секции 90 корпуса, и заканчивается в конце 98 паза, который формируется в секции 92 наконечника.

[49]

В другом варианте осуществления изобретения секция 92 наконечника предусматривает изогнутую наружную поверхность и пазы 38, выходящие из отверстия 96 паза, сформированного в секции 92 наконечника, и заканчиваются в конце 98 паза, также сформированном в секции 92 наконечника.

[50]

Паз 38, как правило, сходится к центру дальнего конца секции 92 наконечника и образует карман, который вмещает один из сходящихся концов 65, 67 инструмента 24 (фигура 4). В одном из вариантов осуществления изобретения, наилучшим образом показанном на фигуре 8, отверстие 96 паза ориентировано, как показано, на поперечную ось, которая в значительной мере ортогональна продольной оси С (фигура 9), и паз 38 формируется как клиновидный паз с отверстием 96 паза, имеющим поперечный размер W1 вдоль поперечной оси больше, чем ширина W2 конца паза. Таким образом, пазы 38 поперечно сужаются между отверстием 96 паза, имеющим ширину W1, и концом 98 паза, имеющим ширину W2, где ширина W1 больше ширины W2. В одном из вариантов осуществления изобретения отверстие 96 паза проходит радиально на около 90 градусов или более по длине окружности колпачка 28, и, таким образом, отверстие 96 проходит приблизительно на 25% по длине окружности колпачка 28.

[51]

Фигура 9 иллюстрирует вид в поперечном разрезе колпачка 28. В одном из вариантов осуществления изобретения колпачок имеет длину L, и углубление 94 проходит по большей части длины L вдоль центральной продольной оси С колпачка 28. Пазы 38 конфигурируются так, чтобы они позволяли помещать колпачок 28 и цилиндр 26 (фигура 2) в тело пациента бесшовным способом. Однако некоторые хирурги хотят иметь возможность помещать протез дистально внутрь полового члена посредством шва, который употребляется для направления цилиндра 26 дистально вперед внутрь полового члена. C этой целью в одном из вариантов осуществления изобретения горизонтально между пазами 38 формируется необязательное шовное отверстие 99, которое проходит через секцию 92 наконечника, позволяя хирургу помещать протез способом, к которому он/она более привычен/привычна, без необходимости использования хирургом инструмента 24.

[52]

Центральная продольная ось С делит колпачок 28 пополам в продольном направлении, как показано на фигуре 9. В одном из вариантов осуществления изобретения каждый паз 38 выходит из секции 90 корпуса и имеет ось паза S, которая пересекается с центральной осью С колпачка 28 под острым углом Р. В одном из вариантов осуществления изобретения угол Р находится в интервале между приблизительно 25-45°, где в одном из пригодных примеров угол схождения составляет около 36°. В одном из вариантов осуществления изобретения первый паз 38 смещен относительно второго паза 38 на 180 градусов, где каждый паз 38 имеет ось S, которая пересекается с центральной осью С колпачка 28 под острым углом.

[53]

Фигура 10А иллюстрирует развернутый вид в поперечном разрезе секции 92 наконечника колпачка 28. В одном из вариантов осуществления изобретения паз 38 снабжается отверстием 96 паза, имеющим размер зазора величиной приблизительно 0,005-0,010 дюймов, и концом 98 паза, который расположен на расстоянии около 0,015-0,030 дюймов от отверстия 96 (т.е. паз 38 имеет длину около 0,015-0,030 дюймов). Паз 38, соответственно, предусматривается как прямой паз, где конец 98 паза имеет размер зазора, приблизительно равный размеру зазора в отверстии 96 паза. В альтернативном варианте конец 98 зазора имеет размер зазора, который превышает размер зазора в отверстии 96 паза.

[54]

Фигура 10В иллюстрирует развернутый вид в поперечном разрезе другого варианта осуществления колпачка 28'. Колпачок 28' включает секцию 100 корпуса, содержащую наружную поверхность 102, и клапан 104, проходящий от наружной поверхности 102 и образующий паз 105, проходящий от отверстия 106 паза до конца 108 паза. Концы 65, 67 инструмента 24 (фигура 3) сконфигурированы для скольжения под клапан 104 и вхождения в зацепление в пазах 105, что облегчает имплантацию колпачка 28' и цилиндра 26 (фигура 2). В одном из вариантов осуществления изобретения колпачок 28' формируется из силикона, а клапаны 104 конфигурируются так, чтобы они плотно прилегали тогда, когда инструмент 24 вытаскивается из пазов 105.

[55]

Фигура 11 иллюстрирует вид сбоку системы 20, которая включает инструмент 24, находящийся в зацеплении с агрегатом 22 протеза полового члена. При подготовке к процедуре имплантации шприц или другое пригодное аспирационное приспособление соединяется с трубкой 36 для опорожнения и сжатия цилиндра 26. Дальние концы 65, 67 (показан один) рычагов 64, 66 вставляются в пазы 38 колпачка 28. Рукоять 50 выходит из главной оси цилиндра 26, обеспечивая просвет, который обеспечивает улучшенный доступ к растянутому пещеристому телу пациента, как описано ниже.

[56]

Фигура 12 иллюстрирует вид сверху пациента, подготовленного и готового к имплантации пары агрегатов 22 надувных протезов полового члена (один из которых проиллюстрирован), фигура 13 иллюстрирует вид сверху пациента с одним из агрегатов 22 надувных протезов полового члена, вставленное дистально в одно из пары пещеристых тел пациента. Нижеследующее описание фигур 12 и 13 производится с отсылкой к фигуре 2 (агрегат 22), фигуре 3 (инструмент 24) и фигуре 9 (колпачок 28).

[57]

Область 120 паха пациента очищается, выбривается и надлежащим образом подготавливается при помощи, например, хирургического раствора перед укрыванием стерильной хирургической простыней. Приспособление для ретракции, такое как ретрактор 122, поступающий в продажу под торговой маркой Lone Star и поставляемый Lone Star Medical Products, Стаффорд, Техас, помещается под половой член Р. Затем хирург делает разрез для обеспечения доступа к пещеристому телу пациента, где пригодные примеры разрезов включают подлобковый разрез или поперечный скротальный разрез. Подлобковый разрез начинается между пупком и половым членом (т.е. выше полового члена), в то время как поперечный скротальный разрез делается поперек верхней части мошонки Sc пациента. Как пример поперечного скротального подхода, хирург делает поперечный разрез длиной 2-3 см через подкожную ткань срединного шва верхней части мошонки и разрезает вниз через мясистую оболочку мошонки и глубокую фасцию полового члена (фасцию Бука), обнажая белочную оболочку полового члена Р. Затем каждое пещеристое тело обнажается при помощи корпоротомии, где делается небольшой (приблизительно 1,5 см) разрез, позволяющий хирургу получить доступ к пещеристому телу и растянуть его. Пещеристое тело растягивается дистально и проксимально при помощи подходящего растягивающего приспособления с целью создания пространства для цилиндра 26. Например, хирург начинает растягивание пещеристого тела как дистально, так и проксимально путем введения 8 мм расширителя в рыхлые ткани тела с последовательным увеличением расширителей до около 14 мм, где каждый расширитель вводится и проталкивается дистально к головке полового члена и ножке полового члена соответственно. В одном из вариантов осуществления изобретения после растягивания пещеристого тела хирург использует метки уклона 70 инструмента 24 для измерения длины растянутого пещеристого тела, что облегчает выбор для имплантации агрегата 22 (т.е. цилиндра 26 и концов 28, 30) надлежащей длины. В одном из вариантов осуществления изобретения хирург использует инструмент 24 для, по меньшей мере, частичного (или дальнейшего) растягивания пещеристых тел.

[58]

После растягивания первого пещеристого тела подвергнутый первоначальной обработке и сдутый бесшовный цилиндр 26 вставляется через корпоротомию при помощи инструмента 24. В отношении дистального размещения колпачок 28 вводится в растянутое пещеристое тело через корпоротомию, и хирург использует рукоять 50 для проталкивания концов 65, 67 инструмента 24 с целью их вставки для направления цилиндра 26 в наиболее удаленную часть пещеристого тела. Хирург может пальпировать конец полового члена Р в подвенечной области 124 для определения положения дальнего конца колпачка 28, чтобы убедиться в надлежащем размещении агрегата 22 протеза полового члена внутри венца головки полового члена пациента. То есть положение бесшовного цилиндра 26, таким образом, определяется в наиболее удаленной, дистальной части пещеристого тела без использования шва, проходящего через головку полового члена.

[59]

Ближний конец 30 агрегата 22 протеза полового члена имплантируется в проксимальную часть пещеристого тела, что, как правило, завершается после имплантации дальнего конца агрегата 22 (порядок имплантации основывается на предпочтении хирурга). Для облегчения размещения ближнего конца 30 агрегата 22 бесшовного протеза полового члена инструмент 24 оснащается щелями 72, сформированными в рычагах 64, 66 (фигура 3), что позволяет хирургу стабилизировать вставленный инструмент 24 относительно ретрактора 122. Например, привязное или другое фиксирующее приспособление прикрепляется между щелью 72 и ретрактором 122, как показано на фигуре 13, и, таким образом, инструмент 24 и дальний конец агрегата 22 удерживается на месте в дистальном конце пещеристого тела, что поддерживает надлежащую ориентацию при вставке цилиндра в дистальную часть пещеристого тела. Стабилизация дальнего конца агрегата 22 пригодна для надлежащего помещения ближнего конца 30 агрегата 22 протеза полового члена в проксимальные части пещеристых тел.

[60]

Фигура 14А иллюстрирует вид сбоку агрегата 22 протеза полового члена, включающего ближний конец 30, снабженный пазом 40. Колпачок 30 ближнего конца включает углубление, которое пригодно для прикрепления к ближнему концу 34 цилиндра 26 и сконфигурировано для имплантации проксимально в направлении ножки полового члена Р. Фигура 14В иллюстрирует вид в перспективе отдельного, или второго, инструмента 24, находящегося в зацеплении с пазом 40 и готового для вставки наконечника 30 ближнего конца в проксимальную часть пещеристого тела (проксимальная часть пещеристого тела растягивается при помощи растягивающих интродьюсеров способом, сходным с описанным выше способом растягивания дистальных частей пещеристых тел). В одном из вариантов осуществления изобретения каждый дальний конец 65, 67 вводится в зацепление с одним из пазов 40 так, чтобы рычаги 64, 66 обрамляли цилиндр 26, а рукоять доступна для направления наконечника 30 ближнего конца в проксимальную часть пещеристого тела в направлении ножки полового члена Р.

[61]

После вставки наконечника 30 ближнего конца в проксимальную часть пещеристого тела инструмент 24 извлекается из агрегата 22, оставляя наконечник ближнего конца в проксимальной части пещеристого тела. Затем фиксирующие приспособления извлекаются из положений между щелями 72 и ретрактором 122, и инструмент 24 извлекается из колпачка 28, оставляя цилиндр 26 вставленным в дистальную часть пещеристого тела. Корпоротомия закрывается, и оставшиеся детали, например, резервуар и/или насос, имплантируются, соответственно, в брюшную полость и мошонку Sc пациента.

[62]

Фигура 14С иллюстрирует вид в перспективе агрегата 22 имплантируемого протеза полового члена и другого варианта осуществления инструмента 24', сконфигурированного для имплантации агрегата 22 в пещеристые тела пациента. Надувной цилиндр 26, колпачок 28 дальнего конца и колпачок 30 ближнего конца (или удлинитель 30 заднего наконечника) по отдельности в значительной мере аналогичны описанным выше. В одном из вариантов осуществления изобретения инструмент 24' предусматривается в реализации с единичным линейным рычагом, который сконфигурирован для вхождения в зацепление с одним или обоими концевыми колпачками 28, 30 по отдельности, облегчая имплантацию агрегата 22 в тело пациента без использования шва, который обычно используется для протаскивания традиционного цилиндра к дистальному концу пещеристого тела. Инструмент 24' включает один линейный рычаг 150, имеющий ближний конец 152, который является изогнутым или проходящим под углом, и выходит из плоскости рычага 150. С этой целью дальний конец 152 рычага 150 конфигурируется для вхождения в зацепление с пазом 38 дальнего наконечника 28 или пазом 40 ближнего наконечника для усиления тягового усилия при вставке имплантата. В частности, угловая или сходящаяся сущность пазов 38, 40 обеспечивает инструмент 24' тяговым усилием для вставки агрегата 22. Кроме того, линейная конструкция инструмента 24' сконфигурирована для обеспечения низкого трения при извлечении инструмента 24' после имплантации агрегата 22.

[63]

Фигура 15 иллюстрирует вид сбоку удлинителя заднего наконечника 130, прикрепляемого к агрегату 22 протеза полового члена в соответствии с одним из вариантов осуществления изобретения. Удлинители заднего наконечника иногда прикрепляются к агрегату 22 для увеличения длины агрегата. Паз 40, сформированный в колпачке 30 ближнего конца, по-прежнему доступен для вмещения инструмента 24 даже после прикрепления удлинителя 130 заднего наконечника к агрегату 22. Однако в этом необязательном варианте осуществления изобретения удлинитель 130 заднего наконечника прикрепляется к ближнему концу 30 агрегата 22 и включает по меньшей мере один паз 140, который также сконфигурирован для вмещения инструмента 24. Паз 140 сходен с пазом 38 (фигура 9) или пазом 40 (фигуры 2 и 14А) и сконфигурирован для вхождения в зацепление с дальними концами 65, 67 (фигура 3) инструмента 24, позволяя инструменту 24 вставлять ближний конец агрегата 22 в проксимальную часть пещеристого тела пациента. Например, в одном из вариантов осуществления изобретения удлинитель 130 заднего наконечника представляет собой колпачок, содержащий углубление 142, сформированное в его секции корпуса и имеющее размер, пригодный для прикрепления ближнего конца 30 цилиндра 26 для имплантации проксимально в направлении ножки полового члена Р (фигура 12). В зависимости от размера пациента и от предпочтения хирурга процедура может указывать на то, что выбранный размер агрегата 22 меньше, чем вполне оптимальный. В этом случае хирург может принять решение увеличить длину агрегата 22 путем прикрепления удлинителя 130 заднего наконечника к ближнему концу 30 цилиндра 26. Паз 140 в удлинителе 130 заднего наконечника допускает бесшовную вставку агрегата 22/удлинителя 130 способом, сходным со способом, который описан выше с отсылкой к фигурам 14А и 14В.

[64]

Описаны варианты осуществления колпачка, прикрепляемого к имплантируемому протезу полового члена, агрегат и система для имплантации этого агрегата. Колпачок предусматривает сходящиеся пазы, которые входят в зацепление со сходящимися дальними концами инструмента, обеспечивая механизм зацепления, который позволяет вставлять протез полового члена в тело полового члена без использования направляющих швов в головке полового члена.

[65]

Несмотря на то что в данном описании описаны и проиллюстрированы конкретные варианты осуществления изобретения, средние специалисты в данной области должны понимать, что показанные и описанные конкретные варианты осуществления изобретения можно заменить множеством альтернативных и/или эквивалентных реализаций без отступления от объема настоящего изобретения. Данная заявка предназначена для покрытия любых адаптаций или изменений медицинских устройств, описанных в данном описании. Поэтому предполагается, что данное изобретения ограничивается только формулой изобретения и ее эквивалентами.

Как компенсировать расходы
на инновационную разработку
Похожие патенты