Изобретение относится к опорно-центрирующим устройствам, используемым в компоновке низа бурильной колонны при наклоннонаправленном бурении нефтяных и газовых скважин. Обеспечивает уменьшение сальникообразования, повышение скорости промывочной жидкости в затрубном пространстве и механической скорости бурения. Калибратор ствола скважины включает верхнюю и нижнюю присоединительные резьбы, внутренний канал для подвода промывочной жидкости к забою, лопасти с армированными рабочими поверхностями, разделенные между собой промывочными пазами, из внутреннего канала в этих пазах выполнены каналы для дополнительного нагнетания поднимающейся со стороны забоя промывочной жидкости под острым углом к оси с соплом-насадкой на конце или без таковой. Каналы для дополнительного нагнетания промывочной жидкости выполнены в два или более ярусов один над другим в одном или более промывочных пазах. Из внутреннего канала калибратора может быть выведен один или более каналов дополнительного нагнетания в затрубное пространство поднимающейся с забоя промывочной жидкости в направлении верхнего торца в плоскости симметрии лопасти под острым углом в пределах 26°-30° к образующей цилиндрической части калибратора. 1 з.п. ф-лы, 8 ил.
1. Калибратор ствола скважины, включающий верхнюю и нижнюю присоединительные резьбы, внутренний канал для подвода промывочной жидкости к забою, лопасти с армированными рабочими поверхностями, разделенные между собой промывочными пазами, из внутреннего канала в этих пазах выполнены каналы для дополнительного нагнетания поднимающейся со стороны забоя промывочной жидкости под острым углом к оси с соплом-насадкой на конце или без таковой, отличающийся тем, что каналы для дополнительного нагнетания промывочной жидкости выполнены в два или более ярусов один над другим в одном или более промывочных пазах. 2. Калибратор ствола скважины по п.1, отличающийся тем, что из его внутреннего канала выведен один или более каналов дополнительного нагнетания в затрубное пространство поднимающейся с забоя промывочной жидкости в направлении верхнего торца в плоскости симметрии лопасти под острым углом в пределах 26°÷30° к образующей цилиндрической части калибратора.
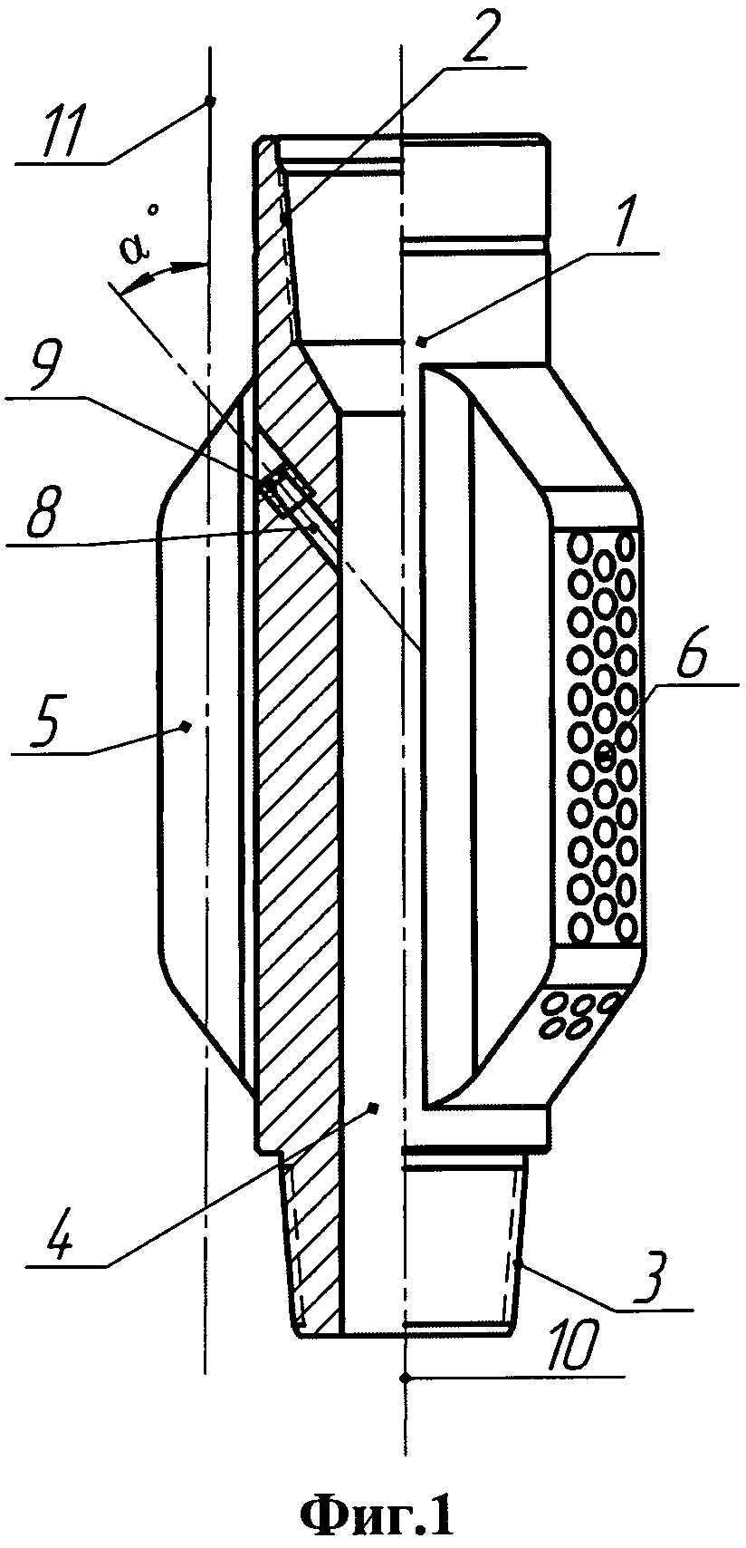
Изобретение относится к инструменту для компоновки бурильной колонны, используемой при строительстве глубоких скважин с целью добычи нефти и газа, опорно-центрирующим устройствам в нижней части бурильной колонны, устанавливаемым над буровым долотом или в непосредственной близости от него. Известны калибраторы [1], принятые за аналог, выпускаемые с прямолинейными или спиральными лопастями, разделенными друг от друга прямыми или винтовыми пазами для прохода со стороны забоя промывочной жидкости с частицами выбуренной породы (шламом). Особенно важную калибрующую и стабилизирующую роль по предотвращению нежелательного искривления ствола скважины калибраторы выполняют при бурении наклоннонаправленных или горизонтальных скважин, подверженных естественному искривлению. Поверхности лопастей калибратора по их наружному диаметру, равному диаметру бурового долота, армируются твердосплавными зубками с плоской наружной поверхностью или наплавляются зерновым твердым сплавом. При вращении бурильной колонны лопасти калибратора калибруют ствол скважины, центрируют эту колонну, уменьшают износ ее элементов, центрируют забойный двигатель, стабилизируют и улучшают работу бурового долота. Главным недостатком аналога является налипание на него шлама, наматывание сальника в открытых боковых полостях для промывки, образующегося при проходке вязких пород или соскребании со стенок скважины глинистой корки, препятствующей нормальной циркуляции промывочной жидкости. Нередко наличие сальника приводит к прихватам бурового инструмента. Механическая скорость бурения при сальникообразовании и проходка на буровое долото резко падают. В последнее время изготовители и потребители многих отечественных и зарубежных фирм отдают предпочтение другому аналогу [2] настоящего изобретения - калибраторам и стабилизаторам с наклонными или спиральными рабочими лопастями, функции которых с предыдущим аналогом одни и те же. Они также близки по конструктивному исполнению, последние только значительно больше по длине. Калибраторы с наклонными лопастями имеют значительно лучшие гидравлические характеристики, а также больший охват стенки скважины по диаметру при той же ширине проходов для промывочный жидкости. Длина и ширина рабочих органов варьируются в широких пределах и зависят от диаметра и назначения калибратора. Например, оптимальная длина калибратора Lк рекомендуется равной Lк=50·Dк, где Dк - диаметр калибратора, мм. Рабочая поверхность лопастей армируется твердосплавными пластинами, зубками с плоской наружной поверхностью или наплавляется зерновым твердым сплавом. Недостатки у рассмотренного аналога такие же, как и у первого - интенсивное сальникообразование при прохождении вязких пород, а также затруднения, связанные с набором кривизны или изменением направления скважины из-за кратно большой длины калибратора, достигающей у этого аналога 1000 мм и более. Попытка снижения возможности сальникообразования в спиральных лопастных калибраторах предпринята в конструкции 5КС190,5СТ, также принятой за аналог [3]. Такие калибраторы-стабилизаторы (КС) выпускаются Дрогобычским долотостроительным заводом (Украина). В отличие от аналогов, в рабочих спиральных лопастях просверлены поперечные сквозные отверстия для свободного перетока промывочной жидкости из любой полости в соседнюю с целью охлаждения рабочих лопастей в процессе их работы. Однако, охлаждение лопастей практически не повлияло на уменьшение главного недостатка - возможности сальникообразования. Наоборот, сальниковые массы, задерживаемые поперечными отверстиями, становились дополнительными препятствиями - концентраторами для удержания новых налипающих шламовых масс, сдираемых со стенки скважины, а также идущих с потоками промывочной жидкости, поднимающимися со стороны забоя.Кроме того, большая длина лопастей калибратора, как и у второго аналога, препятствовала набору кривизны или изменению направления скважины. Непрерывное совершенствование конструкций шарошечных и алмазных буровых долот, совершенствование технологии их производства, повышение износостойкости материалов для них, а также улучшение технологии бурения привели к значительному росту механической скорости бурения и проходки. Проходка на долото исчисляется уже сотнями метров, а для долот, оснащенных вставками из поликристаллических алмазов (PDC), тысячами метров при высокой механической скорости бурения, исчисляемой десятками метров в час. В таких условиях необходимость непрерывного контроля за направлением бурения и оперативное его изменение на коротком интервале становится самой актуальной задачей, не менее важной, чем сама проходка. При большой проходке долото проходит большое число различных по свойствам пропластков, включая липкие, которые являются причиной быстрого и интенсивного наматывания сальников на буровое долото и калибратор, что резко ухудшает возможность очистки забоя от выбуренной породы. Попытка снижения сальникообразования в лопастных калибраторах предпринята также в известном калибраторе ствола скважины [4], принятого в качестве прототипа. С целью интенсификации потока промывочной жидкости через промывочные пазы и предотвращения налипания шлама в их полостях, длина лопастей связана с рабочим диаметром калибратора, суммарная площадь армирующих пластин связана с рабочей площадью лопасти, а каналы между лопастями выполнены равномерно расширяющимися по площади за счет наклона режущей набегающей грани под углом α=18÷23° по часовой стрелке к образующей цилиндрической части калибратора. Эти меры по изменению формы лопастей помогли значительно повысить калибрующие свойства этого устройства и интенсивность прохода промывочной жидкости, но в условиях повышения интенсивности бурения и этих признаков уже стало недостаточно. Предлагаемое изобретение исключает недостатки аналогов и прототипа. Техническим результатом настоящего изобретения является повышение маневренности при наборе кривизны скважины, уменьшение сальникообразования при наклоннонаправленном бурении вязких и липких пород. Технический результат достигается тем, что в калибраторе ствола скважины, включающем верхнюю и нижнюю присоединительные резьбы, внутренний канал для подвода промывочной жидкости к забою, лопасти с армированными рабочими поверхностями, разделенные между собой промывочными пазами, из внутреннего канала в этих пазах выполнены каналы для дополнительного нагнетания поднимающейся со стороны забоя промывочной жидкости под острым углом к оси с соплом-насадкой на конце или без таковых, каналы для дополнительного нагнетания промывочной жидкости выполнены в два или более ярусов один над другим в одном или более промывочных пазах, а при малой толщине стенки между внутренним каналом и промывочным пазом, из его внутреннего канала выведен один или более каналов дополнительного нагнетания в затрубное пространство поднимающейся с забоя промывочной жидкости в направлении верхнего торца в плоскости симметрии лопасти под острым углом в пределах 26°÷30° к образующей цилиндрической части калибратора. Каналы дополнительного нагнетания промывочной жидкости выполняются для уменьшения сальникообразования и возможности прихватов низа бурильной колонны. Выходы из указанных каналов предпочтительно оснащаются промывочными узлами, подобно системам промывки забоя, оснащенным известными промывочными узлами с твердосплавными насадками. Однако в калибраторах ствола скважины уменьшенного и малого диаметра (менее 190,5 мм) выходы каналов дополнительного нагнетания жидкости могут армироваться наплавкой или напылением твердым сплавом. Во время бурения, при прохождении промывочной жидкости через боковые промывочные сопла, ударном воздействии ее на забой, барботировании шламовой подушки и перемешивании с ней, изменении направления почти на 180° скорость потока, начинающего подниматься в затрубное пространство бурильной колонны с забоя, катастрофически падает, что значительно снижает скорость подъема и скорость бурения. Эффект дополнительного нагнетания основан на отсасывании жидкости при обмене механической энергией двух потоков в процессе их смешения. Поток с более высоким давлением, называемый рабочим (или потоком рабочей среды), состоит из сопла приемной и смесительной камер. Поток с более высоким давлением поступает из сопла в приемную камеру с большой скоростью и увлекает за собой среду более низкого давления. В результате смешения происходит выравнивание скоростей (давлений) потоков сред, с которыми происходит дальнейшая транспортировка смеси с повышением скорости (давления) и подсасыванием потока со стороны забоя. При этом КПД составляет до 30% и значительно ускоряет общий поток жидкости. Наиболее предпочтительное выполнение осей каналов дополнительного нагнетания из внутренней полости калибраторов - с направлением на оси симметрии пространства промывочных пазов на наружной поверхности. В этом случае наибольший объем струи из каналов дополнительного нагнетания с высокой скоростью начального потока во внутреннем канале калибратора, еще не прошедший зоны промывочных каналов долота, встречается с наибольшим объемом и смешивается с замедленным потоком в затрубном пространстве, имеющим многократно более низкую скорость, обеспечивая дальнейшую ускоренную транспортировку по затрубному пространству, подсасывая при этом смесь жидкости со шламом с забоя. Механическая скорость бурения при этом возрастает. Предпочтительное количество промывочной жидкости, проходящей через каналы дополнительного нагнетания, составляет 25÷30% от ее общего количества. Как уже отмечалось выше, при необходимости еще большего восходящего потока каналы дополнительного нагнетания могут выполняться в два или более ярусов в одном или более промывочных пазах. Перечень фигур чертежей На фигуре 1 изображен вариант калибратора ствола скважины с одним ярусом каналов дополнительного нагнетания промывочной жидкости в двух противоположных промывочных пазах. На фигуре 2 изображен вид сверху фигуры 1. На фигуре 3 изображена боковая проекция фигуры 1. На фигуре 4 изображен вариант калибратора ствола скважины с двумя ярусами каналов дополнительного нагнетания промывочной жидкости в четырех промывочных пазах. На фигуре 5 изображена боковая проекция фигуры 4. На фигуре 6 изображен вид калибратора ствола скважины с выходом каналов дополнительного нагнетания промывочной жидкости в тело лопасти. На фигуре 7 изображен вид сверху фигуры 6. На фигуре 8 изображена боковая проекция фигуры 6. На фигурах 1, 2, 3 изображен вариант предлагаемого калибратора, на котором позициями обозначены: 1 - корпус, 2 - верхняя присоединительная резьба, 3 - нижняя присоединительная резьба, 4 - внутренний канал для подвода промывочной жидкости к забою, 5 - три или более прямолинейных (или наклонных) лопасти, 6 - армированные рабочие поверхности, 7 - промывочные пазы, 8 - каналы дополнительного нагнетания промывочной жидкости, 9 - промывочные узлы с твердосплавными насадками, с узлами уплотнения и крепления, 10 - ось внутреннего канала, 11 - оси симметрии пазов промывочных, проходящие через точки О-О, делящие пополам ширину паза «а», и глубину паза «в», буквой «α» обозначен острый угол наклона оси 10 к оси 11. На фигурах 4, 5, 6 изображен другой вариант предлагаемого калибратора, на котором теми же позициями обозначены элементы, уже показанные на фигурах 1, 2, 3, а также позиции: 12 - дополнительный нижний со стороны забоя ярус каналов дополнительного нагнетания промывочной жидкости, 13 - промывочные узлы с твердосплавными насадками, с узлами уплотнения и крепления. На фигурах 7, 8 изображен третий вариант предлагаемых калибраторов уменьшенного размера по диаметру, в которых мало места для размещения каналов дополнительного нагнетания промывочной жидкости, от внутреннего канала в сторону дна промывочного паза. На этих фигурах теми же позициями обозначены элементы, уже показанные на фигурах 1-6, а также позиции: 14 - каналы дополнительного нагнетания в теле лопасти, 15 - промывочные узлы с твердосплавными насадками, с узлами уплотнения и крепления, 16 - ось симметрии лопасти, буквой «β» обозначен острый угол между осями каналов 14 и осями симметрии 16, проходящими по калибрующей поверхности лопастей, находящихся в одной плоскости с осью калибратора 17. В этом варианте дополнительное нагнетание осуществляется направлением оси канала под острым углом β=(26÷30°) по отношению к образующей цилиндрической части калибратора в плоскости симметрии лопасти, с более высоким давлением и скоростью, чем поднимающийся с забоя поток со шламом, обеспечивая общее дальнейшее повышение интенсивности потока промывочной жидкости в затрубном пространстве, очистки забоя и механической скорости бурения. Результаты промысловых испытаний образцов предлагаемых калибраторов полностью подтверждают их преимущество перед аналогами и прототипом. Источники информации 1. ОСТ 39-078-79 «Калибраторы, центраторы, стабилизаторы. Классификация, виды, типы и основные размеры», стр.2 (аналог). 2. И.К. Масленников, Г.И. Матвеев «Инструмент для бурения скважин», М. «Недра», 1981, стр.304-306 (аналог). 3. И.К. Масленников, Г.И. Матвеев «Инструмент для бурения скважин», М. «Недра», 1981, стр.302 (аналог). 4. Патент РФ №2377385 кл. E21B «Калибратор ствола скважины», от 06.02.2008 г. (прототип).