патент
№ RU 2526949
МПК E04G25/04

ТЕЛЕСКОПИЧЕСКАЯ ОПОРНАЯ СТОЙКА ДЛЯ ОБЛАСТИ СТРОИТЕЛЬСТВА

Авторы:
ШПЕХТ Рудольф (DE)
Правообладатель:
Номер заявки
2012129976/03
Дата подачи заявки
08.12.2010
Опубликовано
27.08.2014
Страна
RU
Дата приоритета
15.12.2025
Номер приоритета
Страна приоритета
Как управлять
интеллектуальной собственностью
Чертежи 
4
Реферат

Изобретение относится к телескопической опорной стойке для области строительства. Телескопическая опорная стойка для области строительства содержит наружную трубу и расположенную в ней с возможностью осевого перемещения внутреннюю трубу, защищенную посредством предохранительного устройства от удаления из наружной трубы, при этом предохранительное устройство содержит расположенный на наружной трубе стопорный элемент для приведения в контакт по меньшей мере с одним расположенным на внутренней трубе средством стопорения, при этом стопорный элемент в области конца наружной трубы закреплен на наружной трубе и, по меньшей мере, частично перекрывает свободную поверхность поперечного сечения наружной трубы, причем стопорный элемент выполнен в виде колпачка или гильзы и входит в зацепление с расположенной на боковой поверхности наружной трубы внутренней и/или наружной резьбой наружной трубы, при этом стопорный элемент снабжен средством защиты от поворота, выполненным в виде отгибного язычка. Технический результат: упрощение изготовления, снижение затрат, повышение надежности и долговечности. 8 з.п. ф-лы, 5 ил.

Формула изобретения

1. Телескопическая опорная стойка (10) для области строительства, содержащая наружную трубу (12) и расположенную в ней с возможностью осевого перемещения внутреннюю трубу (14), защищенную посредством предохранительного устройства от удаления из наружной трубы (12), при этом предохранительное устройство содержит расположенный на наружной трубе (12) стопорный элемент для приведения в контакт по меньшей мере с одним расположенным на внутренней трубе (14) средством стопорения (48), при этом стопорный элемент в области конца (20) наружной трубы (12) закреплен на наружной трубе (12) и, по меньшей мере, частично перекрывает свободную поверхность поперечного сечения (32) наружной трубы (12), отличающаяся тем, что стопорный элемент выполнен в виде колпачка (22) или гильзы и входит в зацепление с расположенной на боковой поверхности (34; 50) наружной трубы (12) внутренней и/или наружной резьбой (36) наружной трубы (12), при этом стопорный элемент снабжен средством защиты от поворота, выполненным в виде отгибного язычка (56).

2. Телескопическая опорная стойка по п.1, отличающаяся тем, что стопорный элемент наружной и/или внутренней резьбой (26) входит в зацепление с расположенной на боковой поверхности (34; 50) наружной трубы (12) внутренней или наружной резьбой (36) наружной трубы (12).

3. Телескопическая опорная стойка по п.1, отличающаяся тем, что отгибной язычок (56) входит в зацепление с выемкой, в частности, с проходным отверстием в наружной трубе (12).

4. Телескопическая опорная стойка по одному из пп.1-3, отличающаяся тем, что стопорный элемент, по меньшей мере, частично перекрывает торцевую поверхность (46) конца (20) наружной трубы (12).

5. Телескопическая опорная стойка по п.1, отличающаяся тем, что средство стопорения (48) выполнено в виде уширенного конца внутренней трубы (14).

6. Телескопическая опорная стойка по п.5, отличающаяся тем, что внутренняя труба (14) содержит по меньшей мере один выступ, который выступает радиально сбоку за ее наружную боковую поверхность и расположен с осевым удалением относительно средства стопорнения (48) внутренней трубы (14).

7. Телескопическая опорная стойка по п.1, отличающаяся тем, что внутренняя труба (14) перемещается на стопорном элементе и/или на внутренней боковой поверхности (52) наружной трубы (12) в осевом направлении, предпочтительно с геометрическим замыканием со скользящим зазором.

8. Телескопическая опорная стойка по п.1, отличающаяся тем, что стопорный элемент имеет внутреннюю резьбу (26), которая входит в зацепление с наружной резьбой (36) наружной трубы, при этом наружная резьба (36) находится в зацеплении с опускающейся гайкой (38), выполненной с возможностью опирания на нее предохранительного пальца (40), выполненного с возможностью проведения через наружную и внутреннюю трубу (12; 14) поперек продольной оси телескопической опоры (10).

9. Телескопическая опорная стойка по п.1, отличающаяся тем, что наружная труба (12) имеет по всей своей осевой длине остающийся по существу неизменным внутренний диаметр.

Описание

[1]

Изобретение относится к телескопической опорной стойке для области строительства, содержащей наружную трубу и расположенную в ней с возможностью осевого перемещения внутреннюю трубу, защищенную посредством предохранительного устройства от удаления из наружной трубы, при этом предохранительное устройство содержит расположенный на наружной трубе стопорный элемент, с которым приводится в контакт по меньшей мере одно средство стопорения, расположенное на внутренней трубе.

[2]

Такие телескопические опорные стойки применяются в области строительства в самых разнообразных ситуациях, в которых требуется создание опоры, и их используют, например, при установке перекрытий или монтаже для опоры бетонной опалубки.

[3]

Из британского патентного документа GB 755 831 А известна телескопическая опорная стойка для строительной отрасти, при этом стопорный элемент образован сужающимся краевым участком конца наружной трубы, обращенного к работающему на выдвижение/задвижение концу телескопической опорной стойки. Также, согласно европейскому патентному документу ЕР 1 273 740 В1, в телескопической опорной стойке наружная труба содержит образованный за счет сужающегося таким образом участка поперечного сечения стопорный элемент. В европейской патентной публикации ЕР 0 625 622 А1 показана телескопическая опорная стойка, в которой стопорный элемент образован приваренным трубным элементом с меньшим внутренним диаметром по сравнению с наружной трубой.

[4]

Изготовление телескопических опорных стоек, о которых идет речь, является технологически трудоемким и поэтому дорогостоящим.

[5]

Задача изобретения состоит в том, чтобы телескопическую опорную стойку вышеназванного типа улучшить простыми конструктивными мерами таким образом, чтобы обеспечить их более простое и менее дорогостоящее изготовление.

[6]

Преимущества изобретения

[7]

Задача согласно изобретению решается за счет телескопической опорной стойки с признаками, приведенными в пункте 1 формулы изобретения.

[8]

В телескопической опорной стойке согласно изобретению заявляемый стопорный элемент предусмотрен в области конца наружной трубы, при этом стопорный элемент, по меньшей мере, частично перекрывает свободную поверхность поперечного сечения наружной трубы. При этом под перекрытием поверхности поперечного сечения в предлагаемой заявке понимается также, по меньшей мере, частичное выступание стопорного элемента в поперечном сечении в свете наружной трубы. Связанное с изобретением преимущество состоит по существу в том, что стопорный элемент может быть просто расположен на наружной трубе, и при этом не требуется трудоемкое изменение внутреннего поперечного сечения наружной трубы или приваривание отдельных трубных элементов. Кроме того, в зависимости от выбранного типа крепления может быть обеспечено прочное и рассчитанное на большие допустимые нагрузки относительно прилагаемых в осевом направлении усилий выдвижное устройство внутренней трубы. Стопорный элемент закреплен согласно изобретению на наружной трубе предпочтительно без отдельного соединительного средства и в простейшем варианте выполнения расположен лишь с посадкой с натягом на/в наружной трубе. Вместе с тем, стопорный элемент может также быть расположен по типу пружинного стопорного кольца в выполненном на наружной трубе пазу или посредством фиксирующего соединения или крепления по типу штырькового затвора на наружной трубе. Стопорный элемент соединен с наружной трубой и конкретно в зоне свободного конца наружной трубы.

[9]

В предпочтительном варианте усовершенствования изобретения стопорный элемент входит в зацепление в предусмотренную на боковой поверхности наружной трубы внутреннюю или наружную резьбу наружной трубы, при этом рассчитанная на особенно высокую допустимую нагрузку установка стопорного элемента достигается за счет того, что стопорный элемент наружной и/или внутренней резьбой входит в зацепление с соответствующей резьбой наружной трубы.

[10]

В целях предохранения стопорного элемента от случайного отсоединения из монтажной позиции на практике зарекомендовало себя преимущественным образом то, что стопорный элемент снабжен соответствующим средством защиты от поворота. При этом средство защиты от поворота содержит, в частности, расположенную на стопорном элементе и отгибаемый в резьбу наружной трубы предохранительный язычок. Стопорный элемент, здесь отгибной язычок, входит в зацепление с проходным отверстием в наружной трубе.

[11]

Предельно допустимая нагрузка стопорного элемента в отношении осевых нагрузок, которые, в частности, могут возникать при задвижении загрязненной внутренней трубы в наружную трубу, совершенствуется за счет того, что стопорный элемент, по меньшей мере, частично перекрывает торцевую поверхность, то есть торцевой участок стенки одного конца наружной трубы.

[12]

Стопорный элемент в одной из форм осуществления изобретения выполнен предпочтительно в виде колпачка или гильзы. Это позволяет, во-первых, противодействовать проникновению загрязнений, например, свежего бетона внутрь наружной трубы, что выгодно сказывается на техобслуживании и повышает его надежность. Во-вторых, стопорный элемент может служить, таким образом, как скользящая опора и одновременно как элемент очистки загрязненной внутренней трубы. При условии, что стопорный элемент выполнен в виде колпачка или гильзы, для установки стопорного элемента на наружной трубе не требуются дополнительные меры обработки.

[13]

В целях обеспечения независимой от ориентирования внутренней трубы в наружной трубе функции предохранения от выпадения средство стопорения внутренней трубы выполнено предпочтительно в виде уширенного, например отбортованного, конца внутренней трубы. Этим обеспечивается то, что сама внутренняя труба при очень высоких прилагаемых усилиях, которые могут на практике возникнуть, не может быть удалена из наружной трубы.

[14]

Чтобы сам стопорный элемент при высоких изгибающих моментах выдвинутой внутренней трубы не мог быть отсоединен из своей монтажной позиции, внутренняя труба в другом варианте усовершенствования изобретения содержит по меньшей мере один выступ, радиально выступающий сбоку за ее наружную боковую поверхность, который расположен с осевым удалением относительно уширенного конца внутренней трубы, т.е. средства стопорения. При этом выступ выполнен предпочтительно заодно целое с внутренней трубой и, в частности, изготовлен на внутренней трубе методом формования давлением. Выступ образован предпочтительно в форме шипа или гофрового выступа и может проходить в окружном направлении внутренней трубы на предпочтительно большой вписанный угол. Согласно одной форме осуществления изобретения могут быть предусмотрены также несколько выступов, которые выстраиваются с разбегом относительно друг друга по наружному периметру внутренней трубы и размещены предпочтительно в ортогонально расположенной относительно продольной оси внутренней трубы плоскости.

[15]

Внутренняя труба в целях повышения точности позиционирования и надежности опорного положения на стопорном элементе и/или на внутренней боковой поверхности наружной трубы перемещается в осевом направлении предпочтительно с геометрическим замыканием со скользящим зазором. При этом внутренняя труба перемещается на внутренней боковой поверхности наружной трубы целесообразно со средством стопорения, здесь, например, с отбортованным краем своего расположенного в наружной трубе конца и/или по меньшей мере с одним выступом.

[16]

Выполненный предпочтительно в виде колпачка стопорный элемент содержит в особенно предпочтительном с точки зрения технологических аспектов изготовления варианте усовершенствования изобретения внутреннюю резьбу, которая входит в зацепление с наружной резьбой наружной трубы, при этом наружная резьба находится дополнительно в зацеплении с внутренней резьбой опускающейся гайки, на которую опирается предохранительный палец, выполненный с возможностью проведения через наружную и внутреннюю трубу поперек продольной оси телескопической опорной стойки. Это обеспечивает, с одной стороны, точное регулирование по всей функциональной длине телескопической стойки, а также облегченную распалубку, и, с другой стороны, стопорный элемент может быть навинчен непосредственно на уже предусмотренную резьбу. При этом стопорный элемент работает одновременно по типу контргайки или стопорного элемента для опускающейся гайки, так что ее установка на телескопической опорной стойке исключает возможность случайного отсоединения.

[17]

Если говорить об особенно выгодном стоимостном изготовлении телескопической опорной стойки, то наружная труба предпочтительно имеет по всей своей осевой длине, остающийся по существу неизменным внутренний диаметр.

[18]

В целом, заявляемая строительная опорная стойка имеет преимущество в том, что монтируется (окончательный монтаж) самым простейшим образом. Наружная, равно как и внутренняя труба, может быть обработана и изготовлена без дополнительных элементов, и только при сборке наружной и внутренней трубы опускающуюся гайку навинчивают вместе с соединенными с ними элементами на наружную трубу. Также перед сборкой внутренней трубы с наружной трубой на наружную трубу устанавливают предохранительный палец. Если строительная стойка согласно изобретению собрана, предохранительный палец может быть использован разве что в зоне сквозного отверстия, поскольку стопорный элемент имеет наружный диаметр, который превышает ширину в свете охватывающего наружную трубу отформованного соответственным образом контрящего болта.

[19]

Другие преимущества и предпочтительные варианты осуществления предмета изобретения проистекают из описания, чертежей и пунктов формулы изобретения.

[20]

Чертежи

[21]

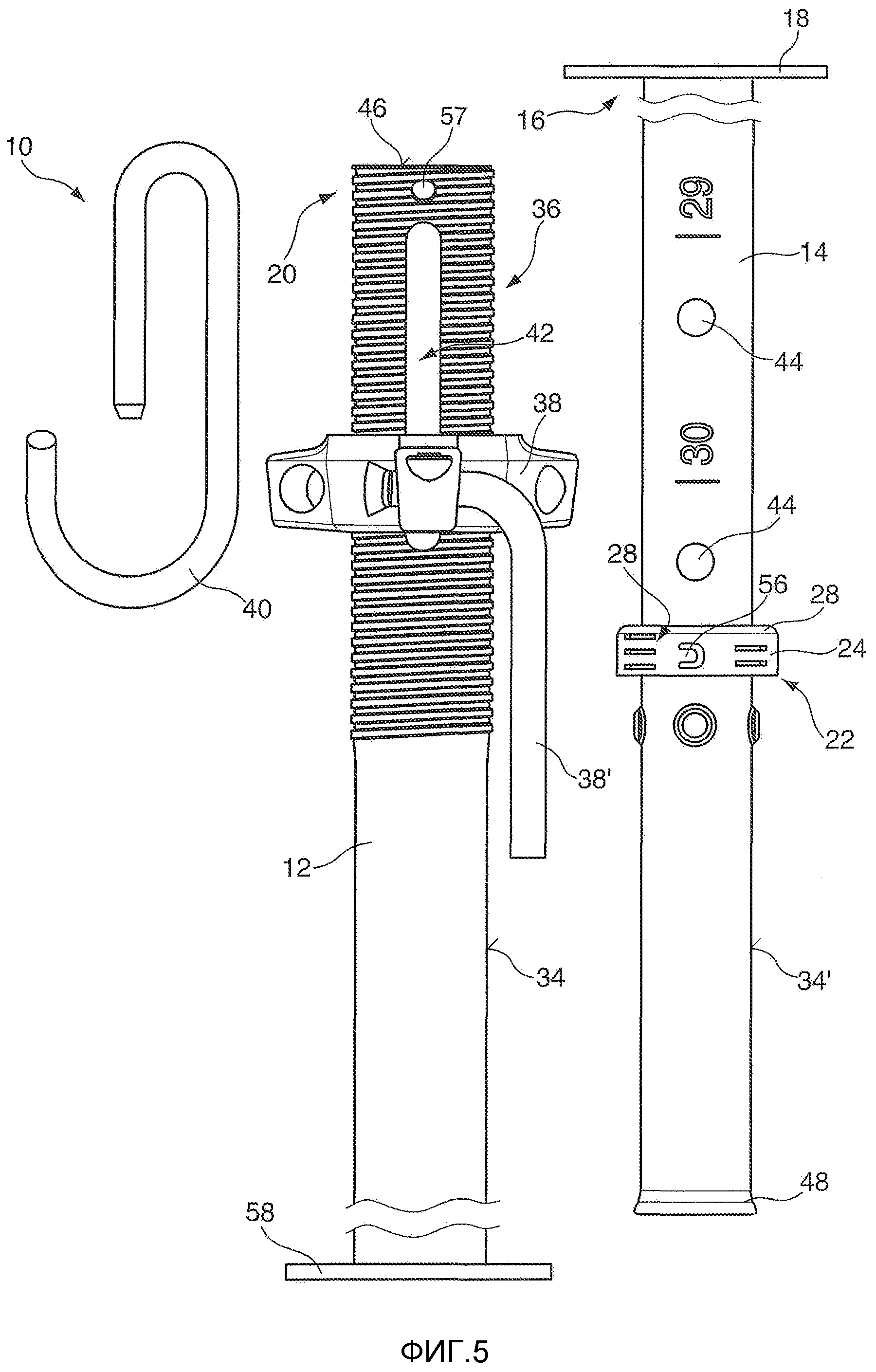
Ниже на чертежах изобретение поясняется более детально на основе примера осуществления. При этом на чертежах показаны:

[22]

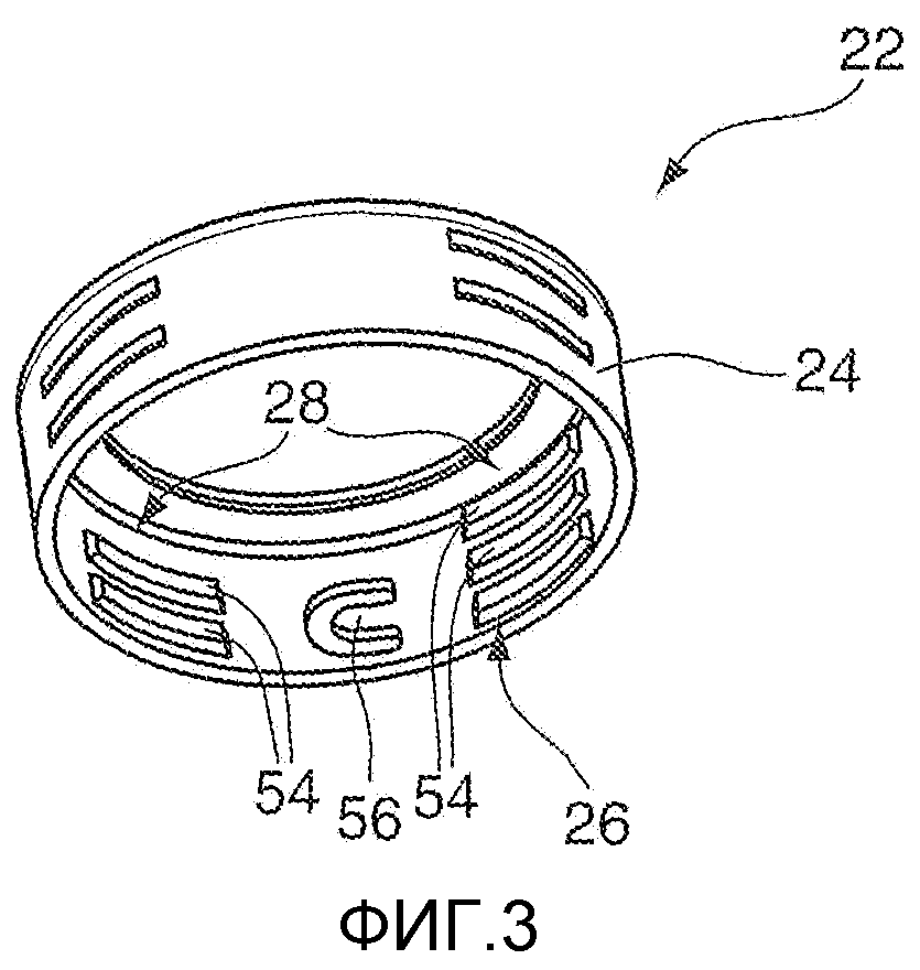
Фиг.1 - вид в перспективе изображенной с вырезом телескопической опорной стойки согласно изобретению с выполненным в форме колпачка стопорным элементом;

[23]

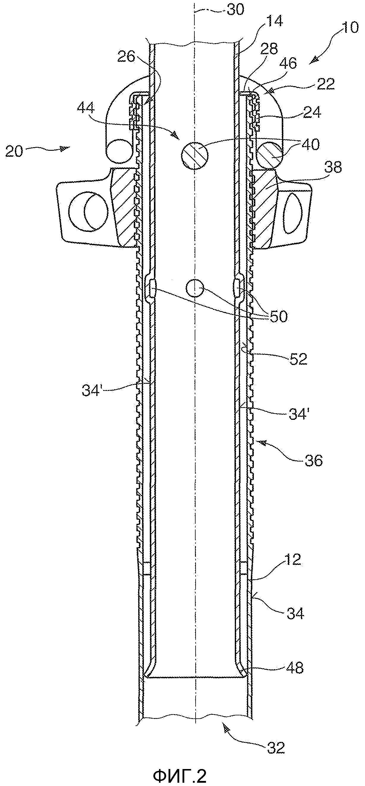
Фиг.2 - частичный продольный разрез соответствующей фиг.1 телескопической опорной стойки;

[24]

Фиг.3 - вид в перспективе колпачка на фиг.1;

[25]

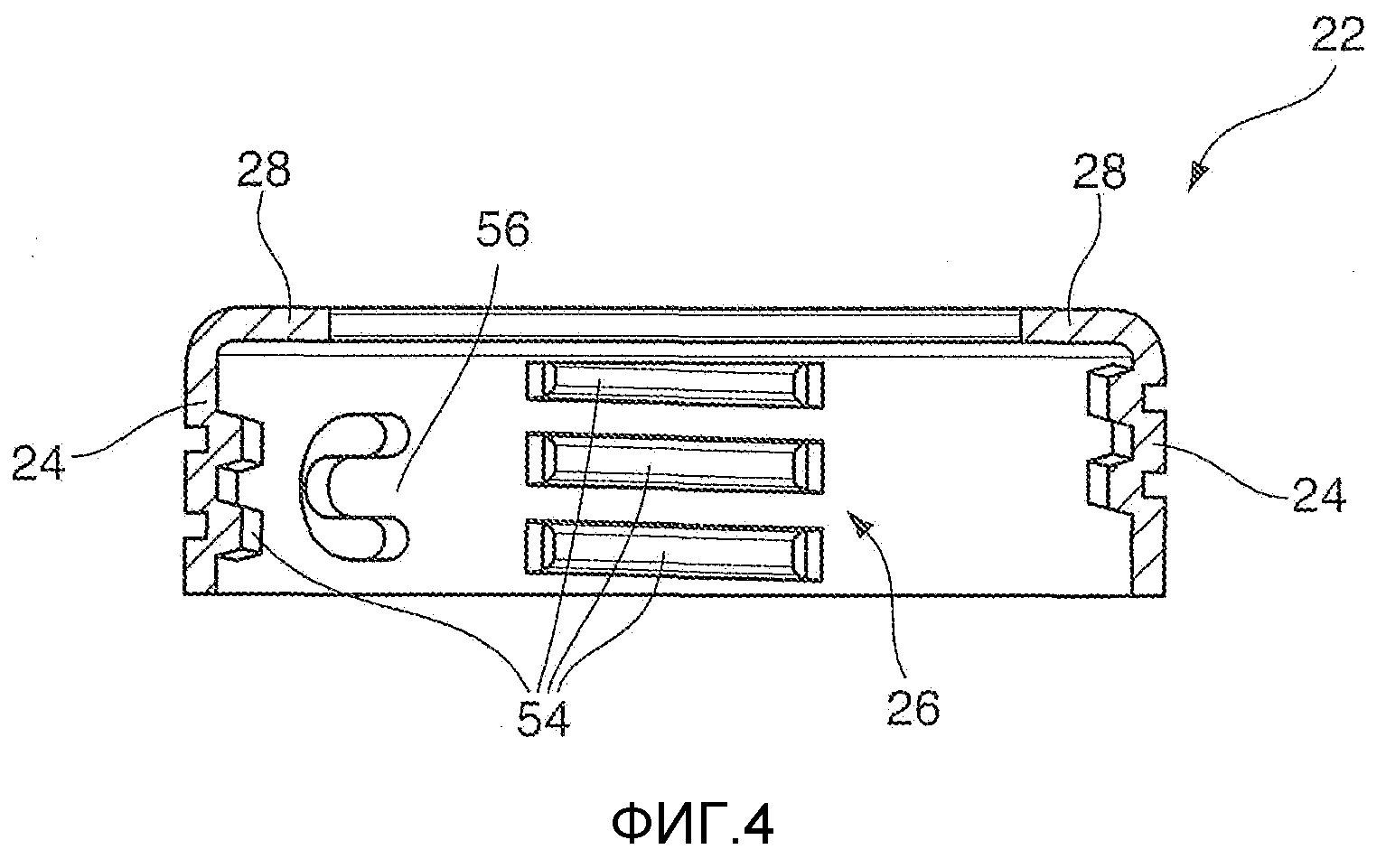
Фиг.4 - изображение в разрезе показанного на фиг.3 колпачка;

[26]

Фиг.5 - отдельные компоненты телескопической опорной стойки согласно изобретению перед сборкой внутренней трубы с наружной трубой.

[27]

Описание примера осуществления

[28]

На фиг.1 изображен отдельный участок обозначенной в целом позицией 10 телескопической опорной стойки для области строительства. Телескопическая опорная стойка имеет наружную трубу 12 и расположенную в ней с возможностью осевого перемещения внутреннюю трубу 14. Внутренняя труба 14 на своем представленном, на фигуре вверху свободном конце 16 имеет известную опорную плиту 18, а наружная труба 12 в свою очередь на своем детально не представленном конце со стороны основания имеет фундаментную плиту для надежного позиционирования на соответствующем основании.

[29]

На головном, то есть обращенном к опорной плите 18 внутренней трубы 14, конце 20 наружной трубы 12 помещен колпачок 22, который служит стопорным элементом для внутренней трубы 14 и посредством которого исключается осевое удаление или выпадение внутренней трубы 14 из наружной трубы 12.

[30]

Колпачок 22 выполнен соответствующим образом для использования накидной гайки и имеет по существу цилиндрический участок стенки 24 с внутренней резьбой 26. К цилиндрическому участку стенки 24 примыкает расположенная на фигуре выше цилиндрического участка стенки 24 краевая зона 28 колпачка 22, которая в отличие от цилиндрического участка стенки 24 выполнена с радиальным наклоном в направлении продольной оси 30 телескопической опорной стойки 10 и частично перекрывает свободную поверхность поперечного сечения 32 наружной трубы 12.

[31]

Колпачок 22, соответственно его внутренняя резьба 26, находится в зацеплении с расположенной на наружной боковой поверхности 34 наружной трубы 12 наружной резьбой 36. В наружную резьбу 36 наружной трубы 12 входит одновременно в зацепление так называемая опускающаяся гайка 38, на которой помещена поворотная ручка 38' и которая вращением вокруг продольной оси 30 телескопической опорной стойки 10 перемещается в осевом направлении по наружной трубе 12.

[32]

На опускающуюся гайку 38 поперек продольной оси 30 телескопической опорной стойки 10 опирается проведенный через наружную и внутреннюю трубу контрящий болт 40. Наружная труба 12 содержит в этой связи оппозитно расположенные друг к другу и проходящие в продольном направлении параллельно продольной оси 30 телескопической опорной стойки 10 два первых сквозных отверстия (продольные отверстия) 42, в то время как внутренняя труба 14 содержит большое число кругообразных оппозитно расположенных друг к другу (соосно) вторых сквозных отверстий 44 с соответственно равномерными между собой по длине внутренней трубы 14 интервалами ниже или выше один другого.

[33]

Для примерного регулирования по длине телескопической опорной стойки 10 внутреннюю трубу 14 вначале выдвигают на желаемую длину телескопической опорной стойки 10, а затем через первые сквозные отверстия 42 наружной трубы 12, а также через соответственно соосные им вторые сквозные отверстия 44 внутренней трубы 14 продевают предохранительный палец 40.

[34]

Далее вращением расположенной на фигуре ниже предохранительного пальца 40 опускающейся гайки 38 ступенчато изменяют ее относительное положение по длине наружной трубы 12. Таким образом, одновременно и в меру необходимости осуществляют точное регулирование осевой опорной позиции предохранительного пальца 40 на наружной трубе 12, соответственно соединенной с ней внутренней трубы 14, вдоль наружной трубы 12, то есть длину телескопической опорной стойки 10.

[35]

Как вытекает, в частности, из показанного на фиг.2 продольного разреза отдельного участка телескопической опорной стойки 10, колпачок 22 своей выполненной с наклоном краевой зоной перекрывает торцевую поверхность 46 конца 20 наружной трубы 12. Внутренняя труба 14 имеет выполненное в виде уширенного конца средство стопорения 48, которое с целью предохранения от выпадения внутренней трубы 14 из наружной трубы 12 приводится в контакт с колпачком 22, соответственно, с его наклонной краевой зоной 28, так что не используются никакие другие предохранительные элементы.

[36]

Внутренняя труба 14 имеет дополнительно несколько шипообразных выступов 50, которые расположены с интервалом относительно средства стопорения (уширенного конца) 48 внутренней трубы 14 и радиально выступают в сторону за наружную боковую поверхность 34 внутренней трубы 14. Шипообразные выступы 50 при достижении заданной максимальной величины выдвижения внутренней трубы 14 приводят в контакт с колпачком 22 и фиксируют, таким образом, оставшуюся в наружной трубе 12 минимальную длину внутренней трубы 14. Поэтому при возникающих изгибающих моментах внутренняя труба 14 опирается на внутреннюю боковую поверхность 52 наружной трубы 12, вследствие чего надежно исключается выдавливание колпачка 22 с наружной трубы 12.

[37]

Шипообразные выступы 50 имеют функцию средства стопорения 48 и ограничивают длину выдвижения/задвижения телескопической опорной стойки 10.

[38]

Внутренняя резьба 26 колпачка 22, как показано более детально на фиг.3 и 4, выполнена с прямоугольным профилем и имеет прерываемый по длине резьбы профиль 54.

[39]

На фиг.4 видно, что на цилиндрическом участке 24 колпачка 22 расположено выполненное в виде отгибного язычка средство 56 против поворота, которое после навинчивания колпачка на наружную резьбу 36 (фиг.1 и 2) наружной трубы 12 отгибается в наружную резьбу 36 наружной трубы 12 и прочно зацепляется в отверстии (см. фиг.5) в наружной резьбе 36 наружной трубы 12.

[40]

На фиг.5 показаны отдельные детали телескопической опорной стойки 10 согласно изобретению пред сборкой внутренней трубы 14 с наружной трубой 12. К внутренней трубе 14 приварена уже упоминавшаяся выше опорная плита 18, между тем как на конце наружной трубы 12 со стороны основания приварена фундаментная плита 58. Опускаемая гайка 38 навинчена на наружную резьбу 36 наружной трубы 12, и предохранительный палец 40 надвинут на область резьбы наружной трубы 12 выше опускающейся гайки 38, а колпачок 22 надет на внутреннюю трубу 14 и зафиксирован шипообразными выступами 50 или опорной плитой 18 против возможности осевого удаления с внутренней трубы 14. Для сборки внутренней трубы 14 с наружной трубой 12 внутренняя труба своим уширенным концом 48 (средство стопорения) задвигается с головного конца 20 наружной трубы 12 в наружную трубу 12 до тех пор, пока, по меньшей мере, шипообразные выступы 50 не окажутся помещенными внутри наружной трубы 12. Вслед за этим колпачок 22 навинчивают на наружную резьбу 36 наружной трубы 12 и отгибной язычок 56 с помощью инструмента отгибают в отверстие 57 наружной трубы 12.

[41]

Изобретение относится к телескопической опорной стойке 10 для области строительства, содержащей наружную трубу 12 и расположенную в ней с возможностью осевого перемещения внутреннюю трубу 14, защищенную посредством предохранительного устройства от удаления из наружной трубы 12. Предохранительное устройство содержит расположенный на наружной трубе 12 стопорный элемент, к которому примыкает расположенное на внутренней трубе 14 по меньшей мере одно средство стопорения 48. Согласно изобретению в области конца 20 наружной трубы 12 предусмотрен стопорный элемент, при этом он, по меньшей мере, частично перекрывает свободную поверхность поперечного сечения наружной трубы 12. Стопорный элемент выполнен предпочтительно в виде колпачка 22 и имеет внутреннюю резьбу 26, которая сопрягается с наружной резьбой 36 наружной трубы 12. Наружная резьба 36 находится в зацеплении с опускающейся гайкой 38, на которую опирается предохранительный палец 40, выполненный с возможностью проведения через наружную и внутреннюю трубу 12, 14 поперек продольной оси 30 телескопической опорной стойки 10.

Как компенсировать расходы
на инновационную разработку
Похожие патенты