патент
№ RU 2522239
МПК G01N33/03

СПОСОБ И УСТРОЙСТВО ДЛЯ КОЛИЧЕСТВЕННОГО ОПРЕДЕЛЕНИЯ СОДЕРЖАНИЯ ВОСКОВ И ВОСКОПОДОБНЫХ ВЕЩЕСТВ В РАФИНИРОВАННЫХ РАСТИТЕЛЬНЫХ МАСЛАХ

Авторы:
Соломин Борис Александрович Низаметдинов Азат Маратович Черторийский Алексей Аркадьевич
Все (4)
Номер заявки
2012134490/15
Дата подачи заявки
10.08.2012
Опубликовано
10.07.2014
Страна
RU
Как управлять
интеллектуальной собственностью
Чертежи 
4
Реферат

Настоящее изобретение относится к способу количественного определения содержания восков и воскоподобных веществ в рафинированных растительных маслах, при котором в кювете размещают пробу горячего растительного масла, производят одновременно облучение пробы и изменение ее температуры, пробу охлаждают от начальной температуры до температуры полного застывания пробы, непрерывно измеряют световые потоки: проходящий через пробу и рассеянный, определяют в зависимости от температуры отношение проходящего и рассеянного световых потоков и по максимуму этого отношения на основе предварительно полученной на эталонных пробах калибровочной кривой определяют количественное содержание восков и воскоподобных веществ в растительном масле. Устройство включает корпус с термоэлектрическим модулем в виде устройства охлаждения-нагрева, управляющий вход которого соединен с выходом устройства управления-регистрации, термоизолированную кювету, установленную в корпусе с возможностью теплового контакта дна кюветы с устройством охлаждения-нагрева и снабженную термодатчиками, подключенными к устройству управления-регистрации, в стенки кюветы вмонтированы первый, второй и третий волоконно-оптические световоды, из которых первый соединен с излучателем, а второй и третий соединены с фотоприемниками, оптические оси световодов находятся на одном уровне в одном поперечном сечении кюветы, причем оптические оси торцов первого и второго световодов совпадают, а оптическая ось торца третьего световода расположена нормально к оптической оси первого и второго световодов, выходы термодатчиков и пропорциональных фотоприемн�

Формула изобретения

1. Способ количественного определения содержания восков и воскоподобных веществ в рафинированных растительных маслах, при котором в измерительной кювете размещают предварительно подготовленную пробу масла при заданной начальной температуре, измеряют коэффициент оптического пропускания эталонного и исследуемого образцов масла при облучении образцов и определяют концентрацию восковых соединений, отличающийся тем, что в измерительной кювете размещают пробу горячего растительного масла, производят одновременно облучение пробы и изменение ее температуры, пробу охлаждают от начальной температуры до температуры полного застывания пробы, непрерывно измеряют световой поток, проходящий через пробу, и световой поток, рассеянный объемом пробы и внутренней поверхностью кюветы, вычисляют в зависимости от температуры отношение проходящего и рассеянного световых потоков и по максимуму этого отношения на заданном температурном участке охлаждения пробы на основе предварительно полученной на эталонных пробах калибровочной кривой определяют количественное содержание восков и воскоподобных веществ в испытуемой пробе растительного масла.

2. Способ по п.1, отличающийся тем, что пробу охлаждают от начальной температуры с заданной скоростью охлаждения около 0,3°C/с.

3. Способ по п.1, отличающийся тем, что в измерительной кювете размещают предварительно подготовленную пробу масла при заданной начальной температуре около 120°C.

4. Устройство для количественного определения содержания восков и воскоподобных веществ в рафинированных растительных маслах, включающее корпус с термоэлектрическим модулем в виде устройства охлаждения-нагрева, управляющий вход которого соединен с выходом устройства управления-регистрации, термоизолированную цилиндрическую кювету для размещения пробы исследуемого масла, установленную в корпусе с возможностью теплового контакта дна кюветы с устройством охлаждения-нагрева и снабженную термодатчиками, выходы которых подключены к входам устройства управления-регистрации, отличающееся тем, что кювета имеет внутреннюю отражающую поверхность со стабилизированными оптическими свойствами, в ее стенки герметично вмонтированы первый, второй и третий волоконно-оптические световоды, из которых первый соединен с излучателем, вход которого соединен с вторым выходом устройства управления-регистрации, а второй и третий световоды соединены с пропорциональными фотоприемниками, оптические оси торцов световодов на внутренней поверхности кюветы находятся на одном уровне в одном поперечном сечении кюветы, причем оптические оси торцов первого и второго световодов совпадают, а оптическая ось торца третьего световода расположена нормально к оптической оси первого и второго световодов; первый термодатчик и второй термодатчик расположены, соответственно, в дне кюветы и в ее съемной крышке, выходы термодатчиков и выходы пропорциональных фотоприемников подключены ко входам устройства управления-регистрации.

Описание

[2]

Изобретение относится к области анализа материалов путем нагрева и охлаждения масел и регистрации фазовых изменений по интенсивности протекания процесса выделения или растворения дисперсной фазы масла, регистрируемой оптическими методами в процессе изменения температуры масла.

[3]

Известен способ оценки эффективности процессов выведения восков («холодный тест», ГОСТ Р 52465-2005, Приложение Д), основанный на определении устойчивости анализируемой пробы продукта к помутнению при вымораживании при температуре около 0°C в течение 5,5 часов. Недостатками данного метода являются его субъективность, длительность.

[4]

Известен метод количественного определения восков в растительных маслах с применением физико-химических методов разделения восков и масляной основы с последующим выделением восков в твердой фазе на фильтрах [А.с. СССР №118203, C11B 3/00, опубл. 1985]. К недостаткам этого метода следует отнести также значительные временные затраты (около двух суток) и потребность в специальном лабораторном оборудовании.

[5]

Наиболее близким к заявляемому изобретению является способ оценки наличия восков в растительных маслах, основанный на применении фотометрии [Разговоров П.Б., Ситанов С. В. Экспресс-анализ восков в растительных маслах // Масложировая промышленность. - М.: 2009. - №3. - С.21]. В основе метода лежит зависимость оптической плотности исследуемого растительного масла в видимой области спектра от концентрации в нем восков и воскоподобных веществ. Экспресс-анализ восков в растительных маслах осуществляют следующим образом. Предварительно подготавливают эталонные (модельные) образцы подсолнечного и рапсового масел, подвергнутые троекратному вымораживанию при 4÷5°C. Были подготовлены анализируемые пробы, в которые был введен пчелиный воск разной концентрации. Пчелиный воск в этом способе принят за аналог примесных восковых соединений в растительном масле. Пробы масла с внесенной навеской нагревают до 80÷90°C, затем термостатируют при 12°C в течение 24 часов. Измеряют коэффициент пропускания эталонного образца масла и с навеской воска. Затем по формуле вычисляют оптическую плотность анализируемого образца, которая, как было установлено, прямо пропорциональна концентрации восковых соединений в области излучения длин волн 435÷465 нм.

[6]

Однако указанный метод непригоден для определения растворенных в масле восков, вследствие оптической прозрачности раствора, а введение в систему восков в количестве, меньшем, чем их растворимость, не вызывает какого-либо заметного изменения оптической плотности раствора. Кроме того, данный метод характеризуется большой длительностью измерения, так как предусматривает термостатирование растительного масла при 12°C в течении 24 ч.

[7]

Известно устройство для исследования теплофизических свойств жидкостей по патенту РФ №2263305, МПК G01N 25/02, сходное с заявляемым по конструкции и по возможности проведения термозависимых процессов. Устройство включает корпус с термоэлектрическим модулем в виде управляемого устройства охлаждения-нагрева пробы жидкости, соединенным с устройством регистрации и управления. Термоизолированная цилиндрическая кювета с исследуемой жидкостью установлена в корпусе с возможностью теплового контакта с термоэлектрическим модулем. В жидкости размещены термодатчики в виде термопары, один из которых размещен в дне кюветы, выходы термодатчиков также подключены к устройству регистрации и управления.

[8]

Известное устройство позволяет проводить оперативные исследования жидкостей малого объема около 2 мл, вместе с тем использование вибровискозиметра с его миниатюрным зондом усложняют конструкцию и процесс анализа и подготовки отдельного измерения.

[9]

Заявляемые изобретения решают техническую задачу по разработке оперативного и информативного экспресс-метода количественного определения восков и воскоподобных веществ в растительных маслах, позволяющего значительно сократить длительность проведения испытания масла по данному показателю, повысить его чувствительность и разрешающую способность, упростить проведение испытания и исключить субъективные ошибки лаборанта (оператора).

[10]

Заявляются:

[11]

Способ количественного определения содержания восков и воскоподобных веществ в рафинированных растительных маслах, при котором в измерительной кювете размещают предварительно подготовленную пробу масла при заданной начальной температуре, измеряют коэффициент оптического пропускания эталонного и исследуемого образцов масла при облучении образцов и определяют концентрацию восковых соединений, отличающийся тем, что в измерительной кювете размещают пробу горячего растительного масла при температуре около 120°C, производят одновременно облучение пробы и изменение ее температуры, пробу охлаждают от начальной температуры с заданной скоростью охлаждения около 0,3°C/с до температуры полного застывания пробы, непрерывно измеряют световой поток, проходящий через пробу, и световой поток, рассеянный объемом пробы и внутренней поверхностью кюветы, вычисляют в зависимости от температуры отношение проходящего и рассеянного световых потоков и по максимуму этого отношения на заданном температурном участке охлаждения пробы на основе предварительно полученной на эталонных пробах калибровочной кривой определяют количественное содержание восков и воскоподобных веществ в испытуемой пробе растительного масла.

[12]

Устройство для количественного определения содержания восков и воскоподобных веществ в рафинированных растительных маслах, включающее корпус с термоэлектрическим модулем в виде устройства охлаждения-нагрева, управляющий вход которого соединен с выходом устройства управления-регистрации, термоизолированную цилиндрическую кювету для размещения пробы исследуемого масла, установленную в корпусе с возможностью теплового контакта дна кюветы с устройством охлаждения-нагрева и снабженную термодатчиками, выходы которых подключены к входам устройства управления-регистрации, отличающееся тем, что кювета имеет внутреннюю отражающую поверхность со стабилизированными оптическими свойствами, в ее стенки герметично вмонтированы первый, второй и третий волоконно-оптические световоды, из которых первый соединен с излучателем, вход которого соединен с вторым выходом устройства управления-регистрации, а второй и третий световоды соединены с пропорциональными фотоприемниками, оптические оси торцов световодов на внутренней поверхности кюветы находятся на одном уровне в одном поперечном сечении кюветы, причем оптические оси торцов первого и второго световодов совпадают, а оптическая ось торца третьего световода расположена нормально к оптической оси первого и второго световодов; первый термодатчик и второй термодатчик расположены, соответственно, в дне кюветы и в ее съемной крышке, выходы термодатчиков и выходы пропорциональных фотоприемников подключены ко входам устройства управления-регистрации.

[13]

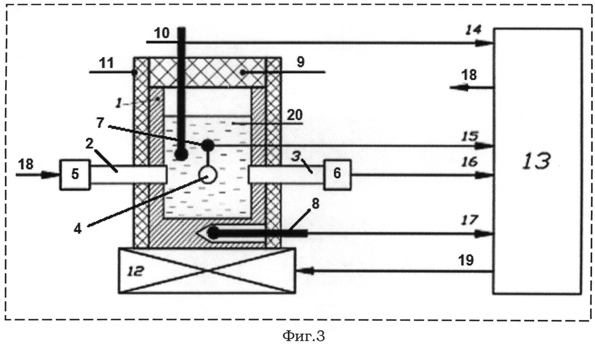
Изобретение поясняется фигурами. На фигурах 1 и 2 представлена конструкция измерительной кюветы и ее сечение, проходящее через оси трех волоконно-оптических световодов. На фигуре 3 представлена функциональная схема устройства, реализующая заявляемый способ. Корпус устройства показан условно пунктирной линией. На фигуре 4 представлены результаты экспериментальных исследований.

[14]

Цилиндрическая термоизолированная измерительная кювета 1 выполнена из металла с повышенной химической стойкостью, например, из нержавеющей стали. В стенки кюветы герметично вмонтированы первый 2, второй 3 и третий 4 волоконно-оптические световоды. Световод 2 предназначен для ввода в кювету облучающего пробу светового потока Фо. Световод 3 предназначен для вывода из кюветы проходящего через пробу светового потока Фп. Световод 4 предназначен для вывода из кюветы рассеянного кюветой и пробой светового потока Фр. Оптические оси внутренних торцов световодов находятся на внутренней поверхности кюветы на одном уровне в одном поперечном сечении кюветы, причем оптические оси торцов первого 2 и второго 3 световодов совпадают, а оптическая ось торца третьего световода 4 расположена нормально к оптическим осям первого и второго световодов. Внешний торец первого световода 2 находится в оптическом контакте с излучателем 5, в качестве которого может использоваться светодиод, работающий в ближней инфракрасной или видимой области спектра. Внешние торцы второго 3 и третьего 4 световодов находятся в оптическом контакте с пропорциональными фотоприемниками 6 и 7, например, фотодиодами или фототранзисторами, чувствительными к оптическому излучению излучателя 5. В дне кюветы 1 расположен первый термодатчик 8 в съемной крышке кюветы 9 расположен погружаемый в кювету второй термодатчик 10. Съемная крышка позволяет производить заливку пробы в кювету и очистку кюветы от предыдущей пробы. Термодатчики 8 и 10 выполнены, например, в виде термопар или терморезисторов. Кювета имеет внешнюю защитную термоизоляцию 11, и ее дно находится в тепловом контакте с электрически управляемым устройством охлаждения-нагрева пробы 12, выполненным на основе элементов Пельтье.

[15]

Устройство управления-регистрации 13, выполненное на основе микроконтроллера либо персонального компьютера осуществляет прием, регистрацию и обработку сигналов от всех аналоговых датчиков (термодатчиков и фотоприемников) по входам 14, 15, 16 и 17, выдачу управляющего сигнала по выходу 18 на оптический излучатель 5 и управляющего сигнала по выходу 19 на электрически управляемое устройство охлаждения-нагрева 12. Программа, заложенная в устройстве управления-регистрации 13, обеспечивает задание начальной и конечной температур пробы 20, скорость изменения температуры в процессе охлаждения или нагрева пробы, обработку результатов испытания пробы, выдачу результатов испытания на внешний индикатор или печатающее устройство, сигнализацию о завершении испытания, хранение результатов предыдущих испытаний.

[16]

Заявляемый способ, как и в прототипе, предусматривает предварительную подготовку пробы растительного масла, в частности, очистку ее от механических примесей путем фильтрации через бумажный фильтр, прогревание пробы до 100÷130°C с целью удаления остатков воды и разрушения восковых коллоидных образований. Охлаждение пробы от заданной начальной температуры производят с заданной скоростью изменения температуры до температуры полного застывания пробы, которую определяют по резкому падению светового потока, проходящего через пробу.

[17]

Способ основан на температурной зависимости процессов выделения или растворения восков в растительных маслах. При охлаждении с заданной скоростью пробы масла в кювете начинается выделение кристаллов восков как в объеме пробы, так и на внутренней поверхности кюветы. Интенсивность этого процесса будет определяться следующими существенными факторами: геометрией и материалом кюветы, текущей температурой пробы и скоростью ее снижения, начальным дисперсным составом масла, количеством содержания в нем восков и воскоподобных веществ. При облучении пробы масла, находящейся в кювете, оптическим излучением, отношение световых потоков, проходящего через пробу масла и рассеянного объемом масла и стенками кюветы будет также изменяться при изменении температуры кюветы за счет выделения кристаллов воска на стенках кюветы и в объеме пробы.

[18]

Для описания способа и его преимуществ рассмотрим физические явления, происходящие в измерительной кювете в процессе охлаждения с заданной скоростью пробы масла от начальной температуры до конечной.

[19]

Облучающий световой поток Фо (фиг.1) создается излучателем 5 (фиг.3) и поступает в кювету 1 через излучающий световод 2. Внутри кюветы 1, проходя через масло 20 и переотражаясь от внутренних стенок кюветы, поток Фо формирует в световодах 3 и 4 проходящий Фп и рассеянный Фр потоки, соответственно. Эти потоки поступают на пропорциональные фотоприемники 6 и 7 и создают на их выходах проходящий Uп и рассеянный Up сигналы, соответственно. Очевидно, что

[20]

[21]

где А и В - постоянные коэффициенты чувствительности соответствующих фотоприемников.

[22]

Для рассматриваемой системы проходящий и рассеянный потоки Фп и Фр пропорциональны облучающему потоку Фо. Этот поток из-за нестабильности излучателя 5, связанной с его старением, изменением температуры, загрязнением кюветы, колебаниями источников питания, может изменяться во времени, то есть в общем случае, является медленной функцией времени Фо(t).

[23]

Потоки Фп и Фр определяются как облучающим потоком Фо, так и геометрией кюветы и текущими оптическими свойствами растительного масла, являющегося коллоидной системой. В дисперсионной среде (основе) масла распределена дисперсная кристаллическая фаза (воски), текущее объемное содержание которой ρv зависит от общего объемного содержания восков "ρ" в масле, его температуры, длительности выдержки при заданной температуре. В общем случае текущее значение "ρv" для масла можно выразить через ρ и степень объемной кристаллизации восков fv: ρv=ρ·fv;

[24]

Степень объемной кристаллизации fv может принимать значения от нуля до единицы в зависимости от температуры и предыстории масла. При температуре рафинированного масла ниже 40°C начинается заметный переход восков из растворенного состояния в микрокристаллическую и кристаллическую формы. С понижением температуры величина fv растет, то есть интенсивность процессов кристаллизации восков увеличивается. Однако процессы кристаллизации и роста кристаллов восков в объеме масла идут очень медленно. В частности, при температуре вымораживания подсолнечного рафинированного масла 12°C требуются десятки часов для перехода большей части восков в объеме масла в кристаллическое состояние.

[25]

Наличие кристаллов восков в объеме масла изменяет его оптические свойства, в частности, увеличивается рассеивающая способность масла по отношению к проходящему через него оптическому излучению и, соответственно, поглощающая способность масла. Все вышеизложенное позволяет связать облучающий, проходящий и рассеянный световые потоки следующими соотношениями:

[26]

[27]

[28]

Здесь С и Д - постоянные коэффициенты, меньшие единицы и определяемые геометрией кюветы и оптическими свойствами используемых световодов; K(t) - общий коэффициент прохождения света через масло к торцу световода 3, этот коэффициент зависит от эволюции оптических свойств масла в процессе его охлаждения с заданной скоростью, а потому является функцией времени; E(t) - температурозависимый коэффициент преобразования облучающего потока в рассеянный.

[29]

Математическую модель коэффициента K(t) представим в виде

[30]

[31]

Здесь ρv(t) - текущее объемное содержание кристаллов восков в масле; β - коэффициент влияния кристаллов восков на поглощение света. То есть модель предполагает линейное уменьшение света через масло при увеличении объемного содержания кристаллов восков.

[32]

Объединяя уравнения 1, 2 и 4, получим измеряемый параметр Uп(t) в результате преобразования оптического сигнала:

[33]

[34]

Это метрологическое уравнение, по сути, описывает преобразования оптического сигнала, реализованные в выбранном нами прототипе.

[35]

Для последующего сравнения представим измеряемый параметр Uп(t) способа-прототипа в следующем виде:

[36]

[37]

Здесь Н=А·С; Фо(t)=const±ΔФо(tизм); tизм - длительность процессов измерения световых потоков в кювете с пробой и в пустой кювете; ΔФо - ожидаемое изменение светового потока Фо за время tизм; tвыд - время выдержки пробы около суток при заданной температуре охлаждения пробы (12°C).

[38]

Как видно из уравнения (6), для обеспечения чувствительности и разрешающей способности метода, использованного в прототипе при малом абсолютном объемном содержании восков в масле, необходимо обеспечить значительную временнýю выдержку для увеличения значения fv и поддерживать высокую стабильность облучающего светового потока Фо.

[39]

Рассмотрим модель рассеянного светового потока Фр(t), используемого в заявляемом способе.

[40]

Этот поток представляет собой сумму потока Фps(t), рассеянного поверхностью S внутренних стенок кюветы в направлении торца световода 4, и потока Фpv(t), рассеянного объемом V масла, находящегося в кювете, в направлении торца световода 4. Очевидно, что

[41]

[42]

Упрощенные алгебраические модели этих составляющих рассеянного потока можно представить в виде:

[43]

[44]

[45]

Здесь F и G - постоянные коэффициента, определяемые геометрией кюветы и оптическими свойствами используемых световодов; m(t) - коэффициент отражения света внутренней поверхностью стенок кюветы, зависящий от количества воска, осадившегося на эту поверхность в процессе охлаждения пробы масла.

[46]

Алгебраическую модель m(t) можно представить в виде:

[47]

[48]

Здесь mo - коэффициент отражения света внутренней поверхностью кюветы, не покрытой кристаллами восков; fs(t) - средняя текущая поверхностная степень кристаллизации восков на внутренней поверхности кюветы; α - постоянный коэффициент влияния восков на отражающие свойства поверхности кюветы.

[49]

Подставляя уравнения (8-10) в уравнение (7), получим

[50]

[51]

Подставляя уравнение (11) в уравнение (2), получим:

[52]

[53]

Информационной функцией φ(ρ,t) для заявляемого способа является отношение сигналов Uп(t) и Up(t):

[54]

[55]

Как видно из уравнения (13), функция φ(ρ,t) в широком диапазоне значений не зависит от величины облучающего потока Фо, а потому не зависит от его временной нестабильности. Коэффициенты A, B, C, G, F, S, V являются постоянными, так как определяются геометрией кюветы и стабильностью используемых электронных компонентов. Коэффициенты α и β однозначно определяются свойствами исследуемого масла. При заданной скорости охлаждения масла функции fv(t) и fs(t) также определяются только свойствами исследуемого масла. Постоянство коэффициента mo определяется стабильностью отражающих свойств материала внутренней поверхности кюветы.

[56]

При выборе достаточно стойких материалов и технологий (например, золочение внутренней поверхности кюветы) достаточная стабильность значения mo может быть обеспечена.

[57]

Таким образом, имея экспериментальную зависимость φ(ρ,t), можно однозначно определять реальное значение ρ испытуемой пробы масла в широком диапазоне значений объемной концентрации восков. Это важнейшее преимущество заявляемого способа, имея в виду, что количественное содержание восков в выпускаемых промышленностью рафинированных, гидратированных и дезодорированных маслах весьма мало и в большинстве случаев не превышает 1 грамма восков на килограмм масла. Соответственно, общее объемное содержание восков в масле "ρ" не превышает 0,1%. Известными способами малые объемы растворенных воскосодержащих веществ не определяются.

[58]

Максимум функции φ(ρ,t) на заданном температурном участке, максимально приближенном к температуре застывания пробы растительного масла (но не застывания) однозначно определяет количественное содержание восков и воскоподобных веществ в рафинированных растительных маслах.

[59]

Наличие указанного максимума на функции φ(ρ,t) связано с разной скоростью изменений функций fv(t) и fs(t) в зависимости от температуры. Скорость образования и роста кристаллов воска на твердой поверхности S значительно выше скорости образования и роста кристаллов воска в объеме масла. Это связано с тем, что твердая поверхность стенок кюветы предоставляет многочисленные центры кристаллизации и адсорбирует микрокристаллы восков. Это приводит к быстрому возрастанию функции fs(t) при понижении температуры масла и соответствующему уменьшению рассеянного потока Фps, что вызывает рост функции φ(ρ,t). При дальнейшем понижении температуры кристаллизуется основа масла, что приводит к резкому уменьшению Фп и резкому росту Фpv, заставляя функцию φ(ρ,t) принимать минимальное значение. При охлаждении пробы максимум функции φ(ρ,t) наблюдается при температуре, близкой к температуре застывания, но несколько выше ее.

[60]

На фигуре 4 показаны экспериментально снятые зависимости φ(ρ,t) для проб рафинированного подсолнечного масла с разной концентрацией восков в процессе их охлаждения. На графике видно, что максимум функции φ(ρ,t) закономерно уменьшается с увеличением концентрации воска при охлаждении пробы. В процессе экспериментов длительность испытания каждой пробы не превышала 20 минут. В экспериментах устойчивые результаты были получены при охлаждении пробы масла с заданной скоростью охлаждения 0,3°C /с, что сопровождалось ростом кристаллов восковых соединений равномерно по всему объему.

[61]

Таким образом, заявляемый способ количественного определения содержания восков в растительных маслах позволяет существенно сократить время анализа, расширить диапазон определяемых концентраций восков в маслах, повысить точность измерений. Заявляемые способ и устройство могут быть осуществлены с применением известных материалов, лабораторного и измерительного оборудования. Техника анализа предполагает использование программного обеспечения и ПЭВМ.

Как компенсировать расходы
на инновационную разработку
Похожие патенты