патент
№ RU 2513396
МПК B01D3/06

СПОСОБ РЕГЕНЕРАЦИИ МЕТАНОЛА

Авторы:
Курочкин Андрей Владиславович
Номер заявки
2013101341/05
Дата подачи заявки
10.01.2013
Опубликовано
20.04.2014
Страна
RU
Как управлять
интеллектуальной собственностью
Чертежи 
1
Реферат

Изобретение относится к процессам регенерации (выделения) метанола из минерализованных водных растворов и может быть использовано в нефтегазовой промышленности при подготовке углеводородных газов к транспорту и переработке. Способ регенерации метанола включает предварительный нагрев водометанольного раствора, испарение паров водометанольной смеси путем смешения с нагретыми парами, содержащими водяной пар, фракционирование паров водометанольной смеси с выделением метанола и конденсата водяного пара. Нагрев водометанольного раствора осуществляют парами метанола при его конденсации во фракционирующем аппарате, а также балансовой частью конденсата водяного пара, выводимой с установки. Испарение водометанольной смеси осуществляют в гидроциклонных сепараторах в две ступени с предварительным смешением водометанольного раствора с водяным паром перед первой ступенью сепарации, а также изоэнтальпийным испарением на второй ступени сепарации. Фракционирование осуществляют при пониженном давлении в трехсекционном колонном фракционирующем аппарате с падающей пленкой. Технический результат: упрощение способа, снижение металлоемкости, непрерывность процесса регенерации. 1 ил., 1 пр.

Формула изобретения

Способ регенерации метанола, включающий предварительный нагрев водометанольного раствора, испарение паров водометанольной смеси путем смешения с нагретыми парами, содержащими водяной пар, и фракционирование паров водометанольной смеси с выделением метанола и конденсата водяного пара, отличающийся тем, что нагрев водометанольного раствора осуществляют парами метанола при его конденсации во фракционирующем аппарате, а также балансовой частью конденсата водяного пара, выводимой с установки, испарение водометанольной смеси осуществляют в гидроциклонных сепараторах в две ступени с предварительным смешением водометанольного раствора с водяным паром перед первой ступенью сепарации, а также изоэнтальпийным испарением на второй ступени сепарации, фракционирование осуществляют при пониженном давлении в трехсекционном колонном фракционирующем аппарате с падающей пленкой, оснащенном тепло-массообменными блоками спирально-радиального типа, и состоящем из отгонной, укрепляющей и конденсационной секций, при этом охлаждение укрепляющей и конденсационной секций осуществляют водометанольным раствором, нагрев отгонной секции осуществляют, по меньшей мере, частью нагретого водяного пара, полученного нагреванием рециркулируемой части конденсата водяного пара, а пониженное давление поддерживают за счет отсоса смеси несконденсированных паров из фракционирующего аппарата и паров из гидроциклонного сепаратора второй ступени за счет дросселирования нагретого водяного пара в пароструйном эжекторе.

Описание

[1]

Изобретение относится к процессам регенерации (выделения) метанола из минерализованных водных растворов и может быть использовано в нефтегазовой промышленности при подготовке углеводородных газов к транспорту и переработке.

[2]

Известен способ регенерации метанола из водометанольного раствора [Жданов Н.В., Халиф А.Л. Осушка углеводородных газов. М.: Химия, 1984, с.61], включающий нагрев исходного раствора, выпаривание из него водометанольной смеси и ее ректификацию на метанол и воду.

[3]

Известен способ регенерации метанола, включающий дегазацию водометанольного раствора, отделение углеводородного конденсата, нагрев водометанольного раствора в блоке регенератора и регенерацию метанола путем фракционирования в тарельчатой ректификационной колонне [Бухгалтер Э.Б. Метанол и его использование в газовой промышленности. М.: Недра, 1986, с.135].

[4]

Известен способ регенерации метанола из водометанольного раствора [Патент РФ №2465949, опубл. 10.11.2012 г., МПК B01D 53/00], включающий дегазацию водометанольного раствора, отделение свободного конденсата, отстаивание при 20 до 40°C до разрушения тонкодисперсной эмульсии конденсата и выпадения механических примесей, огневой нагрев водометанольного раствора и выделение метанола в ректификационной колонне.

[5]

Недостатком известных способов является отложение солей и механических примесей на греющих поверхностях и внутренних устройствах технологических аппаратов, что ухудшает теплообмен, снижает выход регенерированного метанола, влечет за собой необходимость периодической остановки оборудования для очистки от солеотложений.

[6]

Наиболее близким по технической сущности к заявляемому способу является способ регенерации метанола из минерализованного водометанольного раствора [Патент РФ №2159664, опубл. 27.11.2000 г., МПК B01D 53/26], включающий предварительный нагрев исходного водометанольного раствора, испарение паров водометанольной смеси, отбор солевого остатка (шлама) и последующую ректификацию (фракционирование) водометанольной смеси с получением метанола и воды (конденсата водяного пара), причем испарение водометанольной смеси производится путем смешивания предварительно нагретого исходного водометанольного раствора с нагретой рециркулируемой частью паров водометанольной смеси, при этом основную часть паров водометанольной смеси охлаждают и направляют на ректификацию, при этом солевой шлам, содержащий механические примеси, накапливают на специальном поддоне, расположенном в технологическом аппарате (разделителе), и удаляют при периодических остановках.

[7]

Недостатками известного способа являются многостадийность и сложность, большая металлоемкость, высокие энергозатраты и необходимость периодических остановок для удаления солевого шлама, содержащего механические примеси.

[8]

Задачей изобретения является упрощение способа, снижение металлоемкости и энергозатрат, предотвращение отложения солей и механических примесей на внутренних поверхностях технологического оборудования, обеспечивающее непрерывность процесса регенерации.

[9]

Технический результат:

[10]

- упрощение способа за счет исключения периодического удаления солевого шлама и сокращения количества стадий регенерации метанола,

[11]

- снижение металлоемкости за счет уменьшения количества единиц оборудования,

[12]

- снижение энергозатрат за счет рекуперации тепла конденсации паров метанола и тепла отходящей горячей воды с использованием его для нагрева водометанольного раствора,

[13]

- предотвращение отложения солей и механических примесей на внутренних поверхностях технологического оборудования, обеспечивающее непрерывность процесса регенерации, за счет использования прямого нагрева водометанольного раствора путем смешения с нагретым водяным паром и отделения воднометанольных паров мгновенным испарением в аппаратах гидроциклонного типа.

[14]

Указанный технический результат достигается тем, что в известном способе, включающем предварительный нагрев водометанольного раствора, испарение водометанольной смеси путем смешения с нагретыми парами, содержащими водяной пар, и фракционирование паров водометанольной смеси с выделением метанола и конденсата водяного пара, особенностью является то, что нагрев водометанольного раствора осуществляют парами метанола при его конденсации во фракционирующем аппарате, а также балансовой частью конденсата водяного пара, выводимой с установки, испарение водометанольной смеси осуществляют в гидроциклонных сепараторах в две ступени с предварительным смешением водометанольного раствора с водяным паром перед первой ступенью сепарации, а также изоэнтальпийным испарением на второй ступени сепарации, фракционирование осуществляют при пониженном давлении в трехсекционном колонном фракционирующем аппарате с падающей пленкой, оснащенном тепло-массообменными блоками спирально-радиального типай, и состоящем из отгонной, укрепляющей и конденсационной секций, при этом охлаждение укрепляющей и конденсационной секций осуществляют водометанольным раствором, нагрев отгонной секции осуществляют, по меньшей мере, частью нагретого водяного пара, полученного нагреванием рециркулируемой части конденсата водяного пара, а пониженное давление поддерживают за счет отсоса смеси несконденсированных паров из фракционирующего аппарата и паров из гидроциклонного сепаратора второй ступени за счет дросселирования нагретого водяного пара в пароструйном эжекторе.

[15]

Нагрев водометанольного раствора парами метанола во фракционирующем аппарате, а также балансовой частью конденсата водяного пара, выводимого с установки, позволяет рекуперировать часть технологического тепла и уменьшить энергозатраты.

[16]

Испарение паров водометанольной смеси в гидроциклонных сепараторах позволяет предотвратить отложение солей и механических примесей в аппаратах вследствие большой скорости движения жидкости в аппаратах гидроциклонного типа.

[17]

Испарение паров водометанольной смеси в две ступени с предварительным смешением водометанольного раствора с водяным паром перед первой ступенью сепарации и изоэнтальпийным испарением на второй ступени сепарации позволяет повысить степень извлечения метанола из исходного водометанольного раствора по сравнению с испарением в одну ступень.

[18]

Фракционирование при пониженном давлении в трехсекционном колонном фракционирующем аппарате с падающей пленкой, оснащенном тепло-массообменными блоками спирально-радиального типа, состоящем из отгонной, укрепляющей и конденсационной секции, позволяет уменьшить температуру фракционирования и за счет этого уменьшить энергозатраты.

[19]

Способ осуществляют следующим образом.

[20]

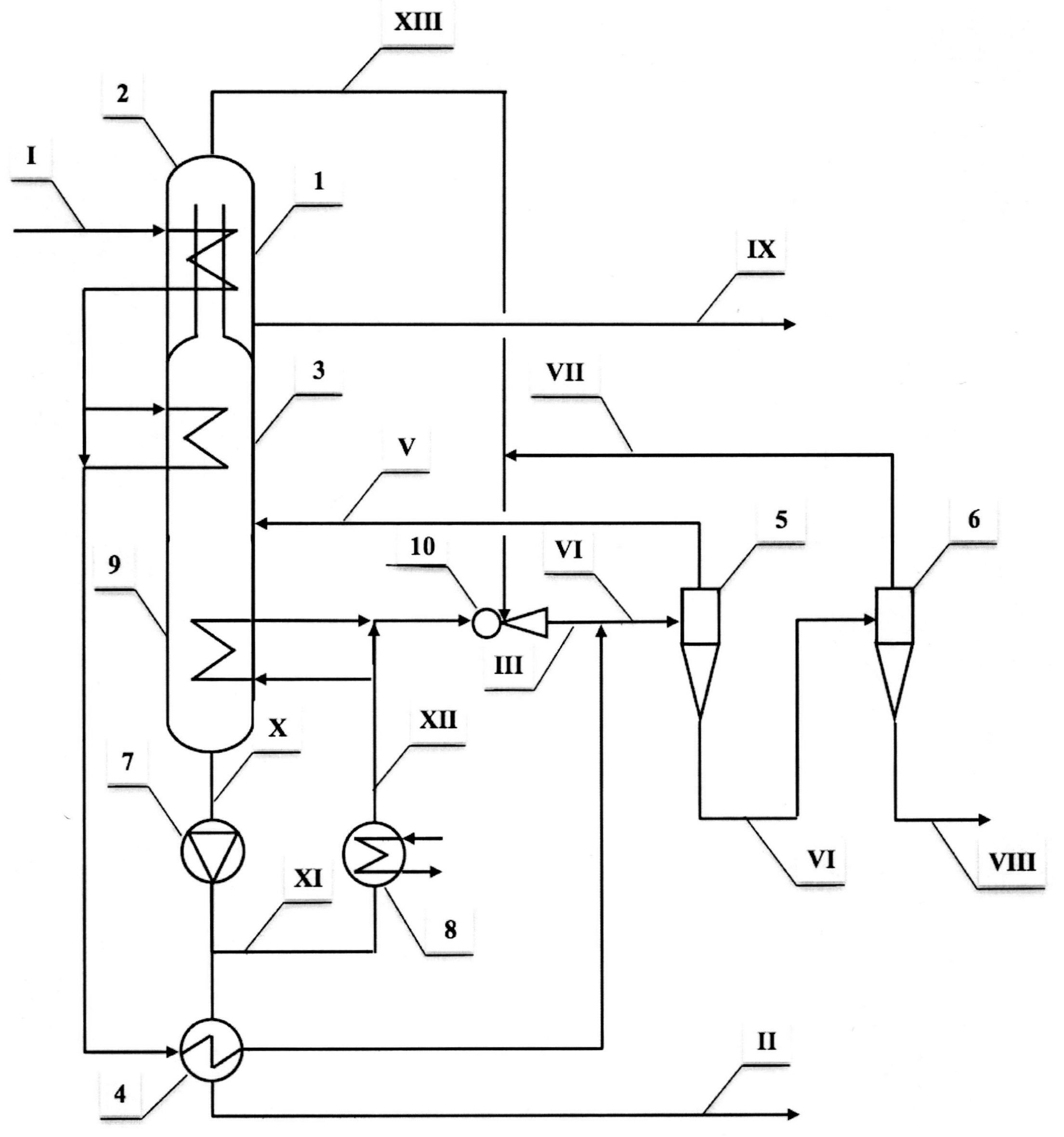
Исходный водометанольный раствор (I), предварительно подвергнутый сепарации от углеводородного конденсата и механических примесей (на схеме не показано), подают в трубное пространство тепло-массообменного блока конденсационной секции 1 колонного фракционирующего аппарата 2 с падающей пленкой, где нагревают за счет тепла охлаждения и конденсации паров метанола. Затем, по меньшей мере, часть водометанольного раствора подают в трубное пространство тепло-массообменного блока укрепляющей секции 3 для создания флегмового орошения массообменных поверхностей, где нагревают за счет тепла конденсации флегмы, далее подогревают в теплообменнике 4 балансовой частью конденсата водяного пара (II), выводимой с установки, и смешивают с нагретым водяным паром (III).

[21]

Полученную парожидкостную смесь (IV) сепарируют в гидроциклонном сепараторе первой ступени 5 с получением водометанольных паров (V) и водометанольного раствора (VI), обедненного метанолом, который подвергают изоэнтальпийному испарению при пониженном давлении в гидроциклонном сепараторе второй ступени 6 с получением дополнительного количества водометанольных паров (VII) и воды (VIII), содержащей концентрат солей и остаточных механических примесей, содержавшихся в исходном водометанольном растворе (I), которую выводят с установки для утилизации.

[22]

Водометанольные пары (V) подают в среднюю часть фракционирующего аппарата 2, где при пониженном давлении осуществляют их фракционирование с получением метанола (IX), который выводят с установки, и конденсата водяного пара (X), откачиваемого насосом 7, рециркулируемую часть которого (XI) нагревают в нагревателе 8 (условно показан теплообменник) с получением водяного пара (XII), а балансовую часть (II) охлаждают в теплообменнике 4 и выводят с установки.

[23]

Конденсацию паров метанола в конденсационной секции 1 и образование флегмы в укрепляющей секции 3 осуществляют за счет охлаждения исходным водометанольным раствором (I), а паровое орошение в отгонной секции 9 получают за счет нагрева, по меньшей мере, частью водяного пара (XII), полученного при нагреве рециркулируемой части конденсата водяного пара (XI).

[24]

Пониженное давление во фракционирующем аппарате 2 и гидроциклонном сепараторе второй ступени 6 поддерживают за счет отсоса смеси несконденсированных паров (XIII) из фракционирующего аппарата 2 и водометанольных паров (VII) из гидроциклонного сепаратора второй ступени 6 за счет дросселирования нагретого водяного пара (XII) в пароструйном эжекторе 10. Запорно-регулирующая на схеме арматура не показана.

[25]

Работоспособность предлагаемого способа иллюстрируется следующим примером.

[26]

Пример 1. Исходный водометанольный раствор после дегазации и сепарации от углеводородного конденсата и механических примесей, содержащий 24% масс. метанола и 35 г/л солей с температурой -15°C и давлением 0,1 МПа в количестве 2,0 т/час нагревают в трубном пространстве конденсационной и укрепляющей секции фракционирующего аппарата, а также теплообменнике до температуры 70°C, при которой не происходит выпадение солей, смешивают с 0,55 т/час перегретого водяного пара и подают в гидроциклонные сепараторы, получая 1,33 т/час водометанольных паров и 1,22 т/час воды с содержанием растворенного метанола не более 2% масс., которую выводят на утилизацию. Полученные пары водометанольной смеси фракционируют при давлении 0,085 МПа с получением 0,49 т/час метанола с концентрацией 92% масс. и температурой 6°C и т/час конденсата водяного пара, часть которого направляют на получение пара, а балансовую часть 0,29 т/часть охлаждают и выводят с установки.

[27]

Предлагаемый способ может найти применение в нефтегазодобывающей промышленности при подготовке природного и попутного нефтяного газа к транспорту и переработке.

Как компенсировать расходы
на инновационную разработку
Похожие патенты