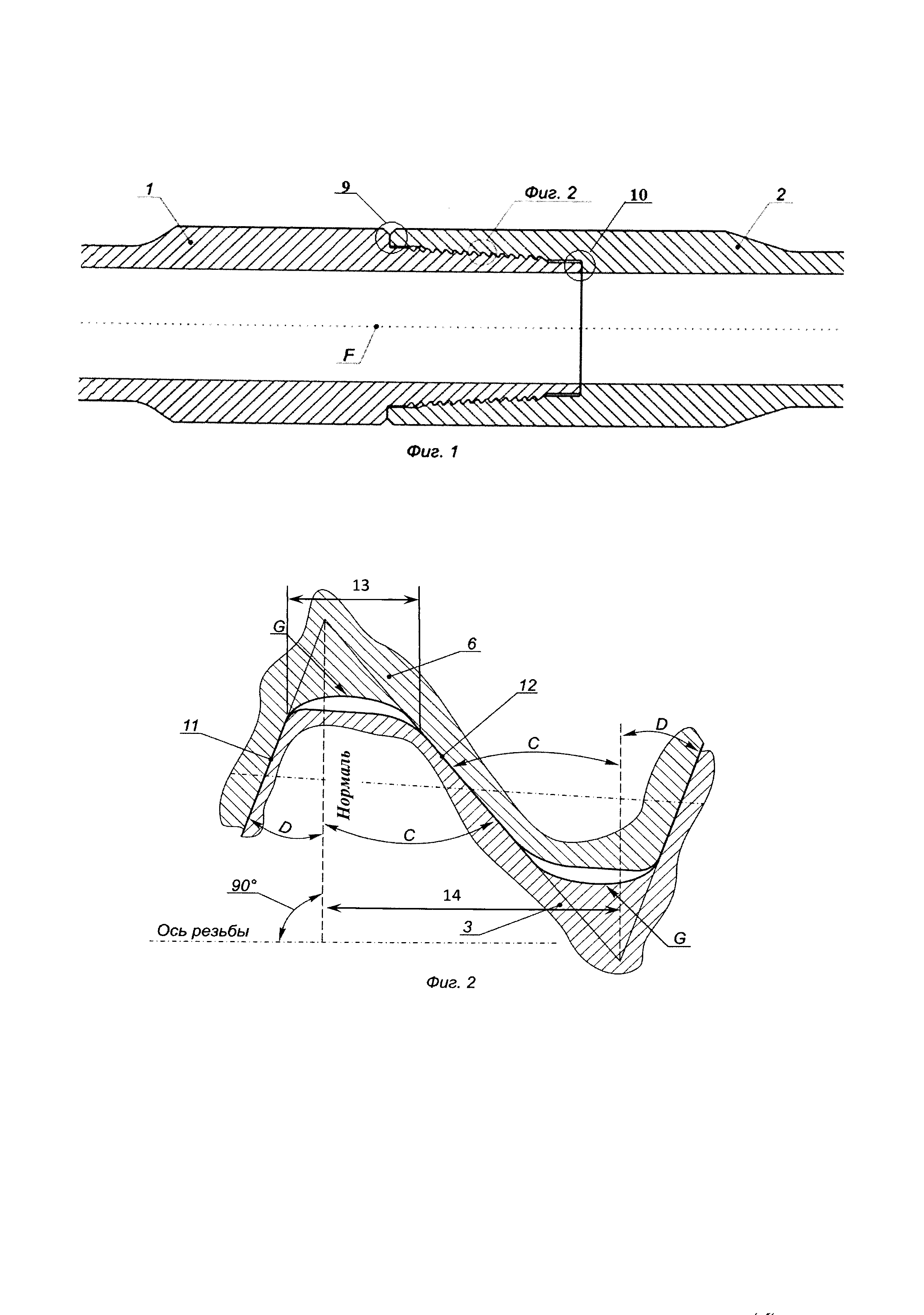
Изобретение относится к резьбовым соединениям труб. Соединение содержит ниппель и муфту, на концах которых на наружной и внутренней поверхностях соответственно выполнены треугольные конические резьбы с конусностью 1:8 и шагом резьбы 8,467±0,05 мм. Профиль витка резьб ниппеля и муфты имеет угол наклона опорной грани 20-30° и угол наклона закладной грани 35-44°. Впадина профиля витка резьбы выполнена в виде дуги эллипса, описанного уравнением
где а - большая полуось эллипса, b - малая полуось эллипса. Большая полуось эллипса параллельна оси конусности резьбы, а эллипс является касательным к опорной и закладной граням профиля витка резьбы. Вершина профиля витка резьбы срезана по отношению к исходному треугольнику резьбы, причем ширина среза составляет 2,3 мм. Соединение содержит внутренний и наружный упорные узлы, при этом упорные торцы ниппеля и муфты выполнены равной длины. Достигается возможность передачи соединением высокого крутящего момента, повышение усталостной прочности и износостойкости соединения при его многократном свинчивании-развинчивании. 1 з.п. ф-лы, 3 ил.
1. Резьбовое соединение бурильных труб, содержащее ниппель и муфту, на концах которых на наружной и внутренней поверхностях соответственно выполнены треугольные конические резьбы и образующие внутренний и наружный упорные узлы упорный уступ муфты, упорный торец ниппеля и упорный уступ ниппеля, упорный торец муфты соответственно, отличающееся тем, что резьбы ниппеля и муфты выполнены с конусностью 1:8 и шагом 8,467±0,05 мм, а профиль витка резьб ниппеля и муфты имеет угол наклона опорной грани 20-30° к нормали осевой линии резьбы и угол наклона закладной грани 35-44° к нормали осевой линии резьбы, при этом впадина профиля витка резьб ниппеля и муфты выполнена в виде дуги эллипса, описанного уравнением где а - большая полуось эллипса, составляет 0,6 мм, b - малая полуось эллипса, составляет 1,3 мм, при этом большая полуось эллипса параллельна оси конусности резьбы, а эллипс является касательным к опорной и закладной граням профиля витка резьбы, причем вершина профиля витка резьб ниппеля и муфты срезана по отношению к исходному треугольнику резьбы с шириной среза, составляющей, по меньшей мере, 2,3 мм, а упорные торцы ниппеля и муфты выполнены равной длины. 2. Соединение по п. 1, отличающееся тем, что длина упорных торцов ниппеля и муфты составляет, по меньшей мере, 10 мм.
Изобретение относится к резьбовым соединениям бурильных труб и может быть использовано для соединения бурильных труб между собой и с другими составными элементами бурильных колонн, применяемых при бурении вертикальных, наклонно-направленных и горизонтальных нефтяных и газовых скважин. При вращательном бурении нефтяных и газовых скважин элементы бурильной колонны работают при повышенном крутящем моменте, воздействующем при таком виде бурения. Также при бурении в сложных условиях изогнутых стволов скважин (наклонно-направленных и горизонтальных скважин, боковых стволов скважин) элементы бурильной колонны подвергаются большим изгибающим нагрузкам. Для работы в указанных условиях применяются бурильные трубы со специальными резьбовыми соединениями (бурильными замками), которые предназначены для соединения элементов бурильных колонн и отличаются повышенной стойкостью к воздействию крутящих и изгибающих нагрузок. Все более усложняющиеся условия бурения нефтяных и газовых скважин вызывают потребность в разработке резьбовых соединений бурильных труб, обладающих повышенными эксплуатационными характеристиками. Стандартное резьбовое соединение бурильных труб состоит из ниппеля и муфты (ГОСТ 50278 «Трубы бурильные с приваренными замками» (1). На конце ниппеля выполнена наружная резьба и наружная высадка кольцевой формы. На конце муфты выполнена внутренняя резьба и внутренняя расточка, соответствующая высадке на конце ниппеля. Указанное резьбовое соединение бурильных труб не обеспечивает сохранение своих эксплуатационных свойств при работе в сложных условиях бурения, при воздействии повышенных крутящих и изгибающих нагрузок. При бурении горизонтальных или наклонно-направленных скважин, а также боковых стволов скважин, в случае застревания бурильной колонны в стволе скважины возможно превышение крутящего момента бурения по сравнению с крутящим моментом, применяемым при свинчивании соединения (сборке колонны) на поверхности скважины. В этом случае возникает дополнительный момент свинчивания, оказывающий повышенное воздействие на соединение, которое может превысить предел текучести материала ниппеля или муфты и вызвать их разрушение. Во избежание аварий указанного типа крутящий момент, прикладываемый при свинчивании бурильных труб, должен быть всегда выше крутящего момента, прикладываемого при бурении, с запасом, учитывающим сложные условия бурения или возможные аварийные ситуации, например застревание бурильной колонны в стволе скважины. Известно резьбовое соединение бурильных труб (SU 1572423), на концах муфты которого выполнена внутренняя резьба и кромка или фаска, которая свинчивается с высадкой ниппеля. При этом на муфте отсутствует внутренняя расточка. При свинчивании такого соединения бурильных труб достигаются момент вращения и продольное напряжение в поперечном разрезе резьбы, которые составляют примерно половину предела текучести материала ниппеля или муфты, что в определенной степени обеспечивает запас защиты от разрушения ниппеля или муфты при бурении скважины в сложных условиях. Из уровня техники известно резьбовое соединение бурильных труб специальной конструкции (RU 2335686), используемое при сложных условиях эксплуатации. Указанное соединение имеет резьбу специальной конструкции и дополнительный внутренний упор, обеспечивающий более высокий прирост крутящего момента. Однако указанное резьбовое соединение бурильных труб является взаимозаменяемым со стандартными резьбовыми соединениями и ограничено их конструкцией. Кроме того, для сложных условий эксплуатации, в которых применяются соединения бурильных труб, требуются более усовершенствованные конструкции резьбовых соединений. Известно резьбовое соединение бурильных труб с двойной высадкой (ЕА 010138 В1, 30.06.2008 (2), состоящее из ниппеля, на конце которого выполнена наружная резьба, и муфты, на конце которой выполнена внутренняя резьба. Соединение содержит внутренний и наружный упорные узлы. Внутренняя резьба муфты и наружная резьба ниппеля выполнены треугольными коническими с конусностью 0,08-0,098. Профиль витка резьб ниппеля и муфты имеет угол наклона закладной грани, составляющий 35-42°, и угол наклона опорной грани, составляющий 25-34°. Участки схождения вершины профиля витка резьбы с закладной и опорной гранями выполнены скругленными. Впадина профиля витка резьбы выполнена в форме дуги эллипса. Недостатками соединения, описанного в документе (2), является недостаточная его сопротивляемость высокому крутящему моменту, возникающему при эксплуатации соединения в сложных условиях бурения скважин. Резьбовое соединение бурильных труб (2) принято в качестве ближайшего аналога заявленного изобретения. Задачей, на решение которой направлено заявленное изобретение, является разработка конструкции резьбового соединения бурильных труб, обеспечивающей передачу более высокого крутящего момента по сравнению с резьбовым соединением, известным из уровня техники (2), повышенную усталостную прочность соединения и его износостойкость при многократном свинчивании-развинчивании, равномерное распределение напряжений по опасному сечению ниппеля и исключение затирания профиля резьбы при многократном свинчивании-развинчивании соединения. Техническим результатом, обеспечиваемым настоящим изобретением, является возможность передачи соединением высокого крутящего момента, повышение усталостной прочности и износостойкости соединения при его многократном свинчивании-развинчивании. Резьбовое соединение бурильных труб содержит ниппель и муфту, на концах которых на наружной и внутренней поверхностях соответственно выполнены треугольные конические резьбы с конусностью 1:8 и шагом резьбы 8,467±0,05 мм. На ниппеле и муфте выполнены образующие внутренний и наружный упорные узлы упорный уступ муфты, упорный торец ниппеля и упорный уступ ниппеля, упорный торец муфты соответственно. Профиль витка резьб ниппеля и муфты имеет угол наклона опорной грани 20-30° к нормали осевой линии резьбы и угол наклона закладной грани 35-44° к нормали осевой линии резьбы. Впадина профиля витка резьбы выполнена в виде дуги эллипса, описанного уравнением где а - большая полуось эллипса, составляет 0,6 мм, b - малая а b полуось эллипса, составляет 1,3 мм, при этом большая полуось эллипса параллельна оси конусности резьбы, а эллипс является касательным к опорной и закладной граням профиля витка резьбы. Вершина профиля витка резьбы срезана по отношению к исходному треугольнику резьбы, причем ширина среза составляет, по меньшей мере, 2,3 мм. Упорные торцы ниппеля и муфты выполнены равной длины. Частные случаи выполнения настоящего изобретения характеризуются следующими признаками: длина упорных торцов ниппеля и муфты составляет, по меньшей мере, 10 мм. На фиг.1 показано соединение в свинченном состоянии. На фиг.2 показан профиль витка резьб ниппеля и муфты. На фиг.3 показано соединение в развинченном состоянии. Резьбовое соединение бурильных труб содержит ниппель (1) и муфту (2). На концах ниппеля (1) и муфты (2) на наружной и внутренней поверхностях соответственно выполнены треугольные конические резьбы (3), (6) с конусностью 1:8 и шагом резьбы (14) 8,467±0,05 мм (3 витка на дюйм (на 25,4 мм)). Основными функциями резьб (3), (6) является восприятие растягивающей нагрузки и выдерживание многократного свинчивания-развинчивания при сохранении эксплуатационных характеристик соединения. Выполнение резьб (3), (6) с большей конусностью (с меньшим углом наклона) по сравнению со стандартными резьбами буровых труб - 1:8 обеспечивает увеличение площади упорного торца (5) ниппеля (1), что повышает сопротивляемость соединения высокому крутящему моменту, возникающему при бурении в сложных условиях. Увеличивающаяся в данном случае длительность свинчивания соединения (для свинчивания соединения необходимо произвести больше оборотов) компенсируется увеличенным шагом резьбы (14) - 8,467±0,05 мм, обеспечивающим быстрое свинчивание соединения. Увеличенный шаг резьбы (14) также обеспечивает снижение износа витков резьбы. Внутренняя резьба (6) муфты (2) и наружная резьба (3) ниппеля (1) выполнены с возможностью соединения друг с другом таким образом, что в свинченном состоянии муфта (2) и ниппель (1) имеют общие осевую линию (F) и упорные узлы (9), (10). На ниппеле (1) и муфте (2) выполнены образующие внутренний (10) и наружный (9) упорные узлы упорный торец ниппеля (5), упорный уступ муфты (7) и упорный уступ ниппеля (4), упорный торец муфты (8), соответственно. Наружный упорный узел (9) соединения обеспечивает передачу высокого крутящего момента при бурении скважины, а также является уплотняющим и обеспечивает герметичность соединения. Внутренний упорный узел (10) является дополнительным и обеспечивает увеличение воспринимаемого соединением крутящего момента. Профиль витка внутренней резьбы (6) муфты (2) и наружной резьбы (3) ниппеля (1) имеет угол наклона (D) опорной грани (11), составляющий 20-30° к нормали осевой линии резьбы, и угол наклона (С) закладной грани (12), составляющий 35-44° к нормали осевой линии резьбы. Выполнение угла наклона (D) опорной грани (11) профиля витка резьбы в интервале 20-30° обеспечивает улучшенную работу соединения на растяжение за счет исключения возможности выхода витков резьбы из зацепления друг с другом при значительных растягивающих нагрузках. Выполнение угла наклона (С) закладной грани (12) профиля витка резьбы в интервале 35-44° стабилизирует положение ниппеля относительно муфты на начальном этапе свинчивания соединения, что предотвращает заклинивание соединения и повреждение поверхностей витков резьб (задиры) и обеспечивает возможность многократного свиничивания-развиничивания соединения без потери его эксплуатационных свойств. Впадина (G) профиля витка резьбы выполнена в виде дуги эллипса, описанного уравнением где а - большая полуось эллипса, а составляет 0,6 мм, b - малая полуось эллипса, составляет 1,3 мм, при этом большая полуось эллипса параллельна оси конусности резьбы, а эллипс является касательным к опорной и закладной граням профиля витка резьбы. При работе бурильной колонны во впадине профиля резьбы от действия знакопеременных осевых и изгибающих нагрузок возникают напряжения, которые влияют на усталостную прочность соединения. При выполнении впадины профиля витка резьбы в форме дуги эллипса, описанного уравнением понижается уровень напряжений, что приводит к более надежной работе соединения на усталостную прочность. Выполнение впадины профиля витка резьбы в виде дуги эллипса также обеспечивает более равномерное распределений напряжений во впадине по опасному сечению ниппеля и позволяет исключить затирание резьбы при многократном свинчивании-развинчивании соединения. Вершина профиля витка резьбы срезана по отношению к исходному треугольнику резьбы, причем ширина среза (13) составляет, по меньшей мере, 2,3 мм. Такое выполнение ширины среза вершины профиля витка оказывает существенное влияние на повышение износостойкости соединения в процессе свинчивания соединения. Упорные торцы (5), (8) ниппеля (1) и муфты (2) выполнены равной длины, L1=L2. Вышеуказанное выполнение упорных торцов (5), (8) ниппеля (1) и муфты (2) позволяет достигнуть оптимального соотношения воспринимаемого соединением крутящего момента и равномерности распределения напряжений по обоим упорным узлам, а также оптимизировать габаритные размеры соединения в зависимости от диаметра труб. Длина упорного торца (8) муфты (L1) и длина упорного торца (5) ниппеля (L2) составляет, по меньшей мере, 10 мм. Такие длины упорных торцов (5), (8) ниппеля (1) и муфты (2) обеспечивают снижение общего уровня напряжений по упорным узлам, что повышает стойкость соединения к действию повышенного крутящего момента. Заявленное изобретение работает следующим образом. При выполнении операции свинчивания резьбового соединения бурильных труб первоначально осуществляется взаимодействие ниппеля (1) и муфты (2) при помощи резьб (3), (6). В процессе свинчивания соединения происходит продвижение внутренней резьбы (6) муфты (2) вдоль наружной резьбы (3) ниппеля (1) до соответствующего смыкания (контакта) упорного уступа (4) ниппеля (1), упорного торца (8) муфты (2) и упорного уступа (7) муфты (2), упорного торца (5) ниппеля (1), то есть до достижения так называемого момента свинчивания. При этом, за счет выполнения упорных торцов (5), (8) ниппеля (1) и муфты (2) равной длины, смыкание указанных поверхностей внутреннего и наружного упорных узлов соединения происходит одновременно, что обеспечивает увеличение воспринимаемого соединением крутящего момента. Пример осуществления заявленного изобретения. Были изготовлены ниппель и муфта, на концы которых были нанесены наружная и внутренние конические треугольные резьбы соответственно. Внутренний диаметр соединения составляет 65 мм, внешний диаметр - 127 мм. Конусность резьб составляет 1:8, шаг резьбы - 8,467 мм. Угол наклона опорной грани профиля витка резьбы составляет 20°, угол наклона закладной грани профиля витка резьбы составляет 40°. Впадина резьбы выполнена в виде дуги эллипса, описанного уравнением Ширина среза вершины профиля резьбы составляет 2,3 мм. Длина упорного торца ниппеля и упорного торца муфты составляет 25 мм. Указанное соединение показало увеличение сопротивления крутящему моменту по отношению к стандартному соединению бурильных труб на 81%. Также наблюдалось увеличение износостойкости соединения при его многократном свинчивании-развинчивании за счет более медленного износа резьбы по вершинам профиля витка, то есть вершины профиля витков резьбы заострялись меньше, оставалось нормальным сопряжение витков, и в соединении уменьшилась вероятность появления большого отрицательного натяга.


