Изобретение относится к строительству, в частности к строительству одноэтажных и многоэтажных жилых и общественных зданий бескаркасной и каркасной конструктивной системы. Технический результат: повышение эксплуатационных качеств узла за счет обеспечения фиксации положения панели на опорном столике. Узел крепления трехслойных стеновых панелей к колонне включает закладную деталь в колонне, опорный столик, выполненный в виде вертикальной пластины, горизонтальной пластины и вертикальных ребер жесткости. В закладной детали в колонне выполнено гнездо с пазом, а опорный столик выполнен съемным, при этом со стороны одного торца вертикальной пластины опорного столика выполнен шип, идентичный по форме и размеру пазу в гнезде закладной детали в колонне, а вертикальные ребра жесткости и горизонтальная пластина установлены со смещением относительно одного торца вертикальной пластины с шипом. 6 ил.
Узел крепления трехслойных стеновых панелей к колонне, включающий закладную деталь в колонне, опорный столик, выполненный в виде вертикальной пластины, горизонтальной пластины и вертикальных ребер жесткости, отличающийся тем, что в закладной детали в колонне выполнено гнездо с пазом, а опорный столик выполнен съемным, при этом со стороны одного торца вертикальной пластины опорного столика выполнен шип, идентичный по форме и размеру пазу в гнезде закладной детали в колонне, а вертикальные ребра жесткости и горизонтальная пластина установлены со смещением относительно одного торца вертикальной пластины с шипом.
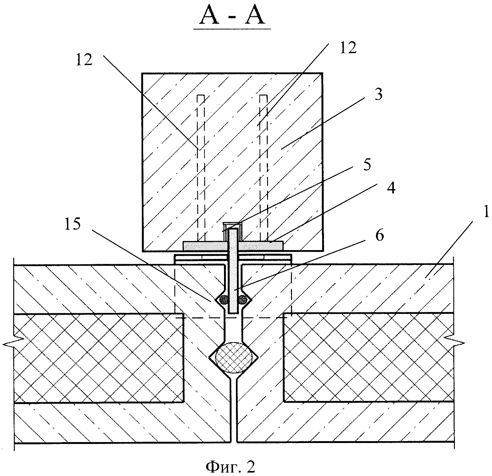
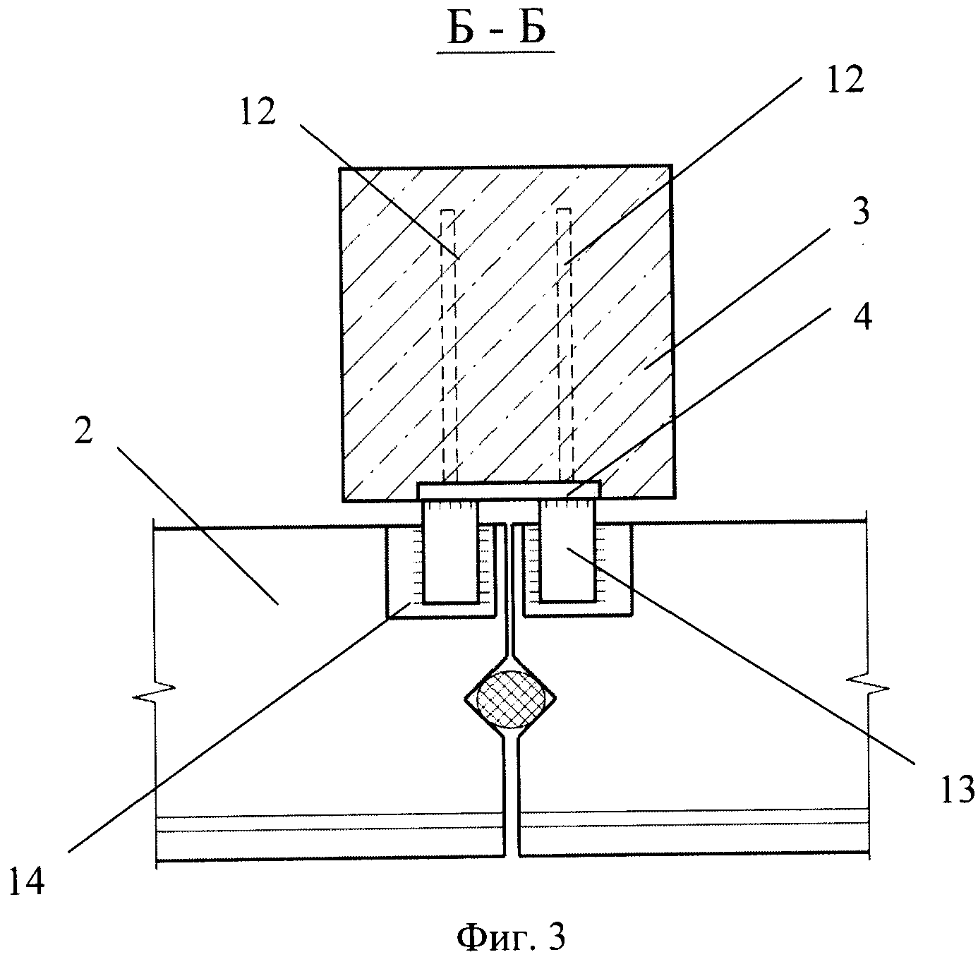
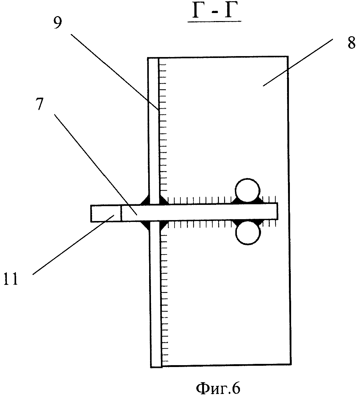
Изобретение относится к строительству, в частности к строительству одноэтажных и многоэтажных жилых и общественных зданий бескаркасной и каркасной конструктивной системы, включая сборные железобетонные каркасы многоэтажных зданий повышенной огнестойкости, и может быть использовано в узлах крепления трехслойных стеновых панелей к несущим конструкциям здания. Известно устройство стыкового соединения панелей стен с колонной (А.С. SU 1067163 А Е04В 1/38, опубл. 15.01.84), включающее закладную деталь в колонне на грани, обращенной к панели, и соединительный элемент, выполненный в виде отрезка двутаврового профиля и прикрепленный к одной из полок к закладной детали колонны, при этом соединение снабжено упором, закрепленным на наружном торце стенки двутаврового профиля. Одним из недостатков устройства является то, что фиксация соединительного элемента к колонне осуществляется на монтаже при помощи сварных швов, что сопряжено с необходимостью устраивать консольную площадку с наружной стороны здания и сварочный пост для выполнения сварочных работ, а также выполнять контроль качества сварочных работ. Все это приводит к увеличению трудоемкости и стоимости выполнения работ. Другим недостатком такого соединения является появления «мостика холода» из-за выступания двутаврового соединительного элемента за наружную грань стеновой панели, что неизбежно приведет к промерзанию участков стеновых панелей в области сопряжения с колоннами. Также известно стыковое соединение стеновых панелей стеновых панелей с каркасом здания (патент RU 2064037 C1 E04D 1/38, 20.07.1996), включающее соединительную деталь, закладную деталь и соединительные стержни. Соединительная деталь выполнена в виде закрепленной к каркасу опорной пластины с отверстием под стержень, а закладная деталь панели в виде коробчатого желоба для размещения стержня, при этом стержень прикреплен к пластине и выступает с двух ее сторон. Недостатком данного устройства также является необходимость выполнять сварочные работы в случае крепления соединительной детали -опорного столика к стальной колонне или закладной детали железобетонной колонны, в случае выполнения их на строительной площадке. Также повышается трудоемкость изготовления соединительной детали за счет необходимости просверливания в ней отверстий и приварки, установленных в эти отверстия стержней. Наиболее близким к предлагаемому техническому решению является узел устройства монтажных узлов стен каркасных многоэтажных зданий из трехслойных панелей на жестких связях (Серия 1.232.1-7 Сборные легкобетонные панели наружных стен трехслойные на жестких связях для общественных зданий. Выпуск 3-1. Монтажные узлы стен каркасных многоэтажных зданий из трехслойных панелей на жестких связях. Изделия соединительные стальные. Рабочие чертежи. Разработаны ЦНИИЭП торгово-бытовых зданий и туристических комплексов. Утверждены Госгражданстроем СССР, приказ от 17.07.85 №209. Введены в действие с 01.09.85, лист 13, узлы 20, 21, 22), включающий прикрепляемый на сварке к закладной детали в колонне опорный столик, состоящий из вертикальной пластины, горизонтальной опорной пластины и, перпендикулярного к ним, вертикального ребра жесткости, соединенные друг с другом на сварке. Стеновые панели нижней опорной частью устанавливаются на горизонтальную полку опорного столика, таким образом, чтобы вертикальное ребро жесткости размещалось между двумя смежными стеновыми панелями. Крепление стеновой панели осуществляется при помощи стальной пластиной, приваренной с одной стороны к закладной детали, находящейся в верхней части стеновой панели, с другой стороны к закладной детали в колонне, находящейся на том же уровне. Недостатком данного устройства является высокая трудоемкость и сложность выполнения работ из-за необходимости выполнения ответственных сварочных работ при креплении опорного столика к закладной детали в колонне. Особенно это актуально при строительстве в климатических условиях сибирского региона, что сопряжено с необходимостью выполнения специальных технологических мероприятий при выполнении сварочных работ. Другим недостатком является отсутствие устройства крепления стеновой панели на опорном столике. Основной технической задачей изобретения является создание конструкции позволяющей упростить работу и снизить трудоемкость устройства при монтаже. Основным техническим результатом является повышение эксплуатационных качеств узла за счет обеспечения фиксации положения панели на опорном столике. Основная техническая задача, достигается тем, что в узле крепления трехслойных стеновых панелей к колонне, включающем закладную деталь в колонне, опорный столик, выполненный в виде вертикальной пластины, горизонтальной пластины и вертикальных ребер жесткости, согласно предложенному решению, в закладной детали в колонне выполнено гнездо с пазом, а опорный столик выполнен съемным, при этом со стороны одного торца вертикальной пластины опорного столика выполнен шип, идентичный по форме и размеру пазу в гнезде закладной детали в колонне, а вертикальные ребра жесткости и горизонтальная пластина установлены со смещением относительно одного торца вертикальной пластины с шипом. Изобретение поясняется чертежами, где на фиг.1 представлен общий вид узла опирания стеновых панелей на несущую конструкцию каркаса, например колонну; на фиг.2 показан горизонтальный разрез А-А, рассекающий верхнюю стеновую панель и съемный опорный столик; на фиг.3 показан горизонтальный разрез Б-Б, проходящий между верхней и нижней стеновыми панелями; на фиг.4 показана съемный опорный столик, на фиг.5 и фиг.6 - разрез В-В и Г-Г. Узел крепления (фиг.1, фиг.2 и фиг.3) трехслойных стеновых панелей верхней 1 и нижней 2 к колонне 3 включает закладную деталь 4, размещенную в железобетонной колонне 3, которая имеет гнездо 5 для закрепления съемного опорного столика 6 (фиг.4), состоящего из вертикальной пластины 7, приваренной к ней снизу горизонтальной пластины 8, приваренных с боков ближе к одному краю двух вертикальных пластин 9 и приваренных с боков ближе к другому краю двух вертикальных стержней 10 круглого сечения. Съемный опорный столик 6 оснащен шипом 11, служащим для ее закрепления при сборке с железобетонной колонной 3. Шип 11 съемного опорного столика 6, входящий в соответствующий по форме и размерам паз в гнезде 5 закладной детали 4 в колонне 3, обеспечивает надежное жесткое закрепление опорной разъемной консоли 6 с закладной деталью 4 железобетонной колонны 3. Закладная деталь 4 железобетонной колонны 3 оснащена анкерами 12. Стальные монтажные пластины 13 закрепляют на сварке закладные детали 14 нижних стеновых панелей 2 к закладной детали 4 в колонне 3. Монтаж узла осуществляют следующим образом. В колонне 3 устанавливают закладную деталь 4 с гнездом 5. После монтажа колонны 3 поэтажно монтируют стеновые панели. После установки нижней стеновой панели 2, ее крепят к закладной детали 4 в колонне 3 посредством приварки стальной монтажной пластины 13 к закладной детали 4 в колонне 3 и закладной детали в нижней стеновой панели 2. Затем в гнездо 5 закладной детали 4 колонны 3 устанавливают съемный опорный столик 6 таким образом, чтобы его шип 11 заходил в соответствующий по размерам шипу 11 паз гнезда 5. Затем устанавливают верхние стеновые панели 2, таким образом, чтобы они нижней частью опирались на горизонтальную пластину 8 съемного опорного столика 6, а треугольные пазы 15, выполненные в нижней части стеновых панелей одевались на вертикальные стержни 10. Монтажные пластины 13 обеспечивают крепление верхней части стеновых панелей к колонне, а фиксация нижней части стеновых панелей к колонне обеспечивается одеванием треугольных пазов 15 на вертикальные стержни 10, прикрепленные вертикальной пластине 7 опорного столика 6. Предложенное решение позволяет упростить работу и снизить трудоемкость устройства при монтаже при совмещении в одном устройстве функции опорного столика (для передачи вертикальной нагрузки от стеновой панели на несущие конструкции здания) и функции фиксирующего устройства (для передачи горизонтальной, например ветровой, нагрузки на несущие конструкции здания).