патент
№ RU 2497053
МПК F25B43/02
Номер заявки
2011144519/06
Дата подачи заявки
02.11.2011
Опубликовано
27.10.2013
Страна
RU
Как управлять
интеллектуальной собственностью
Чертежи 
2
Реферат

Изобретение относится к холодильной технике, а именно к прогрессивным аммиачным установкам с насосно-циркуляционными схемами, и может быть использовано в других отраслях промышленности, например в химической. Ресивер холодильной установки имеет цилиндрический корпус с разделительной колонкой. В нижней части корпуса ресивер имеет цилиндрический стояк, расположенный соосно с корпусом. На стояке размещены патрубки подвода жидкого хладагента и отвода масла. Ресивер содержит полый цилиндрический стакан, который расположен внутри стояка, соосно с ним. Цилиндрический стакан имеет патрубок отвода хладагента, расположенный тангенциально. Ресивер содержит цилиндрическую вставку, расположенную внутри цилиндрического стакана, соосно с последним, и образующую калиброванные отверстия с коническим днищем цилиндрического стакана, также имеющего калиброванное отверстие. Техническим результатом настоящего изобретения является увеличение интенсивности разделения аммиака и масла, что позволяет снизить удельные затраты электроэнергии на выработку единицы холода, повысить безопасность эксплуатации и надежность работы холодильной установки. 2 ил.

Формула изобретения

Ресивер холодильной установки, содержащий цилиндрический корпус с разделительной колонкой, в нижней части корпуса размещенный соосно с ним цилиндрический стояк с патрубками подвода хладагента и отвода масла, полый цилиндрический стакан, имеющий коническое днище с калиброванным отверстием, расположенный внутри стояка соосно с ним и снабженный патрубком отвода хладагента, отличающийся тем, что внутри цилиндрического стакана соосно с ним расположена цилиндрическая вставка, образующая кольцевой зазор между наружной поверхностью цилиндрической вставки и внутренней поверхностью цилиндрического стакана и имеющая калиброванные отверстия, расположенные радиально на границе сопряжения нижней части вставки с коническим днищем цилиндрического стакана.

Описание

[1]

Изобретение относится к холодильной технике, а именно к прогрессивным аммиачным холодильным установкам с насосно-циркуляционными схемами, и может быть использовано в других отраслях промышленности, например в химической.

[2]

Известен ресивер холодильной установки, содержащий цилиндрический корпус, под которым соосно вниз размещен вертикальный цилиндрический стояк со змеевиком, патрубками подвода и отвода хладагента, и отвода масла (патент РФ №2275561, МПК F25B 43/02, опубл. 27.04.2006, бюл. №12).

[3]

Недостатком данной конструкции является недостаточно высокая степень очистки хладагента от масла, что приводит к попаданию масла в испарительную систему холодильной установки, что в свою очередь приводит к увеличению расхода электроэнергии на выработку холода, ухудшению работы вспомогательного оборудования и средств автоматизации испарительной системы, а также снижению надежности и безопасности работы всей установки.

[4]

Известен ресивер холодильной установки, содержащий цилиндрический корпус с разделительной колонкой, в нижней части которого, соосно с ним размещен вертикальный цилиндрический стояк с патрубками подвода хладагента и отвода масла, а также содержащий полый цилиндрический стакан, расположенный соосно внутри стояка и снабженный патрубком отвода жидкого хладагента (патент РФ №2324870, МПК F25B 43/02, опубл. 20.05.2008, бюл. №14).

[5]

Недостатком данной конструкции является недостаточно высокая степень очистки холодильного агента от масла по причине неустойчивости процесса разделения смеси аммиака и масла в цилиндрическом стакане, вследствие чего происходит попадание масла в контур испарительной системы, ухудшение работы холодильной установки и снижение безопасности ее эксплуатации.

[6]

Техническим результатом настоящего изобретения является интенсификация процесса разделения хладагента и масла за счет достижения его устойчивости, что позволяет снизить удельные затраты электроэнергии на выработку единицы холода, повысить безопасность эксплуатации и надежность работы холодильной установки.

[7]

Технический результат достигается тем, что в ресивере холодильной установки, содержащей цилиндрический корпус с разделительной колонкой, в нижней части корпуса размещенный соосно с ним цилиндрический стояк с патрубками подвода хладагента и отвода масла, полый цилиндрический стакан, имеющий коническое днище с калиброванным отверстием, расположенный внутри стояка соосно с ним и снабженный патрубком отвода хладагента, внутри цилиндрического стакана соосно с ним расположена цилиндрическая вставка, образующая кольцевой зазор между наружной поверхностью цилиндрической вставки и внутренней поверхностью цилиндрического стакана и калиброванные отверстия, расположенные радиально на границе сопряжения нижней части вставки с коническим днищем цилиндрического стакана.

[8]

Технический результат достигается за счет того, что цилиндрическая вставка, создающая кольцевой зазор между внутренней поверхностью стакана и внешней поверхностью вставки позволяет формировать устойчивый процесс разделения смеси хладагента и масла, увеличить его интенсивность.

[9]

Смесь жидкого хладагента с маслом подается через патрубок стояка, расположенного тангенциально, в кольцевую полость, которая образуется между внутренней поверхностью стояка и наружной поверхностью цилиндрического стакана. Поток смеси жидкого хладагента и масла осуществляет вращательное движение по спирали вверх, в процессе которого осуществляется отделение хладагента от масла, достигает верхней границы цилиндрического стакана и переходит во внутреннюю полость цилиндрического стакана. При переходе потока с внешней кольцевой полости во внутренний кольцевой зазор, образованный внутренней поверхностью стакана и внешней поверхностью цилиндрической вставки, имеет место увеличение скорости вращения потока, за счет чего интенсифицируется процесс отделения хладагента от масла. Далее процесс разделения осуществляется в кольцевом зазоре за счет действия центробежных сил и разности удельного веса аммиака и масла. Масло собирается в нижней полости стояка с его внутренней поверхности, а также через калиброванные отверстия цилиндрического стакана и цилиндрической вставки.

[10]

Сопоставительный анализ заявляемого технического решения с прототипом показывает, что предлагаемый ресивер холодильной установки отличается тем, что содержит цилиндрическую вставку, образующую кольцевой зазор между наружной поверхностью цилиндрической вставки и внутренней поверхностью цилиндрического стакана и имеющую калиброванные отверстия, расположенные радиально на границе сопряжения нижней части вставки с коническим днищем цилиндрического стакана.

[11]

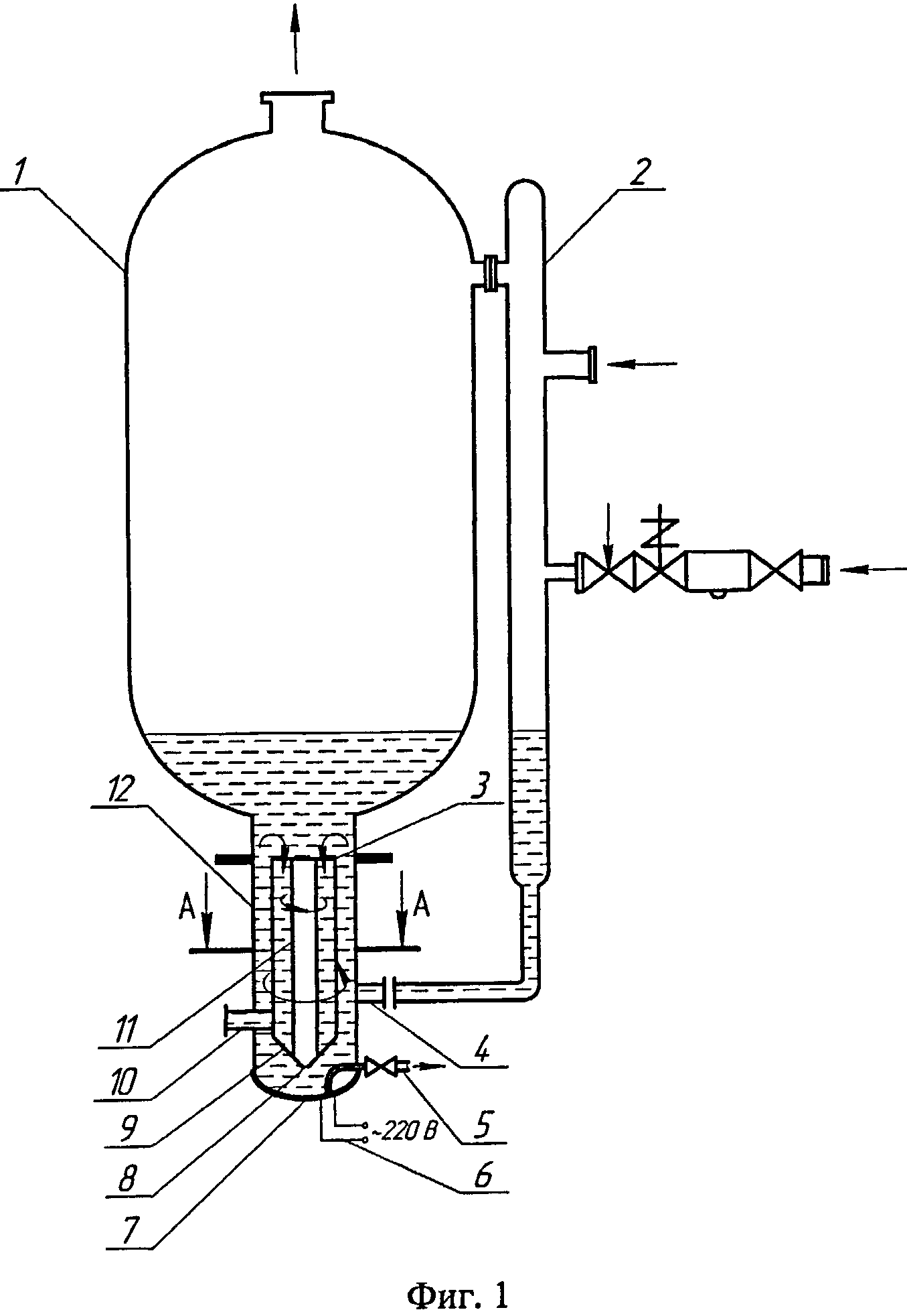
На фиг.1 показан вертикальный циркуляционный ресивер, имеющий цилиндрический корпус, со стояком, содержащий цилиндрический стакан и цилиндрическую вставку; на фиг.2 изображено сечения корпуса стояка ресивера.

[12]

Ресивер холодильной установки содержит цилиндрический корпус 1 с разделительной колонкой 2 и стояком 12, цилиндрический стакан 3 с коническим днищем 9 и калиброванным отверстием 8, патрубок подвода жидкого хладагента с маслом 4, патрубок отвода отделяемого масла 5, устройство для разогрева масла 7 с питанием от сети 6, патрубок отвода очищенного от масла жидкого хладагента 10, цилиндрическую вставку 11 с калиброванными отверстиями.

[13]

Ресивер холодильной установки работает следующим образом. В циркуляционный ресивер, содержащий цилиндрический корпус 1 со стояком 12, через патрубок 4, подводится жидкий хладагент с маслом. Смесь хладагента и масла поступает в кольцевую полость, образованную внутренней поверхностью стояка ресивера 12 и наружной поверхностью цилиндрического стакана 3. Тангенциальный подвод жидкости обеспечивает движение смеси в кольцевой полости по спирали, при этом осуществляется процесс отделения хладагента от масла. Под действием центробежных сил масло отводится к внутренней поверхности стояка, в нижней полости которого собирается. Частично очищенный хладагент с маслом переходит с увеличением скоростного напора во внутренний кольцевой зазор, образованный внутренней поверхностью цилиндрического стакана 3 и наружной поверхностью цилиндрической вставки 11, где происходит дальнейшее отделение хладагента от масла, при движении смеси по спирали вниз с интенсивным увеличением скорости потока, за счет отвода жидкого хладагента через патрубок 10 циркуляционным насосом (на фиг.1 условно не показан). Масло, выделяемое на внутренней поверхности цилиндрического стакана поступает через калиброванные зазоры цилиндрической вставки и далее через калиброванное отверстие 8 конического днища 9 цилиндрического стакана 3 собирается в нижней части стояка 12 ресивера. Перед выпуском масла осуществляется его разогрев при помощи устройства 7, питаемого от сети 6. Разогретое масло выводится из нижней полости стояка 12 через патрубок 5.

[14]

Данное техническое решение позволяет обеспечить устойчивость процесса отделения хладагента от масла и повысить интенсивность разделения смеси, что обеспечивает увеличение эффективности работы холодильной установки и снижение затрат на выработку холода, а также повышает ее надежность и безопасность эксплуатации.

[15]

Экономический эффект от использования предлагаемого ресивера холодильной установки формируется из экономии средств на эксплуатационные расходы холодильной установки, в схеме которой включено и работает данное техническое решение.

Как компенсировать расходы
на инновационную разработку
Похожие патенты