патент
№ RU 2467513
МПК H04W36/28

ОПТИМИЗИРОВАННОЕ ИЗМЕНЕНИЕ ОБСЛУЖИВАЮЩЕЙ СОТЫ В РЕЖИМЕ С ДВУМЯ СОТАМИ

Авторы:
МАРИНЬЕ Поль (CA)
Номер заявки
2011101682/08
Дата подачи заявки
19.06.2009
Опубликовано
20.11.2012
Страна
RU
Дата приоритета
15.12.2025
Номер приоритета
Страна приоритета
Как управлять
интеллектуальной собственностью
Чертежи 
3
Реферат

Настоящее изобретение относится к способу и устройству для реализации изменения обслуживающей соты в многосотовом беспроводном модуле приема/передачи (WTRU) (110). Информация обслуживающей соты принимается и сохраняется WTRU (110), чтобы предварительно конфигурировать первичную и вторичную обслуживающую соту добавляемой соты в активный набор. По меньшей мере одна из предварительно сконфигурированных первичной и вторичной обслуживающих сот отслеживается на предмет индикатора передачи обслуживания. Изменение обслуживающей соты на первичную и вторичную обслуживающие соты выполняется с помощью предварительно сконфигурированной информации обслуживающей соты при приеме индикатора передачи обслуживания. Технический результат изобретения заключается в более мягкой передаче обслуживания. 2 н. и 10 з.п. ф-лы, 4 ил.

Формула изобретения

1. Способ реализации изменения обслуживающей соты, осуществляемый беспроводным модулем приема/передачи (WTRU), при этом способ содержит этапы, на которых:
передают информацию на первичной частоте восходящей линии связи в обслуживающей соте и, по меньшей мере, на одной вторичной частоте восходящей линии связи во вторичной обслуживающей соте;
принимают информацию на частоте нисходящей линии связи в обслуживающей соте и, по меньшей мере, на одной вторичной частоте нисходящей линии связи во вторичной обслуживающей соте;
принимают информацию предварительной конфигурации целевой соты, причем информация предварительной конфигурации целевой соты включает в себя информацию конфигурации усовершенствованного выделенного канала (E-DCH) для упомянутой, по меньшей мере, одной вторичной частоты восходящей линии связи;
сохраняют информацию предварительной конфигурации целевой соты; и отслеживают сигналы управления в целевой соте, обслуживающей соте и вторичной обслуживающей соте.

2. Способ по п.1, дополнительно содержащий этап, на котором:
принимают команду высокоскоростного совместно используемого канала управления (HS-SCCH) для активации или деактивации упомянутой, по меньшей мере, одной вторичной частоты восходящей линии связи и упомянутой, по меньшей мере, одной вторичной частоты нисходящей линии связи.

3. Способ по п.1, в котором отслеживаемые сигналы управления принимают, по меньшей мере, по одному высокоскоростному совместно используемому каналу управления (HS-SCCH).

4. Способ по п.1, в котором обслуживающая сота и вторичная обслуживающая сота являются сотами высокоскоростного совместно используемого канала нисходящей линии связи (HS-DSCH).

5. Способ по п.1, дополнительно содержащий этап, на котором
передают отчет об измерениях ID.

6. Способ по п.1, в котором информация предварительной конфигурации целевой соты включает в себя идентификатор транзакций в радиосети (Н-RNTI) высокоскоростного совместно используемого канала нисходящей линии связи (HS-DSCH).

7. Беспроводной модуль приема/передачи (WTRU), содержащий:
схему, выполненную с возможностью передачи информации на первичной частоте восходящей линии связи в обслуживающей соте и, по меньшей мере, на одной вторичной частоте восходящей линии связи во вторичной обслуживающей соте;
схему, выполненную с возможностью приема информации на частоте нисходящей линии связи в обслуживающей соте и, по меньшей мере, на одной вторичной частоте нисходящей линии связи во вторичной обслуживающей соте и приема информации предварительной конфигурации целевой соты, причем информация предварительной конфигурации целевой соты включает в себя информацию конфигурации усовершенствованного выделенного канала (E-DCH) для, по меньшей мере, одной вторичной частоты восходящей линии связи;
схему, выполненную с возможностью сохранения информации предварительной конфигурации целевой соты; и
схему, выполненную с возможностью отслеживания сигналов управления в целевой соте, обслуживающей соте и вторичной обслуживающей соте.

8. Беспроводной модуль приема/передачи по п.7, дополнительно содержащий:
схему, выполненную с возможностью приема команды высокоскоростного совместно используемого канала управления (HS-SCCH) для активации или деактивации упомянутой, по меньшей мере, одной вторичной частоты восходящей линии связи и упомянутой, по меньшей мере, одной вторичной частоты нисходящей линии связи.

9. Беспроводной модуль приема/передачи по п.7, в котором отслеживаемые сигналы управления принимают, по меньшей мере, по одному высокоскоростному совместно используемому каналу управления (HS-SCCH).

10. Беспроводной модуль приема/передачи по п.7, в котором обслуживающая сота и вторичная обслуживающая сота являются сотами высокоскоростного совместно используемого канала нисходящей линии связи (HS-DSCH).

11. Беспроводной модуль приема/передачи по п.7, дополнительно содержащий
схему, выполненную с возможностью передачи отчета об измерениях ID.

12. Беспроводной модуль приема/передачи по п.7, в котором информация предварительной конфигурации целевой соты включает в себя идентификатор транзакций в радиосети (H-RNTI) высокоскоростного совместно используемого канала нисходящей линии связи (HS-DSCH).

Описание

[1]

Область техники, к которой относится изобретение

[2]

Данная заявка относится к беспроводной связи.

[3]

Уровень техники

[4]

Как часть осуществляемого развития стандарта широкополосного множественного доступа с кодовым разделением (WCDMA) на основе партнерского проекта третьего поколения в 3GPP одобрен высокоскоростной пакетный доступ по нисходящей линии связи (HSDPA) в режиме с двумя сотами (DC-HSDPA). HSDPA в режиме с двумя сотами является естественным развитием высокоскоростного пакетного доступа (HSPA), который дает возможность использования второй несущей HSPA (т.е. двух несущих нисходящей линии связи при 5 МГц), чтобы создавать больший конвейер данных нисходящей линии связи.

[5]

Режим работы DC-HSDPA является обратно совместимым с устройствами версии 7, 6 и 5 и версии 99 через прозрачное взаимодействие между зонами покрытия с двумя несущими и с одной несущей. Режим работы с двумя сотами обеспечивает как повышение пропускной способности, так и уменьшение времени задержки. Наиболее важным является то, что большее число беспроводных модулей приема/передачи (WTRU) имеет доступ к более высоким скоростям передачи данных, в частности, при плохих условиях радиосвязи, в которых такие технологии, как технология с множеством входов и множеством выходов (MIMO), не используются. С точки зрения производительности системы HSDPA в режиме с двумя сотами предлагает эффективную балансировку нагрузки по несущим и некоторое усиление пропускной способности.

[6]

Согласованный режим работы с двумя сотами в версии 8 3GPP-стандарта применяется только к нисходящей линии связи, при этом передача по восходящей линии связи (UL) ограничена одной сотой, т.е. несущей. Кроме того, наложены следующие дополнительные ограничения: две соты нисходящей линии связи принадлежат идентичному узлу B и находятся на смежных несущих (и в качестве дополнения, несущие находятся в одной полосе частот); две несущие, работающие в режиме с двумя сотами, имеют идентичную привязку по времени, и их нисходящие линии связи являются синхронизированными; и две соты нисходящей линии связи покрывают идентичную географическую область (сектор). Соответственно, WTRU с поддержкой режима с двумя сотами выполнен с возможностью принимать две несущие нисходящей линии связи (опорную несущую и дополнительную несущую) и передавать одну опорную несущую восходящей линии связи. Опорная несущая нисходящей линии связи согласовывается с опорной несущей восходящей линии связи.

[7]

Дополнительно, межчастотные передачи обслуживания могут использоваться для того, чтобы изменять опорные несущие в рамках узла B.

[8]

WTRU с поддержкой HSDPA с двумя сотами может быть выполнен с возможностью выполнять обычные процедуры мобильности. Важным аспектом HSDPA и мобильности на основе усовершенствованного выделенного канала (E-DCH) является изменение обслуживающей соты (передача обслуживания). Передача обслуживания - это процесс, в котором WTRU переключается с одной соты на другую без прерывания обслуживания. Мягкая передача обслуживания упоминается как признак, при котором WTRU одновременно подключается к двум или более сот (или секторов соты) во время вызова. Если секторы исходят из идентичного физического узла сотовой связи (секторизованного узла), это упоминается как более мягкая передача обслуживания.

[9]

В HSDPA процедура передачи обслуживания не предоставляет возможность мягкой передачи обслуживания или более мягкой передачи обслуживания. Высокоскоростные совместно используемые каналы отслеживаются посредством WTRU в одной соте, которая называется обслуживающей HS-DSCH-сотой. Во время передачи обслуживания WTRU переключается на новую обслуживающую HS-DSCH-соту (целевую соту/узел B) и прекращает связь со старой обслуживающей HS-DSCH-сотой (исходной сотой/узлом B). Эта процедура также называется изменением обслуживающей HS-DSCH-соты.

[10]

С введением усовершенствованного DCH в UL WTRU также должен поддерживать соединение с обслуживающей E-DCH-сотой. Обслуживающая HS-DSCH-сота и обслуживающая E-DCH-сота должны быть идентичными для всего соединения WTRU. Следовательно, когда происходит изменение обслуживающей HS-DSCH-соты, также происходит изменение обслуживающей E-DCH-соты. Комбинированная процедура также упоминается как изменение обслуживающей соты.

[11]

Важным аспектом в передаче обслуживания является выбор "оптимальной соты". Соответственно, WTRU непрерывно измеряет интенсивность сигнала общего пилотного канала (CPICH) соседних сот. Если измеренный сигнал соседней соты превышает сигнал обслуживающей соты, WTRU сообщает контроллеру радиосети (RNC) изменение оптимальной соты через идентификатор события отчета об измерениях контроллера радиоресурсов (RRC). Отчет об измерениях содержит измеренное значение и идентификационные данные соты (идентификатор соты). RNC затем выполняет окончательное определение относительно того, должно или нет происходить изменение обслуживающей соты.

[12]

Изменение обслуживающей соты также может происходить через другие события отчетов об измерениях RRC, такие как событие 1A или событие 1C, или как часть процедуры обновления активного набора.

[13]

При приеме этих событий RNC определяет то, следует или нет выполнять передачу обслуживания новой соте. Обслуживающий RNC (SRNC) запрашивает управляющий RNC (CRNC) выделять ресурсы высокоскоростного совместно используемого канала нисходящей линии связи (HS-DSCH) (такие, как идентификатор транзакций в радиосети HS-DSCH (H-RNTI), коды высокоскоростного совместно используемого канала управления (HS-SCCH), ресурсы гибридного автоматического запроса на повторную передачу (HARQ) и т.д.) и ресурсы E-DCH (такие, как E-RNTI, абсолютный канал разрешения на передачу по E-DCH (E-AGCH) и относительный канал разрешения на передачу по обслуживающему E-DCH (E-RGCH) и т.д.) для WTRU в целевой соте через сообщения прикладной части подсистемы радиосети (RNSAP) и/или прикладной части узла B (NBAP). После того как ресурсы зарезервированы, CRNC предоставляет всю информацию в SRNC, который в свою очередь передает RRC-сообщение передачи обслуживания в WTRU. RRC-сообщение, которое может указывать изменение обслуживающей HS-DSCH-соты, включает в себя, но не только: переконфигурирование физического канала, переконфигурирование транспортного канала, переконфигурирование однонаправленного радиоканала и обновление активного набора.

[14]

RRC-сообщение передачи обслуживания предоставляет в WTRU параметры радиодоступа, требуемые для WTRU, чтобы начинать отслеживание целевой соты. Помимо этого RRC-сообщение может предоставлять время активации, которое уведомляет WTRU, в какое время должна осуществляться передача обслуживания.

[15]

Передачи обслуживания могут быть синхронизированными или несинхронизированными. При несинхронизированной передаче обслуживания сеть и WTRU не активируют ресурсы и переключаются одновременно. Время активации для WTRU задается равным "сейчас". Это уменьшает задержки, ассоциированные с процедурой передачи обслуживания; тем не менее это увеличивает вероятность потери данных.

[16]

При синхронизированной передаче обслуживания сеть и WTRU выполняют изменение ресурсов одновременно. Сеть задает время активации равным установившемуся значению, чтобы учитывать любой вид задержек, таких как задержка на диспетчеризацию, повторные передачи, время конфигурирования и т.д. Хотя синхронизированные передачи обслуживания минимизируют потери данных, они фактически приводят к более высоким задержкам.

[17]

RRC-сообщение передачи обслуживания передается в WTRU через исходный узел B. Задержка, ассоциированная с процедурой изменения обслуживающей HS-DSCH-соты, может приводить к тому, что сообщение передачи обслуживания не доставляется, тем самым получая в результате недопустимую частоту прерывания вызовов. Как результат, чтобы оптимизировать процедуру обслуживающей HS-DSCH-соты, предложена предварительная загрузка (предварительное конфигурирование) в WTRU и узел B связанной с HS-DSCH или E-DCH конфигурации. Когда сота добавляется в активный набор, WTRU и узел B предварительно конфигурируются с фазой подготовки/готовности к переконфигурированию линии радиосвязи (RL). Когда изменение оптимальной соты происходит (т.е. событие 1D), конфигурация целевого узла B, который уже предварительно сконфигурирован, может быть активирована посредством RNC.

[18]

Параллельное отслеживание HS-SCCH исходного узла B и HS-SCCH целевого узла B также предложено. При изменении оптимальной соты WTRU передает отчет об измерениях события 1D. После ожидания в течение сконфигурированного количества времени WTRU начинает отслеживание предварительно загруженного HS-SCCH целевого узла B в дополнение к HS-SCCH исходного узла B. При выполнении этих этапов прерывистость услуги уменьшается.

[19]

Другая альтернатива, чтобы оптимизировать процедуру обслуживающей HS-DSCH-соты, состоит в том, что WTRU одновременно отслеживает только одну соту. После того как событие 1D инициировано, WTRU предоставляет в сеть время, в которое передача обслуживания должна осуществляться, т.е. номер кадра при сборке (CFN), в сообщении отчета об измерениях. При данном CFN WTRU затем должен прекращать отслеживание исходной соты и перемещаться в целевую соту.

[20]

Неявное повторное указание для целевого узла B при первом осуществлении диспетчеризации также может использоваться. Когда RNC авторизует передачу обслуживания и целевой узел B сконфигурирован и готов, RNC может диспетчеризовать WTRU по одному из HS-SCCH, которые отслеживаются посредством WTRU. Первое осуществление диспетчеризации от целевого узла B неявно подтверждает успешную передачу обслуживания, тем самым сообщение завершения передачи обслуживания передается в RNC. Чтобы не допускать потери пакетов, исходный узел B может предоставлять в RNC сообщение о состоянии, указывающее объем данных, который еще должен быть передан.

[21]

Индикатор (или повторное указание) передачи обслуживания также может быть передан в целевой узел B через HS-SCCH-команду или канал изменения обслуживающей соты (SCCCH), который использует код канализации, идентичный коду канализации E-RGCH и канала индикаторов подтверждения приема HARQ E-DCH (E-HICH), но с другой сигнатурной последовательностью.

[22]

WTRU подтверждает прием индикатора передачи обслуживания посредством изменения кода скремблирования в UL или посредством использования специального значения индикатора качества канала (CQI) (т.е. 31) или информации диспетчеризации (SI).

[23]

Введение второй несущей в нисходящей линии связи оказывает влияние на существующие процедуры мобильности. Усовершенствования в процедуру смены обслуживающей соты оптимизированы в контексте работы в режиме с одной несущей. Когда вторая несущая вводится, усовершенствованная процедура смены обслуживающей соты не принимает во внимание обе несущие. Следовательно, существует необходимость в усовершенствованном способе и устройстве для изменения двух обслуживающих сот.

[24]

Раскрытие изобретения

[25]

Раскрыты способ и устройство для реализации изменения обслуживающей соты в многосотовом беспроводном модуле приема/передачи (WTRU). Информация обслуживающей соты принимается и сохраняется посредством WTRU, чтобы предварительно конфигурировать первичную и вторичную обслуживающую соту добавляемой соты в активный набор. По меньшей мере одна из предварительно сконфигурированных первичной и вторичной обслуживающих сот отслеживается на предмет индикатора передачи обслуживания. Изменение обслуживающей соты на первичную и вторичную обслуживающие соты выполняется с помощью предварительно сконфигурированной информации обслуживающей соты при приеме индикатора передачи обслуживания.

[26]

Краткое описание чертежей

[27]

Более подробное понимание может быть получено из нижеследующего описания, приведенного вместе с сопровождающими чертежами, на которых:

[28]

Фиг. 1 является схемой примерной системы беспроводной связи;

[29]

Фиг. 2 является схемой беспроводного модуля приема/передачи (WTRU) с поддержкой режима с двумя сотами;

[30]

Фиг. 3 является примерной блок-схемой последовательности операций способа для ограничения доступа к соте с использованием приоритета несущей; и

[31]

Фиг. 4 является примерным развертыванием, в котором узлы B используют несколько частот, чтобы обмениваться данными с WTRU, сконфигурированным с HSDPA с двумя сотами и HSUPA.

[32]

Осуществление изобретения

[33]

Упоминаемый далее термин "беспроводной модуль приема/передачи (WTRU)" включает в себя, не ограничиваясь, абонентское устройство (UE), мобильную станцию, стационарный или мобильный абонентский модуль, пейджер, сотовый телефон, карманный персональный компьютер (PDA), компьютер или любой другой тип пользовательского устройства, допускающего работу в беспроводном окружении. Когда упоминается далее, термин "базовая станция" включает в себя, но не только, узел B, контроллер узла, точку доступа (AP) или любой другой тип интерфейсного устройства, выполненного с возможностью работы в беспроводном окружении.

[34]

Упоминаемый далее термин "сектор" включает в себя, не ограничиваясь, одну или более сот, принадлежащих одной базовой станции и покрывающих одну географическую область. Термин "сектор" также может означать набор несущих, который включает в себя одну или более сот, принадлежащих одной базовой станции, покрывающей одну географическую область. Даже когда задание сектора или набора несущих описывается как несущие частоты, покрывающие одну географическую область, это задание и принцип являются применимыми к случаю, когда соты в рамках набора несущих имеют различные зоны покрытия (т.е. каждая из них покрывает только поднабор географической области). Это может зависеть от развертывания или того, принадлежат различные несущие одной полосе частот или нет. Термин "опорная несущая" включает в себя, но не только, несущую частоту нисходящей линии связи, ассоциированную с несущей частотой восходящей линии связи, назначаемой для WTRU. Более конкретно, опорная сота WTRU работает со всеми физическими каналами, включая выделенный физический канал (DPCH)/дробный DPCH (F-DPCH), канал индикаторов подтверждения приема HARQ по усовершенствованному выделенному каналу (E-DCH) (E-HICH), абсолютный канал разрешения на передачу по E-DCH (E-AGCH) и относительный канал разрешения на передачу E-DCH (E-RGCH). Дополнительно, опорная несущая также может упоминаться как несущая, которая имеет ассоциированную несущую UL, по которой передается HS-DPCCH. Термины "опорная несущая" и "первичная несущая" используются взаимозаменяемо.

[35]

Термин "дополнительная несущая" означает несущую частоту нисходящей линии связи, которая не является опорной несущей. Термин "сдвоенная сота" упоминается как две несущие, по которым передачи HS-DSCH выполняются и принимаются посредством WTRU.

[36]

В режиме работы с несколькими несущими более двух (2) сот могут конфигурироваться для одновременной передачи HS-DSCH, тем не менее принципы, описанные в данном документе, по-прежнему являются применимыми, если задание опорной несущей остается неизменным, и WTRU может иметь несколько дополнительных несущих. Даже когда изобретение описывается с точки зрения режима работы HSDPA с двумя несущими, оно также является применимым к работе в восходящей линии связи с двумя несущими и работе в UL и DL с несколькими несущими.

[37]

Когда упоминается далее, набор обслуживающих секторов или обслуживающих несущих включает в себя обслуживающие опорные соты и дополнительные соты. Исходный и целевой обслуживающий сектор упоминается как старый обслуживающий сектор до передачи обслуживания (т.е. набор исходных опорных сот и дополнительных сот) и новый обслуживающий сектор после того, как передача обслуживания осуществлена (т.е. набор целевых опорных сот и дополнительных сот), в котором WTRU выполняет прием HS-DSCH, соответственно. Исходная опорная несущая упоминается как несущая частота, используемая в исходной обслуживающей опорной соте. Исходная дополнительная несущая упоминается как несущая частота, используемая в исходной дополнительной обслуживающей соте. Целевая опорная несущая упоминается как несущая частота, которая, как ожидается, должна использоваться в целевой опорной соте в целевом секторе. Ожидаемая целевая опорная несущая может соответствовать опорной частоте, идентичной опорной частоте исходной опорной соты. Альтернативно, она может соответствовать несущей, которая имеет измерение качества наилучшего CPICH в целевом секторе, которая, как ожидается, может становиться несущей/опорной сотой. Целевая дополнительная несущая упоминается как несущая частота, которая, как ожидается, должна использоваться в целевой дополнительной соте в целевом секторе. Опорная частота упоминается как частота, используемая для опорной несущей в текущей обслуживающей соте. Дополнительная частота упоминается как частота, используемая для дополнительной несущей в текущей обслуживающей соте.

[38]

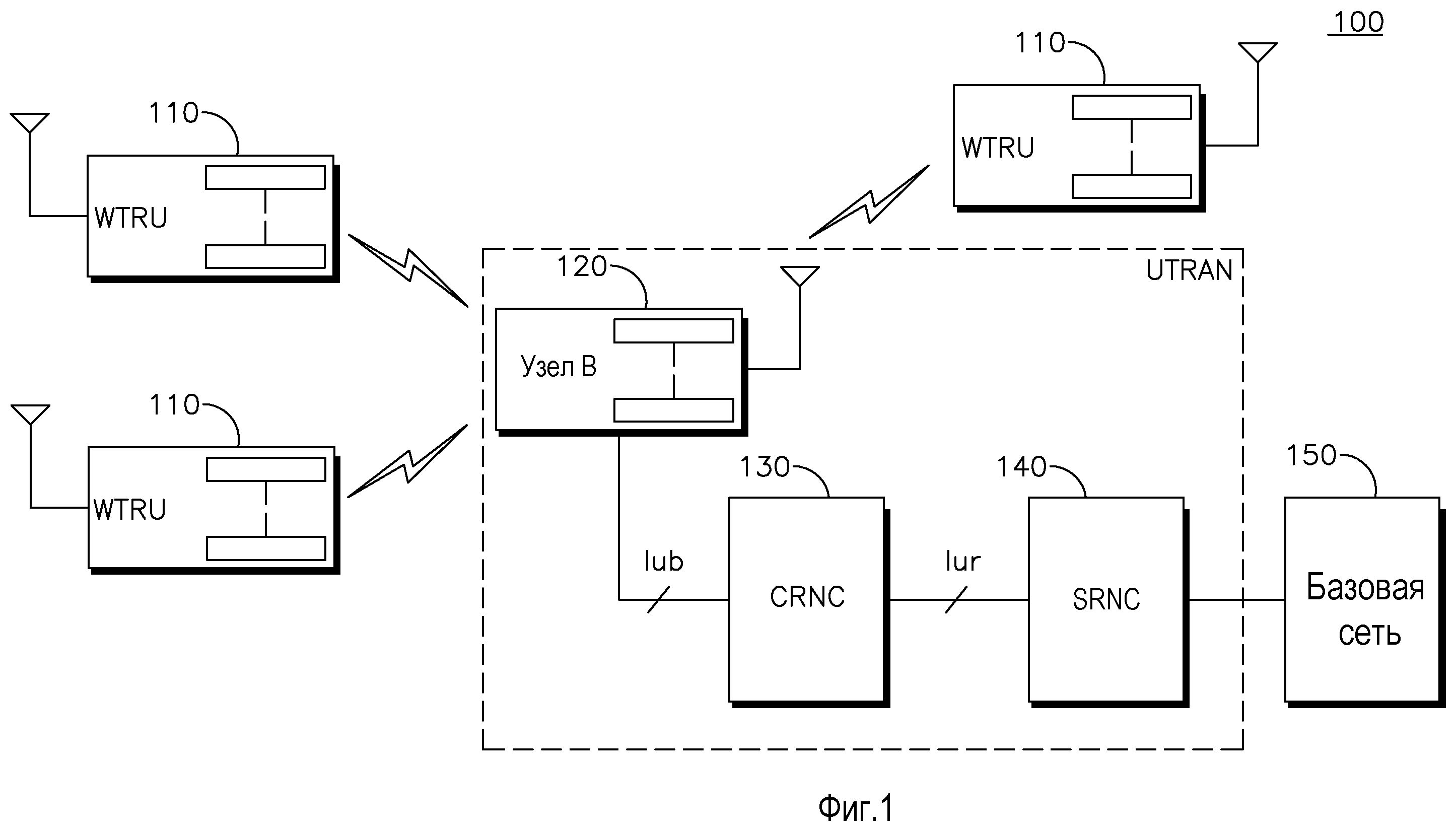
Фиг. 1 показывает систему 100 беспроводной связи, включающую в себя множество WTRU 110, узел B 120, управляющий контроллер 130 радиосети (CRNC), обслуживающий контроллер 140 радиосети (SRNC) и базовую сеть 150. Узел B 120, CRNC 130 и SRNC 140 совместно называются сетью универсального наземного радиодоступа (UTRAN) в терминологии 3GPP.

[39]

Как показано на фиг. 1, WTRU 110 поддерживают связь с узлом B 120, который поддерживает связь с CRNC 130 и SRNC 140. Хотя три WTRU 110, один узел B 120, один CRNC 130 и один SRNC 140 показаны на фиг 1, любая комбинация беспроводных и проводных устройств может быть включена в систему 100 беспроводной связи.

[40]

Фиг. 2 является функциональной блок-схемой 200 WTRU 110 с поддержкой многосотового режима системы 100 беспроводной связи по фиг. 1. WTRU 110 выполнен с возможностью выполнять и совершенствовать процедуры мобильности, например, в состоянии выделенного канала (DCH) соты (CELL.DCH) или других состояниях.

[41]

В дополнение к компонентам, которые могут быть обнаружены в типичном WTRU, многосотовый WTRU 110 включает в себя антенну 118 для упрощения передачи и приема беспроводных данных, приемное устройство 116, выполненное с возможностью принимать многосотовые беспроводные сигналы, процессор 115, выполненный с возможностью реализовывать процедуры мобильности для многосотового режима работы, и передающее устройство 117. Приемное устройство 116 может быть одним приемным устройством, допускающим прием обмена данными по двум или более несущих, или набором приемных устройств, таких как приемные устройства, каждое из которых допускает прием обмена данными по одной несущей.

[42]

Антенна 118 может содержать одну антенну или несколько антенн. Одна примерная конфигурация варианта осуществления с несколькими приемными устройствами/несколькими антеннами - это когда каждая антенна подключается к собственному приемному устройству.

[43]

В примерной конфигурации по фиг. 2 приемное устройство 116 и передающее устройство 117 поддерживают связь с процессором 115. Антенна 118 поддерживает связь с приемным устройством 116 и передающим устройством 117, чтобы упрощать беспроводные передачу и прием данных. Индикатор передачи обслуживания включает в себя, но не только, команду высокоскоростного совместно используемого канала управления (HS-SCCH); декодирование HS-SCCH с предварительно сконфигурированным идентификатором транзакций в радиосети для высокоскоростного совместно используемого канала нисходящей линии связи (HS-DSCH) (H-R); H-RNTI; RRC-сообщение, указывающее передачу обслуживания; и диспетчеризацию по E-AGCH с предварительно сконфигурированным E-RNTI для WTRU.

[44]

В соответствии с раскрытым способом выполнения изменения обслуживающей соты в режиме с двумя сотами одна или более сот в целевом секторе отслеживаются, чтобы принимать индикатор передачи обслуживания. Индикатор передачи обслуживания включает в себя, но не только, команду высокоскоростного совместно используемого канала управления (HS-SCCH); декодирование HS-SCCH с предварительно сконфигурированным идентификатором транзакций в радиосети для высокоскоростного совместно используемого канала нисходящей линии связи (HS-DSCH) (H-R); H-RNTI; RRC-сообщение, указывающее передачу обслуживания; и диспетчеризацию по E-AGCH с предварительно сконфигурированным E-RNTI для WTRU.

[45]

Чтобы выполнять передачу обслуживания, WTRU 110 отслеживает соты в целевом секторе, что требует набора предварительных конфигураций и набора правил того, когда и как отслеживание должно выполняться.

[46]

Соответственно, ресурсы высокоскоростного пакетного доступа (HSPA) для обеих несущих (опорной соты и дополнительной соты) во всех секторах в активном наборе предварительно конфигурируются посредством сети. По сути, в дополнение к конфигурационным параметрам опорной соты сеть также предварительно конфигурирует WTRU 110 с набором параметров для вторичной соты как часть процедуры обновления активного набора. Альтернативно, все секторы в активном наборе E-DCH предварительно конфигурируются. Секторы в активном наборе соответствуют секторам, которым принадлежат соты активного набора (т.е. соты, в которых WTRU 110 находится в режиме мягкой передачи обслуживания). Предварительное конфигурирование обеих сот, принадлежащих сектору в активном наборе, является решением сети. Если информация предварительного конфигурирования недоступна для дополнительной несущей, WTRU 110 использует процедуру изменения одной обслуживающей соты.

[47]

В WTRU 110 предварительно загружается информация предварительного конфигурирования (к примеру, конфигурационные параметры), требуемая для опорной соты, а также информация, требуемая для того, чтобы выполнять прием и необязательно передачу на дополнительной частоте. Такие конфигурационные параметры могут включать в себя, но не только, информацию обслуживающей соты вторичного HS-DSCH, такую как HS-SCCH-коды и WTRU H-RNTI. Альтернативно, для дополнительной соты сеть может предварительно конфигурировать обе несущие сектора в активном наборе с полным набором ресурсов, который сота должна требовать, если она должна становиться опорной сотой, или с полным набором параметров, требуемых посредством WTRU 110 для того, чтобы конфигурировать и работать с двумя несущими в восходящей линии связи, таких как информация обслуживающей соты вторичного E-DCH. Например, такие параметры могут включать в себя E-AGCH, E-HICH, E-RGCH, F-DPCH, E-RNTI и т.д.

[48]

Предварительное конфигурирование ресурсов может выполняться как часть процедуры обновления активного набора, когда сота добавляется в активный набор. Для HSDPA с двумя несущими вторичное предварительное конфигурирование для HS-DSCH предоставляется как часть сообщения обновления активного набора, когда новая сота (измеренная на опорной частоте) добавляется в активный набор. В случае восходящей линии связи с двумя несущими может предоставляться предварительное конфигурирование вторичной несущей восходящей линии связи, когда сота добавляется во вторичный активный набор UE. Альтернативно, вторичное предварительное конфигурирование в UL и DL предоставляется, когда сота на опорной частоте добавляется в активный набор. Необязательно, если сота на вторичной частоте добавляется во вторичный активный набор WTRU 110 и опорная несущая, ассоциированная с вторичной сотой, не является частью первичного активного набора, предварительное конфигурирование UL не предусмотрено в WTRU 110. Альтернативно, если обновление активного набора добавляет соту на опорной частоте в активный набор, WTRU 110 может быть предварительно сконфигурирован с параметрами HS-DSCH, и если вторичная сота уже добавлена во вторичный активный набор, параметры E-DCH для вторичного режима работы в восходящей линии связи предварительно конфигурируются. В другой альтернативе, WTRU 110 может быть предварительно сконфигурирован с ресурсами только для опорной соты, и ресурсы для целевой дополнительной соты принимаются через RRC-сообщение передачи обслуживания, принимаемое в целевой опорной соте.

[49]

Когда событие измерения, приводящее к изменению оптимальной соты между двумя секторами, возникает, WTRU 110 передает отчет об измерениях и ждет подтверждения или сообщения сети, чтобы выполнять передачу обслуживания. Для усовершенствованной процедуры изменения обслуживающей соты в режиме с двумя сотами WTRU 110 может ожидать этого индикатора или сообщения в одной или более сот в целевом секторе, которые предварительно сконфигурированы.

[50]

Поскольку WTRU 110 может принимать данные по обеим несущим в исходном секторе, способ, чтобы давать возможность WTRU 110 выполнять прием для целевых сот, включает в себя отслеживание посредством WTRU 110 трех сот, дополнительной соты и опорной соты, из исходного сектора и только одной из сот в целевом секторе.

[51]

Несущая частота с измерением качества наилучшего CPICH, которая, как ожидается, становится опорной несущей, может отслеживаться на предмет индикатора передачи обслуживания. Для HSDPA с двумя несущими частота целевой несущей, которую WTRU 110 отслеживает на предмет индикатора передачи обслуживания, соответствует частоте, используемой в исходной опорной соте. Она также может использоваться для HSUPA с двумя несущими.

[52]

Когда HSUPA с двумя несущими реализуется в WTRU, поскольку качество CPICH измеряется на обеих частотах, эта несущая частота может соответствовать исходной опорной частоте, исходной дополнительной частоте или, в альтернативе, частоте, не используемой в настоящий момент посредством исходной соты. Для HSUPA с двумя несущими, поскольку WTRU измеряет обе соты, WTRU может отслеживать целевую вторичную соту HS-SCCH на предмет индикатора передачи обслуживания, если измерение CPICH лучше присоединения или если оптимальная сота соответствует вторичной целевой соте.

[53]

Поскольку только одна из целевых несущих целевого сектора отслеживается, WTRU 110 ожидает до тех пор, пока индикатор передачи обслуживания не принимается на отслеживаемой целевой несущей, или до тех пор, пока RRC-сообщение передачи обслуживания не принимается по исходным несущим. При приеме индикатора передачи обслуживания WTRU 110 затем может прекращать прием HS-DSCH в исходных сотах (т.е. опорной и дополнительной) и конфигурировать WTRU 110, чтобы начинать отслеживание и прием HS-DSCH в дополнительной несущей и опорной несущей целевых сот, если ресурсы предварительно сконфигурированы. Если ресурсы не сконфигурированы предварительно для вторичной несущей, WTRU 110 может прекращать прием по исходному сектору и начинать прием только из предварительно сконфигурированной несущей и ожидать, чтобы принимать конфигурацию вторичной несущей из RRC-сообщения.

[54]

Если DC-HSUPA сконфигурирован и вторичная информация предварительно сконфигурирована, WTRU 110 также может начинать передачу DC-HSUPA во вторичной несущей в рамках требуемого времени. WTRU 110 может начинать передачу дополнительного E-DCH, как только изменение обслуживающей соты завершается, или, альтернативно, ожидать HS-SCCH-команды, чтобы активировать передачу с двумя несущими. Когда состояние передачи дополнительного E-DCH во вторичной исходной соте является активным, WTRU 110 может сразу переконфигурироваться на целевую соту и начинать передачу E-DCH.

[55]

Как вариант, если состояние передачи дополнительного E-DCH в исходной вторичной соте - это неактивно, WTRU 110 не может начинать немедленно передачу E-DCH. RRC конфигурирует физический уровень и WTRU 110 с предварительно сконфигурированной информацией, но WTRU 110 должен принимать HS-SCCH-команду, активирующую режим работы DC-HSUPA. Аналогичный принцип для инициирования передачи E-DCH по вторичной целевой соте также может применяться, если WTRU 110 принимает RRC-сообщение передачи обслуживания вместо HS-SCCH-команды.

[56]

Если специальное значение CQI используется для подтверждения передачи обслуживания, WTRU 110 затем может передавать CQI по опорному HS-DPCCH или, альтернативно, по обоим HS-DPCCH, чтобы повышать надежность сообщения подтверждения приема.

[57]

Блок-схема последовательности операций этого раскрытого способа показана на фиг 3. В WTRU предварительно загружаются конфигурационные параметры для целевого сектора сот (этап 300). WTRU затем отслеживает соты в целевом секторе с использованием предварительно загруженной информации (этап 301). Когда событие измерения приводит к изменению оптимальной соты между двумя секторами, WTRU передает измерение и ожидает, чтобы принимать сообщение от RNC, чтобы выполнять передачу обслуживания (этап 302). WRTU отслеживает целевую несущую (т.е. опорную несущую или дополнительную несущую) на предмет этого сообщения (т.е. индикатора передачи обслуживания) (этап 303). При приеме индикатора передачи обслуживания WTRU прекращает прием HS-DSCH в исходных сотах и начинает отслеживание и прием HS-DSCH в целевых сотах (этап 304).

[58]

В альтернативном способе WTRU 110 одновременно отслеживает как дополнительную несущую, так и опорную несущую в обоих секторах. Это требует от WTRU 110 отслеживать четыре соты, т.е. HS-SCCH двух опорных несущих и двух дополнительных несущих. WTRU 110 может быть выполнен с возможностью отслеживать только полный набор HS-SCCH целевых несущих или, альтернативно, только поднабор HS-SCCH целевых несущих. После того как индикатор передачи обслуживания принимается, WTRU 110 начинает отслеживание полного набора в целевой соте.

[59]

В соответствии с этим способом индикатор передачи обслуживания может диспетчеризоваться на обеих несущих, чтобы повышать надежность сообщения и вероятность быстрого обнаружения посредством WTRU 110. Несущая, по которой индикатор передачи обслуживания отправлен и принят, также может указывать несущую, которая должна становиться первичной несущей, как только изменение обслуживающей соты выполняется. Следовательно, если индикатор HS-SCCH принят по вторичной несущей, то целевая вторичная несущая должна становиться новой первичной обслуживающей сотой (т.е. первичной несущей). При приеме индикатора передачи обслуживания WTRU 110 может подтверждать прием индикатора передачи обслуживания с помощью сообщения L1, L2 или L3. Если сообщение L1 используется, например, WTRU 110 может передавать специальное значение CQI.

[60]

CQI может передаваться по HS-DPCCH соответствующей несущей, в которой индикатор принят, и по HS-DPCCH, используемом для этих двух несущих, независимо от несущей, в которой он принят, и по опорному HS-DPCCH (или, альтернативно, только по дополнительной) независимо от несущей, в которой он принят. Во втором случае другая несущая может использоваться для того, чтобы сообщать действительное значение CQI, которое должно использоваться для более быстрой диспетчеризации и AMC из сети.

[61]

В другой альтернативе WTRU 110 отслеживает только HS-SCCH одной несущей из каждого исходного и целевого сектора (т.е. две несущие). Более конкретно, WTRU 110 может прекращать отслеживание дополнительной соты в исходном секторе и отслеживать только одну из несущих целевого сектора. Это дает возможность WTRU 110 уменьшать сложность отслеживания больше чем двух источников HS-SCCH при одновременном отслеживании исходной соты и без прерывания непрерывности речевых вызовов.

[62]

Для отслеживания целевого сектора WTRU 110 может отслеживать несущую частоту, соответствующую несущей, идентичной несущей опорной соты в исходном секторе, или несущую частоту, соответствующую несущей частоте, идентичной несущей частоте дополнительной соты в исходном секторе, WTRU 110 затем альтернативно может быть выполнен с возможностью определять то, какую несущую частоту отслеживать, на основе измерения качества CPICH в целевом секторе. Несущая частота с измерением качества наилучшего CPICH, которая, как ожидается, становится опорной несущей, может отслеживаться на предмет индикатора передачи обслуживания. Эта несущая частота может соответствовать исходной опорной частоте, исходной дополнительной частоте или, альтернативно, частоте, не используемой в настоящий момент посредством исходной соты.

[63]

WTRU 110, в альтернативе, может прекращать отслеживание дополнительной несущей исходной соты и начинать отслеживание дополнительной несущей целевой соты. WTRU продолжает отслеживание опорной несущей исходной соты.

[64]

WTRU 110 также может прекращать отслеживание HS-SCCH опорной несущей в исходном секторе при продолжении отслеживать дополнительную соту в исходном секторе. WTRU 110 может выбирать то, какую несущую отслеживать в целевом секторе, на основе критериев, аналогичных описанным выше.

[65]

Если WTRU 110 прекращает отслеживание одной из несущих исходного сектора после передачи отчета об измерениях, WTRU 110 передает в соответствующую исходную соту индикатор того, что он прервал прием в эту соту, это уведомление может быть сделано с использованием одного или комбинации служебных сигналов L1, L2 или L3.

[66]

Служебные сигналы L1 используются, специальное значение CQI может сообщаться по соответствующему HS-DPCCH. При приеме этого значения CQI исходный узел B прекращает диспетчеризацию данных по соответствующей несущей. Альтернативно, WTRU 110 может сообщать фиктивное низкое значение CQI, например 0, которое неявно командует узлу B прекращать диспетчеризацию WTRU 110 на соответствующей несущей.

[67]

Использование служебных сигналов L2 для этого уведомления включает в себя передачу специального зарезервированного значения SI в исходный узел B, либо сообщение добавляется к рабочим данным MAC-i/is с использованием специального значения идентификатора логического канала (LCH-ID), чтобы указывать присутствие этого сообщения.

[68]

Для служебных сигналов L3 отчет об измерениях также может включать в себя время, в которое WTRU 110 должен прекращать отслеживание соответствующей исходной несущей, время, в которое он должен прекращать отслеживание исходной опорной несущей. RNC сообщает в служебных сигналах в исходный узел B, чтобы прекращать диспетчеризацию WTRU 110 на исходной несущей. Альтернативно, WTRU 110 может сообщать CFN, при котором передан отчет об измерениях, и RNC и WTRU 110 предварительно конфигурируются со временем, в которое WTRU 110 должен прекращать отслеживание одной несущей. Время, в которое передача обслуживания должна выполняться после CFN, в котором передано сообщение, также может быть включено в предварительное конфигурирование.

[69]

После того как индикатор передачи обслуживания принимается посредством WTRU 110, WTRU 110 затем может конфигурировать дополнительную несущую или опорную несущую в целевой соте (если предварительно сконфигурирована) и прекращать отслеживание исходной соты.

[70]

В другой альтернативе способ для предоставления возможности WTRU 110 выполнять прием для целевых сот включает в себя прекращение посредством WTRU 110 отслеживания HS-SCCH на обеих сотах в исходном секторе и начало отслеживания обеих несущих в целевом секторе. Альтернативно, только опорная несущая в целевой соте отслеживается до тех пор, пока индикатор передачи обслуживания не принимается.

[71]

Время, в которое WTRU 110 прекращает отслеживание исходных сот и начинает отслеживание целевых сот, может быть передано в служебных сигналах посредством WTRU 110 в сеть (через CFN). Альтернативно, WTRU 110 может быть выполнен с возможностью начинать отслеживание целевых сот через заранее заданное или сконфигурированное количество времени после того, как отчет об измерениях передается. В этом случае WTRU 110 затем может передавать CFN, в котором отчет об измерениях подготовлен, в сеть, чтобы помогать синхронизировать процедуру передачи обслуживания.

[72]

Раскрыт усовершенствованный способ межчастотного изменения, в котором WTRU 110 может менять свою частоту и дополнительную частоту или переставлять опорную частоту и дополнительную частоту в рамках идентичного сектора с использованием усовершенствованной процедуры изменения или перестановки несущей. WTRU 110 также может выполнять изменение обслуживающей соты в режиме с двумя сотами с одновременным изменением опорной частоты.

[73]

Способ включает в себя предварительное конфигурирование текущей дополнительной соты обслуживающего сектора с информацией DL/UL, требуемой посредством WTRU 110 для потенциального использования в качестве опорной соты. Например, WTRU 110 предварительно конфигурируется с F-DPCH, E-AGCH, обслуживающим R-GCH, C-RNTI, E-RNTI и другими конфигурациями, требуемыми для WTRU 110, чтобы конфигурировать другую (или дополнительную) несущую как опорную несущую. Сеть также может предварительно конфигурировать дополнительные соты всех секторов в активном наборе с информацией, требуемой посредством WTRU 110, чтобы использовать эту частоту как опорную соту или использовать эту частоту для работы в восходящей линии связи с двумя несущими, такой как информация обслуживающей соты дополнительного E-DCH (т.е. E-AGCH, E-RGCH, E-HICH, F-DPCH и т.д.). Информация хранится в WTRU 110 и удаляется, когда обслуживающая сота удаляется из активного набора. Альтернативно, только поднабор вышеуказанных параметров предварительно конфигурируется. WTRU 110 может использовать идентичные коды канализации и информацию, которые сконфигурированы в опорной соте, и применять идентичную конфигурацию ко второй частоте. Другие параметры, например C-RNTI и E-RNTI, также, возможно, должны быть предварительно загружены.

[74]

Альтернативно, дополнительная несущая предварительно конфигурируется как опорная несущая для всех сот активного набора.

[75]

В соответствии с этим способом отчет об измерениях может инициировать перестановку опорной частоты и дополнительной частоты, если возникает триггер. Этот триггер может возникать, когда сота дополнительной частоты является оптимальной сотой для отчета об измерениях, инициированного посредством сообщения события 1D (т.е. новая сота на дополнительной частоте становится лучше текущей соты на исходной дополнительной и необязательно исходной опорной частоте) или другого аналогичного события, такого как межчастотное событие, при этом качество вторичной соты становится лучше качества опорной соты на сконфигурированное пороговое значение и в течение сконфигурированного количества времени.

[76]

Качество (к примеру, CPICH Ec/No) опорной несущей является ниже порогового значения или являлось ниже порогового значения в течение заранее определенного периода времени, также может быть триггером. Говоря по-другому, качество дополнительной несущей превышает пороговое значение в течение заранее определенного периода времени. Пороговое значение может быть функцией CPICH Ec/No дополнительной несущей.

[77]

Другой триггер может возникать, когда качество опорной несущей является ниже первого порогового значения, а качество дополнительной несущей превышает второе пороговое значение. Комбинация этого в отчете об измерениях также может инициировать перестановку частот (т.е. межчастотную передачу обслуживания) или изменение обслуживающей соты с одновременным изменением опорной частоты.

[78]

Когда отчет об измерениях инициируется согласно одному из упомянутых выше критериев, это должно приводить к изменению посредством WTRU 110 частоты опорной несущей в рамках обслуживающего сектора, если опорная несущая и дополнительная несущая переставляются в рамках обслуживающего сектора, или изменению частоты опорной несущей при одновременном изменении обслуживающей соты или сектора. После того как отчет об измерениях инициирован, WTRU 110 может продолжать прослушивать как опорную соту, так и дополнительную соту и ожидать HS-SCCH-команды или индикатора передачи обслуживания, чтобы указывать то, что передача обслуживания должна выполняться. Отслеживание HS-SCCH должно выполняться согласно одному из способов, раскрытых выше.

[79]

Если WTRU 110 не имеет сконфигурированную вторичную UL в конце передачи обслуживания, во время приема сообщения передачи обслуживания WTRU 110 может прекращать прослушивание или прием каналов управления DL (т.е. F-DPCH, E-AGCH, E-HICH и E-RGCH) на опорной частоте, продолжать отслеживание HS-SCCH и HS-DPSCH на опорной несущей и рассматривать эту несущую как дополнительную несущую. WTRU 110 также может переконфигурировать дополнительную несущую, чтобы начинать выступать в качестве опорной несущей (к примеру, WTRU 110 начинает отслеживание F-DPCH, E-AGCH, E-RGCH и т.д. на новой опорной несущей), и начинать передачу DPCCH и HS-DPCCH на новой частоте.

[80]

WTRU 110 также может выполнять процедуру синхронизации с новой частотой (т.е. синхронизацию A). Если передача обслуживания приводит к изменению несущей частоты UL, WTRU 110 начинает контур управления мощностью с новой частоты UL, как только передача обслуживания закончена и новые физические каналы (т.е. F-DPCH или DPCCH) установлены. Для начального значения мощности DPCCH WTRU 110 может использовать последнюю мощность DPCCH, используемую в старой опорной несущей, с возможным добавлением сконфигурированного сетью смещения мощности DPCCH.

[81]

Если WTRU 110 не поддерживает мягкую передачу обслуживания с линиями радиосвязи на различных частотах, то все сконфигурированные линии радиосвязи DL в активном наборе для других сот на предыдущей частоте, кроме обслуживающей соты, автономно высвобождаются посредством WTRU 110.

[82]

Линия радиосвязи UL также может поддерживаться, если WTRU 110 поддерживает идентичную частоту UL.

[83]

WTRU может ожидать конфигурирования RRC-сообщения передачи обслуживания с новыми параметрами для нового активного набора на новой несущей.

[84]

В случае если UL с двумя несущими сконфигурирована, изменение используемой опорной частоты требует от WTRU 110 прекращать передачу DPCCH и HS-DPCCH на старой частоте опорной несущей и начинать передачу на новой частоте опорной несущей (т.е. старой дополнительной частоте). Изменение, когда DC-HSUPA сконфигурирован или когда информация предварительно сконфигурирована в целевом секторе, требует меньшего числа изменений, и тем самым его гораздо быстрее выполнять. WTRU 110 продолжает использовать идентичные сконфигурированные физические каналы и продолжает с идентичным активным набором, но изменяет логическое ассоциирование с опорного на вспомогательное и наоборот.

[85]

В другой альтернативе WTRU 110 может переключать опорную частоту с дополнительной частотой (т.е. старая опорная несущая больше не используется). Когда опорная частота переключена, WTRU 110 может отслеживать только дополнительную несущую на предмет индикатора передачи обслуживания при продолжении приема на опорной несущей. После того как индикатор передачи обслуживания принимается, WTRU 110 может прекращать прослушивать старую опорную частоту и/или переконфигурировать дополнительную несущую так, чтобы работать как опорная несущая. Например, WTRU 110 начинает отслеживание F-DPCH, E-AGCH, E-RGCH и т.д. на новой опорной несущей.

[86]

WTRU 110 также может инициировать процедуру синхронизации с новой частотой. Если передача обслуживания приводит к изменению несущей частоты UL, WTRU 110 может запускать контур управления мощностью с новой частотой UL, как только передача обслуживания закончена. Для начального значения мощности DPCCH WTRU 110 может использовать последнюю мощность DPCCH, используемую в старой опорной несущей, с возможным добавлением сконфигурированного сетью смещения мощности DPCCH.

[87]

Если WTRU 110 не поддерживает мягкую передачу обслуживания с линиями радиосвязи на различных частотах, все сконфигурированные линии радиосвязи DL в активном наборе для других сот, кроме обслуживающей соты, автономно высвобождаются посредством WTRU 110. Один вариант заключается в том, чтобы поддерживать линию радиосвязи UL, если WTRU 110 поддерживает идентичную частоту UL.

[88]

WTRU 110 также может ожидать конфигурирования RRC-сообщения передачи обслуживания с новыми параметрами для нового активного набора на новой несущей и новой дополнительной несущей.

[89]

Как указано выше, WTRU 110 может конфигурироваться с HSDPA с двумя сотами и HSUPA. Фиг. 4 иллюстрирует три сценария, в которых узел B использует одну или более доступных частот для того, чтобы обмениваться данными с WTRU 110. Что касается фиг. 4, в первом сценарии WTRU 110 работает в режиме с одной несущей и выполняет прием HS-DSCH и E-DCH и находится в режиме мягкой передачи обслуживания с NB 2 и 3. В альтернативе, когда NB (или сота) 2 и 3 добавляются в активный набор, поскольку они имеют поддержку режима с двумя несущими, WTRU 110 предварительно конфигурируется с информацией первичной обслуживающей соты. WTRU 110 также может быть предварительно сконфигурирован с информацией обслуживающей соты вторичного HS-DSCH и E-DCH. Эта предварительно сконфигурированная информация может включать в себя, не ограничиваясь, E-AGCH, E-RGCH, HS-SCCH, H-RNTI, E-RNTI, F-DPCH и т.д. Альтернативно, предоставляется только предварительное конфигурирование обслуживающей соты вторичного HS-DSCH.

[90]

Когда WTRU 110 переходит от сценария 1 к сценарию 2, на фиг. 4, происходит изменение оптимальной соты (т.е. событие 1D инициируется). Когда только информация вторичного HS-DSCH обслуживающей соты предоставляется, WTRU 110 отслеживает обслуживающую соту опорного HS-DSCH на предмет индикатора передачи обслуживания. Если индикатор передачи обслуживания принимается, WTRU 110 выполняет быстрое изменение обслуживающей соты на обслуживающую соту первичного и вторичного HS-DSCH. В случае если информация обслуживающей соты вторичного HS-DSCH и E-DCH предварительно сконфигурирована, WTRU 110 после приема HS-SCCH-команды по опорной частоте конфигурирует прием основного и дополнительного E-DCH и начинает передачу основного и дополнительного E-DCH. WTRU 110 может выполнять процедуру синхронизации на вторичной несущей, когда изменение обслуживающей соты выполняется. Это обусловлено тем фактом, что текущая передача дополнительного E-DCH недоступна в исходных сотах.

[91]

В альтернативе, RRC конфигурирует параметры передачи дополнительного E-DCH, но передача по дополнительному E-DCH не начинается до тех пор, пока HS-SCCH-команда, активирующая вторичную несущую, не принимается посредством WTRU 110. Вторичный активный набор обновляется посредством сети согласно измерениям, отправляемым посредством WTRU 110. В случае если одна из сот во вторичном активном наборе не присутствует в опорном активном наборе (как NB 4 на фиг. 4 выше), сеть может предоставлять в WTRU 110 набор предварительно сконфигурированных параметров обслуживающей соты дополнительного E-DCH и набор параметров HS-DSCH для соты 4. Альтернативно, сеть может предварительно конфигурировать WTRU 110 со всеми параметрами для этой несущей, чтобы становиться опорной несущей в случае необходимости.

[92]

Когда WTRU 110 переходит от сценария 2 к сценарию 3, в котором событие 1D инициируется, и оптимальной сотой является сота, которая принадлежит только вторичной частоте, и первичная сота отсутствует, быстрое изменение частоты может происходить. После того как WTRU 110 инициирует отчет об измерениях с событием 1D, указывающий соту 4 как оптимальную соту, WTRU 110 продолжает отслеживание исходного HS-DSCH и исходной E-DCH-соты и одновременно первого набора HS-SCCH, предоставленного в предварительно сконфигурированной информации вторичной несущей. При приеме команды по HS-SCCH на вторичной частоте WTRU 110 может выполнять изменение обслуживающей соты на соту 4 и одновременно быстрое изменение первичной частоты. Поскольку WTRU 110 уже синхронизирован на вторичной несущей и уже имеет активный набор, WTRU 110 может продолжать передачу по новым первичным обслуживающим сотам без необходимости выполнять процедуру синхронизации. Линии радиосвязи, ранее установленные в f1, высвобождаются, и WTRU 110 работает только в режиме с одной несущей. Предварительно сконфигурированная информация для сот в активном наборе несущей f1 может поддерживаться и храниться в WTRU 110 и обрабатываться как информация обслуживающей соты дополнительного предварительно сконфигурированного HS-DSCH и E-DCH.

[93]

Если WTRU 110 находится в сценарии 2 (т.е. в соте 2), и изменение обслуживающей соты обнаруживается (т.е. событие 1D), и новая оптимальная сота может быть на вторичной частоте (т.е. f2), WTRU 110 может принимать команду изменения обслуживания, которая выполняет изменение обслуживающей соты, а также изменение опорной несущей и вторичной несущей. В этом случае WTRU 110 может отслеживать целевую HS-DSCH-опорную соту на предмет индикатора передачи обслуживания и выполнять передачу обслуживания вторичной несущей. Альтернативно, WTRU 110 может отслеживать целевой опорный HS-DSCH и дополнительный HS-DSCH, и, если команда принимается по опорному HS-DSCH соты, WTRU 110 выполняет изменение обслуживающей соты при сохранении неизменной опорной несущей. В другой альтернативе если команда принимается по вторичной HS-DSCH-соте, WTRU 110 выполняет изменение обслуживающей соты и конфигурирует вторичную частоту (f2) как опорную несущую WTRU 110 и начинает все операции опорной несущей, такие как передача DPCCH и HS-DPCCH, на этой новой частоте. Активные наборы f1 и f2 поддерживаются, и процедуры синхронизации не должны инициироваться.

[94]

Варианты осуществления изобретения

[95]

1. Способ реализации изменения обслуживающей соты в многосотовом беспроводном модуле приема/передачи (WTRU), при этом способ содержит этапы, на которых:

[96]

- добавляют соту в активный набор;

[97]

- принимают информацию обслуживающей соты, чтобы предварительно конфигурировать первичную и вторичную обслуживающую соту для добавленной соты; и

[98]

- сохраняют информацию обслуживающей соты.

[99]

2. Способ по варианту осуществления 1, дополнительно содержащий этапы, на которых:

[100]

- отслеживают по меньшей мере одну из предварительно сконфигурированных первичной и вторичной обслуживающих сот на предмет индикатора передачи обслуживания; и

[101]

- при условии, что принят индикатор передачи обслуживания, выполняют изменение обслуживающей соты на первичную и вторичную обслуживающие соты с исходной первичной и вторичной обслуживающей соты с помощью предварительно сконфигурированной информации обслуживающей соты.

[102]

3. Способ по любому из предшествующих вариантов осуществления, в котором информация обслуживающей соты предварительно сконфигурированной вторичной обслуживающей соты включает в себя информацию обслуживающей соты вторичного высокоскоростного совместно используемого канала нисходящей линии связи (HS-DSCH), высокоскоростной совместно используемый канал управления (HS-SCCH), идентификатор транзакций в радиосети HS-DSCH (H-RNTI) предварительно сконфигурированной вторичной обслуживающей соты.

[103]

4. Способ по любому из предшествующих вариантов осуществления, в котором предварительно сконфигурированная первичная обслуживающая сота отслеживается.

[104]

5. Способ по любому из вариантов осуществления 2-4, в котором выполнение изменения обслуживающей соты включает в себя этап, на котором переконфигурируют первичную обслуживающую соту и HS-DSCH вторичной обслуживающей соты с помощью предварительно сконфигурированной информации.

[105]

6. Способ по любому из вариантов осуществления 2-5, в котором выполнение изменения обслуживающей соты включает в себя этап, на котором переконфигурируют усовершенствованный выделенный канал (E-DCH).

[106]

7. Способ по варианту осуществления 6, дополнительно содержащий этап, на котором инициируют передачу E-DCH.

[107]

8. Способ по варианту осуществления 7, в котором передача E-DCH инициируется при условии, что исходная вторичная сота передает E-DCH до изменения обслуживающей соты.

[108]

9. Способ по любому из вариантов осуществления 6-8, в котором передача E-DCH инициируется при условии, что HS-SCCH-команда, активирующая дополнительный E-DCH, принимается.

[109]

10. Способ по любому из предшествующих вариантов осуществления, в котором информация обслуживающей соты принимается во время процедуры обновления активного набора.

[110]

11. Способ по любому из предшествующих вариантов осуществления, дополнительно содержащий этапы, на которых:

[111]

- определяют, произошло ли изменение оптимальной соты, и

[112]

- при условии, что изменение оптимальной соты произошло, передают отчет об измерениях.

[113]

12. Способ по любому из вариантов осуществления 2-11, дополнительно содержащий этапы, на которых:

[114]

- прекращают принимать HS-DSCH в исходных первичной и вторичной обслуживающих сотах и

[115]

- начинают отслеживать предварительно сконфигурированные первичную и вторичную обслуживающие соты.

[116]

13. Способ по любому из вариантов осуществления 2-11, дополнительно содержащий этапы, на которых:

[117]

- прекращают принимать HS-DSCH в исходных первичной и вторичной обслуживающих сотах и

[118]

- начинают отслеживать одну из предварительно сконфигурированных первичной и вторичной обслуживающих сот.

[119]

14. Способ по любому из вариантов осуществления 12-13, дополнительно содержащий этап, на котором передают идентификатор в исходную первичную или вторичную обслуживающую соту, если прием HS-DSCH прекращен.

[120]

15. Способ по варианту осуществления 14, в котором индикатор передается с использованием служебных сигналов уровня 1.

[121]

16. Способ по варианту осуществления 15, в котором специальное значение индикатора качества канала (CQI) сообщается по HS-DPCCH в исходную первичную или вторичную обслуживающую соту.

[122]

17. Способ по любому из вариантов осуществления 14-16, в котором индикатор передается с использованием служебных сигналов уровня 2.

[123]

18. Способ по любому из вариантов осуществления 14-17, в котором специальное зарезервированное значение системной информации (SI) передается в исходную первичную или вторичную обслуживающую соту.

[124]

19. Способ по любому из вариантов осуществления 14-18, в котором индикатор передается с использованием служебных сигналов уровня 3.

[125]

20. Способ по любому из вариантов осуществления 14-19, в котором отчет об измерениях включает в себя время, в которое прекращают отслеживание исходной первичной или вторичной обслуживающей соты.

[126]

21. Способ по любому из предшествующих вариантов осуществления, дополнительно содержащий этап, на котором изменяют по меньшей мере одну из исходной первичной частоты и исходной вторичной частоты.

[127]

22. Способ по варианту осуществления 21, дополнительно содержащий этап, на котором предварительно конфигурируют исходную вторичную обслуживающую соту с информацией нисходящей линии связи/восходящей линии связи (DL/UL) для использования в качестве исходной первичной обслуживающей соты.

[128]

23. Беспроводной модуль приема/передачи (WTRU), выполненный с возможностью реализовывать способ по любому из вариантов осуществления 1-22.

[129]

24. WTRU по варианту осуществления 23, выполненный с возможностью высокоскоростного пакетного доступа по нисходящей линии связи (HSDPA) с двумя сотами и высокоскоростного пакетного доступа по восходящей линии связи (HSUPA).

[130]

25. Узел B, выполненный с возможностью реализовывать способ по любому из вариантов осуществления 1-22.

[131]

26. Процессор, выполненный с возможностью реализовывать способ по любому из вариантов осуществления 1-22.

[132]

Хотя изобретение описано в рамках контекста 3GPP WCDMA-системы, следует понимать, что оно является применимым к любой системе беспроводной связи, которая может поддерживать режим работы с двумя (или несколькими) сотами (или несущими).

[133]

Хотя признаки и элементы описываются выше в конкретных комбинациях, каждый признак или элемент может использоваться автономно без других признаков и элементов или в различных комбинациях с или без других признаков и элементов. Способы или блок-схемы последовательности операций способа, предоставленные в данном документе, могут быть реализованы в компьютерной программе, программном обеспечении или микропрограммном обеспечении, включенном в машиночитаемый носитель хранения данных для выполнения посредством компьютера общего назначения или процессора. Примеры машиночитаемых носителей хранения включают в себя постоянное запоминающее устройство (ROM), оперативное запоминающее устройство (RAM), регистр, кэш-память, полупроводниковые запоминающие устройства, магнитные носители, такие как внутренние жесткие диски и съемные диски, магнитооптические носители и оптические носители, такие как диски CD-ROM и цифровые универсальные диски (DVD).

[134]

Надлежащие процессоры включают в себя, в качестве примера, процессор общего назначения, процессор специального назначения, традиционный процессор, процессор цифровых сигналов (DSP), множество микропроцессоров, один или более микропроцессоров в ассоциации с ядром DSP, контроллер, микроконтроллер, специализированные интегральные схемы (ASIC), схемы программируемых пользователем вентильных матриц (FPGA), любой другой тип интегральной схемы (IC) и/или конечный автомат.

[135]

Процессор, ассоциированный с программным обеспечением, может быть использован для того, чтобы реализовывать радиочастотное приемопередающее устройство для использования в беспроводном модуле приема-передачи (WTRU), абонентском устройстве (UE), терминале, базовой станции, контроллере радиосети (RNC) или любом хост-компьютере. WTRU может использоваться вместе с модулями, реализованными в аппаратных средствах и/или программном обеспечении, такими как камера, модуль видеокамеры, видеофон, спикерфон, вибрационное устройство, динамик, микрофон, телевизионное приемопередающее устройство, гарнитура громкой связи, клавиатура, модуль Bluetooth®, частотно-модулированный (FM) радиомодуль, жидкокристаллический дисплей (LCD), дисплей на органических светоизлучающих диодах (OLED), цифровой музыкальный проигрыватель, мультимедийный проигрыватель, модуль устройства видеоигр, Интернет-обозреватель и/или любой модуль беспроводной локальной вычислительной сети (WLAN) или по стандарту сверхширокополосной радиосвязи (UWB).

Как компенсировать расходы
на инновационную разработку
Похожие патенты