патент
№ RU 2450508
МПК A01K5/00

УСТАНОВКА ДЛЯ РАЗДАЧИ ПРОРОЩЕННОГО ЗЕРНА

Авторы:
Саенко Татьяна Владимировна Макаренко Алексей Николаевич Саенко Юрий Васильевич
Все (4)
Номер заявки
2010150114/13
Дата подачи заявки
06.12.2010
Опубликовано
20.05.2012
Страна
RU
Как управлять
интеллектуальной собственностью
Чертежи 
3
Реферат

Изобретение относится к области животноводства, в частности к оборудованию для транспортирования и раздачи корма. Техническим результатом изобретения является повышение равномерности выдачи пророщенного зерна и обеспечение возможности регулирования точности дозирования при индивидуальном и групповом содержании животных, а также безотходность процесса раздачи пророщенного зерна. Установка для раздачи пророщенного зерна включает кормопровод (3) для транспортирования зерна, выгрузные патрубки (12), циклоны-разделители (13) с трубой (16). Циклоны-разделители (13) установлены над кормушками (17). На конце горизонтальной трубы (20) установлен глушитель (21). Для повторного использования остатков пророщенного зерна предусмотрен транспортер (23). 4 ил.

Формула изобретения

Установка для раздачи пророщенного зерна, состоящая из кормопровода для транспортирования пророщенного зерна, выгрузных патрубков, отличающаяся тем, что циклоны-разделители установлены над кормушками, на циклоне-разделителе выполнена труба, для снижения уровня шума на конце горизонтальной трубы установлен глушитель, для повторного использования остатков пророщенного зерна предусмотрен транспортер.

Описание

[1]

Установка относится к сельскому хозяйству, в частности к оборудованию для транспортирования пророщенного зерна на витаминный корм для животных и птиц.

[2]

Известно устройство для транспортирования высоковязких кормовых смесей [RU 2223443 С2, 7 F17D 1/20, F04F 5/02, 10.02.2004], содержащее трубопровод, гибкую связь (сильфоны), эжектор, камеру смешения и диффузор.

[3]

Недостатками конструкции являются сложность устройства, забивание гибкой связи (сильфонов) остатками транспортируемого корма, которое приведет к возникновению заболеваний у животных.

[4]

Известно устройство для раздачи кормов [RU 2101936 С1, 6 A01K 5/00, 20.01.1998], которое содержит заправочный бункер, шибер, кормопровод, штангу, конечные выключатели, механизм привода, объемные дозаторы, лотковые кормушки.

[5]

Недостатками данной конструкции являются ее шумность при работе, раздавливание пророщенного зерна и загнивание его остатков в трубопроводе.

[6]

Наиболее близким аналогом является устройство для распределения кормов [SU 1360669 A1, 4 A01K 5/02, 23.12.1987], которое содержит бункер, кормопровод, выгрузные органы, кормушки.

[7]

Недостатком данной конструкции является разбрасывание корма при раздаче за пределы кормушки вследствие расположения выгрузных отверстий в вертикальной плоскости.

[8]

Задача изобретения - повышение равномерности выдачи пророщенного зерна, обеспечение возможности регулирования точности дозирования при индивидуальном и групповом содержании свиней и безотходность процесса раздачи прощеного зерна.

[9]

Сущность изобретения заключается в том, что для реализации указанной задачи предлагаемая установка для раздачи пророщенного зерна выполнена из агрегата для проращивания зерна, нории, кормопровода, циклонов-разделителей, выгрузных патрубков, электромагнитных клапанов с заслонками, труб, горизонтальной трубы, глушителя.

[10]

При этом компрессор предназначен для создания необходимого давления в трубопроводе, которое необходимо для подачи пророщенного зерна.

[11]

По бокам кормопровода предусмотрены выгрузные патрубки. Выгрузные патрубки расположены под углом 20° к трубопроводу. Возле кормопровода на выгрузном патрубке установлен электромагнитный клапан с заслонкой. Для осуществления разделения пророщенного зерна от воздуха с другой стороны выгрузных патрубков установлены циклоны-разделители. Циклоны-разделители установлены над кормушками. Циклон-разделитель выполнен из следующих частей: верхнего усеченного конуса, средняя часть - цилиндр, нижняя часть - усеченный конус. Нижнее основание усеченного конуса с его образующей составляют угол 60°. Для возможности направления потока пророщенного зерна в кормушку внизу циклонов-разделителей выполнены вертикальные трубы для раздачи пророщенного зерна. Кормушки установлены внутри боксов.

[12]

На бетонном основании установлен компрессор, который предназначен для подачи воздуха в эжектор. Компрессор предназначен для создания избыточного давления в кормопроводе.

[13]

Сверху на циклоне-разделителе выполнена вертикальная труба для отвода воздуха. Вертикальные трубы для отвода воздуха всех циклонов соединены между собой при помощи горизонтальной трубы для отвода воздуха. Для снижения уровня шума при выходе воздуха из горизонтальной трубы для отвода воздуха, на ее конце установлен глушитель.

[14]

В конце кормопровода установлен циклон. Он предназначен для сбора остатков пророщенного зерна. Для повторного использования остатков пророщенного зерна предусмотрен транспортер. Транспортер выполнен с возможностью сбора остатков пророщенного зерна из циклона и подачи их в агрегат для проращивания зерна для повторного использования.

[15]

Принцип работы установки для раздачи пророщенного зерна будет понятным из следующего описания и прилагаемых чертежей.

[16]

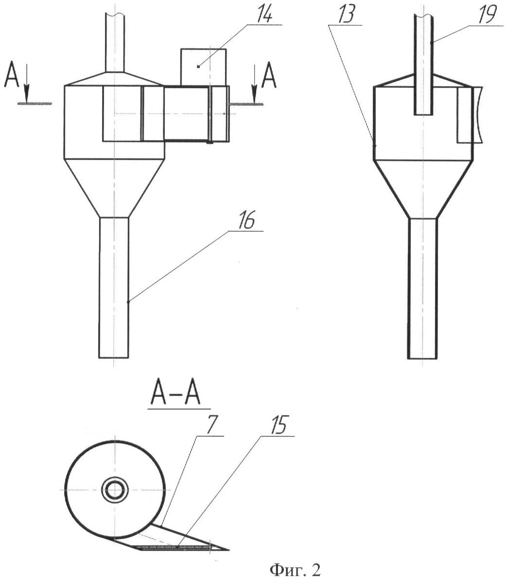
На фиг. 1 представлен общий вид установки для раздачи пророщенного зерна, на фиг. 2 приведен циклон-разделитель, на фиг. 3 приведен эжектор с клапанным механизмом, на фиг. 4 приведен циклон и фрагмент агрегата для проращивания зерна.

[17]

Установка для раздачи пророщенного зерна состоит из агрегата для проращивания зерна 1 (фиг. 1). Нория 2 установлена с возможностью заполнения кормопровода 3. Кормопровод 3 в поперечном сечении выполнен в форме круга. Кормопровод 3 выполнен в форме буквы «П». Сбоку кормопровода 3 установлен эжектор 4. Эжектор 4 предназначен для смешивания пророщенного зерна с воздухом и транспортирования зерновоздушной смеси в кормопроводе 3. Эжектор состоит из корпуса 5 (фиг. 3), в котором установлен диффузор 6 и сопло 7. Для обеспечения постоянства давления внутри сопла 7 установлен клапан 8 с пружиной 9. При помощи пружины 9 клапан 8 установлен в седле 10. На бетонном основании установлен компрессор 11 (фиг. 1), который предназначен для подачи под давлением воздуха в эжектор 4. Сбоку кормопровода 3 при помощи выгрузных патрубков 12 (фиг. 1, 2) установлен циклон-разделитель 13. Выгрузной патрубок 12 к циклону-разделителю 13 закреплен тангенциально. Для осуществления дозированной подачи пророщенного зерна в циклон-разделитель 13 на выгрузном патрубке 12 выполнен электромагнитный клапан 14 с заслонкой 15 (фиг. 1). Внизу циклона-разделителя 13 выполнена труба 16 (фиг. 1, 2). Под трубой выполнена кормушка 17 (фиг. 1). Кормушка 17 установлена в боксе 18. Вверху в центре каждого циклона-разделителя 13 (фиг. 1, 2) выполнена вертикальная труба для отвода воздуха 19. Все вертикальные трубы для отвода воздуха 19 соединены при помощи горизонтальной трубы для отвода воздуха 20 (фиг. 1). В конце на горизонтальной трубе для отвода воздуха 20 установлен глушитель 21. В конце кормопровода 3 установлен циклон 22 (фиг. 1, 4).

[18]

Транспортер 23 выполнен с возможностью сбора остатков пророщенного зерна из циклона 22 и подачи их в агрегат для проращивания зерна 1 затем на норию 2 (фиг. 1, 4).

[19]

Установка для раздачи пророщенного зерна работает следующим образом. После прорастания зерна в агрегате 1 (фиг. 1) при помощи нории 2 пророщенное и подсушенное зерно (влажность 15…18%) подают в кормопровод 3. При помощи компрессора 4 воздух подают в сопло 7 (фиг. 3). Когда давление воздуха в сопле 7 превысит сопротивление пружины 9, клапан 8 выйдет из седла 10 и воздух поступит в диффузор 6. При выходе из диффузора воздух подхватит порции пророщенного зерна и понесет их по кормопроводу к выгрузным патрубкам 12. Электромагнитный клапан 14 (фиг. 1, 2) открывает заслонки 15 (фиг. 2). Через открытые заслонки 15 пророщенное зерно подают в циклон-разделитель 13. В циклоне-разделителе 13 пророщенное зерно отделяют от воздуха. При этом воздух поступает в вертикальную трубу для отвода воздуха 19, затем в горизонтальную трубу для отвода воздуха 20 (фиг. 1), проходит через глушитель 21 и выходит в атмосферу. Пророщенное зерно оседает на стенках циклона-разделителя 13 (фиг. 1, 2) и под действием сил гравитации через вертикальную трубу для раздачи пророщенного зерна 16 попадает в кормушку 17.

[20]

Пророщенное зерно, которое из кормопровода 3 не поступило в циклоны-разделители 13, поступает в циклон 22 (фиг. 1, 4). В циклоне 22 происходит разделение пророщенного зерна от воздуха. Затем воздух выходит в атмосферу, а пророщенное зерно скатывается по стенкам циклона 22 и попадает на транспортер 23. Транспортер 23 перемещает пророщенное зерно на транспортер агрегата 1. При следующем кормлении поступившее из циклона 22 пророщенного зерно вместе со свежим пророщенным зерном подают на выдачу.

[21]

Такая установка для раздачи пророщенного зерна обеспечивает повышение равномерности выдачи пророщенного зерна, возможность регулирования точности дозирования при индивидуальном и групповом содержании свиней и безотходность процесса раздачи зерна.

[22]

Источники информации

[23]

1. RU 2223443 С2, 7 F17D 1/20, F04F 5/02. Устройство для транспортирования высоковязких кормовых смесей / А.И.Рудаков, О.Ю.Маркин, М.А.Лушнов; - 2001118471/06; Заявлено 20.04.2003; Опубликовано 10.02.2004.

[24]

2. RU 2101936 С1, 6 A01K 5/00. Устройство для раздачи кормов / В.А.Гамалицкий - 93015551/13; Заявлено 24.03.1993; Опубликовано: 20.01.1998.

[25]

3. SU 1360669 A1, 4 A01K 5/02. Устройство для распределения кормов / Б.И.Изаак, В.Б.Тимошенко, Е.А.Бутерус - 3918353/30-15; Заявлено 26.06.1985; Опубликовано 23.12.1987, бюл. № 47.

Как компенсировать расходы
на инновационную разработку
Похожие патенты