Изобретение относится к области энергетического машиностроения и предназначено в качестве регулирующего клапана для использования, например, в устройствах управления паровпуском паровых турбин. Разгруженный регулирующий клапан, преимущественно, для паровых турбин состоит из клапанной коробки, чаши клапана, штока регулирующего клапана, связанного с клапаном, седла разгрузочного клапана, седла основного клапана, защитного стакана, системы уплотнения и специальной муфты. Последняя связывает шток клапана со штоком сервомотора. Разгрузочный клапан выполнен поворотным. Изобретение направлено на обеспечение высокого качества процесса регулирования пропуска пара в турбину за счет исключения возможности свободных осевых перемещений разгруженного регулирующего клапана относительно седла. 1 з.п. ф-лы, 5 ил.
1. Разгруженный регулирующий клапан, преимущественно, для паровых турбин, состоящий из клапанной коробки, чаши клапана, штока регулирующего клапана, связанного с клапаном, седла разгрузочного клапана, седла основного клапана, защитного стакана, системы уплотнения, специальной муфты, связывающей шток клапана со штоком сервомотора, отличающийся тем, что разгрузочный клапан выполнен поворотным. 2. Разгруженный регулирующий клапан по п.1, отличающийся тем, что муфта клапана выполнена винтовой.
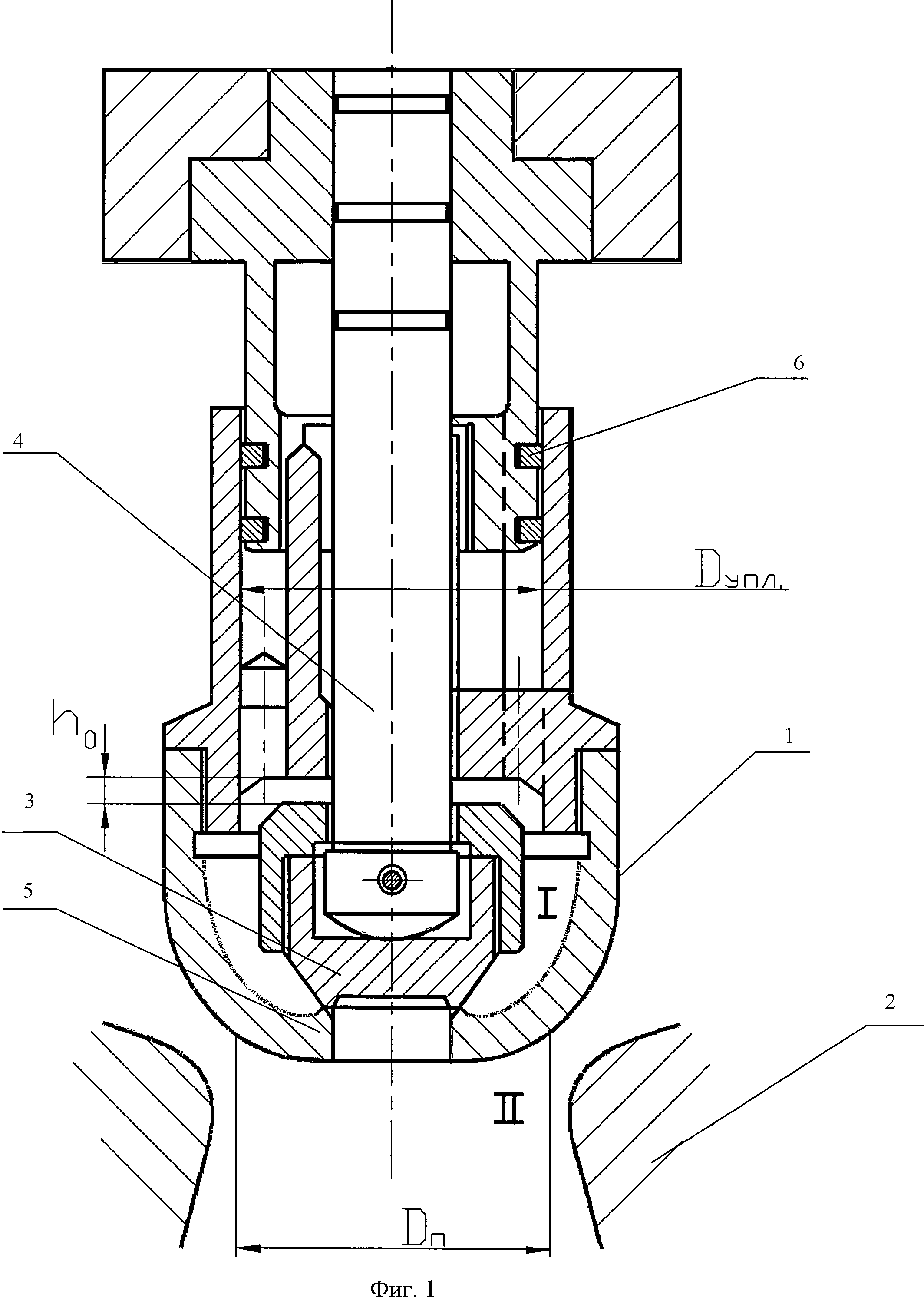
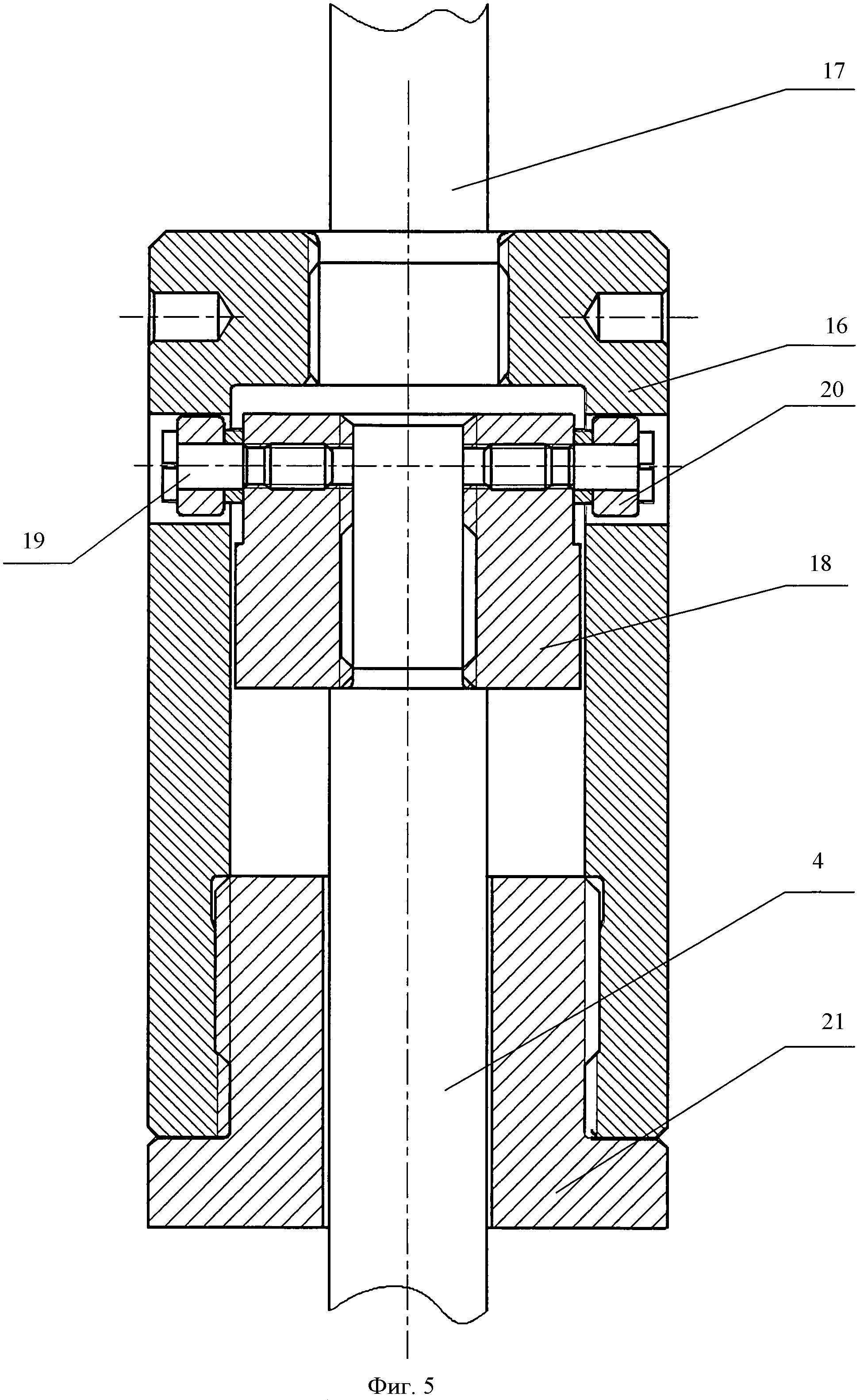
Изобретение относится к области энергетического машиностроения и, в частности, к паровым турбинам. Известен разгруженный регулирующий клапан (фиг.1), состоящий из чаши клапана 1, диффузорного седла 2, разгрузочного клапана 3, штока 4, разгрузочного седла 5, поршневых колец 6 (Зарянкин А.Е., Симонов Б.П. Регулирующие и стопорно-регулирующие клапаны паровых турбин. Москва. Издательство МЭИ, 2005 г). [1]. Клапан работает следующим образом. При подъеме штоком 4 разгрузочного клапана 3 внутренняя полость I клапана сообщается с пространством II за клапаном и давление в указанных полостях выравнивается, т.к. поршневые кольца 6 препятствуют протечке пара из клапанной коробки 1 во внутреннюю полость I основного клапана. В этом случае для дальнейшего подъема клапана необходимо усилие, определяемое по соотношению: где Dп - диаметр посадки клапана 2 на седло 3, Dупл - диаметр расположения уплотнительных поршневых колец 6, а Р0 - давление пара в клапанной коробке. Меняя диаметры Dп и Dупл, можно в широком диапазоне менять величину усилия на штоке 4, необходимую для перемещения клапана. Основной недостаток этого клапана состоит в том, что при полном открытии клапана сила, прижимающая чашу основного клапана к головке разгрузочного клапана, оказывается очень маленькой, а величина пульсаций давления в потоке за клапаном - очень высокой. В результате под действием пульсирующих динамических сил, обусловленных пульсациями давления в потоке, клапан теряет осевую устойчивость и развиваются автоколебания с перемещением чаши клапана 1 в пределах свободного хода разгрузочного клапана 3, что в конечном счете приводит к разрушению штока. Для предотвращения рассматриваемого недостатка в конструкции, приведенной на фиг.2 [1], используется проточная паровая подгрузка. Ее суть состоит в том, что начиная с определенного подъема окна 7 стакана 8 совпадают с отверстиями 9 на цилиндрической части основного клапана 10 и внутрь клапана поступает добавочное количество пара, за счет чего повышается внутреннее давление, растет сила, прижимающая свободно висящий клапан к головке 11 штока 4. Основной недостаток этого решения состоит в смешении за клапаном основного потока с вторичным, проходящим через внутреннюю часть клапана. В результате такого смешения сильно растут пульсации давления в потоке за клапаном, вызывая не только добавочные потери, но и отрицательно сказывающиеся на динамической надежности соплового аппарата регулирующей ступени паровой турбины. Этот недостаток отсутствует в конструкции разгруженного регулирующего клапана, приведенного на фиг.3 [1]. В данном случае система разгрузки клапана отделена от пространства за клапаном профилированным обводом 12, поверхность которого содержит несколько рядов отверстий перфорации 13, равномерно распределяющей поток, проходящий через систему разгрузки, по основному клапанному каналу. Для предотвращения самопроизвольного осевого перемещения чаши клапана в пределах свободного хода разгрузочного клапана при больших открытиях основного клапана конусная втулка 14 перекрывает доступ пара к системе разгрузки (левая часть фиг.3), и таким образом осуществляется беспроточная подгрузка клапана паровым усилием. Рассматриваемый клапан решает и проблему гидравлического сопротивления: на полном открытии перепад давления на нем не превышает 1,5÷2% от начального давления пара Р0. При высоких начальных параметрах пара абсолютный перепад давления оказывается достаточно высоким (3÷6 бар). Однако при сравнительно низком начальном давлении абсолютный перепад давлений снижается до 1÷1,5 бар, что характерно для турбин атомных электростанций, где начальное давление пара находится на уровне 60÷65 бар. В этом случае сила прижатия чаши клапана к головке штока даже при больших посадочных диаметрах (Dп>400 мм) не превышает 5÷8 кН. Соответственно, при наличии в потоке даже относительно небольших пульсаций давлений не исключается возможность неконтролируемых осевых перемещений чаши клапана относительно седла. Задачей изобретения является обеспечение высокого качества процесса регулирования пропуска пара в турбину за счет исключения возможности свободных осевых перемещений разгруженного регулирующего клапана относительно седла. Технический результат изобретения достигается тем, что в известном разгруженном регулирующем клапане, преимущественно, для паровых турбин, состоящем из клапанной коробки, чаши клапана, штока регулирующего клапана, связанного с клапаном, седла разгрузочного клапана, седла основного клапана, защитного стакана, системы уплотнения, специальной муфты, связывающей шток клапана со штоком сервомотора, разгрузочный клапан выполнен поворотным. Кроме этого в разгруженном регулирующем клапане муфта выполнена винтовой. Сущность изобретения поясняется чертежами, где на фиг.1 изображен стандартный разгруженный клапан [1]; на фиг.2 - разгруженный клапан с проточной подгрузкой осевым усилием; на фиг.3 - разгруженный клапан с беспроточной подгрузкой осевым усилием; на фиг.4 - разгруженный клапан с поворотным разгрузочным клапаном; на фиг.5 - поворотная муфта. Предлагаемый клапан изображен на фиг.4. В данном случае использована конструкция клапана с беспроточной нагрузкой его паровым усилием на больших подъемах (как на фиг.3), но разгрузочный клапан 15 выполнен поворотным, например, в виде четырех секторов, которые перекрывают секторные отверстия в седле. Для привода клапана используется специальная винтовая муфта (фиг.5), состоящая из корпуса 16, связанного с одной стороны со штоком 17 приводного сервомотора, а с другой стороны через поворотную втулку 18 со штоком 4 регулирующего клапана. Поворотная втулка 18 соединяется с корпусом 16 специальными болтами 19, на цилиндрические части которых насажены ролики 20. На поверхности корпуса 16 выполнена винтовая прорезь с углом подъема 45°, внутрь которой входят ролики 20. В открытую часть корпуса 16 ввернута ограничительная гайка 21. Предлагаемый клапан работает следующим образом. При включении сервомотора его шток 17 (фиг.5) поднимает корпус 16 муфты. При этом ролики 20, перемещаясь по винтовой поверхности корпуса 16, поворачивают втулку 18 и связанный с ней шток 4 клапана. При этом происходит и поворот разгрузочного клапана 15 (фиг.4), обеспечивая тем самым соединение внутренней полости I (фиг.4) основного клапана с пространством II за ним и резкое снижение силы, необходимой для подъема основного клапана. Поступательное движение штока разгрузочного клапана начинается с момента упора торцовой части втулки 18 (фиг.5) в ограничитель поворота 21. Основное преимущество рассматриваемого клапана по сравнению со всеми существующими разгруженными клапанами состоит в том, что здесь основной клапан связан со штоком практически без осевого зазора и его положение при любых нагрузках оказывается четко фиксированным в пространстве, обеспечивая высокое качество процесса регулирования пропуска пара в турбину.