патент
№ RU 2429335
МПК E21B7/08

КЛИН-ОТКЛОНИТЕЛЬ ДЛЯ ЗАБУРИВАНИЯ БОКОВЫХ СТВОЛОВ ИЗ СКВАЖИНЫ

Авторы:
Максимов Денис Владимирович Мухаметшин Алмаз Адгамович Кашапов Ильгиз Камаевич
Все (5)
Номер заявки
2010107626/03
Дата подачи заявки
02.03.2010
Опубликовано
20.09.2011
Страна
RU
Как управлять
интеллектуальной собственностью
Чертежи 
5
Реферат

Изобретение относится к бурению скважин, а именно к забуриванию боковых стволов из ранее пробуренных скважин. Обеспечивает безаварийную доставку клина-отклонителя в интервал скважины, гарантированное срабатывание якоря, надежную защиту от загрязнения, позволяет передавать большие крутящие моменты. Клин-отклонитель состоит из клина с продольным каналом. Посадочный инструмент выполнен в виде полой штанги, проходящей через продольный канал клина, и соединен с переходником. Раздуваемый якорь соединен с переходником снизу и оснащен башмаком, который соединен технологической трубой с переходником. Раздуваемый якорь выполнен в виде продольно-гофрированной трубы с цилиндрическими концами. Конец штанги вставлен в центральный канал переходника с возможностью только продольного перемещения и фиксации срезными штифтами и шариками, размещенными соответственно в верхних и нижних рядах радиальных отверстий штанги, при этом в полой штанге с возможностью перемещения вниз размещена полая втулка, зафиксированная срезным элементом, герметично перекрывающая ряды радиальных отверстий, взаимодействующая с шариками и оснащенная снизу ниппелем с замковым элементом снаружи и сужением под бросовый с устья элемент изнутри, при этом башмак якоря оснащен снизу калибратором, а изнутри - седлом под ниппель втулки, которая выполнена с возможностью фиксации замковым элементом в седле башмака. 5 ил.

Формула изобретения

Клин-отклонитель для забуривания боковых стволов из скважины, включающий клин с продольным каналом, соединенный шарнирно поперечной осью с переходником с возможностью прижатия пружиной головки клина к стенке скважины, посадочный инструмент, выполненный в виде полой штанги, проходящей через продольный канал клина и соединенный с переходником, раздуваемый якорь, жестко соединенный с переходником снизу и оснащенный башмаком, который соединен технологической трубой с переходником, причем центральный канал переходника сообщен каналом с пространством между якорем и технологической трубой, отличающийся тем, что раздуваемый якорь выполнен в виде продольногофрированной трубы с цилиндрическими концами, конец штанги вставлен в центральный канал переходника с возможностью только продольного перемещения и фиксации срезными штифтами и шариками, размещенными соответственно в верхних и нижних рядах радиальных отверстий штанги, причем шарики размещены в глухих радиальных отверстях переходника, сообщенных с его каналом, и выполнены подпружиненными вовнутрь, при этом в полой штанге с возможностью перемещения вниз размещена полая втулка, зафиксированная срезным элементом, герметично перекрывающая ряды радиальных отверстий, взаимодействующая с шариками и оснащенная снизу ниппелем с замковым элементом снаружи и сужением под бросовый с устья элемент изнутри, при этом башмак якоря оснащен снизу калибратором, а изнутри - седлом под ниппель втулки, которая выполнена с возможностью фиксации замковым элементом в седле башмака.

Описание

[1]

Изобретение относится к области бурения газонефтяных скважин, в частности к устройствам для бурения боковых стволов из скважины.

[2]

Известен отклонитель клиновой заливаемый, предназначенный для использования при бурении скважин с разбуриванием нового ствола (пат. RU 2119573, МПК 7 Е21В 7/08, опубл. 27.09.98. Бюл. №27), состоящий из спускного клина, соединенного срезными болтами с направляющим клином, опоры для закрепления отклонителя цементным раствором в колонне и канала для подачи цементного раствора.

[3]

Недостатками данного отклонителя являются:

[4]

- вероятность аварийных ситуаций при его спуске и установке в открытом стволе скважины из-за большой длины и жесткости отклонителя, что может привести к посадкам устройства на неровностях и в местах искривлений ствола скважины, тем более что нижний конец имеет заостренные зубцы, при этом произойдет преждевременный срез крепежных болтов и потеря отклонителя;

[5]

- большие материальные и временные затраты для его установки в скважине, связанные с необходимостью создания упорного цементного моста, ожидания его отверждения, производством фрезеровки верхней части моста до определенной глубины; спуском отклонителя в скважину, созданием дополнительного цементного моста для закрепления отклонителя и ожидания его отверждения, и только после этого возможно производить зарезку и бурение бокового ствола;

[6]

- низкая функциональность, связанная с тем, что в открытых стволах, имеющих зоны поглощения или водопроявления, очень часто цементные мосты не устанавливаются или не набирают нужной прочности и установить отклонитель в таких скважинах невозможно.

[7]

Известен стационарный отклонитель, предназначенный для зарезки нового ствола скважины при ликвидации аварий с бурильной колонной (а.с. СССР №1435743, МПК 7 Е21В 7/08, опубл. 07.11.88. Бюл. №43), содержащий корпус с промывочными отверстиями, жестко связанный с ним в верхней части направляющий клин, расположенный в нижней части корпуса узел закрепления клина, связанный срезными элементами с направляющим клином транспортировочный патрубок и трубчатый кожух.

[8]

Недостатками данного отклонителя являются:

[9]

- низкая функциональность, связанная с необходимостью наличия аварийного инструмента в скважине, для закрепления отклонителя и невозможностью его ориентирования, а также со сложностью попадания метчиком в аварийный инструмент;

[10]

- затраты времени и материалов, связанные с необходимостью фрезерования и обуривания верхнего конца аварийного инструмента и цементирования основания клина;

[11]

- вероятность аварийных ситуаций при его установке и освобождении транспортировочного патрубка, связанная с невозможностью надежного закрепления отклонителя в «голове» аварийного инструмента, так как для завинчивания метчика в трубу необходимы большие крутящие моменты, а срезные элементы, крепящие транспортировочный патрубок к направляющему клину, не могут их выдержать. Увеличение прочности срезных элементов приведет к невозможности отсоединения транспортировочного патрубка от направляющего клина после установки отклонителя.

[12]

Наиболее близким по технической сущности и достигаемому результату является клин-отклонитель (уипсток) для забуривания нового бокового ствола из не обсаженной скважины (пат. US 5113938, МПК 7 Е21В 7/08, от 19.05.1992), включающий отклоняющий клин с продольным каналом, шарнирно соединенный снизу с переходником, который снизу оснащен расширяющимся пакером-якорем, посадочный инструмент в виде полой штанги, с верхней муфтой для соединения с бурильной колонной и левой резьбой снизу для соединения после установки в продольном канале клина с переходником.

[13]

Недостатками данного клина-отклонителя являются большая вероятность аварийных ситуаций при его спуске и установке в открытом стволе скважины, связанных со следующими причинами:

[14]

- невозможность отвинчивания полой штанги по левой резьбе после установки клина-отклонителя, так как в шарнирном механизме установлены достаточно прочные пружины, которые перегибают и заклинивают полую штангу в резьбе. Известно, что идеально вертикальных скважин не бывает, все скважины имеют большие или меньшие отклонения от вертикальной оси и различные неровности по длине ствола, тем более скважины, осложненные геологическими условиями, в них могут быть сужения, размывы, каверны, ступеньки, образовавшиеся от работы аварийного инструмента. Клинотклонитель располагается в них под различными углами, а бурильная колонна из-за своей прочности не может повторять все изгибы скважины, что еще больше перегибает и заклинивает полую штангу, препятствуя ее отвинчиванию;

[15]

- «голова» клина ничем не защищена и при спускоподъемных операциях в открытом стволе, в особенности в искривленных участках, и будет впиваться, и скоблить стенку скважины, обломки породы будут набиваться и трамбоваться в зазоре между полой штангой и желобом клина, заклинивая тем самым полую штангу. Все это приведет к невозможности отвинчивания полой штанги из переходника после установки клина-отклонителя и аварийной ситуации в скважине;

[16]

- при попадании клина-отклонителя в искривленный или кавернозный участок скважины он может принять такое положение, когда не защищенная «голова» будет впиваться в одну стенку, а башмак пакера попадет на выступ противоположной стенки скважины и его освобождение натяжением или разгрузкой бурильной колонны будет только еще больше заклинивать клинотклонитель поперек ствола скважины, создавая угрозу оставления его в скважине, а промывка скважины не будет способствовать его освобождению, что приведет к аварии и потере пробуренной части скважины.

[17]

Техническими задачами настоящего изобретения являются:

[18]

- создание клина-отклонителя, позволяющего в безаварийном режиме доставить его в расчетный интервал скважины, с возможностью проработки и промывки при прохождении осложненных участков скважины и гарантированного освобождения посадочного инструмента с бурильной колонной после ориентирования по азимуту и установки клина-отклонителя в расчетном интервале;

[19]

- создание клина-отклонителя, снижающего аварийность и стоимость строительства скважин, осложненных геологическими условиями, за счет устройства надежно защищающего его от загрязнения горной породой в процессе спускоподъемных операций, предотвращающего заклинивание клина-отклонителя в скважине и способствующего более легкому освобождению полой штанги после надежной фиксации клина-отклонителя в расчетном интервале.

[20]

Техническая задача решается клином-отклонителем для забуривания боковых стволов из скважины, включающим клин с продольным каналом, соединенный шарнирно поперечной осью с переходником с возможностью прижатия пружиной головки клина к стенке скважины, посадочный инструмент, выполненный в виде полой штанги, проходящей через продольный канал клина и соединенный с переходником, раздуваемый якорь жестко соединенный с переходником снизу и оснащенный башмаком, который соединен технологической трубой с переходником, причем центральный канал переходника сообщен каналом с пространством между якорем и технологической трубой.

[21]

Новым является то, что раздуваемый якорь выполнен в виде продольно-гофрированной трубы с цилиндрическими концами, конец штанги вставлен в центральный канал переходника с возможностью только продольного перемещения и фиксации срезными штифтами и шариками, размещенными соответственно в верхних и нижних рядах радиальных отверстий штанги, причем шарики размещены в глухих радиальных отверстиях переходника, сообщенных с его каналом, и выполнены подпружиненными вовнутрь, при этом в полой штанге с возможностью перемещения вниз размещена полая втулка, зафиксированная срезным элементом, герметично перекрывающая ряды радиальных отверстий, взаимодействующая с шариками и оснащенная снизу ниппелем с замковым элементом снаружи и сужением под бросовый с устья элемент изнутри, при этом башмак якоря оснащен снизу калибратором, а изнутри - седлом под ниппель втулки, которая выполнена с возможностью фиксации замковым элементом в седле башмака.

[22]

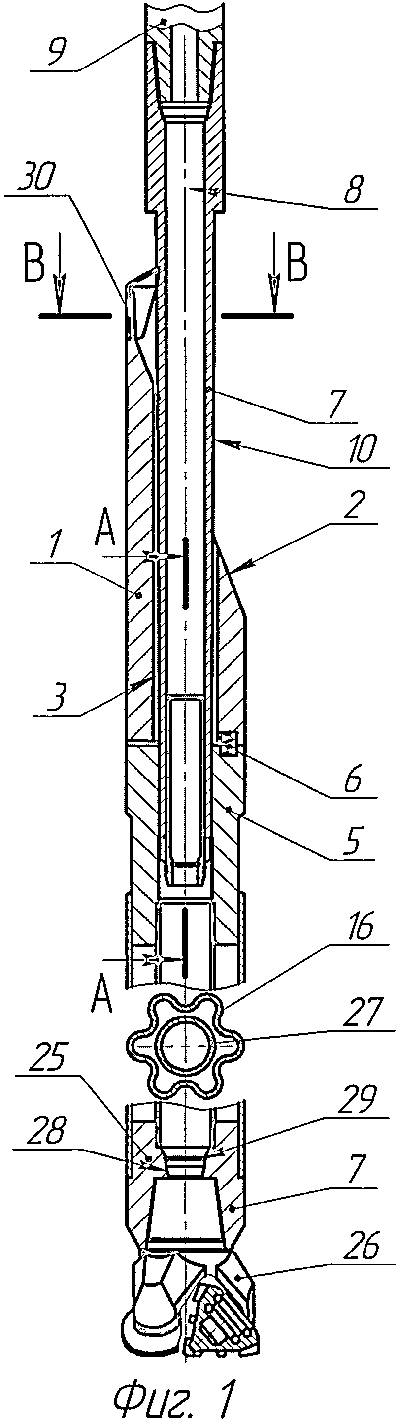
На фиг.1 показан общий вид устройства с продольным разрезом; на фиг.2 - разрез А-А фиг.1; на фиг.3 - разрез Б-Б фиг.2, на фиг.4 - разрез В-В фиг.2; на фиг.5 - устройство после выправления якоря и закрепления его в скважине.

[23]

Клин-отклонитель состоит из отклоняющего клина 1 (фиг.1) с рабочей поверхностью 2 и продольным каналом 3, шарнирно соединенного осью 4 (фиг.2) с переходником 5. Между клином 1 (фиг.1) и переходником 5 установлен упругий элемент 6, отжимающий клин 1 вверх. В продольном канале 3 клина 1 размещен посадочный инструмент 7, выполненный в виде полой штанги с центральным каналом 8 и соединенный с бурильной колонной 9. Наружная поверхность 10 (фиг.3) штанги 7 в месте взаимодействия с переходником 5 имеет форму, допускающую только продольное перемещение. Внутренняя поверхность 11 (фиг.2 и 3) переходника 5 (фиг.2) в верхней части под штангу 7 имеет такую же форму, как и наружная поверхность 10 (фиг.3) штанги 7 (фиг.1). В плоскости сопрягаемых поверхностей 10 (фиг.3) и 11 находятся подпружиненные упругим элементом 12 внутрь шары 13, которые упираются в втулку 14, расположенную в центральном канале 8 (фиг.2) штанги 7. Втулка 14 перекрывает канал 15 прохода жидкости в якорь 16. Втулка 14 имеет в нижней части внутренний выступ 17, на поверхности которой выполнена выборка 18 под верхнее стопорное кольцо 19 (фиг.5) пробки 20, а наружная поверхность оснащена уплотнительными элементами 21 и замковым элементом 22. Втулка 14 (фиг.2), штанга 7 и клин 1 зафиксированы относительно друг друга разрушающими элементами 23, которые могут быть совместного и раздельного исполнения. Наружная поверхность 24 нижнего конца переходника 5 жестко соединена якорем 16, выполненным в виде продольно-гофрированной трубы. Якорь 16 (фиг.1) снизу соединен через башмак 25 с калибратором 26. Внутри якоря 16 расположена труба 27, верхний конец которой жестко соединен переходником 5, а нижний - с башмаком 25, который снабжен седлом 28, где расположено углубление 29 под замковый элемент 22 (фиг.5) втулки 14 (фиг.2). Штанга 7 (фиг.1) выше продольного канала 3 оснащена кожухом 30 (фиг.1 и 4), выполненным в виде сектора перевернутого полого стакана, жестко соединенного с клином 1. Кожух 30 (фиг.1) может быть различных размеров и формы, в зависимости от прочности пород, которыми сложен разрез скважины 31 (фиг.5). Он должен легко скользить по стенке скважины 31, не разрушая ее, надежно защищать клин 1 (фиг.1) со штангой 7 от загрязнения обломками породы и легко сниматься с клина при извлечении штанги 7 из скважины.

[24]

Устройство работает следующим образом. Поднимают с мостков и устанавливают на столе ротора (не показан) якорь 16 (фиг.1). Затем поднимают отклоняющий клин 1 с штангой 7 и соединяют его через переходник 5 с якорем 16. Штангу 7, размещенную в продольном канале 3 клина 1, соединяют с колонной бурильных труб 9. Собранную компоновку спускают в интервал забуривания бокового ствола. В случае посадки клина-отклонителя на неровностях ствола скважины 31 (фиг.5) и сужениях данные интервалы нужно проработать калибратором 26 (фиг.1) с промывкой через канал 8. Во время промывки ствола скважины 31 (фиг.5) втулка 14 (фиг.2) посредством уплотнительных элементов 21 перекрывает канал 15 прохода жидкости в якорь 16 (фиг.1). При работе на калибратор 26 осевые нагрузки передаются через шары 13 (фиг.2), а крутящий момент - через штангу 7 (фиг.1), переходник 5 благодаря их поверхностям 10 (фиг.3) и 11, якорь 16 (фиг.1) и трубу 27. Геофизическими методами (например: магнитными или гироскопическими инклинометрами и т.п.) ориентируют клин 1 по проектному азимуту. Насосом с поверхности земли подают рабочую жидкость в полость бурильной колонны 9, в которую сбрасывают продавочную пробку 20 (фиг.5). Рабочая жидкость доводит по каналу 8 (фиг.2) продавочную пробку 20 (фиг.5) до внутреннего выступа 17(фиг.2) втулки 14. Верхнее стопорное кольцо 19 (фиг.5) разжимается в радиальном направлении в проточке 18 (фиг.2) и надежно фиксирует пробку 20 (фиг.5) от осевых перемещений. В полости бурильной колонны 9 (фиг.1) выше продавочной пробки 20 (фиг.5) создается избыточное давление рабочей жидкости, под действием которой втулка 14 (фиг.2) разрушает элементы 23 в сечении между штангой 7 и втулкой 14. Под давлением рабочей жидкости втулка 14 с зафиксированной внутри цементировочной пробкой 20 (фиг.5) падает вниз по трубе 27 (фиг.1) до седла 28 башмака 24, освобождая зафиксированные втулкой 14 (фиг.2) шары 13, которые выталкиваются упругим элементом 12 внутрь, открывая при этом канал 15 для прохода рабочей жидкости в якорь 16. Замковый элемент 22 (фиг.2) в проточке 29 (фиг.1) башмака 24 надежно фиксирует втулку 14 (фиг.5) от осевых перемещений, при этом герметично перекрывается канал 8 для прохода рабочей жидкости с помощью уплотнительных элементов 21. Под действием давления рабочей жидкости происходит выправление профильной трубы пакера-якоря 16 (фиг.1). Разгрузкой веса бурильной колонны 9 проверяют надежность закрепления клина-отклонителя в скважине 31 (фиг.5). Натяжением бурильной колонны разрушают элементы 23 (фиг.2) в сечении между клином 1 и штангой 7. Извлекают бурильную колонну 9 (фиг.1), штангу 7 с кожухом 30 из скважины 31 (фиг.5). Кожух 30 (фиг.1) защищает «голову» клина 1 от взаимодействия со стенкой скважины 31 (фиг.5) и загрязнения рабочей поверхности 2 (фиг.1) клина 1 обломками горной породы, которые, утрамбовываясь между рабочей поверхностью 2 клина 1 и штанги 7, заклинивают штангу 7 в продольном канале 3 отклоняющего клина 1, препятствуя его извлечению. После извлечения штанги 7 из продольного канала 3 клин 1, поворачиваясь на поперечной оси 4 (фиг.2), отклоняется и прижимается к стенке скважины под действием упругого элемента 6 (фиг.1) и удерживается в таком положении в течение всего цикла бурения и крепления бокового ствола. В скважину на бурильной колонне спускают долото, которое, двигаясь по рабочей поверхности 2 клина 1, забуривает боковой ствол в заданном направлении.

[25]

Данная конструкция клина-отклонителя позволяет в безаварийном режиме доставить его в расчетный интервал скважины с возможностью проработки и промывки при прохождении осложненных участков скважины за счет надежной изоляции втулкой внутренней полости якоря от рабочей жидкости, что позволяет вести промывку при высоком давлении рабочей жидкости. Передача крутящего момента от колонны буровых труб на калибратор осуществляется через якорь и трубу, находящуюся внутри якоря, что позволяет передавать большие крутящие моменты. Наличие шаров, передающих осевую нагрузку на калибратор, предохраняет разрушаемые от давления рабочей жидкости элементы при спуске клина-отклонителя в интервал забуривания бокового ствола. Наличие стопорных колец фиксирует детали клина-отклонителя, обеспечивая гарантированное срабатывание якоря. Наличие кожуха надежно защищает клин-отклонитель от загрязнения горной породой в процессе спускоподъемных операций, предотвращает заклинивание его в скважине и способствует более легкому освобождению полой штанги после надежной фиксации клина-отклонителя в расчетном интервале.

Как компенсировать расходы
на инновационную разработку
Похожие патенты