патент
№ RU 2426012
МПК F04D29/38

КРЫЛЬЧАТКА ВЕНТИЛЯТОРА

Авторы:
БРОНОВСКИ Хельмут (DE)
Номер заявки
2007101327/06
Дата подачи заявки
12.01.2007
Опубликовано
10.08.2011
Страна
RU
Дата приоритета
15.12.2025
Номер приоритета
Страна приоритета
Как управлять
интеллектуальной собственностью
Чертежи 
2
Реферат

Изобретение относится к области осевых вентиляторов или осевых нагнетателей воздуха и может быть использовано, например, в дорожных тоннелях для обеспечения прочности и надежности крыльчатки вентилятора в режиме эксплуатации. Указанный технический результат достигается в крыльчатке для осевого вентилятора или осевого нагнетателя воздуха с несущим диском, с несколькими лопастями, которые содержат соответственно ножку лопасти и рабочую сторону лопасти, для вставления каждой лопасти предусмотрена пара зажимных колодок, причем обе зажимные колодки каждой пары зажимных колодок расположены по обе стороны несущего диска и привинчены к нему, и зажимные колодки каждой пары зажимных колодок выполнены идентичными в отношении их формы настолько, что они взаимозаменяемы, причем каждая зажимная колодка переходит в ее радиально внешней области в фартук, который ориентирован наружу, и фартуки вместе образуют на каждой стороне крыльчатки проходящее по периметру кольцо ступицы как направляющую потока. 7 з.п. ф-лы, 2 ил., 1 табл.

Формула изобретения

1. Крыльчатка для осевого вентилятора или осевого нагнетателя воздуха с несущим диском (1), с несколькими лопастями, которые содержат соответственно ножку лопасти и рабочую сторону лопасти, причем для вставления каждой лопасти предусмотрена пара зажимных колодок (5.1, 5.2), причем обе зажимные колодки (5.1, 5.2) каждой пары зажимных колодок расположены по обе стороны несущего диска (1) и привинчены к нему, и зажимные колодки (5.1, 5.2) каждой пары зажимных колодок выполнены идентичными в отношении их формы настолько, что они взаимозаменяемы, причем каждая зажимная колодка (5.1, 5.2) переходит в ее радиально внешней области в фартук (5.1.1, 5.2.1), который ориентирован наружу, и причем фартуки (5.1.1; 5.2.1) вместе образуют на каждой стороне крыльчатки проходящее по периметру кольцо ступицы как направляющую потока.

2. Крыльчатка по п.1, причем все зажимные колодки (5.1, 5.2) выполнены идентичными.

3. Крыльчатка по п.1, отличающаяся тем, что ножки лопастей имеют круглое поперечное сечение при рассмотрении поперек продольной оси лопасти, причем приемное гнездо для отдельной ножки лопасти соответствует по форме ножке лопасти.

4. Крыльчатка по п.1, отличающаяся тем, что соседние зажимные колодки (5.1, 5.1; 5.2, 5.2) перекрывают друг друга.

5. Крыльчатка по п.1, отличающаяся тем, что зажимные колодки (5.1, 5.2) имеют удлиненные отверстия, а несущий диск - круглые гнезда для проведения через них сквозных болтов (6).

6. Крыльчатка по п.5, отличающаяся тем, что удлиненные отверстия предусмотрены в области взаимного перекрытия лопастей (5.1, 5.1; 5.2, 5.2).

7. Крыльчатка по п.1, отличающаяся тем, что снаружи периметра (1.1) несущего диска предусмотрены зажимные винты (10) для затягивания лопастей между лежащими напротив друг друга зажимными колодками (5.1, 5.2) и взаимного стягивания зажимных колодок с противоположных сторон.

8. Крыльчатка по п.1, отличающаяся тем, что зажимные колодки (5.1, 5.2) являются поковками, отливками или штампованными деталями.

9. Крыльчатка по любому из пп.1-8, отличающаяся тем, что она может быть выполнена с разными диаметрами ступиц и разными наружными диаметрами, но с идентичными зажимными колодками (5.1, 5.2) для обеспечения возможности создания конструктивного ряда крыльчаток.

Описание

[1]

Изобретение относится к области осевых вентиляторов или осевых нагнетателей воздуха. Такие вентиляторы используются, например, в дорожных тоннелях. Такой осевой вентилятор состоит, как правило, из ротора и корпуса с выходным направляющим аппаратом. Ротор содержит некоторое количество лопастей, которые расположены на ступице крыльчатки. Каждая лопасть состоит из рабочей стороны лопасти и ножки лопасти.

[2]

Лопасть переносит значительные усилия на ступицу, которые сначала определяются нагнетательной работой крыльчатки, однако преимущественно - центробежной силой вращающихся масс. Лопасть может состоять из различных материалов и изготовляться разными способами. В данном случае речь идет по существу о литых лопастях, которые вместе со ступицей из идентичных зажимных колодок, несущего диска и вала ступицы образуют крыльчатку.

[3]

Известны крыльчатки, которые построены, как указано ниже: крыльчатка имеет круглый несущий диск. На несущем диске в штампованных получашах зажимом зафиксированы лопасти. В состоянии покоя лопасти можно поворачивать, так что могут устанавливаться определенные углы лопастей.

[4]

Крыльчатки упомянутого вида производятся в больших количествах экземпляров. При сильной международной конкуренции и соответственно мощном давлении цен стремятся к решениям, которые являются экономичными, но одновременно надежными. При эксплуатации осевых вентиляторов дело может доходить до предельных условий эксплуатации, которые должны выдерживаться такими вентиляторами без отказа функции. Особый крайний случай возникает, например, тогда, когда в принудительно вентилируемом туннеле случается пожар. Соответственно предписанным правилам техники безопасности вентилятор со всеми его компонентами должен еще оставаться полностью пригодным к эксплуатации при крайне высоких температурах, например 400°С, в течение длительного промежутка времени.

[5]

В основе изобретения лежит задача предоставить крыльчатку, которая может использоваться для осевого вентилятора или осевого нагнетателя воздуха, которая удовлетворяет всем требованиям в отношении прочности и надежности в режиме эксплуатации и которая экономична в изготовлении.

[6]

Эта задача согласно изобретению решается крыльчаткой для осевого вентилятора или осевого нагнетателя воздуха с несущим диском, с несколькими лопастями, которые содержат, соответственно, ножку лопасти и рабочую сторону лопасти, причем для вставления каждой лопасти предусмотрена пара зажимных колодок, причем обе зажимные колодки каждой пары зажимных колодок расположены по обе стороны несущего диска и привинчены к нему, и зажимные колодки каждой пары зажимных колодок выполнены идентичными в отношении их формы настолько, что они взаимозаменяемы, причем каждая зажимная колодка переходит в ее радиально внешней области в фартук, который ориентирован наружу, и причем фартуки вместе образуют на каждой стороне крыльчатки проходящее по периметру кольцо ступицы как направляющую потока.

[7]

Соответственно этому, такая крыльчатка содержит следующие детали:

[8]

- несущий диск,

[9]

- несколько лопастей с ножкой лопасти и рабочей стороной лопасти,

[10]

- пара зажимных колодок для вставления ножки лопасти каждой лопасти, причем

[11]

- обе зажимные колодки каждой пары зажимных колодок расположены с обеих сторон несущего диска и привинчиваются к нему,

[12]

- все зажимные колодки идентичны в отношении их формы, во всяком случае, настолько, что они взаимозаменяемы.

[13]

Несущий диск, а также ножка лопасти находятся подобно сэндвичу между двумя зажимными колодками одной пары зажимных колодок.

[14]

Идентичность зажимных колодок имеет следующие преимущества:

[15]

- по сравнению с обычными крыльчатками отдельные части существенно упрощены в отношении их формы. Зажимные колодки производятся как штампованные детали в больших количествах экземпляров, так что производство может быть рационализировано,

[16]

- если все зажимные колодки идентичны друг другу, не происходит путаницы при монтаже,

[17]

- хранение на складе упрощается,

[18]

- один и тот же образец зажимных колодок может использоваться также для различных величин диаметра крыльчатки.

[19]

Таким образом, например, возможно создание конструктивного ряда крыльчаток согласно изобретению за счет применения идентичных зажимных колодок при следующем ряде диаметров ступиц (нормализованный числовой ряд R20) (см. таблицу).

[20]

Диаметр ступицы DNНаружный диаметр DA minDA max
6309001600
71010001700
80011201800
90012501900
100014002000
112015002100
125016002250
140018002400

[21]

Для вышеупомянутого в качестве примера ряда диаметров ступиц с относящимися к ним габаритными размерами крыльчатки можно использовать соответственно одни и те же зажимные колодки. При этом получаются большие шансы для массовой рационализации.

[22]

Изобретение разъясняется подробнее с привлечением чертежей. На них, в частности, представлено следующее:

[23]

фиг.1 - часть крыльчатки для осевого вентилятора в осевом сечении, однако, без лопасти,

[24]

фиг.2 - вид сверху при рассмотрении в направлении А на фиг.1.

[25]

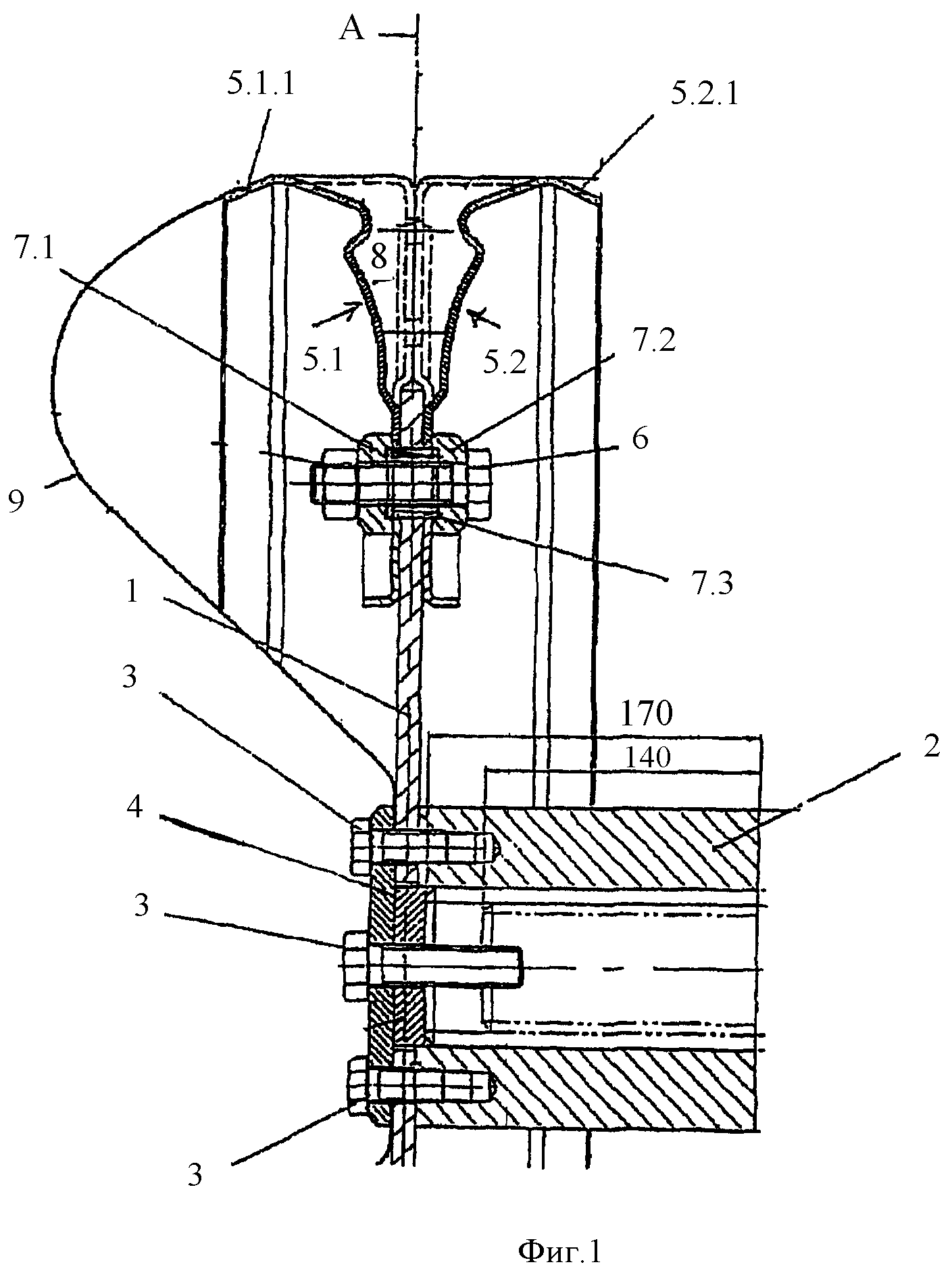
На фиг.1 можно видеть, в частности, несущий диск 1. В данном случае он круглый. Он без проворачивания связан со ступицей 2 приводного вала (см. центральные винты 3 и подкладную шайбу 4).

[26]

На обеих сторонах несущего диска находится по одной зажимной колодке 5.1 и 5.2. Обе колодки имеют абсолютно идентичную форму. Они подобно сэндвичу заключают между собой радиально внешнюю область несущего диска 1. Несущий диск 1, зажимная колодка 5.1 и зажимная колодка 5.2 жестко связаны друг с другом посредством сквозного болта 6, а также посредством двух промежуточных деталей 7.1 и 7.2 и зажимной втулки 7.3 для передачи центробежных сил на несущий диск.

[27]

Лучшее решение состоит в том, чтобы все зажимные колодки имели абсолютно идентичную форму, однако, возможны отклонения. Таким образом, можно делать идентичными друг другу только зажимные колодки одной пары зажимных колодок.

[28]

Обе зажимные колодки 5.1 и 5.2 образуют друг с другом приемное гнездо 8 для установки ножки не представленной здесь лопасти. При монтаже ножка лопасти вставляется в приемное гнездо 8 на то время, пока сквозной болт 6 и зажимные винты 10 еще не затянуты. При этом можно поворачивать лопасть вокруг ее собственной продольной оси, чем можно устанавливать угол лопасти.

[29]

Как можно видеть, каждая зажимная колодка 5.1, 5.2 в ее радиально внешней области изогнута наружу и образует фартук 5.1.1 и соответственно 5.2.1. Фартук проходит приблизительно перпендикулярно к плоскости несущего диска, так что фартуки всех зажимных деталей на каждой стороне образуют проходящее по периферии кольцо ступицы для направления потока.

[30]

Виден передний обтекатель 9. Он установлен на одной стороне несущего диска 1, а именно так, что он образует переход заподлицо с фартуком 5.1.1.

[31]

На фиг.2 также можно видеть несущий диск 1, а именно его внешний периметр 1.1. Подразумевается, что под выражением "несущий диск" нужно понимать любую конструкцию, которая могла бы принимать на себя его функцию. Таким образом, также было бы возможно спицевое колесо.

[32]

Далее, можно видеть сквозные болты 6 с дистанцирующими элементами 7.1 и 7.2 и зажимными втулками 7.3.

[33]

Видны зажимные колодки 5.2, которые находятся на фиг.1 на правой стороне несущего диска 1. Зажимные колодки имеют выгибы 5.2.3 и 5.2.4. При этом соответственно выгиб 5.2.3 одной зажимной колодки перекрывает выгиб 5.2.4 соседней зажимной колодки. В области этого перекрытия зажимные колодки имеют удлиненные отверстия. Они служат для приема зажимных винтов 10, которые находятся радиально снаружи внешнего периметра 1.1 несущего диска 1 и которые связывают друг с другом обе противолежащие друг другу зажимные колодки 5.1 и 5.2 одной пары зажимных колодок. Эти оба лежащие дальше снаружи зажимных винта 10 производят зажимное усилие для затягивания ножки лопасти. Естественно, при монтаже отдельных лопастей зажимные винты 10 также должны по очереди затягиваться.

[34]

Перекрытие соседних зажимных колодок происходит не только в области выгибов 5.2.3 и 5.2.4, но и в радиально крайней области фартуков 5.2.1.

[35]

Зажимные колодки 5.1 и 5.2 за счет их идентичного оформления можно использовать на лопастных колесах разных диаметров. При этом должен изменяться в диаметре только несущий диск 1 и, при необходимости, также вал 2. Важно, что зажимные колодки 5.1 и 5.2 всегда остаются идентичными.

[36]

Зажимные колодки 5.1 и 5.2 являются предпочтительно штампованными деталями, отливками или поковками, также как и лопасти.

[37]

Перечень основных обозначений

[38]

1. Несущий диск

[39]

1.1 Внешний периметр несущего диска

[40]

2. Ступица приводного вала

[41]

3. Центральные винты

[42]

4. Подкладные шайбы

[43]

5.1. Зажимные колодки

[44]

5.2. Зажимные колодки

[45]

5.1.1. Фартук

[46]

5.2.1. Фартук

[47]

5.2.3. Выгиб

[48]

5.2.4. Выгиб

[49]

6. Сквозной болт

[50]

7.1. Дистанцирующий элемент

[51]

7.2. Дистанцирующий элемент

[52]

8. Приемное гнездо

[53]

9. Передний обтекатель

[54]

10. Зажимные винты

Как компенсировать расходы
на инновационную разработку
Похожие патенты