патент
№ RU 2419560
МПК B60Q1/04

БАМПЕР В АВТОМОБИЛЕ ИЛИ ДЛЯ АВТОМОБИЛЯ

Авторы:
ЛИКАР Мартин (DE) ФАЙД Томас (DE) ШНАЙДЕР Ингольф (DE)
Все (4)
Номер заявки
2008150496/11
Дата подачи заявки
15.05.2007
Опубликовано
27.05.2011
Страна
RU
Дата приоритета
16.12.2025
Номер приоритета
Страна приоритета
Как управлять
интеллектуальной собственностью
Чертежи 
4
Реферат

Группа изобретений относится к области машиностроения, а именно к конструкции бампера и автомобилю с такой конструкцией бампера. В бампере расположен корпус фары, жестко соединенный с кузовом автомобиля. Устройство для позиционирования корпуса фары относительно бампера вдоль оси Z имеет первое приемное средство, на котором установлен бампер, первый запирающий элемент жестко связан с первым приемным средством и находится в зацеплении с корпусом фары с возможностью перемещения вдоль оси X. Первый запирающий элемент имеет вдоль оси Z по существу перпендикулярно к оси Х фиксированное расстояние от первого приемного устройства. Автомобиль имеет бампер, указанной выше конструкции. Достигается предотвращение повреждения корпуса фары при столкновении автомобиля на относительно низкой скорости. 2 н. и 8 з.п. ф-лы, 5 ил.

Формула изобретения

1. Конструкция (1) бампера в автомобиле, содержащая бампер (3), по меньшей мере один, по меньшей мере частично расположенный на бампере (3) корпус (2) фары, который жестко соединен с кузовом автомобиля, устройство (5) для позиционирования корпуса (2) фары относительно бампера (3) вдоль оси Z, имеющее
первое приемное средство (6), на котором установлен бампер (3);
первый запирающий элемент (7), жестко связанный с первым приемным средством (6), и находящийся в зацеплении с корпусом (2) фары с возможностью перемещения вдоль оси X,
причем первый запирающий элемент (7) имеет вдоль оси Z, по существу перпендикулярно к оси Х фиксированное расстояние (FB) от первого приемного устройства (6).

2. Конструкция бампера по п.1, отличающаяся тем, что ось Х расположена в продольном направлении автомобиля, а ось Z расположена в вертикальном направлении автомобиля.

3. Конструкция бампера по п.1 или 2, отличающаяся тем, что конструкция (1) бампера содержит держатель (4) бампера, который несет бампер (3), причем устройство (5) укреплено на держателе (4) бампера.

4. Конструкция бампера по одному из п.1 или 2, отличающаяся тем, что бампер (3) содержит второй запирающий элемент (11), который находится в зацеплении с первым приемным элементом (6) устройства (5), причем предусмотрена усиливающая часть (20), которая установлена на бампере (3) и которая содержит второй запирающий элемент (11), а второй запирающий элемент (11) имеет поперечное сечение (20а) в форме крюка и/или уголка.

5. Конструкция бампера по п.1 или 2, отличающаяся тем, что устройство содержит первое поперечное сечение в плоскости x-z, имеющее первый, второй и третий участки (5а, 5b, 5с), причем между первым и третьим участками (5а, 5с) расположен второй участок (5b), соединяющий первый и третий участки (5а, 5с), причем первый и третий участки (5а, 5с) развернуты относительно второго участка (5b) в противоположном направлении, причем первый участок (5а) содержит первый запирающий элемент (7) и/или третий участок (5с) содержит первый приемный элемент (6) и/или крепежный участок (12), на котором устройство (5) укреплено на держателе (4) бампера, и, по меньшей мере один из участков (5а, 5b, 5с) содержит усиливающее ребро (17а, 17b, 17с).

6. Конструкция бампера по п.4, отличающаяся тем, что первый приемный элемент (6) выполнен в виде выступа (21) для навешивания второго крепежного элемента (11).

7. Конструкция бампера по п.1 или 2, отличающийся тем, что первый запирающий элемент (6) устройства (5) выполнен в виде вставного элемента (24).

8. Конструкция бампера по п.1 или 2, отличающаяся тем, что корпус (2) фары содержит второй приемный элемент (10), который находится в зацеплении с первым запирающим элементом (7), причем второй приемный элемент (10) корпуса (2) фары выполнен в виде линейной направляющей (19), в которую с возможностью перемещения вставлен первый запирающий элемент (7), а линейная направляющая (19) проходит по существу в продольном направлении (х) автомобиля.

9. Конструкция бампера по п.1 или 2, отличающаяся тем, что устройство (5) содержит пластиковый материал и/или усиленный стекловолокном пластиковый материал.

10. Автомобиль с кузовом (4а), причем на кузове (4а) закреплена конструкция (1) бампера по оному из пп.1-9, и при этом передняя часть и/или задняя часть автомобиля имеет упомянутую конструкцию бампера.

Описание

[1]

Изобретение касается конструкции бампера в автомобиле или для автомобиля или автомобиля, который содержит такую конструкцию бампера.

[2]

Обычные конструкции бампера содержат бампер и частично приданные бамперу корпуса фар. Настоящее изобретение, как и положенная в его основу проблематика, хотя и является применимым к любым типам конструкций бамперов и типам автомобилей, поясняются в последующем более подробно со ссылкой на конструкцию бампера передней части автомобиля.

[3]

Существуют два существенных конструктивно-технических требования к конструкциям бамперов такого типа.

[4]

Первое требование касается расстояния между краем бампера и краем корпуса фары. Это расстояние называется также шириной зазора и играет важную роль для внешнего облика автомобиля. Следовательно, соблюдение постоянной ширины зазора является эстетическим и одновременно критическим требованием пользователя. Бампер изготавливается обычно из упругого материала и имеет относительно своего поперечного сечения большую длину. В частности, под воздействием вертикальных ускорений автомобиля в процессе движения и силы тяжести может произойти скручивание бампера и тем самым нежелательное изменение ширины зазора.

[5]

Второе требование к таким конструкциям бампера заключается в том, что при фронтальном столкновении автомобиля при низких скоростях должно быть предотвращено повреждение конструктивных элементов, в частности корпусов фар. Например, в заявке DE 10336362 A1 описано устройство, которое жестко соединяет между собой корпус фары и бампер. При такой конструкции соударение с бампером ведет к тому, что происходит вырывание устройства в его точках крепления на кузове и повреждение крепежа корпуса фары на устройстве. Следовательно, при ремонте необходимо заменять корпус фары, что влечет за собой высокие расходы.

[6]

Исходя из этого задачей настоящего изобретения является разработка улучшенной конструкции бампера. Еще одна задача заключается в поддержании постоянной ширины зазора между бампером и корпусом фары, причем должно предотвращаться повреждение корпуса фары при соударении бампера.

[7]

В соответствии с изобретением по меньшей мере одна из этих задач решается с помощью конструкции бампера с признаками пункта 1 формулы изобретения и/или автомобиля с признаками пункта 10 формулы изобретения.

[8]

В соответствии с этим заявляется конструкция бампера в автомобиле или для автомобиля с бампером, содержащая по меньшей мере один по меньшей мере частично расположенный в бампере корпус фары, устройство для позиционирования корпуса фары относительно бампера, первый приемный элемент, на который устанавливается бампер, первый запирающий элемент, который жестко соединен с первым приемным элементом, причем первый запирающий элемент выполнен с возможностью перемещения вдоль оси Х в фиксирующем зацеплении с корпусом фары, причем первый запирающий элемент вдоль оси Z, в основном перпендикулярно к оси Х, расположен на фиксированном расстоянии от первого приемного элемента.

[9]

Кроме того, заявлен автомобиль с кузовом, на котором установлен бампер вышеуказанной конструкции.

[10]

Преимуществом настоящего изобретения по сравнению с вышеуказанными известными надстраиваемыми конструкциями является то, что устройство для позиционирования корпуса фары относительно бампера создает, во-первых, неизменное расстояние между корпусом фары и бампером, за счет чего обеспечивается постоянная ширина зазора. С другой стороны, обеспечивается возможность движения бампера в продольном направлении автомобиля при ударе, что препятствует повреждению корпуса фары. Это основано на том, что соединение между корпусом фары и бампером деблокирует относительное движение в продольном направлении автомобиля и препятствует относительному движению в вертикальном направлении автомобиля.

[11]

В зависимых пунктах формулы изобретения приведены предпочтительные варианты осуществления изобретения.

[12]

Предпочтительно, чтобы ось Х была расположена в продольном направлении автомобиля, а ось Z была расположена в вертикальном направлении автомобиля. Поскольку при столкновении автомобиля бампер обычно смещается в продольном направлении автомобиля, первый запирающий элемент должен быть выполнен также с возможностью смещения в этом направлении. Кроме того, предпочтительно удалять корпус фары от бампера, так как корпус фары обычно расположен выше в бампере. Ось У проходит в автомобиле в поперечном направлении.

[13]

В настоящей заявке под понятием «в основном перпендикулярно» следует понимать угол от 60° до 120°. «Ось Х в продольном направлении» или «ось Z в вертикальном направлении автомобиля» содержит также отклонение от того или иного направления автомобиля в диапазоне до 30°, предпочтительно до 10°.

[14]

Предпочтительно также, чтобы конструкция бампера содержала держатель бампера, несущий бампер, причем устройство закреплено на держателе бампера. Под «держателем бампера» предпочтительно подразумевается поперечный держатель с передней части автомобиля. При этом крепление устройства осуществляется предпочтительно так, что бампер в направлении Z опирается об устройство в области передней части. За счет этого может достигаться постоянная ширина зазора. При этом устройство укреплено на держателе бампера. Предпочтительно, чтобы крепление между держателем бампера и устройством позиционирования фары было предусмотрено так, чтобы крепление вдоль оси Х могло быть легко разъединено. Предпочтительно, чтобы элемент, предусмотренный для крепления устройства позиционирования фары на держателе бампера, содержал место заданного надлома при нагрузке в продольном направлении автомобиля. Тем самым достигается контролируемое отделение устройства от держателя бампера при соударении бампера. Без такого места заданного надлома возможно существенное деформирование устройства позиционирования фары бампером и соответственно возможно повреждение корпуса фары.

[15]

Предпочтительно также, чтобы бампер содержал второй запирающий элемент, который находится в зацеплении с первым запирающим элементом устройства. Это позволяет обычным бамперам находится в состоянии зацепления с устройством позиционирования фары и поэтому обеспечивает возможность расположения бампера на указанном устройстве.

[16]

Предпочтительно, чтобы была предусмотрена усиливающая часть, которая нанесена на бампер и которая содержит второй запирающий элемент. Преимуществом выполнения второго запирающего элемента в качестве отдельного элемента, о который бампер опирается в области передней части ниже корпуса фары, является то, что можно предотвратить локальное деформирование бампера в месте, в котором бампер соединен с устройством позиционирования фары. Из этого следует постоянная ширина зазора в продольном направлении зазора.

[17]

В частности, второй запирающий элемент имеет поперечное сечение в форме крюка и/или уголка. Такое выполнение второго запирающего элемента ведет к упрощению монтажа бампера на устройстве, в частности, путем навешивания.

[18]

Предпочтительно также, чтобы устройство позиционирования фары содержало первое поперечное сечение в плоскости Х-Z, имеющее первый, второй и третий участки, между первым и третьим участками был расположен второй участок, второй участок соединял первый и третий участки, а первый и третий участки были обращены в угловом отношении от второго участка в противоположных направлениях. Выполненное таким образом устройство отличается простотой изготовления при достижении желаемой функциональности.

[19]

Предпочтительно, чтобы первый участок образовывал первый запирающий элемент и/или третий участок образовывал первый приемный элемент и/или крепежный участок, на котором устройство позиционирования фары было бы укреплено на держателе бампера. Это обеспечивает возможность технически просто и с соблюдением эстетических норм расположить бампер и корпус фары на устройстве позиционирования фары. При этом предпочтительно, чтобы бампер и корпус фары опирались на третий или первый участок. Кроме того, поверхность бампера при креплении бампера в продольном направлении автомобиля при соударении воздействует на второй участок. Это ведет к отсоединению устройства от держателя бампера, причем первый участок с помощью выравнивания в продольном направлении автомобиля обеспечивает возможность зацепления с возможностью перемещения в продольном направлении автомобиля.

[20]

Предпочтительно, чтобы по меньше мере один участок содержал по меньшей мере одно усиливающее ребро. За счет этого повышается грузоподъемность указанного устройства, что способствует улучшенному опиранию корпуса фары в вертикальном направлении автомобиля и, таким образом, обеспечивает постоянную ширину зазора.

[21]

Кроме того, предпочтительно, чтобы первый приемный элемент был выполнен в качестве выступа для подвешивания второго запирающего элемента. За счет этого достигается простота процесса монтажа.

[22]

Предпочтительно также, чтобы первый запирающий элемент устройства позиционирования был выполнен в виде вставного элемента. В конструктивно-техническом отношении это позволяет осуществить простое соединение между устройством и корпусом фары, которое может перемещаться вдоль продольного направления автомобиля и препятствует смещению корпуса фары относительно устройства в вертикальном направлении автомобиля. Кроме того, возможен высокоскоростной монтаж вставного элемента.

[23]

Предпочтительно, чтобы корпус фары содержал второй приемный элемент, входящий в зацепление с первым запирающим элементом. За счет этого достигается эффективное соединение между корпусом фары и первым запирающим элементом.

[24]

Предпочтительно, чтобы второй приемный элемент корпуса фары был выполнен в качестве линейной направляющей, которая вставляется в первый запирающий элемент с возможностью перемещения. Такое соединение благоприятно в конструктивно-техническом смысле и обеспечивает возможность относительного движения между корпусом фары и устройством в продольном направлении автомобиля. Предпочтительно, чтобы линейная направляющая была выровнена при этом в основном в продольном направлении автомобиля. Это обеспечивает свободное от напряжений перемещение устройства в линейном направлении, если при соударении устройство позиционирования с помощью бампера смещается в продольном направлении автомобиля.

[25]

Предпочтительно, чтобы устройство позиционирования содержало пластиковый материал и/или усиленный стекловолокном материал. Это облегчает изготовление устройства позиционирования при низкой стоимости, особенно при изготовлении устройства методом литья под давлением.

[26]

Предпочтительно также, чтобы передняя часть автомобиля и/или задняя часть автомобиля содержала бампер вышеуказанной конструкции. Именно эти области автомобиля чаще всего подвержены легким соударениям, например, при парковке. В этом случае соответствующая изобретению конструкция бампера позволяет при соударениях предотвращать повреждение фар.

[27]

В дальнейшем изобретение поясняется описанием вариантов его осуществления со ссылками на сопровождающие чертежи.

[28]

Фиг.1 изображает сечение конструкции бампера согласно первому варианту осуществления изобретения;

[29]

фиг.2А - вид спереди конструкции бампера согласно второму варианту;

[30]

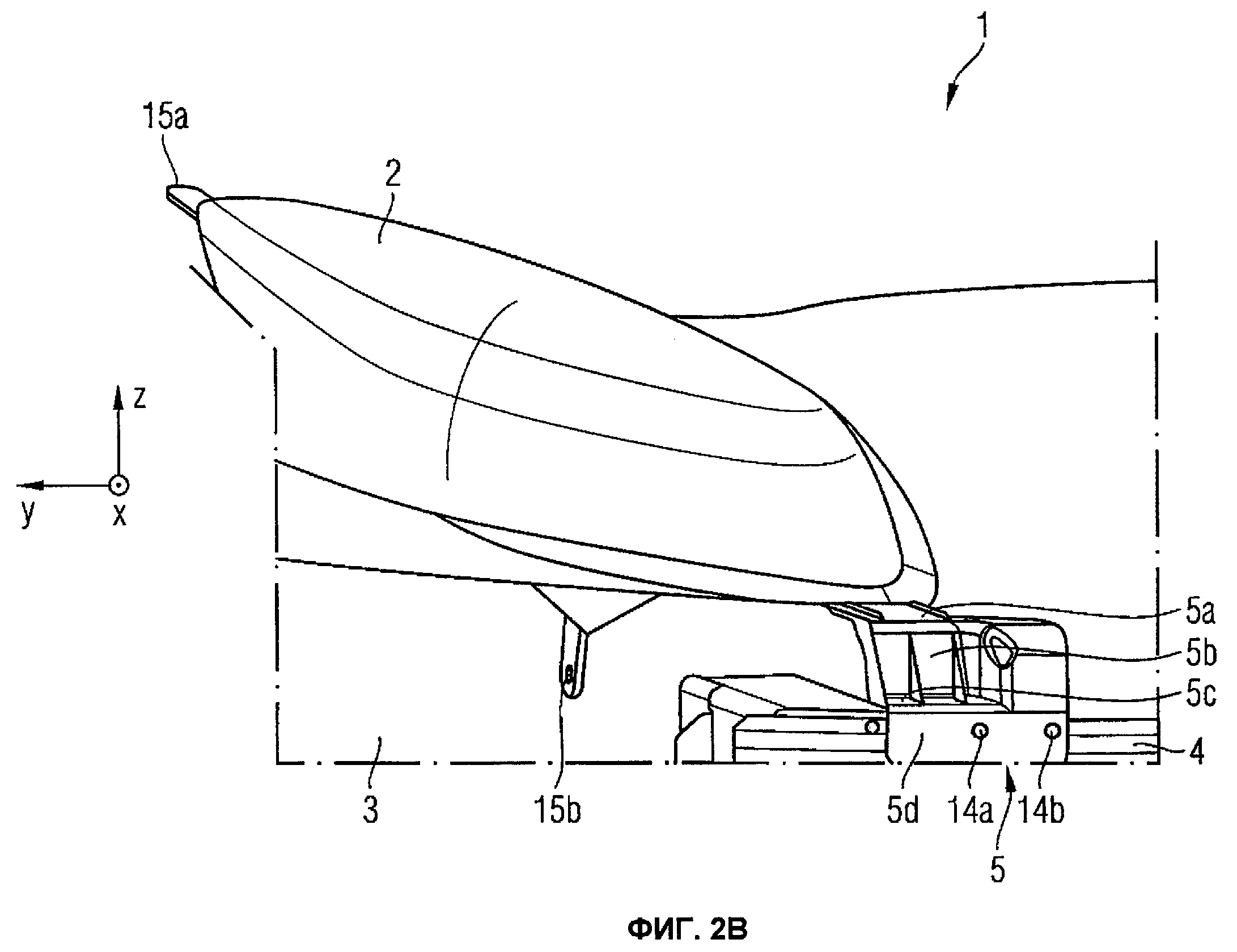
фиг.2B - деталировках конструкции бампера по фиг.2А;

[31]

фиг.2С - вид в изометрии конструкции бампера по фиг.2В;

[32]

фиг.2D - сечение конструкции бампера по фиг.2А.

[33]

На всех чертежах одни и те же или выполняющие одинаковые функции элементы - если не указано иного - снабжены одними и теми же ссылочными обозначениями.

[34]

Фиг.1 показывает сечение конструкции 1 бампера согласно первому варианту осуществления. Корпус 2 фары расположен с бампером 3 на держателе 4 бампера автомобиля. Как корпус 2 фары, так и держатель 4 бампера жестко соединены с кузовом автомобиля в точках 8 или 9 крепления.

[35]

Устройство 5 на крепежном участке 12 соединено с держателем 4 бампера. Устройство 5 позиционирует корпус 2 фары относительно бампера 3. С помощью устройства 5, которое несет бампер 3 и корпус 2 фары, верхняя кромка 3а бампера 3 и нижняя кромка 2а корпуса фары образуют проходящий в У-направлении у зазор с неизменной шириной FB зазора.

[36]

Устройство 5 содержит первое приемное средство 6, на которое устанавливается бампер 3. Кроме того, устройство 5 оснащено первым запирающим элементом 7, который жестко соединен с первым приемным элементом 6.

[37]

Корпус 2 фары также оснащен вторым приемным элементом 10, в который входит первый запирающий элемент 7 устройства 5. Бампер 3 содержит второй запирающий элемент 11, который находится в зацеплении с первым приемным элементом 6.

[38]

Первый запирающий элемент 7 находится в зацеплении с возможностью перемещения вдоль Х-оси х с корпусом 2 фары. Кроме того, между верхней кромкой 3a бампера 3 и нижней кромкой 2a корпуса фары предусмотрен зазор FB, имеющий постоянную ширину.

[39]

Устройство 5 содержит первое поперечное X-Z-сечение x, z с первым, вторым и третьим участками 5а, 5b, 5c, причем между первым и третьим участками 5а, 5c расположен второй участок 5b, соединяющий первый и третий участки 5a, 5c, причем первый и третий участки 5a, 5b развернуты вдоль оси Х в противоположных направлениях относительно второго участка 5b, перпендикулярного им.

[40]

При воздействии усилия К в продольном направлении х при соударении бампера, например, с автомобилем при парковке на медленном ходу, бампер 3 упруго колеблется в области, которая окружает корпус 2 фары в Х-направлении х.

[41]

При колебательном прогибании бампера 3 в Х-направлении х он воздействует на своих граничных поверхностях 3b на второй участок 5b устройства 5. Это обуславливает упругую деформацию устройства 5 и/или его отделение от крепежного участка 12.

[42]

Отделение устройства 5 от крепежного участка 12 может быть предусмотрено с помощью позиции заданного надлома крепежного элемента (не изображена) или содержащейся в самом устройстве 5 позиции заданного надлома.

[43]

Это деформирование или это отделение от крепежного участка обуславливает смещение первого запирающего элемента 7 в Х-направлении х относительно корпуса 2 фары. Первый запирающий элемент 7 перемещается теперь только во втором приемном элементе 10 в Х-направлении х. В итоге не происходит повреждения корпуса 2 фары или второго приемного элемента 10.

[44]

В дальнейшем приводится описание второго варианта осуществления, который в основном базируется на первом варианте.

[45]

На фиг.A показан вид спереди конструкции 1 бампера по второму варианту выполнения. Корпус 2 фары расположен частично внутри бампера 3. Конструкция 1 бампера содержит зазор 13 между корпусом 2 фары и бампером 3.

[46]

На фиг.2B показан детальный вид по фиг.2А. В отличие от фиг.2A фиг.2B показывает устройство 5, а также держатель 4 бампера, к котором привинчено устройство 5. Крепежный участок 12 содержит следующий участок 5d, который развернут в основном под прямым углом к третьему участку 5с. Устройство 5, предпочтительно крепежный участок 12, содержит два крепежных отверстия 14а, 14b для крепления устройства 5 на держателе 4 бампера. Корпус 2 фары с помощью ушек 15а, 15b укреплен на частях кузова автомобиля (не изображен).

[47]

Фиг.2С показывает вид в изометрии конструкции бампера по фиг.2B. В отличие от первого варианта устройство 5 содержит уголок 16, который повышает жесткость устройства 5. Два плеча уголка 16а, 16b содержат в своей точке соединение фазу 16с.

[48]

Далее, участки 5а, 5b, 5c оснащены усиливающими ребрами 17а, 17b, 17с, которые повышают жесткость устройства 5, в частности, в Z-направлении z.

[49]

Первый участок 5а устройства 5 выполнен в качестве вставного элемента 24 и содержит в Х-направлении х поперечные ребра 18а, 18b. Поперечные ребра 18а, 18b входят в соответствующие пазы (не изображены) в линейную направляющую 19 (изображена на фиг.2D), которая нанесена, в частности, сформована в качестве единого элемента на корпусе 2 фары. Тем самым предотвращается смещение корпуса фары в У-направлении у.

[50]

Фиг.2D изображает сечение согласно фиг.2B в плоскости X-Z конструкции 1 бампера.

[51]

Бампер 3 содержит зазор 13 с шириной FB зазора относительно корпуса 2 фары. На бампере 3 укреплена усиливающая часть 20, например, пружинно-зажимным способом. Усиливающая часть 20 имеет углообразное поперечное сечение 20а, которое входит в выступ 21 устройства 5. Выступ образован ступенчатым расположением участков 5a, 5b, 5c устройства 5.

[52]

Устройство 5 крепится к держателю 4 бампера с помощью болтов 22, которые вставляются через отверстия 14а, 14b. Для поглощения энергии соударения между бампером 3 и держателем 4 бампера введена вспененная масса.

[53]

На своем, выполненном в качестве вставного элемента 24 участке 5а устройство введено в линейную направляющую 19. При столкновении часть энергии столкновения принимает вспененная масса 23. Затем верхняя область 3b бампера 3 прогибается в направлении Х. При этом усиливающая часть 20 воздействует на второй и/или третий участки 5b, 5c устройства. В результате этого устройство 5 деформируется и/или отделяется от своего крепления на своем крепежном участке 12 от держателя бампера. В частности, болт 22 может быть выполнен в качестве места заданного надлома. Деформация устройства 5 и/или отделение устройства 5 обуславливает смещение вставного элемента 24 в Х-направлении х в линейной направляющей 19.

[54]

После соударения бампер 3 вновь выгибается назад в исходное положение, показанное на фиг.2. В случае, если устройство 5 в результате соударения подверглось только упругой деформации, ширина зазора после соударения соответствует ширине FB зазора при исходном состоянии.

[55]

Таким образом может эффективно предотвращаться повреждение корпуса 2 фары. Кроме того, с помощью соответствующего изобретению устройства 5 обеспечивается зазор 13 с неизменной шириной зазора.

[56]

В рамках общей заявки под корпусом фары следует понимать также рассеиватель фары и/или фару.

[57]

Изобретение не ограничивается изображенной на представленных чертежах специальной конструкцией бампера для автомобиля или в автомобиле, который содержит соответствующую изобретению конструкцию бампера.

[58]

Так, например, настоящее изобретение может быть применено также для других элементов обшивки и/или корпусов, например для облицовки или корпуса указателя поворота.

[59]

Далее, геометрическая форма конструкции бампера может модифицироваться многочисленными способами. Например, устройство может иметь S-образную или другую, углообразную конструкцию.

[60]

Кроме того, при дальнейшей модификации соответствующей изобретению конструкции бампера могут использоваться несколько таких устройств.

Как компенсировать расходы
на инновационную разработку
Похожие патенты