патент
№ RU 2413925
МПК F42B23/04

ПРОТИВОТАНКОВАЯ КУМУЛЯТИВНАЯ МИНА РУЧНОЙ УСТАНОВКИ

Авторы:
Самсонов Евгений Ильич Попов Виктор Александрович Балыков Евгений Николаевич
Все (6)
Номер заявки
2009125990/11
Дата подачи заявки
06.07.2009
Опубликовано
10.03.2011
Страна
RU
Как управлять
интеллектуальной собственностью
Чертежи 
5
Реферат

Изобретение относится к противотанковой кумулятивной мине ручной установки. Мина содержит устройство ручного запуска с пусковым механизмом, удлиненный корпус в виде полуцилиндра с желобообразной кумулятивной облицовкой, расположенной в плоской части корпуса, заряд взрывчатого вещества, взрывательное устройство, размещенное в торце корпуса, с предохранительно-исполнительным механизмом, имеющим датчик давления и температуры, два одновременно срабатывающих инициатора, соединенных между собой и передаточным зарядом детонирующими шнурами, складное ориентирующее устройство. В полость кумулятивной облицовки установлен вкладыш из пористого материала. Ориентирующее устройство закрыто тонкостенной крышкой, имеющей желобообразный выступ, размещенный соосно с кумулятивной облицовкой. Крышка удерживается на мине пружинной скобой. На корпусе устройства ручного запуска закреплена плоская пружина в виде полукольца с выступами, входящими в пазы полуцилиндрической части корпуса мины. Пусковой механизм с капсюлем-воспламенителем размещен во втулке и имеет подпружиненный ударник, удерживаемый шариком, накладкой и плотно обернутой на ней гибкой чекой в виде капроновой нити. Один конец нити удерживается ее витками, размещенными внутри втулки пускового механизма, а второй закреплен на герметизирующем транспортном колпачке. Повышается эффективность действия на местности. 6 ил.

Формула изобретения

Противотанковая кумулятивная мина ручной установки, содержащая корпус в виде удлиненного полуцилиндра с пазами на его цилиндрической части, взрывательное устройство с предохранительно-исполнительным механизмом, складное ориентирующее устройство в виде подпружиненного тканевого чехла и устройство ручного запуска взрывательного устройства, при этом плоская часть корпуса мины выполнена в виде кумулятивной облицовки с размещенным в ее полости вкладышем из пористого материала, складное ориентирующее устройство закреплено снаружи на плоской части корпуса мины и закрыто в транспортном положении тонкостенной крышкой с желобообразным выступом, расположенным соосно с кумулятивной облицовкой и удерживаемой с помощью пружинной скобы, надетой на корпус мины, взрывательное устройство и предохранительно-исполнительный механизм размещены на торце корпуса мины и содержат соответственно датчик температуры и давления, передаточный заряд и два инициатора, соединенные между собой и с передаточным зарядом детонирующими шнурами, устройство ручного запуска содержит пусковой механизм в виде втулки с капсюлем воспламенителем, соосно расположенным с датчиком температуры и давления взрывателя, подпружиненным ударником, удерживаемым в транспортном положении шариком, а сам шарик - накладкой и плотно обернутой на ней гибкой чекой в виде капроновой нити, один конец которой удерживается ее витками, размещенными на нем внутри втулки, а второй - закреплен на герметизирующем транспортном колпачке, причем сама втулка закреплена на корпусе мины с помощью плоской пружины в виде полукольца с выступами, входящими в соответствующие пазы его цилиндрической части.

Описание

[1]

Изобретение относится к боеприпасам, а именно к устройству противотанковой кумулятивной мины ручной установки.

[2]

Противотанковые кумулятивные мины, устанавливаемые на грунт и в грунт, предназначены для минирования местности вручную против бронетанковой и автомобильной техники противника.

[3]

Опыт последних локальных войн и вооруженных конфликтов показывает необходимость применения противотанковых кумулятивных мин ручной установки подвижными саперными отрядами заграждений, спецподразделениями воздушно-десантных войск, разведывательными подразделениями и др. для устройства минных засад, минирования различных дефиле, грунтовых дорог и др. участков местности против бронетанковой и автотранспортной техники противника.

[4]

Наряду с требованиями по обеспечению эффективности поражающего действия противотанковые кумулятивные мины ручной установки должны допускать переноску бойцами спецподразделений в рюкзаках, вещмешках на себе, при этом мины должны иметь наименьшую массу, позволять быструю установку на местности, в том числе броском с движущейся автотранспортной техники и вертолетов.

[5]

Известны следующие штатные противотанковые мины ручной установки («Оружие России», Каталог, т.VII, «Высокоточное оружие и боеприпасы», АОЗТ «Военный парад», М., 1997 г., стр.638):

[6]

- противотанковые фугасные мины серии ТМ-62;

[7]

- противотанковая кумулятивная противоднищевая мина ТМ-72;

[8]

- противотанковая кумулятивно-фугасная мина ТМ-89 и др.

[9]

Указанные противотанковые мины обеспечивают поражение бронетанковой и автотранспортной техники, однако существенным недостатком этих мин, затрудняющим их применение при переноске на себе саперными, разведывательными и др. спецподразделениями, в особенности в условиях горной и пересеченной местности, является их большая масса - до 12 кг и более, что не позволяет бойцу переносить более 1-2 мин.

[10]

Анализ показывает, что противотанковые мины ручной установки не обеспечивают эффективное выполнение боевых задач спецподразделениями из-за их большой массы и габаритов.

[11]

Известна также противотанковая кумулятивная мина дистанционной установки (патент №2254552 от 25 декабря 2003 г., Российская Федерация, RU 2254552 C1, МПК F42B 23/04, опубликовано 20.06.2005 в бюллетене №17), которая может устанавливаться в зоне минирования в составе кассет с вертолета, наземных минных заградителей и при помощи переносной ручной системы дистанционного минирования с поверхности грунта («Инженерные боеприпасы. Руководство по материальной части», Книга 5, МО СССР, 1987 г., стр.81).

[12]

Переносная ручная система дистанционного минирования с поверхности грунта предназначена для быстрой установки локальных противотанковых и противопехотных минных полей путем отстрела кассетных мин из кассет ствольного типа с поверхности земли в заданном направлении на дальность порядка 50…100 м.

[13]

Недостатками этой переносной ручной системы дистанционного минирования с поверхности грунта являются:

[14]

- кассета для отстрела мин устанавливается на поверхности грунта, что является демаскирующим признаком;

[15]

- отстрел мин из кассеты производится по команде оператора, который должен находиться на расстоянии 15 метров, что требует развертывания проводной линии и применения подрывной машинки;

[16]

- для подготовки к работе системы и кассет с минами к срабатыванию требуется около 10 подготовительных операций и определенное, достаточно большое время;

[17]

- громоздкие комплектующие части системы и кассет с минами ограничивают переноску на себе саперными и спецподразделениями, т.к. общая масса одной ручной системы дистанционного минирования составляет не менее 11 кг;

[18]

- для отстрела мин из кассет при помощи известной ручной переносной системы дистанционного минирования из движущейся автотранспортной техники или из вертолета требуется применение дополнительных приспособлений из-за большой силы отдачи при выстреле;

[19]

- при отстреле кассетных противотанковых мин из ручной переносной системы дистанционного минирования мины, вследствие их аэродинамического разброса, могут не попасть на минируемую дорогу;

[20]

- при помощи ручной переносной системы дистанционного минирования кассетные мины не могут устанавливаться в грунт для их маскировки.

[21]

Указанная выше противотанковая кумулятивная мина дистанционной установки выбрана в качестве прототипа.

[22]

Целью настоящего изобретения является обеспечение возможности ручного применения, а также повышение эффективности действия на местности при установке в грунт кассетной противотанковой кумулятивной мины дистанционной установки.

[23]

Для достижения указанной выше цели (технического результата) заявителем предлагается новая противотанковая кумулятивная мина ручной установки, включающая противотанковую кумулятивную кассетную мину дистанционной установки типа ПТМ-4, содержащую, как известно, удлиненный корпус в виде полуцилиндра с желобообразной кумулятивной облицовкой, расположенной в плоской части корпуса, и пазами в его цилиндрической части, заряд взрывчатого вещества, взрывательное устройство, размещенное в торце корпуса, с предохранительно-исполнительным механизмом, имеющим датчик температуры и давления, а также передаточный заряд, два одновременно срабатывающих инициатора, соединенных между собой и передаточным зарядом детонирующими шнурами, складное ориентирующее устройство в виде подпружиненного тканевого чехла, закрепленное на плоской части корпуса, и устройство ручного запуска мины, стыкуемое при применении вплотную к торцу взрывательного устройства.

[24]

Новая противотанковая кумулятивная мина ручной установки, наряду с известными, характеризуется следующей совокупностью существенных признаков, обеспечивающих ей повышенные эксплуатационные параметры при ручной установке мины на местности.

[25]

Противотанковая кумулятивная мина дистанционной установки для ее применения вручную снабжена вкладышем из пористого материала, например вспененного полистирола, причем вкладыш установлен в полость желобообразной кумулятивной облицовки, что обеспечивает отсутствие воды, грязи и др. в этой полости при установке в различные грунты. При этом обеспечивается также сохранение эффективности кумулятивного действия по цели.

[26]

Ориентирующее устройство в сложенном положении закрыто тонкостенной крышкой, имеющей желобообразный выступ, размещенный соосно с кумулятивной облицовкой, при этом крышка удерживается на мине в транспортном положении пружинной скобой.

[27]

Для обеспечения взведения взрывательного устройства мины используется устройство ручного запуска, причем на корпусе устройства ручного запуска закреплена плоская пружина в виде полукольца с выступами, входящими в пазы полуцилиндрической части корпуса мины, и прочно удерживающая устройство ручного запуска на мине при применении.

[28]

Такая конструкция обеспечивает компактность и позволяет переносить мину в рюкзаках, вещмешках и др. и быстро устанавливать ее вручную в грунт или на грунт, при этом тонкостенная крышка с желобообразным выступом, размещенным соосно с кумулятивной облицовкой, обеспечивает формирование кумулятивной струи при установке мины с маскировочным слоем грунта, а пружинная скоба обеспечивает ее быстрое снятие, раскрытие подпружиненного ориентирующего устройства в виде тканевого чехла и возможность установки мины на местности броском из движущегося автомобиля или в люк летящего вертолета. При этом мина автоматически ориентируется на грунте желобообразной кумулятивной облицовкой в сторону верхней полусферы.

[29]

Включенное в состав заявляемой противотанковой кумулятивной мины ручной установки устройство ручного запуска имеет корпус с гнездом в виде полуцилиндра и пусковой механизм с капсюлем-воспламенителем накольного типа, стыкуемые при применении к торцу предохранительно-исполнительного механизма с датчиком температуры и давления взрывательного устройства мины, причем на корпусе устройства ручного запуска закреплена плоская пружина в виде полукольца с выступами, входящими в пазы полуцилиндрической части корпуса мины, и прочно удерживающая устройство ручного запуска на мине при применении.

[30]

Пусковой воспламенительный механизм с капсюлем-воспламенителем устройства ручного запуска имеет подпружиненный ударник, удерживаемый в транспортном положении шариком, накладкой и обернутой на нее гибкой чекой в виде капроновой нити, причем один конец нити удерживается ее витками, размещенными внутри втулки, а второй закреплен на герметизирующем транспортном колпачке, что обеспечивает надежность действия и безопасность устройства ручного запуска при применении комплекта.

[31]

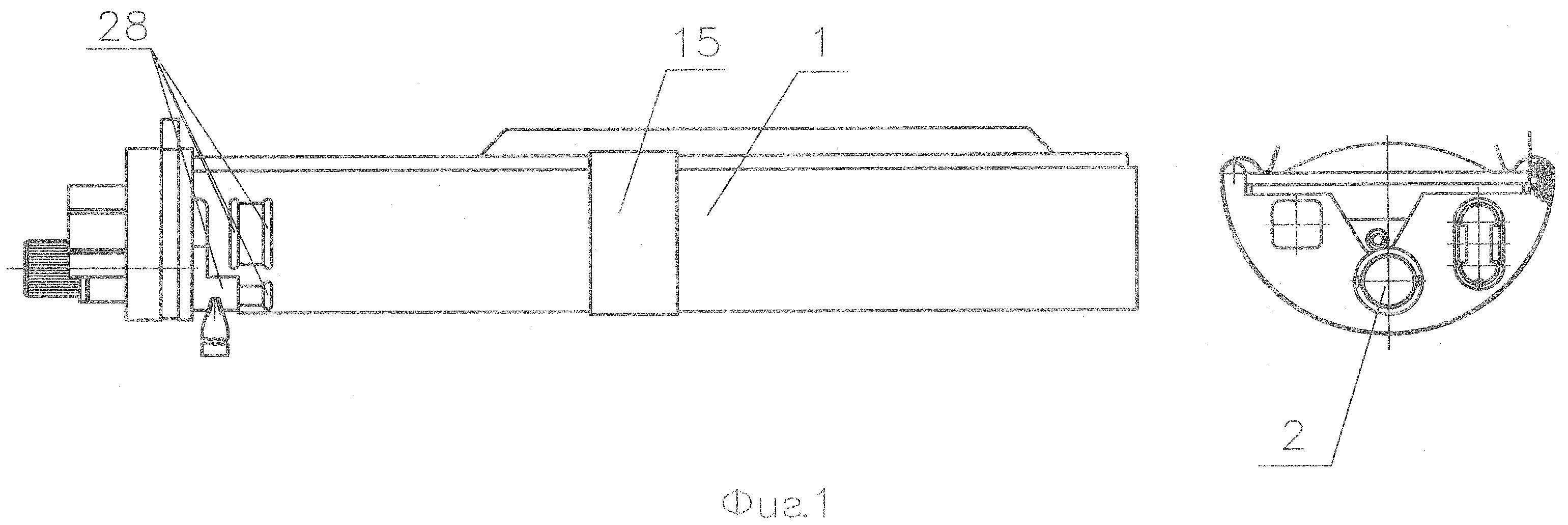
На фигуре 1 показан внешний вид противотанковой кумулятивной мины ручной установки.

[32]

На фигуре 2 показано устройство противотанковой кумулятивной мины с вкладышем из пористого материала и крышкой, имеющей желобообразный выступ.

[33]

На фигуре 3 показано устройство ручного запуска.

[34]

На фигуре 4 показана установка противотанковой кумулятивной мины ручной установки в грунте с маскировочным слоем.

[35]

На фигуре 5 показана установка противотанковой кумулятивной мины ручной установки на поверхности грунта.

[36]

На фигуре 6 показан принцип действия противотанковой кумулятивной мины ручной установки по танку.

[37]

Противотанковая кумулятивная мина ручной установки включает противотанковую кумулятивную мину дистанционной установки (1) и устройство ручного запуска (2).

[38]

Противотанковая кумулятивная мина дистанционной установки (1) содержит удлиненный корпус (3) с желобообразной кумулятивной облицовкой (4), расположенной в плоской части корпуса (3), заряд взрывчатого вещества (5), взрывательное устройство (6), размещенное в торце корпуса (3) с предохранительно-исполнительным механизмом, имеющим датчик температуры и давления (7), а также передаточный заряд (8), два одновременно срабатывающих инициатора (9), соединенных между собой и передаточным зарядом (8) детонирующими шнурами (10), складное ориентирующее устройство (11) в виде подпружиненного тканевого чехла, закрепленное на плоской части корпуса (3), причем мина снабжена также вкладышем (12) из пористого материала, например вспененного полистирола, при этом вкладыш (12) установлен в полость желобообразной кумулятивной облицовки (4), ориентирующее устройство (11) в сложенном положении закрыто тонкостенной крышкой (13), имеющей желобообразный выступ (14), размещенный соосно с кумулятивной облицовкой (4), крышка (13) удерживается на мине в транспортном положении пружинной скобой (15).

[39]

Устройство ручного запуска (2) имеет корпус (16) с гнездом в виде полуцилиндра и пусковой механизм (17) с капсюлем-воспламенителем (18) накольного типа, стыкуемые при применении к торцу предохранительно-исполнительного механизма с датчиком температуры и давления (7) взрывательного устройства (6) мины, причем на корпусе (16) устройства ручного запуска закреплена плоская пружина (19) с выступами (20), входящими в пазы (28) цилиндрической части корпуса (3) мины, и прочно удерживающая устройство ручного запуска на мине при применении, при этом пусковой механизм (17) с капсюлем-воспламенителем (18) размещен во втулке (21) и имеет подпружиненный ударник (22), удерживаемый в транспортном положении шариком (23), накладкой (24) и плотно обернутый на нее гибкой чекой (25) в виде капроновой нити, причем один конец нити удерживается ее витками, размещаемыми внутри втулки (21), а второй конец закреплен на герметизирующем транспортном колпачке (26).

[40]

Заявляемая противотанковая кумулятивная мина ручной установки действует следующим образом.

[41]

Перед применением противотанковой кумулятивной мины ручной установки выкапывается лунка в грунте, устройство ручного запуска (2) пристыковывается к мине (1) со стороны взрывательного устройства, как это показано на фигуре 1, при этом плоская пружина (19) отжимается, и устройство ручного запуска своим корпусом (16) с гнездом в виде полуцилиндра надевается на мину таким образом, чтобы выступы (20) плотно вошли в соответствующие пазы корпуса (3) мины, при этом капсюль-воспламенитель (18) устройства ручного запуска (1) устанавливается напротив датчика температуры и давления (7) предохранительно-исполнительного механизма взрывательного устройства (6) мины.

[42]

Из взрывательного устройства (6) извлекается его штатная предохранительная чека (27), с устройства ручного запуска отворачивается транспортный колпачок (26) с закрепленным на нем концом капроновой нити гибкой чеки (25), нить вытягивается на неполную длину, после чего мина устанавливается в лунку и маскируется грунтом, как это показано на фигуре 4.

[43]

При выдергивании гибкой чеки (25) за колпачок (26) полностью ее капроновая нить разматывается во втулке (21) пускового механизма (17), освобождая при этом накладку (24), шарик (23) выкатывается в полость втулки (21), при этом подпружиненный ударник (22) накалывает капсюль-воспламенитель (18), который поджигает датчик температуры и давления (7) предохранительно-исполнительного механизма взрывательного устройства (6) мины.

[44]

После отработки штатного механизма дальнего взведения взрывательного устройства (6) мина устанавливается в режим ожидания цели поражения.

[45]

При наезде танка (29) или автотранспортной техники на мину, как это показано на фигуре 6, срабатывает штатный магнитный датчик взрывательного устройства (6), по электрическому сигналу которого срабатывает передаточный заряд (8), инициирующий штатный детонирующий шнур (10), при этом одновременно подрываются два штатных инициатора (9), которые в свою очередь инициируют с двух сторон штатный заряд взрывчатого вещества (5), под действием продуктов детонации которого вкладыш (12) из пористого материала, например вспененного полистирола, распыляется, из штатной желобообразной облицовки (4) в полости под тонкостенной крышкой (13), образованной ее желобообразным выступом (14), размещенным соосно с кумулятивной облицовкой (4), формируется высокоскоростная кумулятивная струя, которая пробивает тонкостенную крышку (13), а затем пробивает днище танка или автомобиля, поражая его агрегаты и экипаж.

[46]

При наезде на мину гусеницей танка или колесом автомобиля они разрушаются бризантным действием взрыва.

[47]

При отсутствии цели мина самоликвидируется по истечении заданного штатного времени самоликвидации.

[48]

При необходимости установки мины на местности броском с мины снимается скоба (15) и крышка (13), при этом штатное складное ориентирующее устройство (11) в виде подпружиненного тканевого чехла раскрывается, из устройства ручного запуска полностью выдергивается гибкая чека (25) в виде капроновой нити, после чего производится бросок мины рукой в нужное место на местности, при этом мина автоматически устанавливается на поверхности грунта в боевое положение аналогично мине дистанционной установки, при этом ориентирующее устройство сбрасывается с мины, как это показано на фигуре 5, чтобы не демаскировать мину.

[49]

После установки на грунте действие противотанковой кумулятивной мины ручной установки происходит аналогично описанному выше.

[50]

На заявленную противотанковую кумулятивную мину ручной установки разработана в полном объеме техническая документация. В соответствии с этой технической документацией изготовлена и испытана с положительными результатами партия мин, при этом общая масса мины составила не более 3,6 кг, что существенно меньше в сравнении с известными противотанковыми минами ручной установки.

[51]

Испытания показали, что противотанковые кумулятивные мины ручкой установки возможно переносить на себе в рюкзаках и вещмешках.

[52]

Приведенные испытания полностью подтвердили повышенные эксплуатационные параметры противотанковой кумулятивной мины ручной установки при сохранении боевой эффективности на уровне штатной кассетной мины дистанционной установки ПТМ-4.

[53]

Номер выноски на рисунках и его расшифровка:

[54]

1 - противотанковая кумулятивная мина;

[55]

2 - устройство ручного запуска;

[56]

3 - удлиненный корпус мины в виде полуцилиндра;

[57]

4 - желобообразная кумулятивная облицовка;

[58]

5 - заряд взрывчатого вещества;

[59]

6 - взрывательное устройство;

[60]

7 - датчик температуры и давления;

[61]

8 - передаточный заряд;

[62]

9 - одновременно срабатывающие инициаторы;

[63]

10 - детонирующие шнуры;

[64]

11 - ориентирующее устройство мины в виде подпружиненного тканевого чехла;

[65]

12 - вкладыш из пористого материала;

[66]

13 - тонкостенная крышка;

[67]

14 - желобообразный выступ крышки;

[68]

15 - пружинная скоба;

[69]

16 - корпус с гнездом в виде полуцилиндра;

[70]

17 - пусковой механизм;

[71]

18 - капсюль-воспламенитель накольного типа;

[72]

19 - плоская пружина;

[73]

20 - выступ плоской пружины:

[74]

21 - втулка пускового механизма;

[75]

22 - подпружиненный ударник;

[76]

23 - шарик;

[77]

24 - накладка;

[78]

25 - гибкая чека в виде капроновой нити;

[79]

26 - транспортный колпачок;

[80]

27 - штатная предохранительная чека взрывательного устройства мины;

[81]

28 - пазы на цилиндрической части корпуса мины;

[82]

29 - танк.

Как компенсировать расходы
на инновационную разработку
Похожие патенты