патент
№ RU 2411337
МПК E21B

СПОСОБ И УСТАНОВКА ДЛЯ БУРЕНИЯ СКВАЖИН В ПОРОДЕ

Авторы:
АХОЛА Эркки (FI) ЭСКО Маури (FI) МЯКИ Йорма (FI)
Все (6)
Номер заявки
2008118155/03
Дата подачи заявки
06.10.2006
Опубликовано
10.02.2011
Страна
RU
Дата приоритета
18.12.2025
Номер приоритета
Страна приоритета
Как управлять
интеллектуальной собственностью
Чертежи 
3
Реферат

Группа изобретений относится к области бурения скважины установками с выносным перфоратором. Способ бурения скважины в породе содержит перфоратор с прикрепленной к нему буровой штангой, на конце которой расположено буровое долото, и ударное приспособление и двигатель вращения, при котором буровая штанга и буровое долото вращаются двигателем вращения, и импульсы давления направляются ударным приспособлением через буровую штангу и буровое долото к породе для ее разрушения. Используемое буровое долото является коническим шарошечным долотом, и ударное приспособление способно создавать импульсы давления низкой амплитуды при высокой частоте так, что коэффициент нагрузки (α) бурового долота составляет, по меньшей мере, 0,075. Обеспечивает повышение эффективности бурения и увеличение размеров скважины экономичным и эффективным способом. 2 н. и 4 з.п. ф-лы, 3 ил.

Формула изобретения

1. Способ бурения скважины в породе с использованием буровой установки, содержащей выносной перфоратор (1) с прикрепленной к нему буровой штангой (2), на конце которой расположено буровое долото, ударное приспособление (1а) и двигатель (1b) вращения, при котором буровая штанга (2) и буровое долото вращаются двигателем вращения и импульсы давления направляются ударным приспособлением (1а) через буровую штангу (2) и буровое долото к породе для ее разрушения, отличающийся тем, что используемое буровое долото является коническим шарошечным долотом (3) и ударное приспособление (1а) способно создавать импульсы давления низкой амплитуды при высокой частоте так, что коэффициент нагрузки (α) бурового долота составляет, по меньшей мере, 0,075.

2. Способ по п.1, отличающийся тем, что частота импульса давления составляет, по меньшей мере, 200 Гц.

3. Способ по п.1 или 2, отличающийся тем, что максимальная амплитуда импульсов давления составляет 150 МПа, предпочтительно 100 МПа.

4. Установка для бурения скважины в породе, содержащая выносной перфоратор (1), буровую штангу (2), прикрепленную к перфоратору, и буровое долото, прикрепленное к концу буровой штанги (2), при этом перфоратор (1) содержит ударное приспособление (1а) для создания импульсов давления через буровую штангу (2) и буровое долото к породе и двигатель (1b) вращения для вращения буровой штанги (2) и бурового долота, отличающаяся тем, что буровое долото является коническим шарошечным долотом (3) и ударное приспособление (1а) способно направлять импульсы давления низкой амплитуды через буровую штангу (2) и буровое долото к породе при высокой частоте так, что коэффициент нагрузки (α) бурового долота составляет, по меньшей мере, 0,075.

5. Установка бурения по породе по п.4, отличающаяся тем, что ударное приспособление (1а) способно создавать импульсы давления при высокой частоте, соответствующей, по меньшей мере, 200 Гц.

6. Установка бурения по породе по п.4 или 5, отличающаяся тем, что ударное приспособление (1а) способно создавать импульсы давления, имеющие максимальную амплитуду, составляющую 150 МПа, предпочтительно 100 МПа.

Описание

[1]

Настоящее изобретение относится к способу для бурения скважин в породе с использованием установки для бурения по породе с выносным перфоратором, содержащей перфоратор, к которому прикреплена буровая штанга, на конце которой прикреплено буровое долото, ударное приспособление и двигатель вращения, при этом буровая штанга и буровое долото вращаются двигателем вращения, и импульсы давления направляются ударным приспособлением через буровую штангу и буровое долото к породе для разрушения породы. Изобретение также относится к установке для бурения скважин в породе, содержащей перфоратор, буровую штангу, прикрепленную к нему, и буровое долото, прикрепленное к концу буровой штанги, при этом перфоратор включает в себя ударное приспособление для направления импульсов давления через буровую штангу и буровое долото к породе, и двигатель вращения для вращения буровой штанги и бурового долота.

[2]

При бурении твердой породы используются буровые установки с выносным перфоратором, которые содержат перфоратор, буровую штангу, состоящую из одной или более взаимосвязанных частей, прикрепленных к ней, и инструмента на конце буровой штанги, т.е. бурового долота. В известных решениях буровое долото имеет неподвижное тело, на поверхности которого, обращенной в направлении бурения, расположены вставные твердые металлические зубья, которые выполняют фактическое разрушение породы воздействием импульса давления от ударного приспособления. Известные решения имеют недостаток, связанный с тем, что разрушение породы требует больших усилий, и поэтому твердые металлические зубья должны быть сконструированы в большей степени с учетом нагрузок, чем с учетом эффективного разрушения породы. Когда диаметр скважины увеличивается, количество зубьев, разрушающих забой скважины, следует также увеличивать. Увеличение количества зубьев приводит к трудностям проектирования буровых долот, потому что зубья должны быть нагружены равномерным образом. Тот факт, что на практике зубья нагружены относительно неравномерным образом, уменьшает скорость бурения.

[3]

Кроме того, также трудно бурить большие скважины, максимальный размер скважины составляет от 5,5 до 6 дюймов, буровыми установками с выносным перфоратором в связи с тем, что значительные проблемы уже возникают при бурении скважин, имеющих диаметр 5 дюймов. В известных буровых установках с выносным перфоратором количество энергии, требуемой для разрушения породы, также является очень высоким, типично приблизительно от 600 до 800 Дж. В существующих установках твердые металлические зубья буровых долот подвергаются чрезвычайно высокой деформации. Поскольку буровые долота воздействуют на породу с большим усилием, и зубья двигаются, скользя на поверхности породы, результатом является интенсивный износ, который должен приниматься во внимание при выборе формы зубьев.

[4]

Большие скважины, имеющие диаметр от 8 до 10 дюймов, типично бурятся вращательными бурами, работающими без удара и использующими буровые долота, снабженные вращательными коническими шарошками. Учитывая, что разрушение породы требует чрезвычайно большого статического усилия, установки вращательного бурения являются тяжелыми и требуют прочных оснований.

[5]

КРАТКОЕ ОПИСАНИЕ ИЗОБРЕТЕНИЯ

[6]

Целью настоящего изобретения является создание способа и устройства для бурения по породе, обеспечивающих повышение эффективности бурения и увеличение размеров скважины установками с выносным перфоратором экономичным и эффективным образом.

[7]

Способ согласно изобретению отличается тем, что используемое бурильное долото является коническим шарошечным долотом, и ударное приспособление создает импульсы давления низкой амплитуды при высокой частоте так, что коэффициент нагрузки бурового долота составляет, по меньшей мере, 0,075.

[8]

Установка бурения по породе согласно изобретению отличается тем, что буровое долото является коническим шарошечным долотом, и ударное приспособление способно направлять импульсы давления низкой амплитуды через буровую штангу и буровое долото к породе при высокой частоте так, что коэффициент нагрузки бурового долота составляет, по меньшей мере, 0,075.

[9]

Основная идея изобретения состоит в том, что установка бурения по породе с выносным перфоратором использует коническое шарошечное долото в качестве инструмента. Другой основной идеей изобретения является то, что при бурении используют импульсы давления низкой амплитуды, которые производятся при высокой частоте так, что коэффициент нагрузки бурового долота является большим и составляет, по меньшей мере, 0,075.

[10]

Настоящее изобретение имеет преимущество, заключающееся в том, что нагрузка на зубья уменьшается по сравнению с известными решениями, используемыми при бурении с выносным перфоратором. Подобным образом, усилие подачи значительно ниже, чем усилие подачи, требуемое в настоящее время во вращательном бурении. Так как амплитуда импульса давления малая, оборудование штанги, используемое для бурения, может быть сконструировано лучшим образом ввиду параметров, критических для бурения, таких как жесткость, промывка и т.д., в связи с тем, что напряжение в буровой штанге не ограничивает конструкцию. Дополнительным преимуществом изобретения является то, что коническое шарошечное долото обеспечивает симметричную нагрузку, которая не типична для обыкновенного бурового долота, в котором зубья на передней поверхности должны быть размещены несимметрично для обеспечения эффективного бурения. Еще одним преимуществом является то, что благодаря вращательному движению конического шарошечного долота трение бурения и износ инструмента значительно ниже, чем в доступных в настоящее время решениях.

[11]

КРАТКОЕ ОПИСАНИЕ ЧЕРТЕЖЕЙ

[12]

Настоящее изобретение описано ниже более подробно со ссылками на прилагаемые чертежи, на которых изображено следующее:

[13]

фиг.1 изображает схематический вид установки бурения по породе согласно изобретению;

[14]

фиг.2 схематично показывает усилие, действующее на буровое долото в традиционной установке бурения по породе с выносным перфоратором, так называемом вращательном буре, и установке бурения по породе согласно изобретению; и

[15]

фиг.3 показывает схематично усилия подобно фиг.2, имеющие другие значения.

[16]

ПОДРОБНОЕ ОПИСАНИЕ НЕКОТОРЫХ ВАРИАНТОВ ОСУЩЕСТВЛЕНИЯ ИЗОБРЕТЕНИЯ

[17]

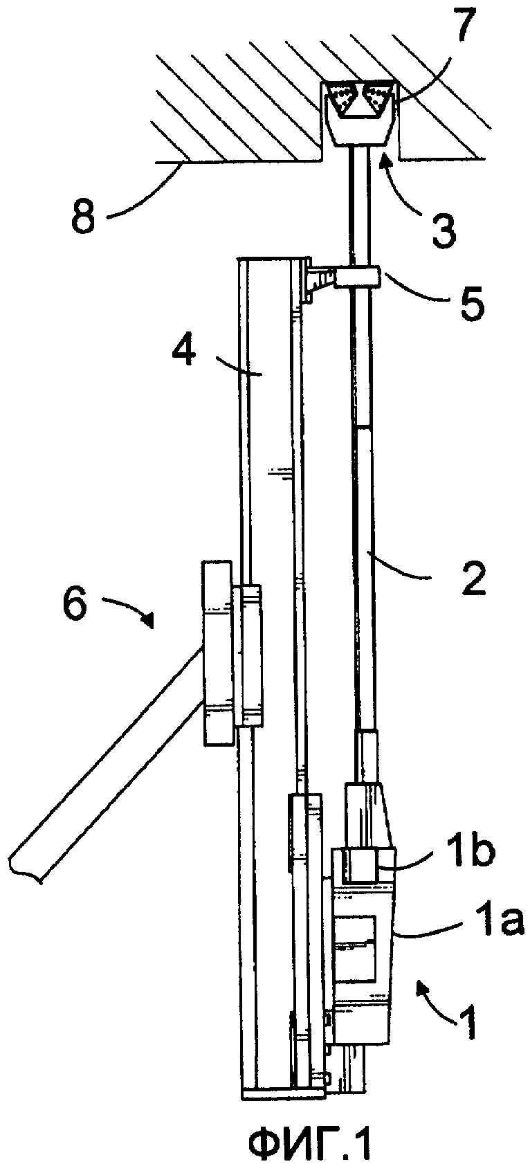
На фиг.1 показана установка для бурения по породе с выносным перфоратором, которая содержит перфоратор 1, буровую штангу 2, прикрепленную к перфоратору, и коническое шарошечное долото 3, прикрепленное на конце буровой штанги. Перфоратор 1 содержит ударное приспособление 1a и двигатель 1b вращения. Ударное приспособление 1a создает удары через буровую штангу 2 по коническому шарошечному долоту 3, и, соответственно, двигатель 1b вращения вращает буровую штангу и коническое шарошечное долото 3. Их структура и работа известны по сути и, поэтому, их не нужно описывать в больших подробностях.

[18]

Типично ударное приспособление движется известным образом и посредством известных подающих механизмов вдоль подающей балки 4, на конце которой расположена направляющая 5 для направления буровой штанги и, таким образом, долота во время бурения. Балка 4 соединена со стрелой 6 или ей подобным к основанию буровой установки (не показано). Эти конструкции и их действие общеизвестны и очевидны специалисту в данной области техники и поэтому не описаны подробно. В процессе бурения скважина 7 типично формируется в породе 8.

[19]

В данной установке ударное приспособление 1a создает импульсы давления при частоте от 200 до 1000 Гц, направляемые к буровой штанге 2 и через нее к долоту и к пробуриваемой породе. Когда буровое долото вращается двигателем 1b вращения, например, по меньшей мере, от 250 до 300 оборотов в минуту, буря скважину с диаметром, равным 100 мм, коническое шарошечное долото 3 поворачивается так, что при поступлении каждого импульса давления зубья долота в соприкосновении с породой находятся всегда на другой позиции, отличной от позиции при поступлении предшествующего импульса давления. Амплитуда импульса давления, поданного к коническому шарошечному долоту, является небольшой, типично 100 МПа, и имеет наибольшее значение, равное 150 МПа. При контакте с породой только нескольких зубьев конического шарошечного долота, которое типично включает в себя три вращающихся шарошки, снабженных твердыми металлическими зубьями, возможно приложить достаточное усилие к породе через зубья и, таким образом, разрушать породу. Требуемое количество энергии на импульс давления типично составляет от около 1/5 до 1/10 энергии, требуемой в традиционной установке для бурения по породе, когда бурится скважина соответствующего размера. С другой стороны, так как в коническом шарошечном долоте 3 твердые металлические зубья не стираются о породу, но при вращении долота конические шарошки вращаются, и твердые металлические зубья непрерывно перемещаются вследствие вращения, твердые металлические зубья не должны сопротивляться большим усилиям, и, следовательно, они могут быть эффективными для разрушения породы. Для конического шарошечного долота необходимый вращательный момент является небольшим в связи с тем, что нет необходимости преодолевать трение скольжения, как в известных решениях. Требуемое усилие подачи относительно малое, и, тем не менее, в результате отбойка породы очень эффективна.

[20]

Фиг.2 показывает схематически усилие, действующее на буровое долото в традиционной установке с выносным перфоратором и установке бурения по породе согласно изобретению, использующей способ согласно изобретению. Амплитуда этих импульсов давления, создаваемых традиционным перфоратором, является большой, и продолжительность импульсов давления очень малая. Как показано на фиг.2, типичные импульсы давления традиционной установки (например, при частоте 50 Гц и длине импульса 0,2 мс) создают мгновенное усилие нагрузки приблизительно 250 кН, при этом полный коэффициент (α) нагрузки бурового долота составляет приблизительно 0,01. Эти импульсы обозначены буквой А.

[21]

Коэффициент (α) нагрузки, используемый в разрушении породы, определяет, как разрушаемая порода будет нагружена по времени. Коэффициент может быть выражен следующей формулой

[22]

[23]

где tp - длина импульса давления, f - частота, Lp - длина волны, и с - скорость импульса давления в инструменте. В существующих ударных приспособлениях коэффициент нагрузки α=0,01-0,025.

[24]

Например, в ударном приспособлении, имеющем длину поршня, составляющую 0,5 м, и частоту, равную 60 Гц, коэффициент нагрузки α составляет 0,012.

[25]

Способ согласно изобретению обеспечивает значительно больший коэффициент нагрузки, т.е. α=>0,075, предпочтительно, по меньшей мере, 0,1.

[26]

В теории максимальный коэффициент нагрузки равен 1, но на практике это не достигается. Приспособлению, создающему волну напряжения, требуется время для создания волны напряжения и время для восстановления, т.е. возвращения к позиции создания волны напряжения. На практике это означает, что, так как в действительности скорость восстановления не может превышать скорость создания волны напряжения, максимальный коэффициент нагрузки составляет в действительности приблизительно 0,5.

[27]

При использовании вращательного перфоратора для бурения буровое долото непрерывно подвергается статической нагрузке (α~1), что изображено горизонтальной линией В. Эта нагрузка составляет около 70 кН.

[28]

В традиционной установке с выносным перфоратором традиционное неподвижное буровое долото должно быть оптимальным для сопротивления усилию нагрузки. В связи с этим форма и конструкция зубьев и конструкция бурового долота должны быть сконструированы с учетом того, что для бурения необходимо, чтобы буровое долото выдерживало, по меньшей мере, приемлемый период времени в нормальном вращательном бурении, выполняемом коническим шарошечным долотом, причем высокая сопротивляемость нагрузки не является основным фактором, так как усилие нагрузки составляет приблизительно 1/3 усилия нагрузки установки с выносным перфоратором с неподвижным буровым долотом. Вместо этого для обеспечения статической нагрузки необходимо тяжелое оборудование.

[29]

Буква C обозначает ситуацию, созданную посредством установки бурения по породе согласно настоящему изобретению, т.е. с использованием конического шарошечного долота (например, частота 500 Гц, длина импульса 0,4 мс). В данном случае усилие нагрузки приблизительно на 70% выше, чем во вращательных перфораторах, но меньше, чем половина усилия нагрузки, обеспечиваемого традиционной машиной бурения по породе с выносным перфоратором. Коническое шарошечное долото выдерживает мгновенно этот тип нагрузки, в силу чего использование импульса высокого давления создает коэффициент нагрузки 0,1. Поскольку сравниваются частоты импульса давления между традиционной установкой для бурения по породе с выносным перфоратором и установкой для бурения по породе согласно изобретению, из фиг.2 явствует, что в установке и способе согласно изобретению частота импульса давления может превышать более чем в десять раз частоту в известных решениях. Использование малой амплитуды, которая превышает статическое значение, типично создаваемое вращательным перфоратором, и высокая частота создают большой коэффициент нагрузки α, который не меньше чем от 10 до 200 раз выше по сравнению с коэффициентом нагрузки, обеспечиваемым традиционной машиной бурения по породе с выносным перфоратором, снабженной неподвижным буровым долотом.

[30]

Фиг.3 показывает схематически, подобно фиг.2, усилие, действующее на буровое долото в традиционной установке и установке согласно изобретению, использующей способ согласно изобретению. Однако в этом случае значения импульса, используемые в способе согласно изобретению, различны, т.е. частота составляет 400 Гц, и длина импульса составляет 0,25 мс, а амплитуда импульса остается такой же, как на фиг.2. Коэффициент нагрузки составляет 0,1.

[31]

При проведении экспериментальных тестов для изучения способа и устройства согласно изобретению было обнаружено, что, используя частоту импульса от 200 до 1000 Гц, предпочтительно использовать коэффициент нагрузки 0,075-0,5. С увеличением соотношения нагрузки потребность в усилии подачи увеличивается значительно, что нежелательно.

[32]

Чертеж и приведенное описание предназначены только иллюстрировать идею изобретения. Детали изобретения могут изменяться в пределах объема формулы изобретения.

Как компенсировать расходы
на инновационную разработку
Похожие патенты