патент
№ RU 2405124
МПК F42B12/20

ОСКОЛОЧНО-ФУГАСНЫЙ СНАРЯД "СКНЯТИН" С ПЛАСТИЗОЛЬНЫМ СНАРЯЖЕНИЕМ

Авторы:
Одинцов Владимир Алексеевич
Номер заявки
2009113060/02
Дата подачи заявки
09.04.2009
Опубликовано
27.11.2010
Страна
RU
Как управлять
интеллектуальной собственностью
Чертежи 
8
Реферат

Осколочно-фугасный снаряд с пластизольным снаряжением содержит корпус с ведущим пояском, головной или донный взрыватель, заряд пластизольного взрывчатого вещества холодного отверждения, состоящего из бризантного взрывчатого вещества, алюминиевого порошка, жидкого пластификатора и полимера. Внутри заряда пластизольного взрывчатого вещества расположена арматура, скрепленная с корпусом снаряда. Изобретение обеспечивает возможность использования технологичного пластизольного взрывчатого вещества в снарядах нарезной артиллерии и улучшение условий дробления корпуса снаряда при взрыве. 11 з.п. ф-лы, 9 ил.

Формула изобретения

1. Осколочно-фугасный снаряд с пластизольным снаряжением, содержащий корпус с ведущим пояском, головной или донный взрыватель, заряд пластизольного взрывчатого вещества (ВВ) холодного отверждения, состоящего из бризантного вещества, алюминиевого порошка, жидкого пластификатора и полимера, отличающийся тем, что внутри заряда пластизольного взрывчатого вещества (ВВ) расположена арматура, скрепленная с корпусом снаряда.

2. Снаряд по п.1, отличающийся тем, что арматура выполнена в виде крыльчатки из стержня, расположенного по оси снаряда и снабженного лопастями, расположенными в плоскостях, проходящих через ось стержня.

3. Снаряд по п.2, отличающийся тем, что лопасти соединены между собой кольцевыми шпангоутами.

4. Снаряд по п.2, отличающийся тем, что лопасти имеют искривленную форму.

5. Снаряд по п.1, отличающийся тем, что арматура выполнена с осевой трубой.

6. Снаряд по п.1, отличающийся тем, что лопасти и другие части арматуры снабжены устройствами заданного дробления.

7. Снаряд по п.1, отличающийся тем, что корпус выполнен из высокоосколочных сталей 60С2, 80С2, 80Г2С.

8. Снаряд по п.1, отличающийся тем, что арматура скреплена с дном снаряда или с головной частью корпуса снаряда.

9. Снаряд по п.1, отличающийся тем, что арматура скреплена с дном и головной частью корпуса снаряда.

10. Снаряд по п.1, отличающийся тем, что арматура выполнена из высокоосколочной стали, например, 60С2, 80С2, 80Г2С.

11. Снаряд по п.1, отличающийся тем, что арматура выполнена из металлов, способных к горению в кислороде воздуха, например алюминия, магния, бериллия, циркония, титана или их сплавов, например сплава электрон.

12. Снаряд по п.1, отличающийся тем, что арматура выполнена из материалов, содержащих окислитель.

Описание

[1]

Изобретение относится к боеприпасам, а более конкретно - к разрывным снарядам, снабженным зарядом пластизольного взрывчатого вещества (ВВ). 120-миллиметровый танковый снаряд ХМ 1069 США снаряжен пластизольным составом РАХ-3. Пластизольные составы холодного отверждения, содержащие бризантные ВВ (гексоген, октоген), алюминиевый порошок, полимер и жидкий пластификатор, описаны в отечественных патентах RU 2235967, RU 2315742.

[2]

По определению Советского энциклопедического словаря (изд. 4-е, М.: «Советская энциклопедия», 1987, стр.1011) пластизоли являются пастообразным материалом, представляющим смесь полимера с пластификатором. «Пастообразность» может привести к проблемам при использовании пластизолей в снарядах нарезных орудий, а именно к возможности инерционного проворачивания пластизольного заряда ВВ относительно корпуса снаряда при выстреле, что, с одной стороны, может привести к нарушению гироскопической устойчивости, а с другой - к появлению в заряде очагов разогрева с последующим воспламенением ВВ и переходом в детонацию (также возможны: локальное (в части заряда ВВ) и полное (во всем объеме) взрывчатое превращение снаряжения боеприпаса, т.е. не детонационный взрыв).

[3]

В патенте №7114449 США предложена конструкция снаряда, в котором внутренняя поверхность корпуса, по крайней мере в донной части, имеет полигональную форму. За счет этого обеспечивается достаточное сцепление заряда ВВ с корпусом. Недостатком такого решения является ухудшение условий дробления корпуса вследствие отсутствия на полках градиентов радиальных скоростей.

[4]

Настоящее изобретение направлено на устранение указанных недостатков.

[5]

Осколочно-фугасный снаряд с пластизольным снаряжением содержит корпус с ведущим пояском, головной или донный взрыватель, заряд пластизольного взрывчатого вещества (ВВ) холодного отверждения, состоящего из бризантного вещества, алюминиевого порошка, жидкого пластификатора и полимера, причем внутри заряда пластизольного взрывчатого вещества (ВВ) расположена арматура, скрепленная с корпусом снаряда.

[6]

Арматура может быть выполнена в виде крыльчатки из стержня, расположенного по оси снаряда и снабженного лопастями, расположенными в плоскостях, проходящих через ось стержня. Лопасти соединены между собой кольцевыми шпангоутами и имеют искривленную форму. Арматура выполнена с осевой трубой. Лопасти и другие части арматуры снабжены устройствами заданного дробления. Корпус выполнен из высокоосколочных сталей 60С2, 80С2, 80Г2С.

[7]

Арматура скреплена с дном снаряда или с головной частью корпуса снаряда.

[8]

Арматура скреплена с дном и головной частью корпуса снаряда.

[9]

Арматура выполнена из высокоосколочной стали, например 60С2, 80С2, 80Г2С, или материалов, содержащих окислитель, или металлов, способных к горению в кислороде воздуха, например, алюминия, магния, бериллия, циркония, титана или их сплавов, например сплава электрон.

[10]

Фиг.1 - снаряд с арматурой звездообразного сечения; фиг.2, 3 - варианты исполнения арматуры со шпангоутами; фиг.4, 5 - арматура с искривленными лопастями; фиг.6 - снаряд с арматурой трубчатого сечения; фиг.7, 8, 9 - варианты арматуры, снабженной устройствами заданного дробления.

[11]

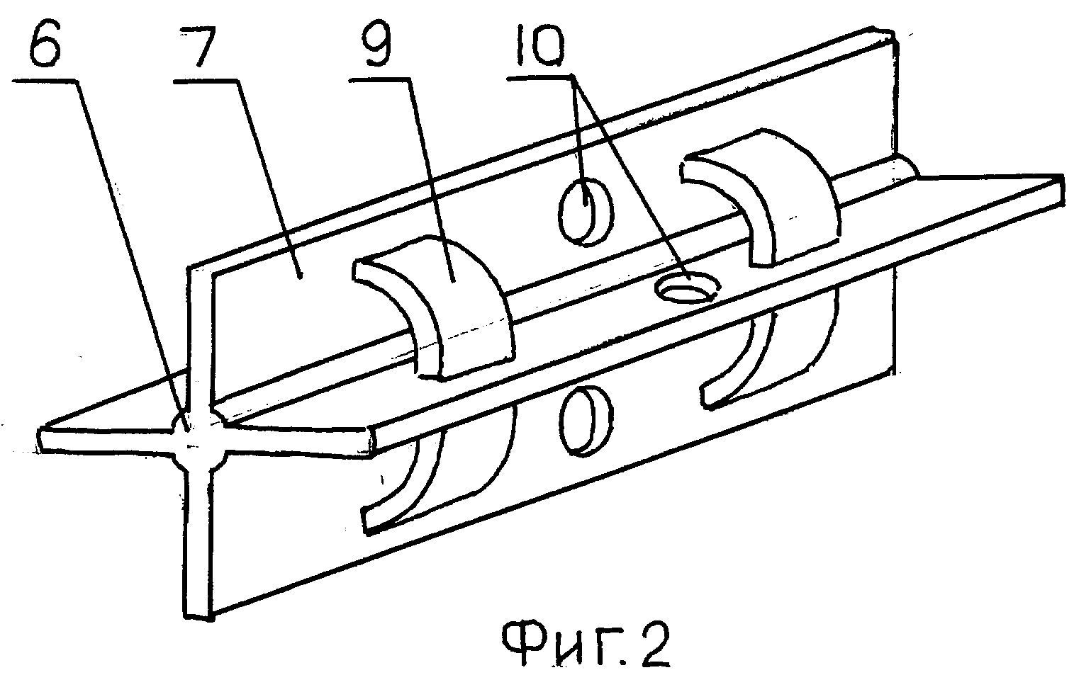
На фиг.1 представлен снаряд для нарезного орудия с монолитным корпусом 1, ведущим пояском 2, головным взрывателем 3 и ввинтным дном 4. Арматура 5 скреплена с дном и выполнена в виде стержня 6, расположенного по оси снаряда и снабженного лопастями 7, расположенными в плоскостях, проходящих через ось стержня. Внутренний объем корпуса заполнен пластизолем 8.

[12]

На фиг.2 показано исполнение арматуры, усиленной шпангоутами 9. Лопасти и шпангоуты могут быть снабжены отверстиями 10. В случае отсутствия отверстий (фиг.3) толщина лопастей должна быть выполнена такой, чтобы обеспечивалась передача детонации от одной секции заряда к другой. На фиг.4, 5 показана арматура с искривленными лопастями, обеспечивающими создание градиента скоростей.

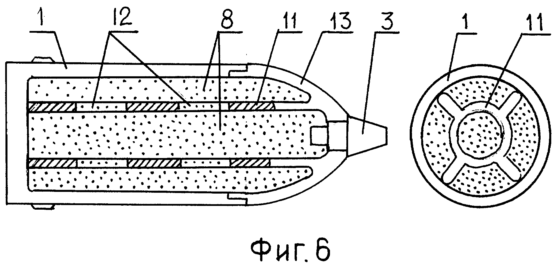
[13]

На фиг.6 представлен снаряд с арматурой 11 трубчатого сечения, снабженного окнами 12, прикрепленного к привинтной головке 13. Осевая труба может быть снабжена как внешними, так и внутренними лопастями.

[14]

Возможны и другие исполнения арматуры.

[15]

Основное назначение арматуры - обеспечить передачу вращательного момента от корпуса на снаряжение и исключить опасное проворачивание снаряжения относительно корпуса. Это обеспечивается за счет выравнивания напряженно-деформированного состояния по всей массе снаряжения, что достигается изменением в плане формы лопастей.

[16]

Использование арматуры для усиления действия снаряда осуществляется по трем направлениям:

[17]

- получение дополнительных инертных осколков за счет дробления арматуры при взрыве;

[18]

- получение «активных» осколков, обладающих зажигательным действием;

[19]

- выделение дополнительного тепла за счет сгорания при взрыве материала арматуры.

[20]

Первое направление может быть реализовано для арматуры как естественного, так и заданного дробления. В первом случае целесообразно изготовление арматуры из высокоосколочных сталей, например 60С2, 80С2, 80Г2С. Во втором случае на лопасти наносится сетка нарезки 14 (фиг.7) или локального охрупчивания. Возможно также применение перфорированных прокладок 15 (фиг.8) или пленок с клиновидными выемками 16 (фиг.9). В обоих случаях желательно придание лопасти в плане сечения криволинейной конфигурации для создания градиента скоростей (фиг.4, 5).

[21]

Конфигурация арматуры и ее ориентация относительно направления вращения снаряда, а также геометрия заданного дробления охраняются в режиме «ноу-хау».

[22]

Второе направление реализуется за счет изготовления арматуры из химически активных материалов, в основном металлов, способных к горению в кислороде воздуха (алюминия, магния, бериллия, циркония, титана и др. или их сплавов и смесей). Весьма перспективным является сплав электрон (90% магния, 10% алюминия), обладающий высокими механическими свойствами. Перспективным также является прессованный термит (25% алюминия, 75% окиси железа, например Fe3O4).

[23]

Третье направление также предполагает изготовление арматуры из химически активных материалов, способных вступать в реакцию с продуктами детонации непосредственно во время взрыва, например, композитных материалов на основе нитратов или перхлоратов, армированных углеродным волокном.

[24]

Учитывая неизбежное для пластизолей снижение бризантных характеристик по сравнению с индивидуальными ВВ, корпус снаряда выполняется из высокоосколочных кремнистых сталей 60С2, 80С2, 80Г2С. Снаряжение происходит холодной заливкой.

[25]

При выстреле арматура обеспечивает передачу вращательного момента от корпуса на заряд и отсутствие опасного проворачивания заряда относительно корпуса.

[26]

При взрыве снаряда происходит естественное дробление корпуса с образованием кругового осколочного поля и воздушной ударной волны. Хорошее дробящее действие пластизолей было подтверждено экспериментально, испытанием стандартного осколочного цилиндра RSFC №12 (число осколков N0.25 (с массой более 0.25 г) - 1545, содержание осколков средней фракции µC (1<m<4 г, m - масса осколка) - 0.485). Согласно классификационной диаграмме для стандартного осколочного цилиндра №12 ("Физика взрыва", под ред. Л.П.Орленко, изд. 3-е, т.2, ФИЗМАТЛИТ, 2004, стр.151) дробление является качественным (класс II, N0.25>1500, µC>0.4).

[27]

При взрыве происходит также разрушение арматуры. Для арматуры, выполненной из инертного материала, например стали, в рациональной форме, происходит его дробление на осколки. Дробление усиливается при использовании схем фиг.4, 5, 7, 8, 9 и ей подобных. Таким образом, формируется дополнительное осколочное поле, усиливающее общее осколочное действие.

[28]

При исполнении арматуры из горючего материала, при дроблении арматуры на осколки происходит также их воспламенение. Горящие осколки разлетаются вокруг точки взрыва, обеспечивая интенсивное зажигательное действие, например, в местах скопления бронетехники для заправки.

[29]

Техническим результатом изобретения является возможность использования технологичного пластизольного снаряжения в снарядах нарезной артиллерии.

Как компенсировать расходы
на инновационную разработку
Похожие патенты