патент
№ RU 2402102
МПК H01L21/312

УСТРОЙСТВО ДЛЯ НАНЕСЕНИЯ ФОТОРЕЗИСТА

Авторы:
Комаров Николай Валерьевич
Номер заявки
2009117180/28
Дата подачи заявки
05.05.2009
Опубликовано
20.10.2010
Страна
RU
Как управлять
интеллектуальной собственностью
Реферат

Изобретение относится к технике полупроводникового производства и может быть использовано при нанесении фоторезиста на полупроводниковые пластины, а также другие подложки в процессе выполнения операций фотолитографии. Сущность изобретения: устройство для нанесения фоторезиста на подложки, содержащее камеру для нанесения, подложкодержатель с приводом его вращения, установленный в ванне для нанесения фоторезиста, блок подачи фоторезиста с дозатором и соплом, соединенным с рабочей емкостью для фоторезиста, дополнительно снабжено блоком загрузки-выгрузки рабочей емкости с фоторезистом, блоком загрузки-выгрузки подложек, транспортером с носителем подложек, установленным на штанге держателя в камере для нанесения с возможностью вертикального и горизонтального перемещения, при этом блок загрузки-выгрузки рабочей емкости для фоторезиста содержит корпус с крышкой, на которой установлен кожух и подвижная платформа для размещения емкости, выполненные с внутренними полостями для заполнения буферной жидкостью, а в стенке кожуха выполнен патрубок для размещения датчика контроля количества фоторезиста в рабочей емкости, а на крышке корпуса закреплен заборник фоторезиста. Конструкция предложенного устройства обеспечивает повышение качества наносимого слоя фоторезиста, расширение технологических возможностей устройства, повышение надежности устройства и удобство обслуживания. 4 з.п. ф-лы, 15 ил.

Формула изобретения

1. Устройство для нанесения фоторезиста на подложки, содержащее камеру для нанесения, подложкодержатель с приводом его вращения, установленный в ванне для нанесения фоторезиста, блок подачи фоторезиста с дозатором и соплом, соединенным с рабочей емкостью для фоторезиста, отличающееся тем, что оно дополнительно снабжено блоком загрузки-выгрузки рабочей емкости с фоторезистом, блоком загрузки-выгрузки подложек, транспортером с носителем подложек, установленным на штанге держателя в камере для нанесения с возможностью вертикального и горизонтального перемещений, при этом блок загрузки-выгрузки рабочей емкости для фоторезиста содержит корпус с крышкой, на которой установлен кожух и подвижная платформа для размещения емкости, выполненные с внутренними полостями для заполнения буферной жидкостью, а в стенке кожуха выполнен патрубок для размещения датчика контроля количества фоторезиста в рабочей емкости, а на крышке корпуса закреплен заборник фоторезиста.

2. Устройство по п.1, отличающееся тем, что заборник фоторезиста содержит сквозной канал для забора фоторезиста, канал для размещения датчика контроля температуры фоторезиста, клапан для сообщения полости емкости с атмосферой при заборе фоторезиста, а на нижнем конце заборника установлена чашеобразная насадка с пазами, верхний же конец заборника соединен с рабочей полостью дозатора.

3. Устройство по п.1 или 2, отличающееся тем, что дозатор снабжен дополнительным каналом, связывающим выходную часть магистрали подачи фоторезиста с рабочей полостью дозатора с помощью регулирующего дросселя, а сопло блока подачи фоторезиста содержит насадку с конусной поверхностью по периферии торца насадки, взаимодействующей с ответным конусом на опоре.

4. Устройство по п.1, отличающееся тем, что блок загрузки-выгрузки подложек выполнен в виде подставки с квадратным и круглым углублениями, снабженными заходными фасками и расположенными соответственно на разных высотах, при этом подставка содержит четыре сквозных паза, расположенных через 90° друг от друга, а центр подставки и центр подложкожержателя лежат на одной прямой, параллельной перемещению транспортера.

5. Устройство по п.1 или 4, отличающееся тем, что носитель транспортера выполнен в виде двух захватов, снабженных опорными втулками с внутренними отверстиями, а один из захватов выполнен с каналом для подвода вакуума, связанным с осевым и радиальным каналами штанги держателя.

Описание

[1]

Изобретение относится к технике полупроводникового производства и может быть использовано, например, для нанесения фоторезиста на полупроводниковые пластины, а также фотошаблонные заготовки и другие подложки в процессе выполнения операций фотолитографии.

[2]

Известно устройство для нанесения фоторезиста [1], содержащее ванну для нанесения, столик с приводом его вращения, на котором устанавливают обрабатываемую пластину, сопло для подачи фоторезиста, установленное над столиком и соединенное трубопроводом с емкостью для фоторезиста.

[3]

Однако данное устройство не обеспечивает хорошее качество нанесения пленки из-за возможного попадания остатков фоторезиста из конца сопла подачи его на поверхность подложки после прекращения подачи дозы фоторезиста.

[4]

Кроме того, отсутствие контроля и поддержания постоянной температуры фоторезиста в процессе его нанесения обуславливает неравномерность и разнотолщинность наносимой пленки из-за колебания коэффициента вязкости фоторезиста.

[5]

При замене емкости после использования фоторезиста возможно попадание воздуха в магистраль подачи фоторезиста, так как при снятии емкости конец трубки забора фоторезиста остается связанным с атмосферой и место капли фоторезиста занимает воздух. А при дальнейшей установке новой емкости с фоторезистом в магистрали подачи фоторезиста образуется воздушный пузырь, что снижает качество наносимых пленок. При этом в процессе функционирования устройства сопло остается открытым из-за возможного подсыхания фоторезиста.

[6]

Кроме того, загрузка подложек на вакуумный столик осуществляется оператором вручную, что приводит к загрязнению рабочей зоны устройства.

[7]

Проблема возможного попадания остатков фоторезиста из конца сопла подачи его на поверхность подложки решена в устройстве для выброса фоторезиста [2], в котором установлен клапан подсоса остатков фоторезиста в трубке вверх в полость трубки. Но известное устройство отличается достаточно сложной и дорогой аппаратурой реализации и не исключает недостатки, приведенные ранее, возможность попадания воздуха в магистраль подачи фоторезиста при замене емкости после использования, фоторезиста, возможность подсыхания фоторезиста на выходе сопла, подающего фоторезист, и отсутствие возможности замера и поддержания постоянной температуры фоторезиста в процессе работы на установке.

[8]

Проблема возможного попадания остатков фоторезиста из конца сопла подачи резиста на поверхность подложки частично решена в дозаторе жидкости [3], рабочая камера которого отделена от источника давления гибкой разделительной мембраной со штокам. Дозатор снабжен дополнительной камерой, соединенной с впускным клапаном и сообщенной с рабочей камерой посредством клапана, запорный элемент которого закреплен на штоке разделительной мембраны и установлен в дополнительной камере. Однако наличие эластичной диафрагмы для подачи фоторезиста обуславливает появление пластических деформаций в процессе ее работы, что ухудшает точность дозирования. При этом возможны попадание воздуха в магистраль подачи фоторезиста при замене емкости после использования фоторезиста, подсыхания фоторезиста на выходе сопла, подающего фоторезист, и не обеспечивается температура фоторезиста в процессе работы. Эти недостатки присущи и установкам для нанесения фоторезиста [4, 5].

[9]

Из известных аналогов ближайшим по технической сущности и достигаемому результату выбрано устройство для нанесения фоторезиста [5]. Устройство содержит камеру для нанесения. Внутри камеры сформирован отсек для нанесения фоторезиста с вращающимися подложкодержателем, на котором крепится подложка, а также устройство для подачи фоторезиста на поверхность подложки. Сопло устройства подачи фоторезиста через трубопровод соединено с резервуаром для жидкого резиста. Корпус камеры имеет двустенную конструкцию с воздушным зазором между внешней и внутренней стенками, образуя теплообменную рубашку. Установка содержит также нагреватель и холодильник.

[10]

Недостатки известного технического решения заключаются в том, что температура фоторезиста может колебаться в широких приделах, так как емкость для фоторезиста расположена вне зоны термостабилизации. И при замене емкости после использования фоторезиста возможно попадание воздуха в магистраль подачи фоторезиста, образуя в дальнейшем воздушный пузырь. А в процессе функционирования устройства сопло остается открытым, что приводит к возможному подсыханию фоторезиста на выходе сопла.

[11]

Кроме того, известная конструкция устройства не предусматривает замер и поддержание постоянной температуры фоторезиста, что приводит из-за колебания вязкости фоторезиста к неравномерности и разнотолщинности пленки.

[12]

Все эти недостатки и обуславливают невысокое качество наносимого слоя фоторезиста.

[13]

Техническим результатом предложенного изобретения является повышение качества наносимого слоя фоторезиста, расширение технологических возможностей устройства, повышение надежности устройства и удобство обслуживания.

[14]

Указанный технический результат достигается тем, что устройство для нанесения фоторезиста, содержащее камеру для нанесения, подложкодержатель с приводом его вращения, установленный в ванне для нанесения фоторезиста, блок подачи фоторезиста с дозатором и соплом, соединенным с рабочей емкостью для фоторезиста, дополнительно снабженного блоком загрузки-выгрузки подложек, транспортером с носителем подложек, установленным на штанге держателя в камере для несения с возможностью вертикального и горизонтального перемещения, при этом блок загрузки-выгрузки рабочей емкости для фоторезиста содержит: корпус с крышкой, на котором установлен кожух и подвижная платформа для размещения емкости, выполненные с внутренними полостями для заполнения буферной жидкостью, а в стенке кожуха выполнен патрубок для размещения датчика контроля количества фоторезиста в рабочей емкости, а на крышке корпуса закреплен заборник фоторезиста.

[15]

Заборник фоторезиста содержит сквозной канал для забора фоторезиста, канал для размещения датчика контроля температуры фоторезиста, клапан для сообщения полости емкости с атмосферой при заборе фоторезиста, а на нижнем конце заборника установлена чашеобразная насадка с пазами, верхний же конец заборника соединен с рабочей полостью дозатора.

[16]

При этом дозатор снабжен дополнительным каналом, связывающим выходную часть магистрали подачи фоторезиста с рабочей полостью дозатора с помощью регулирующего дросселя, а сопло блока подачи фоторезиста содержит насадку с конусной поверхностью по периферии торца насадки, взаимодействующей с ответным конусом на опоре.

[17]

Кроме того, блок загрузки-выгрузки подложек выполнен в виде подставки с квадратными и круглыми углублениями, снабженными заходными фасками и расположенными соответственно на разных высотах, при этом подставка содержит четыре сквозных паза, расположенных через 90° друг от друга, а центр подставки и центр подложкодержателя лежат на одной прямой, параллельной перемещению транспортера.

[18]

Носитель транспортера выполнен в виде двух захватов, снабженных опорными втулками с внутренними отверстиями, а один из захватов выполнен с каналом для подвода вакуума, связанным с осевым и радиальным каналами штанги держателя.

[19]

Наличие блока загрузки-выгрузки рабочей емкости с фоторезистом, выполненного с теплообменной рубашкой, обеспечивает постоянство температуры фоторезиста в рабочей емкости.

[20]

Конструкция заборника фоторезиста, снабженного чашеобразной насадкой, и наличие «клапана для сообщения полости емкости с атмосферой при заборе фоторезиста» исключают испарение растворителя фоторезиста и изменение его вязкости в процессе работы.

[21]

Выполнение в стенке кожуха корпуса блока загрузки-выгрузки рабочей емкости «датчика контроля количества фоторезиста» исключает образование воздушных пузырей в магистрали.

[22]

Признак «сопло блока подачи фоторезиста содержит насадку с конусной поверхностью» исключает подсыхание фоторезиста в процессе перерывов в работе.

[23]

Размещение блока загрузки-выгрузки подложек непосредственно в рабочей ванне и выполненного в виде подставки с квадратными и круглыми углублениями на разных высотах обеспечивает удобство загрузки как круглых, так и квадратных подложек.

[24]

Выполнение носителя транспортера в виде двух захватов, снабженных опорными втулками с каналами для подвода вакуума, обеспечивает ориентацию подложек за счет исключения воздушной подушки при укладке подложек.

[25]

Таким образом, указанные признаки являются новыми и в совокупности обеспечивают новый технический результат, выражающийся в повышении качества нанесения фоторезиста, расширении технических возможностей устройства, повышении надежности и удобства обслуживания.

[26]

Следовательно, указанная новая совокупность признаков соответствует критериям патентоспособности изобретения: «новизна», «изобретательский уровень», «технический эффект» и «промышленная применимость».

[27]

Сущность изобретения поясняется чертежами, где схематично изображены:

[28]

на фиг.1 - устройство для нанесения фоторезиста, общий вид сверху;

[29]

на фиг.2 - устройство для нанесения фоторезиста, вид А;

[30]

на фиг.3 - рабочая часть дозатора, разрез Б-Б;

[31]

на фиг.4 - носитель подложек с захватами, разрез В-В;

[32]

на фиг.5 - блок загрузки-выгрузки рабочей емкости для фоторезиста, разрез Г-Г;

[33]

на фиг.6 - заборник блока загрузки-выгрузки рабочей емкости для фоторезиста, разрез Д-Д;

[34]

на фиг.7 - то же, разрез Е-Е;

[35]

на фиг.8 - захваты носителя подложек, вид Ж;

[36]

на фиг.9 - блок загрузки-выгрузки подложек, вид 3;

[37]

на фиг.10 - то же, разрез И-И;

[38]

на фиг.11 - блок нанесения фоторезиста, вид К;

[39]

на фиг.12 - сопло блока подачи фоторезиста, разрез L-L;

[40]

на фиг.13 - блок нанесения фоторезиста, разрез М-М;

[41]

на фиг.14 - сопло в момент подачи фоторезиста без отсоса его;

[42]

на фиг.15 - то же, с применением функции отсоса фоторезиста.

[43]

Предложенное устройство для нанесения фоторезиста (фиг.1-2) содержит блок загрузки-выгрузки подложек 1, транспортер 2, блок нанесения фоторезиста 3, блок подачи фоторезиста с дозатором 4 и соплом подачи фоторезиста на подложки 5, установленных в камере для нанесения 6 на станине (не показано), и блок загрузки-выгрузки емкости 7, сборник отработанного фоторезиста 8, блок управления 9, термостат 10.

[44]

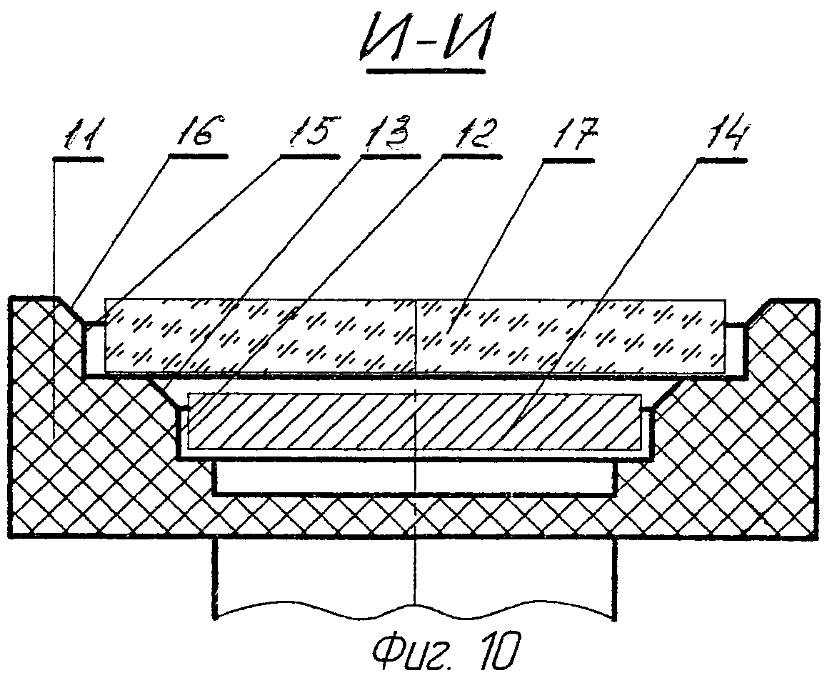
Блок загрузки-выгрузки подложек (фиг.1, 9, 10) представляет собой подставку универсальную 11, содержащую цилиндрическое углубление 12 с заходными фасками 13 для размещения круглых подложек 14 и квадратное углубление 15 с заходными фасками 16 для размещения квадратных подложек. Углубления 12 и 15 расположены на разных высотах, причем квадратное углубление выполнено выше цилиндрического, а центр обрабатываемых подложек совпадает с центром углублений 12 и 15. Кроме того, подставка содержит четыре сквозных паза 18, расположенных через 90° друг от друга. Пазы предназначены для удобства загрузки и выгрузки подложек. Конструкция подставки позволяет размещать как круглые, так и квадратные подложки, обеспечивая нужное ориентированное положение при загрузке.

[45]

Транспортер 2 (фиг.1, 4) содержит механизм горизонтального перемещения 19 (фиг.4), на каретке которого установлен механизм вертикального перемещения 20, на котором закреплен носитель подложек 21 (фиг.1, 8, 9). Носитель подложек включает в себя держатель 22 (фиг.4), закрепленный на механизме вертикального перемещения 20. В держателе 22 установлена штанга 23, содержащая осевое отверстие 24, круговую канавку 25 и радиальные отверстия 26. На штанге 23 закреплен захват 27 с каналом 28, сообщающимся с полостью 29, образованной планкой 30, на которой установлены две втулки 31, внутренние отверстия которых сообщаются с полостью 29 (фиг.4, 8). На штанге 23 закреплен второй захват 32 с втулками 33, в которых выполнены внутренние отверстия, исключающие появление воздушной подушки при укладки подложки и потери ее ориентации. Захваты 27 и 32 в совокупности друг с другом образуют контур для размещения подложек 14 или 17. Исходное расположение носителя подложек 21 - между блоком загрузки-выгрузки подложек и блоком нанесения 3 (фиг.1, 2).

[46]

Наличие транспортной системы в камере нанесения исключает ручную загрузку подложек непосредственно на вакуумный столик и наличие на вакуумном столике необходимых элементов для ориентации подложек (штифты, уступы, выемки и т.п.), а также исключает внесение загрязнений в зону обработки оператором.

[47]

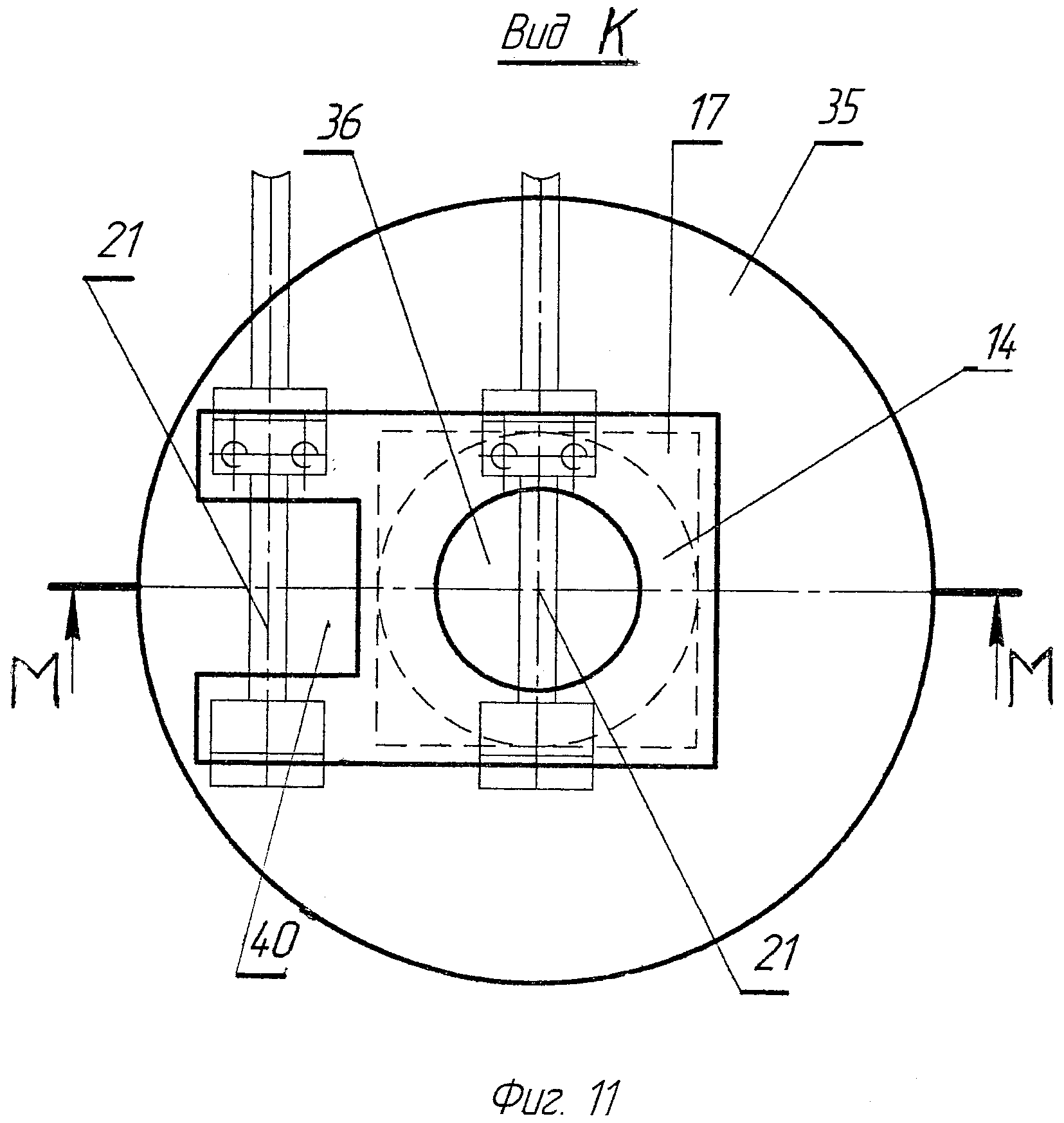
Блок нанесения 3 (фиг.1, 13) содержит ванну 34 для нанесения фоторезиста с крышкой 35, столик вакуумный (подложкодержатель), ориентирующий диск 38 и механизм ориентации подложкодержателя 39 после выполнения операции нанесения фоторезиста (12). При этом центр вакуумного столика 36 и центр подставки 11 блока загрузки-выгрузки подложек 1 лежат на одной прямой х (фиг.1), параллельно направлению горизонтального перемещения транспортера 2. Крышка 35 имеет специальное окно 40 для выхода захватов транспортера из ванны (фиг.11) после укладки подложки на вакуумный столик (фиг.13).

[48]

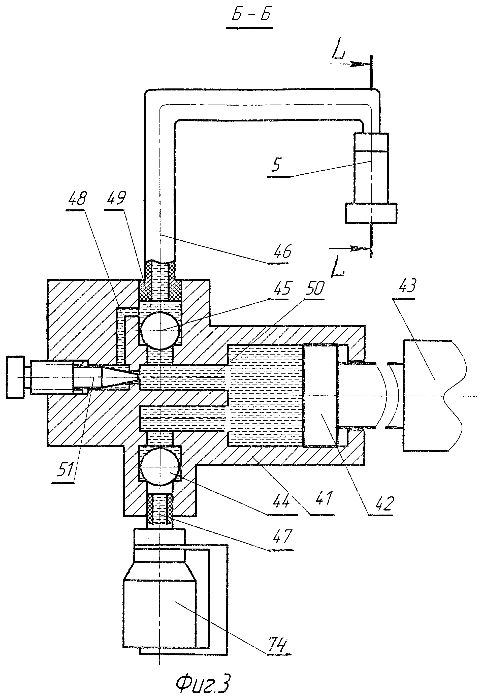
Дозатор 4 (фиг.1, 3) содержит корпус 41, плунжер 42, совершающий возвратно-поступательное перемещение с помощью привода 43, впускной канал с клапаном 44 и выпускной канал с клапаном 45, трубопровод 46, образующий выходную магистраль подачи фоторезиста и соединяющий выпускной канал с соплом 5 подачи фоторезиста на подложку. Трубка 47 установлена в впускном канале и соединяет впускной клапан 44 с блоком загрузки-выгрузки емкости 7. Дозатор 4 снабжен дополнительным клапаном 48, соединяющим выходную полость 49 с рабочей полостью дозатора 50 через дроссель 51.

[49]

Сопло подачи фоторезиста на подложку 5 (фиг.12) состоит из центральной трубки 52, насадки 53 с конусной поверхностью 54 по периферии торца насадки. В нерабочем, отведенном состоянии насадка 53 взаимодействует с опорой 55, содержащей по периферии ответный (запорный) конус 56. Опора опирается на пружину 57, установленную в корпусе 58. Нижняя часть опоры 55 связана с полостью сборника отработанного фоторезиста (фиг.8).

[50]

Благодаря наличию вокруг центральной трубки 52 насадки 53 вокруг выходного торца подачи фоторезиста создается пространство с парами растворителя, которые предохраняют фоторезист в трубке от высыхания, а наличие запорного конуса усиливает эффект отсутствия подсыхания фоторезиста в процессе перерывов в работе.

[51]

Блок загрузки-выгрузки емкости 6 (фиг.5) содержит корпус с крышкой 59, на котором установлены кожух цилиндрический 60 с внутренней полостью 61 для заполнения буферной жидкостью 62 и патрубком 63 для установки датчика 64 контроля наличия фоторезиста в емкости, платформу 65 с внутренней полостью 66 для заполнения буферной жидкостью 67. Платформа 65 установлена с возможностью вертикального перемещения от привода 68 с помощью каретки 69, связанной с платформой 65 с помощью ребра 70.

[52]

На крышке корпуса 59 установлен заборник 71, содержащий сквозной канал 72 для забора фоторезиста 73 из емкости 74 (фиг.5), канал 75 для размещения термопары 76, канал 77 для сообщения внутренней полости емкости с атмосферой, клапан 78 для открытия канала 77 во время забора фоторезиста из емкости. Температуру фоторезиста регистрируют с помощью прибора отображения температуры 79.

[53]

На конце заборника установлена насадка 80 чашеобразной формы (фиг.5, 6, 7) с полостями 81. Введение датчика контроля 64 количества фоторезиста в емкости и насадки 80 исключает возможность образования воздушных пузырей в магистрали подачи фоторезиста. Датчик 64 выдает сигнал о том, что фоторезист заканчивается тогда, когда уровень фоторезиста доходит до верхнего уровня насадки, тогда необходимо менять емкость.

[54]

При смене емкости торец канала забора фоторезиста 82 остается закрытым фоторезистом благодаря наличию его в полостях 81 насадки 80. А введение клапана 78 исключило возможную связь внутренней полости емкости 74 с фоторезистом 73 с атмосферой и возможность испарения растворителя фоторезиста, а значит и изменение его вязкости в процессе работы.

[55]

Сборник отработанного фоторезиста 8 (фиг.1) представляет собой специальную емкость сбора отработанного фоторезиста из ванны нанесения 34.

[56]

Термостат 10 (фиг.2) выполняет функции нагрева буферной жидкости до заданной температуры, подачи ее в полости 61 и 66 блока загрузки-выгрузки емкости 6 для нагрева фоторезиста в емкости до заданной температуры и поддержания ее в определенных пределах. Блок управления 9 выполняет все функции задания программы работы устройства. Все элементы устройства размещены на станине (не показано).

[57]

Работа устройства происходит следующим образом.

[58]

Платформу 65 (фиг.5) с помощью механизма 68 опускают вниз (см. фиг.5). Емкость 74 с фоторезистом устанавливают на платформу 65 и механизм 68 поднимает платформу 65 с емкостью 74 вверх. Нижняя часть заборника 71 заходит в горловину емкости 74 и положение емкости фиксируется. Включают термостат 10, который нагревает буферную жидкость 62 и 67 до заданной температуры и транспортирует буферную жидкость по полостям 61 и 66, нагревая фоторезист 73 в емкости 74 до нужной температуры. Прибор 79 с помощью термопары 76 фиксирует температуру фоторезиста 73 в емкости 74 и если она соответствует заданной, дает разрешение на работу на установке. Дозатор (фиг.3) прокачивает фоторезист из емкости в магистраль до появления фоторезиста на выходе из сопла. Прокачку осуществляют путем возвратно поступательных перемещений плунжера 42 дозатора и за счет клапанов 44, 45. После прокачки фоторезиста плунжер 42 останавливается в правом положении. При этом вся магистраль подачи резиста заполнена фоторезистом.

[59]

Механизм ориентации 39 (фиг.13), взаимодействуя с ориентирующим диском 38, устанавливает и фиксирует вакуумный столик 36 в определенном положении.

[60]

Подложку 14 (17) устанавливают на подставку универсальную 11 (фиг.9, 10), содержащую одно цилиндрическое углубление 12 с заходными фасками 13, для размещения круглых подложек 14, и одно квадратное углубление 15 с заходными фасками 16, для размещения квадратных подложек 17.

[61]

В зависимости от формы, подложка занимает соответствующее углубление. Тем самым фиксируется ее положение. Транспортер 2 (фиг.4) с помощью механизма 20 опускает носитель 21 (фиг.1) с захватами 27 и 32 вниз и, с помощью механизма 19, перемещает носитель 21 с захватами 27 и 32 в сторону блока загрузки-выгрузки подложек, заводя захваты 27 и 32 под нижнюю поверхность подложки 14 (17) (фиг.10) совпадения оси штанги 23 с центром углублений 12, 15 подставки 11.

[62]

Затем в осевое отверстие 24 штанги 23 подают вакуум, который через круговую канавку 25, радиальные отверстия 26, канал 28, полость 29 подводится к центральным отверстиям втулок 31 захвата 27. Носитель с захватами 27 и 32 поднимается, по пути, снимая подложку с подставки 11. При этом подложка не теряет своей ориентации благодаря наличию вакуума на втулках 31. Далее подложку перемещают механизмом 20 в зону блока нанесения 3 до совмещения оси симметрии штанги 23 носителя 21 с центром вакуумного столика 36. В столик 36 подают вакуум, и захваты опускают подложку на столик 36. Одновременно с этим подачу вакуума в захват 27 отключают. Уложив подложку на столик, несущую плоскость захватов опускают ниже плоскости столика. Затем транспортер переносит носитель с захватами в нижнем положении в область сквозных пазов, выполненных на крышке 35 ванны 34, поднимает их вверх, удаляя из ванны и перемещая до исходного положения.

[63]

Сопло подачи фоторезиста 5 на подложку выходит на центр подложки, опускается ближе к поверхности подложки и начинается процесс подачи дозы фоторезиста на поверхность подложки.

[64]

Плунжер 42 перемещают вперед. Фоторезист, имеющийся в полости 50 дозатора, выталкивается из дозатора через клапан 45 и через трубку 46, сопло 5 подается на поверхность подложки. При перемещении плунжера 42 влево клапан 44 закрыт.

[65]

Подаваемая доза фоторезиста регулируется величиной хода плунжера. После выдачи дозы фоторезиста плунжер 42 возвращают назад, создавая разрежение в полости 50. Клапан 45 закрывается, открывается клапан 44 и происходит заполнение полости 50 фоторезистом, который засасывается из емкости 74. Одновременно с этим ходом плунжера происходит затягивание части фоторезиста из полости 49 в полость 50 через дополнительный канал 48 (фиг.3). Т.е. происходит частичный подсос фоторезиста из трубки 46, а значит и из выходной трубки 52 (фиг.2, 14). Столбик фоторезиста в трубке 52 подтягивается вверх (фиг.15) на величину X. В отличие от аналогов, величина подсоса может регулироваться, благодаря наличию дросселя 51 (фиг.3), что дает возможность выбирать оптимальный режим нанесения фоторезиста.

[66]

В период обратного хода плунжера, одновременно с заполнением полости и подсоса фоторезиста в выходной трубке происходит разрежение в емкости 73 (фиг.5), клапан 78 открывается и атмосферный воздух по каналу 77 попадает в емкость. После остановки плунжера 42, клапан 78 закрывается, предотвращая испарение растворителя фоторезиста из емкости и сохраняя постоянную вязкость фоторезиста. Тем самым создаются хорошие условия для получения качественной пленки фоторезиста на подложке со стабильными результатами.

[67]

В процессе нанесения дозы фоторезиста на поверхность подложки происходит интенсивное испарение растворителя и часть паров растворителя заполняет внутреннюю полость насадки 53 (фиг.12, 14, 15). А поскольку торец трубки 52 находится в этой полости, предотвращается подсыхание фоторезиста в трубке 52, что улучшает качество наносимого покрытия.

[68]

После выдачи дозы фоторезиста на поверхность подложки сопло подачи фоторезиста отводят в сторону в зону размещения подпружиненной опоры 55 и опускают на эту опору, состыковываясь конусами 54 и 56. Это предотвращает эффект подсыхания фоторезиста в подающем элементе, что повышает качество наносимого покрытия.

[69]

По окончании выполнения процесса нанесения фоторезиста на подложку привод 37 (фиг.13) вакуумного столика останавливают, механизм ориентации 39, взаимодействуя с ориентирующим диском, в совокупности с приводом 37 ориентирует вакуумный столик с подложкой в том положении, в котором осуществлялась загрузка подложки, и транспортер с помощью захватов снимает подложку с вакуумного столика, выносит ее на позицию разгрузки, укладывая на блок загрузки-выгрузки подложек 1. Цикл работы установки заканчивается.

[70]

Предложенное устройство позволяет:

[71]

- повысить качество наносимой пленки фоторезиста;

[72]

- упростить аппаратурную реализацию процесса нанесения дозы фоторезиста;

[73]

- повысить удобства в работе обсуживающего персонала;

[74]

- повысить надежность устройства с точки зрения возникновения отказов в процессе работы, благодаря наличию ряда дополнительных контрольных устройств.

[75]

На предприятии разработана конструкторская документация предложенного устройства.

[76]

Источники информации

[77]

1. RU 2012093 С1, Воронежский опытный завод микроэлектроники «РИФ», 30.04.1994.

[78]

2. Заявка Японии №58-170771 от 16.09.1983.

[79]

3. Авторское свидетельство СССР №742711 от 28.02.1980.

[80]

4. Патент Японии №86176404 от 25.07.1986.

[81]

5. Патент Японии №86176405 от 25.07.1986 (прототип).

Как компенсировать расходы
на инновационную разработку
Похожие патенты