патент
№ RU 2397406
МПК F22B37/26

ПРЯМОТОЧНЫЙ ПАРОГЕНЕРАТОР

Авторы:
КРАЛЬ Рудольф (DE)
Номер заявки
2007134389/06
Дата подачи заявки
06.02.2006
Опубликовано
20.08.2010
Страна
RU
Дата приоритета
17.12.2025
Номер приоритета
Страна приоритета
Как управлять
интеллектуальной собственностью
Чертежи 
5
Реферат

Изобретение относится к энергетике и может использоваться в прямоточных парогенераторах. Сущность изобретения: в парогенераторе (1) с образующей газоход (20) ограждающей стенкой (2), которая образована в нижней области из газоплотно сваренных друг с другом испарительных труб (6) и в верхней области из газоплотно сваренных друг с другом перегревательных труб (6'), перегревательные трубы (6') включены после испарительных труб (6) на стороне текучей среды через водоотделительную систему (14). Для того чтобы парогенератор при поддерживаемых малыми затратами на изготовление и монтаж в режиме запуска или в режиме слабой нагрузки имел особенно высокую эксплуатационную гибкость, водоотделительная система (14) содержит множество водоотделительных элементов (30), из которых каждый соответственно подключен на стороне потока текучей среды после или соответственно перед меньше чем десятью испарительными трубами (6), предпочтительно одной единственной испарительной трубой, и/или меньше чем десятью перегревательными трубами (6'), предпочтительно одной единственной перегревательной трубой (6'). 8 з.п. ф-лы, 6 ил.

Формула изобретения

1. Прямоточный парогенератор (1) с образующей газоход (20) ограждающей стенкой (2), которая образована в нижней области из газоплотно сваренных друг с другом испарительных труб (6) и в верхней области из газоплотно сваренных друг с другом перегревательных труб (6'), причем перегревательные трубы (6') включены после испарительных труб (6) на стороне текучей среды через водоотделительную систему (14), отличающийся тем, что водоотделительная система (14) имеет множество водоотделительных элементов (30), из которых каждый соответственно подключен на стороне потока текучей среды после или соответственно перед меньше, чем десятью испарительными трубами (6), предпочтительно одной единственной испарительной трубой и/или меньше, чем десятью перегревательными трубами (6'), предпочтительно одной единственной перегревательной трубой (6'), причем соответствующий водоотделительный элемент (30) содержит соединенный с предвключенными испарительными трубами (6) входной отрезок трубы (32), который при рассмотрении в своем продольном направлении переходит в водоотводящий отрезок трубы (34), причем в переходной области (36) ответвляется множество соединенных соответственно с подключенными дальше перегревательными трубами (6') выходных отрезков трубы.

2. Парогенератор (1) по п.1, отличающийся тем, что в области испарительных труб (6) в ограждающей стенке (2) расположено множество горелок, причем водоотделительные элементы (30) позиционированы на высоте не больше, чем 20 м выше соответственно самой высокой горелки.

3. Парогенератор (1) по п.1, отличающийся тем, что входной отрезок трубы (32) обтекается через приходящее сверху колено трубы.

4. Парогенератор (1) по п.1, отличающийся тем, что водоотводящий отрезок трубы (34) в переходной области (36) своим продольным направлением расположен наклонно вниз относительно горизонтали в направлении потока.

5. Парогенератор (1) по п.1, отличающийся тем, что водоотводящий отрезок трубы (34) в своей входной области выполнен в виде изогнутого вниз колена трубы.

6. Парогенератор (1) по одному из пп.1-5, отличающийся тем, что водоотделительные элементы (30) на стороне выхода воды соединены группами с множеством общих выходных коллекторов (40).

7. Парогенератор (1) по п.6, отличающийся тем, что после выходных коллекторов (40) подключено множество водосборных баков (42).

8. Парогенератор (1) по п.7, отличающийся тем, что в подключенную к водосборным бакам (42) сливную линию (52) включен управляемый через соответствующее регулирующее устройство (60) установочный вентиль (64), причем регулирующее устройство (60) является нагружаемым входным значением, характеристическим для энтальпии текучей среды на выходе на стороне пара подключенной после водоотделительной системы (14) перегревательной поверхности нагрева (18).

9. Парогенератор (1) по п.8, отличающийся тем, что через регулирующее устройство (60) является управляемым присвоенный испарительным трубам (6) циркуляционный насос (54).

Описание

[1]

Изобретение относится к прямоточному парогенератору с образующей газоход ограждающей стенкой, которая образована в нижней области из газоплотно сваренных друг с другом испарительных труб, а в верхней области из газоплотно сваренных друг с другом перегревательных труб, причем перегревательные трубы включены после испарительных труб на стороне текучей среды через водоотделительную систему.

[2]

В прямоточном парогенераторе нагрев множества испарительных труб, которые образуют вместе газоплотную ограждающую стенку камеры сгорания, приводит к полному испарению текучей среды в испарительных трубах за один проход. Текучую среду - обычно воду - подводят после ее испарения к подключенным после испарительных труб перегревательным трубам и там перегревают. Положение конечной точки испарения, то есть граничная область между испаренной и неиспаренной текучей средой, является при этом изменяемым и зависимым от вида эксплуатации. В режиме полной нагрузки подобного прямоточного парогенератора конечная точка испарения лежит, например, в конечной области испарительных труб так, что перегрев испаренной текучей среды начинается уже в испарительных трубах. Прямоточный парогенератор в противоположность парогенератору с естественной или принудительной циркуляцией не подлежит никакому ограничению давления так, что он может быть рассчитан для давлений свежего пара значительно выше критического давления воды (Pkri≈221 бар), где не существует никакого различия фаз «вода и пар» и тем самым также не возможно никакое разделение фаз.

[3]

В режиме слабой нагрузки или при запуске подобный прямоточный парогенератор эксплуатируют обычно с минимальным потоком текучей среды в испарительных трубах, чтобы обеспечить надежное охлаждение испарительных труб. При этом как раз при низких нагрузках, например меньше, чем 40% расчетной нагрузки, чисто проточный массопоток через испаритель обычно больше не является достаточным для охлаждения испарительных труб так, что на проток текучей среды через испаритель в циркуляции накладывают дополнительный расход текучей среды. Предусмотренный в испарительных трубах согласно режиму эксплуатации минимальный поток текучей среды тем самым при запуске или в режиме слабой нагрузки в испарительных трубах испаряется не полностью так, что в подобном режиме эксплуатации на конце испарительных труб еще имеется неиспаренная текучая среда, в частности пароводяная смесь.

[4]

Так как обычно подключенные после испарительных труб прямоточного парогенератора перегревательные трубы только после протекания через стенки камеры сгорания, однако, не рассчитаны на протекание неиспаренной текучей среды, прямоточные парогенераторы обычно рассчитаны так, что также при запуске и в режиме слабой нагрузки надежно избегают поступления воды в перегревательные трубы. Для этого испарительные трубы соединены с обычно включенными после них перегревательными трубами через водоотделительную систему. Водоотделитель при этом вызывает разделение пароводяной смеси, выходящей из испарительных труб при запуске и в режиме слабой нагрузки, на воду и пар. Пар подают к включенным после водоотделителя перегревательным трубам, в то время как отделенную воду можно снова подавать, например, через циркуляционный насос к испарительным трубам или отводить через расширитель. Прямоточный парогенератор вышеназванного типа конструкции является известным, например, из DE 19702133 А1.

[5]

В подобных прямоточных парогенераторах испарительные трубы, образующие нижнюю часть ограждающей стенки газохода, обычно впадают в один или несколько выходных коллекторов, от которых текучую среду направляют во включенный дальше пароводяной отделитель. Там происходит разделение текучей среды на воду и пар, причем пар передают во включенную перед перегревательными трубами распределительную систему, где происходит распределение парового массопотока на отдельные, включенные параллельно на стороне текучей среды перегревательные трубы.

[6]

В подобном виде конструкции конечная точка испарения прямоточного парогенератора в режиме запуска или в режиме слабой нагрузки установлена посредством промежуточного включения водоотделительной системы, а не является переменной, как в режиме полной нагрузки. Таким образом, эксплуатационная гибкость прямоточного парогенератора в подобной конструкции в режиме слабой нагрузки является существенно ограниченной. Кроме того, в подобной конструкции отделительные системы, как правило, должны быть рассчитаны относительно выбора материала так, чтобы пар в отделителе в чисто прямоточном режиме эксплуатации был явно перегретым. Необходимый выбор материала приводит также к значительному ограничению эксплуатационной гибкости. Относительно выбора размеров и конструкции необходимых компонентов названный вид конструкции обуславливает к тому же, что выходящий при запуске прямоточного парогенератора в первой фазе запуска выброс воды должен полностью приниматься в отделительной системе и через включенные после нее баллон-сепаратор и спускные вентили может отводиться в расширитель. Результирующие отсюда сравнительно большие размеры баллона-сепаратора и спускных вентилей приводят к значительным затратам на изготовление и монтаж.

[7]

В основе изобретения поэтому лежит задача указания прямоточного парогенератора вышеназванного вида, который при поддерживаемых сравнительно малыми затратах на изготовление и монтаж имеет особенно высокую эксплуатационную гибкость также в режиме запуска и слабой нагрузки.

[8]

Эта задача решается согласно изобретению за счет того, что водоотделительная система содержит множество водоотделительных элементов, из которых каждый соответственно подключен на стороне потока текучей среды после или соответственно перед меньше чем десятью, предпочтительно одной единственной испарительной трубой, и/или меньше чем десятью, предпочтительно одной единственной перегревательной трубой.

[9]

Изобретение исходит при этом из соображения, что прямоточный парогенератор для достижения особенно высокой эксплуатационной гибкости также в режиме пуска в действие или в режиме слабой нагрузки для целей испарения должен быть рассчитан на изменяемую конечную точку испарения. Для этого нужно бы избегать конструктивно обусловленного обычного в существующих системах фиксирования конечной точки испарения в водоотделительной системе. В связи со знанием того, что это фиксирование в основном возникает за счет сбора вытекающей из испарительных труб текучей среды, последующего отделения воды в централизованном водоотделительном устройстве и последующего распределения пара на перегревательные трубы, должна бы быть предпринята децентрализация водоотделительной функции. Водоотделение при этом должно бы быть, в частности, рассчитано так, что после водоотделения не предусмотрено никакого слишком сложного распределения текучей среды, так как именно оно не может практиковаться для пароводяной смеси. Это является достижимым за счет того, что испарительным и/или перегревательным трубам присвоены индивидуальные или объединенные в маленькие группы водоотделительные элементы.

[10]

Ограждающая стенка газохода может быть при этом образована вертикальными трубами или также спирально установленными трубами. В камере сгорания с вертикальной установкой труб, в частности, количество перегревательных труб может быть выбрано таким образом, что каждая перегревательная труба может быть подключена индивидуально через промежуточно включенный водоотделительный элемент после испарительной трубы в смысле присвоения одна-к-одной. При подобном расположении без какой-либо необходимости нового распределения текучей среды при переходе от испарительной трубы в перегревательную трубу становится особенно простым образом возможным смещение при необходимости конечной точки испарения от испарительной трубы в соответственно включенную после перегревательную трубу. Особенно при конструктивном выполнении камеры сгорания со спирально намотанными трубами количество испарительных труб может также быть выбранным, однако значительно меньшим, чем количество предпочтительным образом вертикально расположенных перегревательных труб. В подобной форме выполнения после каждой испарительной трубы через приданный в соответствие водоотделительный элемент может быть подключено множество перегревательных труб, например три перегревательных трубы.

[11]

Сделанное возможным посредством водоотделительных элементов, индивидуально или малыми группами приданных в соответствие испарительным трубам и/или перегревательным трубам, децентрализованное водоотделение в отдельной трубе обеспечивает то, что в регулярных рабочих режимах конечная точка испарения может быть смещена от испарительных во включенные после них перегревательные трубы. С помощью подобного выполнения становится, в частности, возможным, что пространственная переходная область может быть смещена от испарительных в перегревательные трубы в ограждающей стенке прямоточного парогенератора сравнительно далеко вниз, то есть до горелок, расположенных в ограждающей стенке в области испарительных труб. За счет этого в режиме запуска или слабой нагрузки можно поддерживать сравнительно малой часть ограждающей стенки прямоточного парогенератора, эксплуатируемую с наложенной циркуляцией и ограничивать, в частности, до области действительной потребности, то есть области сравнительно высоких плотностей теплового потока в непосредственной окрестности горелок. За счет этого необходимая в целом наложенная циркуляция является предоставляемой в распоряжение с поддерживаемыми сравнительно малыми затратами. Для этого предпочтительным образом водоотделительные элементы позиционированы на высоте до 20 м выше соответственно самой верхней горелки в ограждающей стенке.

[12]

Особенно простое конструктивное выполнение водоотделительных элементов при высокой надежности водоотделения является достижимым за счет того, что соответствующий водоотделительный элемент рассчитан предпочтительно на инерционную сепарацию воды от пара в текучей среде. Для этого предпочтительным образом используют знание того, что водяная составляющая текучей среды вследствие своей более высокой по сравнению с паровой составляющей инерционности предпочтительно течет дальше прямо в своем направлении потока, в то время как паровая составляющая предпочтительно может сравнительно лучше следовать вынужденному отклонению. Для того чтобы лучше использовать это при высоком отделительном действии для сравнительно простой конструкции водоотделительного элемента, последний в особенно предпочтительной форме выполнения выполнен в виде Т-образной детали. При этом соответствующий водоотделительный элемент предпочтительно содержит соединенный с предвключенной испарительной трубой входной отрезок трубы, который при рассмотрении в его продольном направлении переходит в водоотводящий отрезок трубы, причем в переходной области ответвляется множество выходных отрезков трубы, соединенных с подключенной далее перегревательной трубой. Водяная составляющая втекающей во входной отрезок трубы текучей среды при этом вследствие своей сравнительно высокой инерционности в основном транспортируется дальше без отклонения в продольном направлении и переходит тем самым в водоотводящий отрезок трубы. В противоположность этому для паровой составляющей вследствие ее сравнительно меньшей инерционности отклонение является возможным легче так, что паровая составляющая переходит в ответвляющийся выходной отрезок или выходные отрезки трубы.

[13]

Предпочтительным образом входной отрезок трубы при этом выполнен в основном прямолинейным, причем он может быть расположен своим продольным направлением в основном горизонтально или также с заданным углом наклона или опрокидывания. При этом предпочтительно предусмотрен наклон вниз в направлении потока. Альтернативно можно предусматривать приток во входной отрезок трубы через приходящее сверху колено трубы так, что в этом случае текучая среда вследствие центробежной силы прижимается в направлении внешней стороны изгиба. За счет этого водяная составляющая текучей среды предпочтительно течет вдоль внешней области изгиба. В этой форме выполнения тем самым предпочтительно предусмотренный для отведения паровой составляющей выходной отрезок трубы направлен к внутренней стороне изгиба.

[14]

Водоотводящий отрезок трубы предпочтительно в своей входной области выполнен в виде изогнутого вниз колена трубы. Тем самым простым образом и с малыми потерями облегчается отклонение отделенной воды для соответствующего потребности запитывания в последующие системы.

[15]

Предпочтительным образом водоотделительные элементы на стороне выхода воды, то есть, в частности, своими водоотводящими отрезками трубы соединены группами с множеством общих выходных коллекторов. В частности, при этом для каждой боковой стенки газохода может быть соответственно предусмотрен один выходной коллектор, с которым соединены водоотделительные элементы соответствующей боковой стенки. При подобном монтаже тем самым в противоположность обычным системам, в которых на стороне текучей среды водоотделитель включен после выходных коллекторов испарительных труб, соответствующий водоотделительный элемент теперь подключен перед выходным коллектором. Именно за счет этого также в режиме запуска или слабой нагрузки является возможным прямой переход текучей среды из испарительных труб в перегревательные трубы без промежуточного включения сборных или распределительных систем так, что конечная точка испарения может быть смещена также внутрь перегревательных труб. После выходных коллекторов при этом предпочтительно подключено множество водосборных баков. Водосборный бак или водосборные баки могут при этом со своей стороны быть связанными на стороне выхода с подходящими системами, например атмосферным расширителем, или через циркуляционный насос с контуром прямоточного парогенератора.

[16]

При разделении воды и пара в водоотделительной системе можно отделять практически всю водяную составляющую так, что к подключенным далее перегревательным трубам передают только еще испаренную текучую среду. В этом случае конечная точка испарения еще лежит в испарительных трубах. Альтернативно, однако, можно также отделять только часть поступающей воды, причем остальную еще неиспаренную текучую среду вместе с испаренной текучей средой передают дальше в последующие перегревательные трубы. В этом случае конечная точка испарения смещается в перегревательные трубы.

[17]

В названном последним случае, обозначаемом также как перепитывание отделительного устройства, сначала полностью заполняют водой подключенные на стороне воды после водоотделительных элементов компоненты, такие как, например, выходные коллекторы или водосборные баки, так, что при притекающей дальше воде в соответствующих отрезках линии образуется обратный подпор. Как только этот подпор достигнет водоотделительных элементов, по крайней мере, один частичный поток вновь притекающей воды направляют дальше вместе с направляемым в текучей среде паром на последующие перегревательные трубы. Чтобы обеспечить особенно высокую эксплуатационную гибкость в этом режиме так называемой перепитки водоотделительной системы, в особенно предпочтительной форме выполнения в подключенную к водосборным бакам сливную линию включен управляемый через соответствующее регулирующее устройство установочный вентиль. Регулирующее устройство является при этом предпочтительным образом нагружаемым входным значением, которое является характеристическим для энтальпии текучей среды на выходе на стороне пара подключенной после водоотделительной системы перегревательной поверхности нагрева (18).

[18]

С помощью подобной системы в режиме эксплуатации перепитанной водоотделительной системы посредством нацеленного управления включенного в сливную линию водосборного бака вентиля можно устанавливать вытекающий из водосборного бака массопоток. Так как его заменяют соответствующим массопотоком воды из водоотделительных элементов, тем самым можно устанавливать также массопоток, который попадает из водоотделительных элементов в коллекторную систему. Тем самым в свою очередь можно устанавливать также тот частичный поток, который вместе с паром передают дальше в перегревательные трубы так, что через соответствующую установку этого частичного потока, например, на конце следующих после стенок камеры сгорания поверхностей нагрева можно поддерживать заданную энтальпию. Альтернативно или дополнительно можно также воздействовать на передаваемый дальше в перегревательные трубы вместе с паром частичный поток воды посредством соответствующего управления наложенного контура циркуляции. Для этого в последующей или альтернативной предпочтительной форме выполнения через приданное в соответствие водоотделительной системе регулирующее устройство можно управлять циркуляционным насосом.

[19]

Достигнутые изобретением преимущества состоят, в частности, в том, что за счет интеграции водоотделения в систему труб прямоточного парогенератора водоотделение можно производить без предварительного сбора оттекающей из испарительных труб текучей среды и без последующего распределения на перегревательные трубы передаваемой дальше на перегревательные трубы текучей среды. Тем самым можно экономить сложные коллекторные и распределительные системы. За счет отпадения сложных распределительных систем, кроме того, передача текучей среды на перегревательные трубы не ограничивается только паром, более того, на перегревательные трубы можно передавать дальше также пароводяную смесь. Именно с помощью этого можно сдвигать конечную точку испарения через место раздела между испарительными и перегревательными трубами при необходимости внутрь в перегревательные трубы. За счет этого достигают особенно высокую эксплуатационную гибкость также в режиме запуска или слабой нагрузки прямоточного парогенератора. Прямоточный парогенератор является при этом как раз особенно пригодным также для сравнительно большого энергоблока электростанции с электрической мощностью больше чем 100 МВт.

[20]

Кроме того, водоотделительные элементы могут быть выполнены, в частности, в виде Т-образных деталей на основе уже и так имеющейся системы труб прямоточного парогенератора. Эти Т-образные детали могут быть выполнены сравнительно тонкостенными, причем диаметр и толщина стенки могут поддерживаться примерно сравнимыми с диаметром и толщиной труб стенки. Тем самым за счет тонкостенного выполнения водоотделительных элементов продолжительности пускового периода котла в целом или также скорости изменения нагрузки больше не ограничиваются так, что также в установках для высоких параметров пара является достижимым сравнительно короткое время реакции при изменениях нагрузки. К тому же подобные Т-образные детали являются изготавливаемыми особенно экономично относительно затрат. Кроме того, за счет расположения водоотделительной системы на сравнительно малой высоте выше горелок можно поддерживать малой составляющую заполненных водой при запуске котла поверхностей нагрева так, что появляющийся при запуске выброс воды и связанные с этим потери могут поддерживаться особенно малыми. В частности, допустимой является также промежуточная перепитка отделительных элементов при запуске или в режиме слабой нагрузки так, что часть выбрасываемой кипящей воды можно улавливать в подключенных после испарительных труб перегревательных трубах. Таким образом, расчет водосборных систем, например баллонов-сепараторов или сливных вентилей, можно производить для соответственно меньших сливных количеств и тем самым более экономично относительно расходов. Смещение конечной точки испарения в перегревательные трубы позволяет ограничить возможно необходимое впрыскивание воды и связанные с этим потери.

[21]

Пример выполнения изобретения поясняется более подробно с помощью чертежей, на которых:

[22]

фиг.1 - схематически прямоточный парогенератор вертикального типа конструкции;

[23]

фиг.2 - в виде вырезов водоотделительная система прямоточного парогенератора по фиг.1;

[24]

фиг.3a-3d - водоотделительный элемент.

[25]

Одинаковые детали на всех чертежах снабжены одинаковыми ссылочными позициями.

[26]

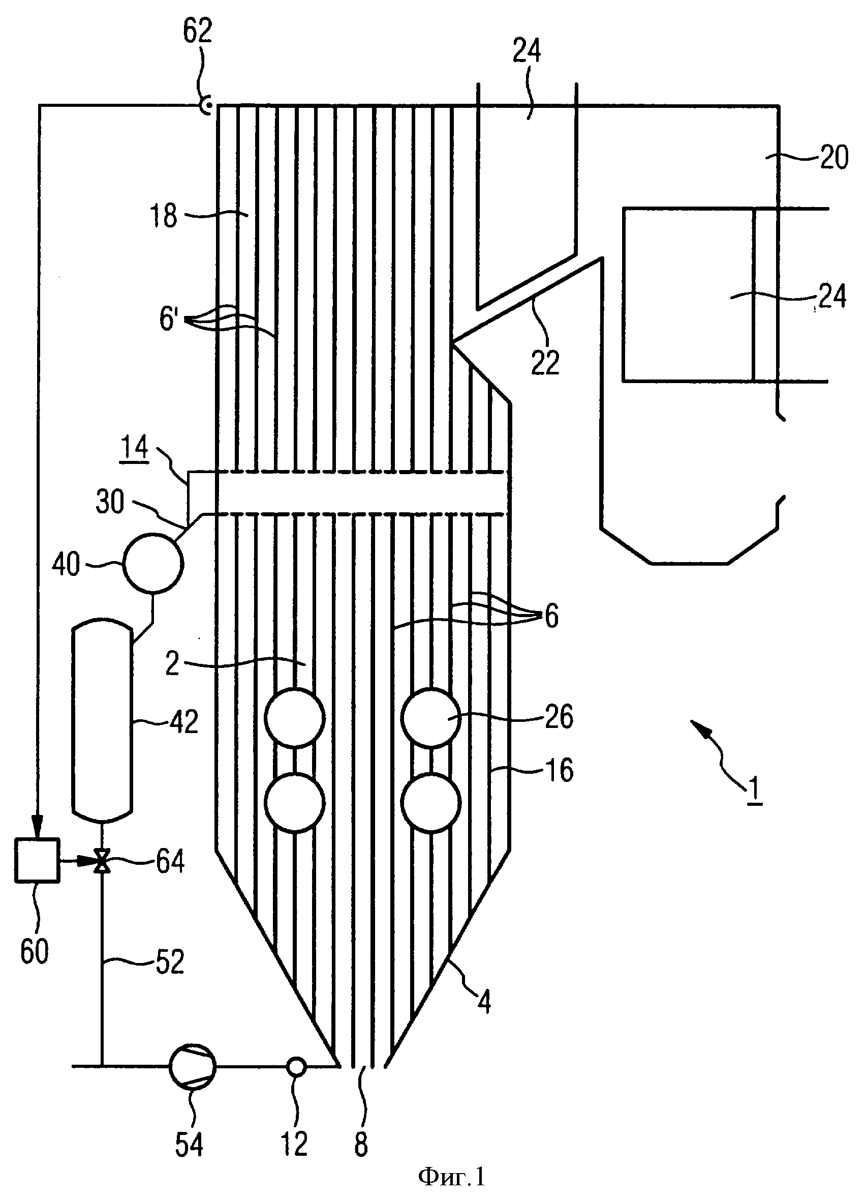
Прямоточный парогенератор 1 согласно фиг.1 выполнен вертикального типа конструкции и в виде двухходового парогенератора. Он содержит ограждающую стенку 2, которая на нижнем конце образованного ею первого газохода переходит в воронкообразное дно 4. Ограждающая стенка 2 в нижней области или испарительной области выполнена из испарительных труб 6, а в верхней области или перегревательной области - из перегревательных труб 6'. Испарительные трубы 6 или соответственно перегревательные трубы 6' газоплотно соединены друг с другом, например сварены, на своих продольных сторонах. Дно 4 содержит не представленное более подробно разгрузочное отверстие 8 для сажи.

[27]

Протекаемые текучей средой, в частности водой или пароводяной смесью, снизу вверх испарительные трубы 6 ограждающей стенки 2 подключены своими входными концами к входному коллектору 12. На стороне выхода испарительные трубы 6 через водоотделительную систему 14 подключены к следующим дальше на стороне текучей среды перегревательным трубам 6'.

[28]

Испарительные трубы 6 ограждающей стенки 2 образуют в находящемся между входным коллектором 12 и водоотделительной системой 14 отрезке газохода испарительную поверхность нагрева 16. К ней примыкает образованная перегревательными трубами 6' поверхность дополнительного нагрева или перегревательная поверхность нагрева 18. Дополнительно во втором, обтекаемом топочными газами вниз, газоходе 20 и в соединяющем его на стороне топочного газа с первым газоходом поперечном газоходе 22 еще расположены следующие, представленные только схематически, поверхности нагрева 24, например экономайзер и конвективные перегревательные поверхности нагрева.

[29]

В нижней области ограждающей стенки 2 размещено множество горелок для ископаемого топлива соответственно в отверстия 26. На подобном отверстии 26 испарительные трубы ограждающей стенки 2 являются изогнутыми для обхода соответствующего отверстия 26 и проходят на внешней стороне вертикального газохода. Эти отверстия могут быть также предусмотрены, например, для воздушных сопел.

[30]

Прямоточный парогенератор 1 рассчитан на то, что также в режиме запуска или слабой нагрузки, при котором испарительным трубам 6 еще дополнительно к испаряемому массопотоку текучей среды из соображений эксплуатационной надежности накладывают еще следующий циркуляционный массопоток текучей среды, положение конечной точки испарения можно поддерживать изменяемым для особенно высокой эксплуатационной гибкости. Для этого конечная точка испарения в режиме запуска или слабой нагрузки, при котором текучая среда на конце испарительных труб 6 в соответствии с расчетом еще не является полностью испаренной, должна смещаться в перегревательные трубы 6'. Для достижения этого водоотделительная система 14 рассчитана таким образом, что после отделения воды и пара не требуется распределения пароводяной смеси на перегревательные трубы 6'. Чтобы сделать это возможным, водоотделительная система 14 содержит множество водоотделительных элементов 30, из которых в примере выполнения каждый соответственно подключен на стороне текучей среды после или соответственно перед одной единственной испарительной трубой 6 и одной единственной перегревательной трубой 6'. Альтернативно присвоение испарительных труб 6 и/или перегревательных труб 6' к отдельным водоотделительным элементам 30 могло бы быть предпринято также группами таким образом, что максимально соответственно десять испарительных труб 6 и/или перегревательных труб 6' соединены с одним общим водоотделительным элементом 30.

[31]

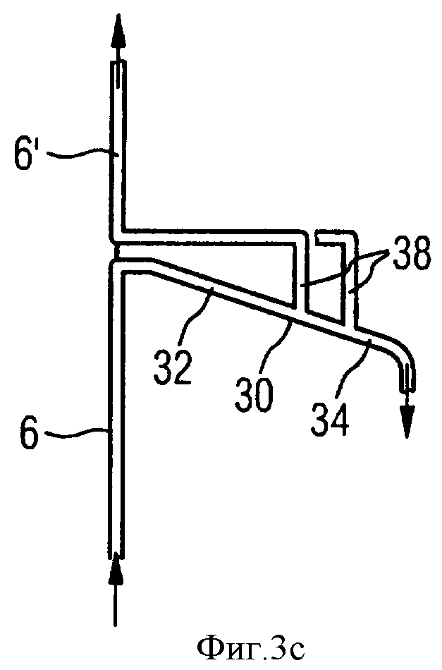
В примере выполнения водоотделительные элементы 30, из которых на фиг.1 является видным только один, рассчитаны, однако, таким образом, что в смысле присвоения один-к-одному каждая испарительная труба 6 соединена точно с одной последующей перегревательной трубой 6' так, что водоотделение функционально и схемотехнически смещено в отдельные трубы. Таким образом обеспечено, что в связи с разделением воды и пара не является необходимым ни сбор вытекающей из испарительных труб 6 текучей среды, ни распределение подлежащей дальнейшему направлению текучей среды на последующие перегревательные трубы 6'. Тем самым сделано возможным особенно простым образом смещение конечной точки испарения в перегревательные трубы 6'. Как, однако, оказалось, в гидродинамическом отношении дальнейшая передача пароводяной смеси на перегревательные трубы 6' является возможной также тогда, когда распределение происходит на не больше чем порядка десяти перегревательных трубах 6'.

[32]

Водоотделительная система 14, которая снова показана увеличенно в виде выреза на фиг.2, содержит тем самым соответствующее количеству испарительных труб 6 и перегревательных труб 6' множество водоотделительных элементов 30, из которых каждый выполнен в виде Т-образного отрезка трубы. Для этого водоотделительный элемент 30 содержит соединенный с предвключенной испарительной трубой 6 входной отрезок трубы 32, который при рассмотрении в его продольном направлении переходит в водоотводящий отрезок трубы 34, причем в переходной области 36 ответвляется выходной отрезок трубы 38, соединенный с подключенной далее перегревательной трубой 6'. С помощью этой конструкции водоотделительный элемент 30 рассчитан для инерционной сепарации пароводяной смеси, втекающей из предвключенной испарительной трубы 6 во входной отрезок трубы 32. Дело в том, что вследствие своей сравнительно более высокой инерционности водяная составляющая текучей среды, текущей во входном отрезке трубы 32, в месте перехода 36 предпочтительно течет прямолинейно дальше в аксиальном продолжении входного отрезка трубы 32 и тем самым попадает в водоотводящий отрезок трубы 34. Паровая составляющая пароводяной смеси, текущей во входном отрезке трубы 32, в противоположность этому вследствие своей сравнительно меньшей инерционности может лучше следовать вынужденному отклонению и тем самым течет через выходной отрезок трубы 38 к включенному дальше отрезку перегревательной трубы 6'.

[33]

На стороне выхода воды, то есть через водоотводящие отрезки трубы 34, водоотделительные элементы 30 соединены группами соответственно с одним общим выходным коллектором 40, причем для каждой боковой стенки газохода предусмотрен один единственный выходной коллектор 40. Выходные коллекторы 40 соединены со своей стороны на стороне выхода с одним общим водосборным баком 42, в частности баллоном-сепаратором.

[34]

Выполненные в виде Т-образной детали водоотделительные элементы 30 могут быть выполнены оптимированными относительно их отделительного действия. Примеры выполнения для этого следуют из фиг.3a-3d. Как представлено на фиг.3а, входной отрезок трубы 32 вместе с подключенным после него водоотводящим отрезком трубы 34 может быть выполнен в основном прямолинейным и своим продольным направлением быть наклонен относительно горизонтали. В примере выполнения согласно фиг.3а перед входным отрезком трубы 32 к тому же включен коленообразно изогнутый отрезок трубы 50, который вследствие своего изгиба и своего пространственного расположения обуславливает то, что вода, втекающая во входной отрезок трубы 32, вследствие центробежной силы предпочтительно прижимается к противоположной выходному отрезку трубы 38 стороне внутренней стенки входного отрезка трубы 32 и водоотводящего отрезка трубы 34. Тем самым улучшается дальнейшая транспортировка водяной составляющей в водоотводящий отрезок трубы 34 так, что отделительное действие в целом повышается.

[35]

Подобное усиление отделительного действия, как это представлено на фиг.3b, является также достижимым, если входной отрезок трубы 32 и водоотводящий отрезок трубы 34 в основном расположены горизонтально, в то время как перед ними так же включен проходящий с подходящим изгибом отрезок трубы 50.

[36]

На фиг.3с представлен пример выполнения, где водоотделительный элемент 30 соединяет единственную предвключенную испарительную трубу 6 с множеством подключенных в примере выполнения 2 после перегревательных труб 6'. Для этого в примере выполнения согласно фиг.3с от образованного входным отрезком трубы 32 и водоотводящим отрезком трубы 34 канала среды ответвляются два выходных отрезка трубы 38, каждый из которых соответственно соединен с подключенной после перегревательной трубой 6'. Для облегчения втекания отделенной воды во включенный далее выходной коллектор 40 выходной отрезок трубы 34 может быть выполнен, как это показано на фиг.3d, в виде изогнутого вниз колена трубы или содержать соответственно выполненную промежуточную часть.

[37]

Как можно видеть из представления на фиг.1, водосборный бак 42 на стороне выхода соединен через подключенную сливную линию 52 и через не представленную более подробно подогревательную поверхность нагрева с подключенным перед испарительными трубами 6 входным коллектором 12. Тем самым возникает замкнутый циркуляционный контур, через который на текучую среду, текущую в испарительных трубах 6, в режиме запуска или слабой нагрузки можно накладывать дополнительную циркуляцию для повышения эксплуатационной надежности. В зависимости от производственной необходимости или потребности можно эксплуатировать отделительную систему 14 таким образом, что из текучей среды отделяют всю еще имеющуюся на выходе испарительных труб 6 воду, а дальше на перегревательные трубы 6' передают только испаренную текучую среду.

[38]

Альтернативно отделительную систему 14 можно эксплуатировать также в так называемом режиме перепитки, при котором из текучей среды отделяют не всю воду, а передают дальше вместе с паром еще частичный поток направляемой вместе воды на перегревательные трубы 6'. При этом режиме эксплуатации конечная точка испарения смещается в перегревательные трубы 6'. В подобном перепитанном режиме сначала полностью заполняется водой как водосборный бак 42, так и подключенные перед ним выходные коллекторы 40 так, что образуется обратный подпор вплоть до переходной области 36 соответствующих водоотделительных элементов 30, на которой ответвляется выходной отрезок трубы 38. В связи с этим обратным подпором также водяная составляющая притекающей к водоотделительным элементам 30 текучей среды претерпевает, по крайней мере, частично отклонение и попадает тем самым вместе с паром в выходной отрезок трубы 38. Высота частичного потока, который при этом подводится вместе с паром к перегревательным трубам 6', получается при этом, с одной стороны, из всего массопотока воды, подведенного к соответствующему водоотделительному элементу 30, и, с другой стороны, из отведенного через водоотводящий отрезок трубы 34 частичного массопотока. Тем самым за счет подходящего изменения подведенного массопотока воды и/или отведенного через водоотводящий отрезок трубы 34 массопотока воды можно устанавливать передаваемый дальше в перегревательные трубы 6' массопоток неиспаренной текучей среды. Тем самым является возможным с помощью управления одной или обеих названных величин устанавливать составляющую неиспаренной текучей среды, передаваемой дальше в перегревательные трубы 6', таким образом, что на конце перегревательной поверхности нагрева 18 устанавливается, например, заданная энтальпия.

[39]

Чтобы сделать это возможным, водоотделительной системе 14 придано в соответствие регулирующее устройство 60, которое на стороне входа соединено с измерительным преобразователем 62, выполненным для определения параметра, характерного для энтальпии на выходе на стороне пара подключенной после водоотделительной системы (14) перегревательной поверхности нагрева (18).

[40]

На стороне выхода регулирующее устройство 60 действует, с одной стороны, на установочный вентиль 64, включенный в сливную линию 52 водосборного бака 42. Тем самым посредством нацеленного управления установочным вентилем 64 можно задавать поток воды, который отбирают из отделительной системы 14. Этот массопоток можно опять-таки извлекать из текучей среды в водоотделительных элементах 30 и направлять дальше к следующим коллекторным системам. Таким образом, за счет управления установочным вентилем 64 можно оказывать влияние на соответственно ответвленный в водоотделительном элементе 30 поток воды и тем самым оказывать влияние на водяную составляющую, еще передаваемую дальше после отделения в текучей среде в перегревательные поверхности нагрева 6'. Альтернативно или дополнительно регулирующее устройство 60 еще может воздействовать на циркуляционный насос 54 так, что можно также соответственно устанавливать скорость притока среды в водоотделительную систему 14.

Как компенсировать расходы
на инновационную разработку
Похожие патенты