Изобретение относится к области теплотехники и может быть использовано в системах химводоподготовки на тепловых электростанциях и котельных, а также в других отраслях промышленности. Установка содержит подводящий трубопровод десорбируемой жидкости, на котором установлен жидкоструйный эжектор 1 связанный с массообменником-газоотделителем центробежно-вихревого типа, выполненным в виде цилиндрического корпуса 6 с верхней и нижней торцевыми крышками, и последовательно установленное дополнительное эжектирующее устройство. Нижняя часть корпуса массообменника-газоотделителя выполнена с отверстиями и помещена в сепаратор 7. Сепаратор выполненен в виде обечайки с верхней и нижней крышками и содержит трубу отвода отработанного газа 8, проходящую через корпус массобменника-газоотделителя, и устройство для отвода жидкости в дополнительное эжектирующее устройство. Дополнительное эжектирующее устройство выполнено в виде обечайки 9, переходящей в конусную воронку 11 с трубой, имеющей два изогнутых на 90° участка. Нижняя часть трубы соединена с баком-аккумулятором десорбированной жидкости 16 или с входным тангенциальным патрубком центробежно-вихревого массообменника-газоотделителя следующей ступени. Обечайка дополнительного эжектирующего устройства соединена с атмосферой или с газопроводом десорбирующего газа. Технический результат: повышение эффективности десорбции, упрощение конструкции, снижение ее металлоемкости и стоимости. 3 з.п. ф-лы, 4 ил.
1. Десорбционная установка, содержащая подводящий трубопровод десорбируемой жидкости, на котором установлен жидкоструйный эжектор со всасывающим трубопроводом десорбирующего газа и нагнетательным патрубком газожидкостной смеси, переходящим в подводящий тангенциальный патрубок массообменника-газоотделителя центробежно-вихревого типа, выполненного в виде цилиндрического корпуса с верхней и нижней торцевыми крышками, и последовательно установленное дополнительное эжектирующее устройство, отличающаяся тем, что нижняя часть корпуса массообменника-газоотделителя выполнена с отверстиями и помещена в сепаратор, выполненный в виде обечайки с верхней и нижней крышками, и содержащий трубу отвода отработанного газа, проходящую через корпус массобменника-газоотделителя, и устройство для отвода жидкости в дополнительное эжектирующее устройство, выполненное в виде обечайки, переходящей в конусную воронку с трубой, имеющей два изогнутых на 90° участка, при этом нижняя часть трубы соединена с баком-аккумулятором десорбированной жидкости или с входным тангенциальным патрубком центробежно-вихревого массообменника-газоотделителя следующей ступени, при этом нижняя часть сепаратора помещена в обечайку дополнительного эжектирующего устройства, которая соединена с атмосферой или с газопроводом десорбирующего газа. 2. Десорбционная установка по п.1, отличающаяся тем, что устройство для отвода жидкости из сепаратора в дополнительное эжектирующее устройство выполнено в виде перфораций в нижней части обечайки или в виде конусной воронки, помещенной внутри дополнительного эжектирующего устройства. 3. Десорбционная установка по п.1, отличающаяся тем, что всасывающий трубопровод жидкоструйного эжектора и патрубок дополнительного эжектирующего устройства присоединены к газопроводу десорбирующего газа. 4. Десорбционная установка по п.1, отличающаяся тем, что включает систему последовательно расположенных один под другим массообменников-газоотделителей, последовательно соединенных между собой по потоку жидкости, причем на выходе каждого из них установлено дополнительное эжектирующее устройство, а количество последовательно соединенных массообменников-газоотделителей может быть два, три или более.
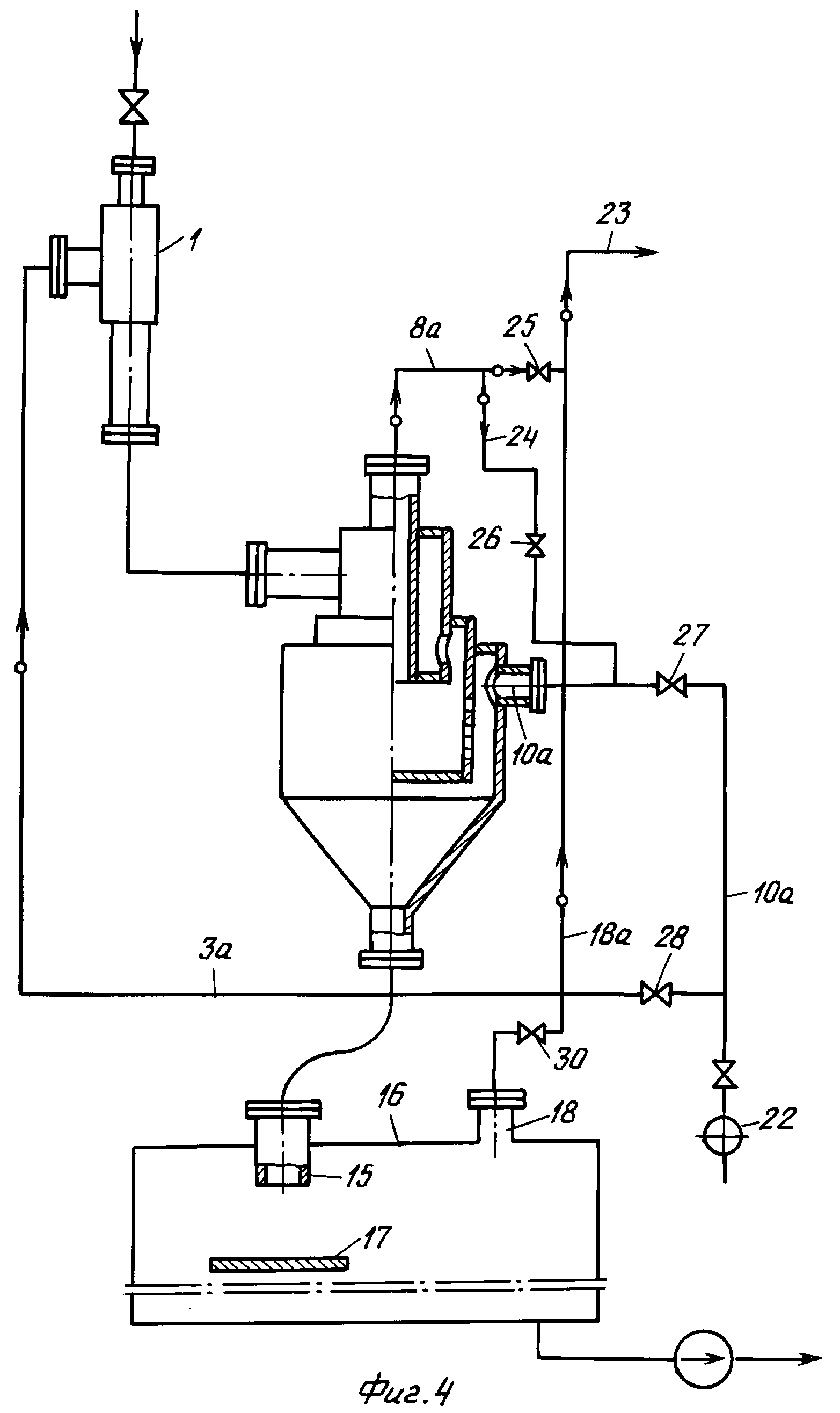
Изобретение относится к области теплоэнергетики и может быть использовано в системах химводоподготовки на тепловых электростанциях и котельных в качестве декарбонизатора, а также в других отраслях промышленности, например в химической и нефтяной промышленности, для дегазации жидкостей от растворенных в ней газов, например для очистки нефти от сероводорода при помощи попутного или природного газа. Известны и нашли широкое применение десорберы, включая и декарбонизаторы, представляющие собой колонну, заполненную кольцами Рашига или другими насадками, в которой в противотоке контактируют жидкость и десорбирующий газообразный агент. Жидкость подается сверху, а воздух - снизу. Таковы декарбонизаторы для десорбции углекислоты из воды (Л.1. Справочник химика-энергетика под редакцией Голубцова В.А. и др. Государственное энергетическое издательство, Москва, Ленинград, 1958, том второй, стр.156. 157, фиг.9-11, 9-12, декарбонизаторы), а также вертикальный газоотделитель с регулярной насадкой АВР (см.Л.2. М.Н.Персиянцев. «Совершенствование процессов сепарации нефти от газа в промысловых условиях», Москва: Недра, 1999 г., стр.194, рис.5.4, стр.199, рис.5.6, стр.212, рис.5.11. Принципиальная схема установки сепарации нефти с концевой ступенью в виде колонны глубокой дегазации (КГД) показана на стр.221, рис.6.1, и стр.226, рис.6.4). Недостатком указанных аппаратов является их громоздкость, большая метало- и материалоемкость, дороговизна и недостаточная эффективность работы. Со временем керамические кольца Рашига крошатся, покрываются скользким налетом, что приводит к неудовлетворительной работе декарбонизатора и к необходимости выгружать 20 и более тонн колец из каждого декарбонизатора, очищать их от налета и заменять разрушенные кольца или полностью менять кольца. Во много раз менее громоздки и имеют значительно меньшую металло- и материалоемкость аппараты интенсивного массообмена центробежно-вихревого типа без заполнителя (колец Рашига). Например, дегазационная установка, защищенная авторским свидетельством СССР № 1402582 (кл. C02F 1/20), могущая работать, например, в качестве десорбера-декарбонизатора. Она представляют собой жидкоструйный эжектор, в котором исходная жидкость (вода) эжектирует газообразный десорбирующий агент (атмосферный воздух). Последовательно по ходу жидкости установлен дегазатор-сепаратор центробежно-вихревого типа, в котором жидкость приобретает вращательное движение, а воздух, проконтактировавший с жидкостью, должен сепарироваться от капель жидкости и выходить в атмосферу. Эта установка малогабаритна, имеет малую металлоемкость, не имеет дутьевого вентилятора. Однако эта установка оказалась недостаточно эффективна из-за того, что сам дегазатор является эжектором за счет тангенциального отвода жидкости. Отработанный воздух, насыщенный десорбированными газами, частично выходил из дегазатора через патрубок в верхней крышке, а частично эжектировался тангенциальным отводящим патрубком во вторую ступень эжекторов. Но даже при этом снижение содержания углекислоты было от 100 до 6 мг/л при норме 4 мг/л. Эффективность использования каждого кубометра воздуха оказалась значительно большей, однако недостаточной из-за повторного использования отработанного воздуха, насыщенного углекислотой, вместо свежего. В качестве прототипа выбрано именно это изобретение «Дегазационная установка», защищенная авторским свидетельством СССР № 1402582 (кл. C02F 1/20) «Декарбонизатор». Известный аппарат имеет жидкоструйный эжектор, использующий энергию жидкости, из которой нужно удалить растворенные в ней газы. Этот эжектор подсасывает десорбирующий воздух из атмосферы или из подведенного газопровода. Далее по ходу жидкости расположен массообменник-газоотделитель центробежно- вихревого типа (МГ), выполненный в виде цилиндрического корпуса с верхней и нижней торцевыми крышками, верхняя из которых имеет патрубок отвода выделившихся газов. К верхней части корпуса тангенциально подсоединен патрубок (один или несколько) подвода смеси исходной жидкости и воздуха после смешения их в эжекторе. Жидкоструйный эжектор установлен в рассечку трубопровода исходной жидкости и соединен всасывающим патрубком с атмосферой или с газопроводом десорбирующего газа. Внутри корпуса МГ установлена кольцевая перегородка (шайба), разделяющая корпус на входной и выходной отсеки, обеспечивающая определенную толщину вращающегося слоя жидкости во входном отсеке. К нижней части корпуса так же тангенциально подсоединен патрубок (или несколько патрубков) дегазированной жидкости, выходящей из массообменника-газоотделителя. Причем выходной конец этого патрубка присоединен к эжектирующему устройству второй ступени, подсасывающиму воздух из атмосферы за счет гравитационного движения жидкости вниз. Это эжектирующее устройство соединено непосредственно или через трубопровод с аккумулирующей емкостью, в которой имеется патрубок отвода воздуха и патрубок отвода дегазированной жидкости. Недостатком прототипа является то, что центробежно-вихревой массообменник-газоотделитель является одновременно и эжектором, подсасывающим отработанный воздух, что снижает или прекращает подсос свежего воздуха эжектирующим устройством второй ступени. Выполнение корпуса массообменника-газоотделителя из трубы одного диаметра, разделенной на входной и выходной отсеки при помощи кольцевой перегородки (шайбы), повышает сопротивление входа газожидкостной смеси из эжектора во входной отсек. Чем больше толщина вращающегося слоя жидкости, тем больше противодавление жидкости на стенку корпуса газоотделителя (каждый слой вращающейся жидкости толщиной в 1 см создает давление на стенку, равное Р=W2/R кгс/м2), причем скорость вращения жидкости возрастает по мере уменьшения радиуса закрутки по формуле W2=W1×R1/R2. Целью настоящего изобретения является устранение указанных недостатков прототипа: повышение качества работы десорбционной установки (уменьшение остаточного содержания углекислоты в декарбонизированной воде или уменьшение остаточного содержания сероводорода в установке по очистке нефти). Указанная цель достигается тем, что в известной десорбционной установке, имеющей жидкоструйный эжектор (ЭЖ), установленный в рассечку трубопровода исходной жидкости и соединенный всасывающим патрубком с атмосферой, массообменник-газоотделитель центробежно-вихревого типа, выполненный в виде цилиндрического корпуса с верхней и нижней торцевыми крышками, верхняя из которых имеет патрубок отвода выделившихся газов, к верхней части корпуса подсоединен тангенциальный патрубок (один или несколько) подвода смеси исходной жидкости и воздуха (десорбирующего газа) после смешения их в эжекторе, в нижней части корпуса имеется тангенциальный отводящий патрубок жидкости, нижняя часть корпуса массообменника-газоотделителя выполнена с отверстиями и помещена в сепаратор, выполненный в виде обечайки с верхней и нижней крышками и содержащий трубу отвода отработанного газа, проходящую через корпус массообменника-газоотделителя и устройство для отвода жидкости в дополнительное эжектирующее устройство, выполненное в виде обечайки, переходящей в конусную воронку с трубою, имеющей два изогнутых на 90° участка, при этом нижняя часть трубы соединена с баком-аккумулятором десорбированной жидкости или с входным тангенциальным патрубком массообменника-газоотделителя следующей ступени, при этом нижняя часть сепаратора помещена в обечайку дополнительного эжектирующего устройства, которая соединена с атмосферой или с газопроводом десорбирующего газа. Кроме того, устройство для отвода жидкости из сепаратора в дополнительное эжектирующее устройство выполнено в виде перфораций в нижней части обечайки или в виде конусной воронки, помещенной внутри дополнительного эжектирующего устройства. Кроме этого, всасывающий трубопровод жидкоструйного эжектора и патрубок дополнительного эжектирующего устройства могут быть присоединены к газопроводу десорбирующего газа. Десорбционная установка включает систему последовательно расположенных один над другим массообменников-газоотделителей, последовательно соединенных между собой по потоку жидкости, причем на выходе каждого из них установлено дополнительное эжектирующее устройство, а количество последовательно соединенных массообменников-газоотделителей может быть два, три или более. На один аккумуляторный бак десорбированной жидкости можно установить несколько аналогичных установок, что позволит обеспечивать диапазон регулирования нагрузок за счет изменения количества работающих установок (водоструйный эжектор работает при постоянстве давления, при минимальном изменении расхода жидкости). Например, декарбрнизатор производительностью 300 т/ч может состоять из одного бака и трех аналогичных установок производительностью 100 т/ч. На фиг.1 показана схема декарбонизационной установки (установки для десорбции углекислоты из воды при помощи атмосферного воздуха) с жидкоструйным эжектором ЭЖ, с продольными разрезами массообменника-газоотделителя, сепаратора, устройства для отвода жидкости в дополнительное эжектирующее устройство ЭЖ2. На фиг.2 - схема декарбонизационной установки с тремя ступенями эжектирования воздуха из атмосферы (одним эжектором ЭЖ и двумя дополнительными эжектирующими устройствами ЭЖ2), с двумя массообменниками-газоотделителями. На фиг.3 - схема с продольным разрезом массообменника-газоотделителя и дополнительного эжектирующего устройства ЭЖ2 (вариант с днищем, выполненным в виде воронки, отводящей жидкость в ЭЖ2). На фиг.4 - схема десорбционной установки очистки нефти от сероводорода в промысловых условиях при помощи попутного (природного) газа. Установка содержит водоструйный эжектор 1 с подводящим трубопроводом 2 десорбируемой жидкости, всасывающим трубопроводом 3 десорбирующего газа (которым может быть воздух), соединенного с атмосферой или с газопроводом десорбирующего газа, нагнетательным патрубком 4 газожидкостной смеси, переходящим в тангенциальный патрубок 5 подвода смеси к массообменнику-газоотделителю центробежно-вихревого типа 6. Сепаратор имеет обечайку 7 с перфорациями в нижней части или в виде конусной воронки (фиг.3), трубу 8, отводящую отработанные газы через массообменник-газоотделитель. Устройство для отвода жидкости в дополнительное эжектирующее устройство ЭЖ2 имеет обечайку 9, конусную воронку 11. Дополнительное эжектирующее устройство имеет вертикальный отрезок трубы 12 и как минимум два участка труб 13, 14 с поворотом на 90°. Между сепаратором 7 и обечайкой 9 имеется щель 10 для подсоса воздуха или патрубок подводящего газопровода 10а десорбирующего газа (фиг.4). Отрезок трубы 15 соединяет ЭЖ2 с баком-аккумулятором десорбированной жидкости 16 (элементы трубы 12, 13, 14, 15 являются единой трубой, соединяющей ЭЖ2 с баком 16). 17 - отбойник потока воды, 18 - патрубок отвода отработанных газов из бака 16. Трехступенчатая установка (фиг.2) имеет дополнительно отвод 19, присоединенный тангенциально к массообменнику-газоотделителю 20 последующей ступени, дополнительное эжектирующее устройство 21. Установка для очистки нефти от сероводорода имеет дополнительно газопровод 22 подвода десорбирующего газа, от которого ответвляются газопроводы 3а (к эжектору ЭЖ) и 10а (к эжектору ЭЖ2). Трубопроводы 8а и 18а служат для отвода отработанной смеси десорбирующего и десорбированного газов в трубопровод 23 для регенерации или для сжигания. Трубопровод 24 и запорные органы (задвижки) 25, 26, а также 27, служат для изменения схемы параллельной подачи десорбирующего газа в ЭЖ и в ЭЖ2 на последовательную подачу (сначала в эжектор ЭЖ, потом в эжектор ЭЖ2) и наоборот. Задвижки 28, 29,30 - рабочие задвижки. Работа установки в режиме декарбонизатора (удаление из воды углекислоты) осуществляется следующим образом. Вода (дегазируемая жидкость) после системы химводоочистки с водород-катионитовыми фильтрами, содержащая большое количество свободной углекислоты, с давлением 30-50 м вод. ст. (обычно такое давление устанавливается после фильтров), направляется в водоструйные эжекторы 1. Эжекторы 1 должны быть установлены на высоте 5-10 метров выше бака 16. Давления воды 30 м вод. ст. достаточно, чтобы создать разрежение в эжекторе 1 и подсосать воздух из атмосферы. Вода и воздух диспергируются на мелкие струи и капли. Воздух абсорбирует на себя углекислоту. Смесь воды и воздуха подается через тангенциальный патрубок 5 в верхнюю часть массообменника-газоотделителя 6 центробежно-вихревого типа (МГ) и приобретает вращательное движение (отсутствие шайбы не позволяет иметь толстый слой вращающейся жидкости, создающий излишнее сопротивление входу). Центробежные силы внутри дегазатора сепарируют (отделяют) воду от газов. Жидкость (вода) выходит через окна в нижней части МГ, сохраняя вращательное движение, и попадает в сепаратор 7, где газы отделяются от жидкости. Отработанные газы (воздух) выходят через трубу 8, а жидкость через перфорации попадает в дополнительное эжектирующее устройство (9, 11, 13, 15). Дважды изменив направление воды на 90° в отводах 13 и 14, вода полностью перекрывает сечение трубы, создавая эффект поршня и создавая вакуум (образуя гравитационный эжектор). Через щель в верхней части обечайки 9 происходит засасывание воздуха эжектором ЭЖ2. Воздух контактирует с водой и отбирает из нее углекислоту. В баке-аккумуляторе 16 водогазовая смесь разделяется, ударяясь об отбойник 17, жидкость дополнительно диспергируется, увеличивая поверхность контакта фаз. Смесь воздуха с углекислотой покидает бак 16 через патрубок 18. При выполнении десорбционной установки согласно фиг.2 отсепарированная от газов вода поступает во вторую ступень МГ и далее через ЭЖ2 второй ступени - в бак 16. Работа в качестве установки очистки нефти от сероводорода в промысловых условиях (фиг.4) отличается тем, что десорбируемой жидкостью является нефть, а десорбирующим газом природный или попутный газ нефтяных месторождений. Выполнение массообменника-газоотделителя (МГ) с отверстями в нижней части и помещение его в сепаратор, имеющий перфорации, диаметры которых соизмеримы с толщиной стенки, и трубу для отвода газов, позволяет эффективно отделять от жидкости отработанные газы без эжектирования отработанных газов. Выполнение нижней части газоотделителя в виде воронки (фиг.3) несколько улучшает гидродинамику, также предотвращает эжектирование отработанных газов в ЭЖ2. Выполнение дополнительного эжектирующего устройства в виде обечайки, переходящей в конусную воронку с трубою, имеющей как минимум два изогнутых на 90° участка, позволяет использовать силу гравитации земли для эжектирования жидкостью воздуха или десорбирующего газа. Выполнение установки многоступенчатой, из нескольких аналогичных друг другу массообменников-газоотделителей с эжектирующими устройствами перед и за каждым из них, позволяет несколько раз насыщать жидкость десорбирующим газом и удалять днсорбируемые газы. Такая установка позволяет использовать нивелирный напор воды (высоту столба воды, поднятой над установкой) для многократного эжектирования воздуха или десорбирующего газа (принцип гравитационного эжектора) и улучшить за счет этого качество десорбированной жидкости. Такая установка позволит полностью заменить существующие декарбонизаторы, имеющие большую металло- и материалоемкость, на менее металлоемкие и простые в изготовлении установки, не потребляющие энергии на привод дутьевых вентиляторов. Простота, легкость конструкции и малый объем установки позволяет устанавливать ее в помещении любого цеха, имеющего достаточную высоту. Необязательно каскад дегазаторов должен располагаться непосредственно над баком-аккумулятором. Он может располагаться даже на значительном расстоянии от него. Использование предлагаемой установки для десорбции сероводорода из добываемой нефти в промысловых условиях на два порядка уменьшит себестоимость установки при хорошем качестве десорбции нефти.