патент
№ RU 2382154
МПК E04B5/43

БЕЗБАЛОЧНОЕ ПЕРЕКРЫТИЕ

Авторы:
Свинцов Александр Петрович Шкиленко Антон Сергеевич Малов Аркадий Николаевич
Все (4)
Номер заявки
2008141046/03
Дата подачи заявки
16.10.2008
Опубликовано
20.02.2010
Страна
RU
Как управлять
интеллектуальной собственностью
Чертежи 
4
Реферат

Изобретение относится к области строительства, в частности к безбалочному перекрытию. Технический результат заключается в высокой несущей способности и технологичности производства работ. Перекрытие содержит железобетонную плиту. Плита армирована по осям сетки колонн арматурными элементами верхней и нижней зон пространственных каркасов условных ригелей. Над колоннами плита армирована взаимно перпендикулярно пересекающимися арматурными элементами в верхней и нижней зонах. Перекрытие снабжено арматурными элементами условных ригелей, установленными по диагоналям плиты между колоннами. Арматурные элементы выполнены как одно целое на всю длину диагоналей сетки колонн и установлены в верхней и нижней зонах. В области пересечения каркасов условных ригелей в пролетах в нижней зоне установлены радиальные арматурные элементы, соединенные между собой посредством пластины в одной плоскости. Радиальные элементы расположены на уровне верхнего края арматурных элементов нижней зоны каркасов условных ригелей. Над средними и крайними колоннами в верхней и нижней зонах установлены радиальные арматурные элементы, соединенные в одной плоскости. 5 ил.

Формула изобретения

Безбалочное перекрытие, содержащее железобетонную плиту, армированную по осям сетки колонн арматурными элементами верхней и нижней зон пространственных каркасов условных ригелей, а над колоннами взаимно перпендикулярно пересекающимися арматурными элементами в верхней и нижней зонах, отличающееся тем, что перекрытие дополнительно снабжено арматурными элементами условных ригелей, установленными по диагоналям плиты между колоннами, при этом арматурные элементы выполнены как одно целое на всю длину диагоналей сетки колонн и установлены в верхней и нижней зонах, а в области пересечения каркасов условных ригелей в пролетах в нижней зоне установлены радиальные арматурные элементы, соединенные между собой посредством пластины в одной плоскости, имеющие длину с каждой стороны от центра их соединения между собой, не превышающую1/4 расстояния между осями сетки колонн, с интервалом не более 45° по окружностям, совпадающим с центрами пересечения арматурных каркасов условных ригелей, при этом радиальные элементы расположены на уровне верхнего края арматурных элементов нижней зоны каркасов условных ригелей, над средними колоннами в верхней и нижней зонах установлены радиальные арматурные элементы, соединенные в одной плоскости, имеющие длину с каждой стороны от центра их соединения, не превышающую1/4 расстояния между осями сетки колонн, с интервалом не более 45° по окружностям с центрами, совпадающими с центрами средних колонн, а над крайними колоннами в верхней и нижней зонах установлены радиальные арматурные элементы, соединенные в одной плоскости, имеющие длину, не превышающую1/4 расстояния между осями сетки колонн, с интервалом не более 45° по окружностям с центрами, совпадающими с центрами крайних колонн.

Описание

[1]

Изобретение относится к области строительства, а конкретнее к монолитным железобетонным плоским перекрытиям безбалочного типа, в частности к большепролетным перекрытиям.

[2]

Одной из важнейших проблем устройства безбалочных большепролетных железобетонных перекрытий является обеспечение требуемой несущей способности в пролетах между колоннами и по диагоналям между ними, а также в области продавливания (в точках опоры плиты на колонны). Это особенно важно при больших пролетах между колоннами (от 6 до 12 м и более). Кроме того, большое значение имеет толщина плиты и, соответственно, расход материалов на ее устройство.

[3]

Известно безбалочное перекрытие, у которого плита содержит кольцевые и радиальные арматурные элементы, при этом радиальные элементы установлены в двух горизонтальных плоскостях с интервалом, равным 20-40° по окружности с центром, совпадающим с центром отверстия, причем одна плоскость расположена на уровне середины верхней полки уголка ниже верхней арматурной сетки, а вторая - на уровне нижнего края нижней полки уголка коробчатого закладного элемента выше нижней арматурной сетки, причем верхние радиальные элементы проходят сквозь коробчатый закладной элемент и жестко связаны с ним, а нижние жестко связаны с нижней полкой уголка коробчатого закладного элемента, а кольцевые арматурные элементы установлены симметрично центру отверстия в плите ниже верхних радиальных элементов и жестко связаны с ними, причем первый кольцевой элемент расположен на расстоянии от центра отверстия, равном расстоянию наиболее удаленной от центра точки закладного элемента, увеличенному на 2-4 диаметра арматуры [1].

[4]

Недостатком указанного технического решения является низкая несущая способность плиты в пролете, особенно в областях продавливания над колоннами и по диагоналям плиты между опорами на колонны, а также сложность конструкции и технологии возведения.

[5]

Известно техническое решение безбалочного перекрытия с монолитной плитой и колонной в виде трубы, на которой установлена подколенная плита, закрепленная посредством косынок, в верхней части вертикально установлены ребра жесткости, высота каждого ребра жесткости не меньше двух толщин плиты перекрытия, причем ребра жесткости установлены внутри колонны напротив каждой косынки [2].

[6]

Недостатком указанного технического решения является низкая несущая способность для большепролетных конструкций (с пролетами более 6 м), особенно в диагональной области плиты между опорами на колонны, а также сложность конструкции.

[7]

Прототипом заявляемого технического решения является безбалочное железобетонное монолитное перекрытие [3]. В указанном техническом решении пространственные неразрезные каркасы установлены на оголовках свай в двух взаимно перпендикулярных направлениях по осям сетки свай. Пространственные арматурные каркасы выполнены из элементов в верхней и нижней зонах, соединенных между собой хомутами. При этом плита перекрытия выполнена в виде фибробетона, армированного короткими металлическими стержнями, стружками и т.п.

[8]

Недостатком прототипа является отсутствие непрерывного армирования плиты на опорной части вдоль осей сетки колонн и в пролете плиты по диагоналям, где возникают максимальные изгибающие моменты, значительные поперечные и продольные силы. Это обусловливает невозможность устройства большепролетных (при шаге колонн от 6,0 до 12,0 м) безбалочных монолитных железобетонных перекрытий.

[9]

Техническим результатом изобретения является создание безбалочного большепролетного железобетонного перекрытия с высокой несущей способностью при пролетах от 6 до 12 м и более при толщине плиты 180÷200 мм и технологичности производства работ, не требующей специальной подготовки персонала, а также значительных материальных и капительных затрат на его возведение.

[10]

Технический результат достигается тем, что перекрытие дополнительно снабжено арматурными элементами условных ригелей, установленными по диагоналям плиты между колоннами, при этом арматурные элементы выполнены как одно целое на всю длину диагоналей сетки колонн и установлены в верхней и нижней зонах, а в области пересечения каркасов условных ригелей в пролетах в нижней зоне установлены радиальные арматурные элементы, соединенные между собой посредством пластины в одной плоскости, имеющие длину с каждой стороны от центра их соединения между собой, не превышающую1/4 расстояния между осями сетки колонн с интервалом, равным не более 45° по окружностям, совпадающим с центрами пересечения арматурных каркасов условных ригелей, при этом радиальные элементы расположены на уровне верхнего края арматурных элементов нижней зоны каркасов условных ригелей, над средними колоннами в верхней и нижней зонах установлены радиальные арматурные элементы, соединенные в одной плоскости, имеющие длину с каждой стороны от центра их соединения, не превышающую1/4 расстояния между осями сетки колонн с интервалом, равным не более 45° по окружностям с центрами, совпадающими с центрами средних колонн, а над крайними колоннами в верхней и нижней зонах установлены радиальные арматурные элементы, соединенные в одном центре и одной плоскости, имеющие длину, не превышающую1/4 расстояния между осями сетки колонн с интервалом, равным не более 45° по окружностям с центрами, совпадающими с центрами крайних колонн.

[11]

Арматурные элементы каркасов условных ригелей, установленных по диагоналям между колоннами, предназначены для восприятия изгибающих моментов, возникающих от действия временной и постоянной нагрузок на перекрытие с пролетом 6-12 м и более. Необходимость установки арматурных каркасов условных ригелей по диагоналям плит между колонами обусловлена тем, что при больших пролетах плиты перекрытия для обеспечения несущей способности и восприятия усилий в пролетной части, возникающих от действия нагрузок, недостаточно только увеличения площади сечения арматуры и толщины плиты. Для перекрытия больших пролетов применяют балочные конструкции, что снижает архитектурно-конструктивную значимость железобетонного перекрытия. Диагонально установленные арматурные каркасы условных ригелей воспринимают изгибающие моменты, возникающие в пространственной конструкции плиты перекрытия. При этом для снижения влияния изгибающего момента на крайних опорах и снижения его величины в пролетах арматурные элементы загнуты в сторону каркасов крайних колонн, что обеспечивает условие работы как жесткого защемления.

[12]

Установка арматурных элементов каркасов условных ригелей в верхней и нижней зонах позволяет воспринимать усилия сжатия и растяжения соответственно действующим нагрузкам.

[13]

Арматурные элементы каркасов условных ригелей выполнены как одно целое на всю длину диагоналей сетки колонн, что позволяет обеспечивать условия работы как неразрезной балки и более эффективно использовать несущую способность арматуры и бетона.

[14]

Длина арматурных элементов каркасов диагональных условных ригелей, равная длине диагоналей сетки колонн, обусловлена необходимостью устройства неразрезного условного ригеля, что позволяет значительно снизить величину изгибающих моментов в пролетах.

[15]

Размер загиба арматурных элементов диагональных условных ригелей в местах опоры на крайние колонны равен не более 25 диаметрам этих элементов. Нижний предел размера обусловлен тем, что при нулевом значении загиба не будет, что обусловит шарнирное опирание элемента на колонне и приведет к необходимости использования другой расчетной схемы, при которой нет необходимости в указанных элементах, но при этом исключается возможность возведения большепролетных безбалочных железобетонных перекрытий. Верхний предел обусловлен тем, что при длине арматурного элемента, равной 25 его диаметрам, сопротивление выдергиванию превышает сопротивление бетона на растяжение. Следовательно, при выдергивании арматурного элемента из тела колонны бетон разрушится прежде выдергивания. Применение загиба большего размера не приведет к увеличению сопротивления выдергиванию, а также не увеличит сопротивление бетона растягивающим усилиям.

[16]

Радиальные арматурные элементы, установленные в области пересечения диагональных арматурных каркасов условных ригелей и расположенные в нижней зоне, предназначены для восприятия максимальных изгибающих моментов не только в точках пересечения, но и в сопряженных областях железобетонной плиты. Радиальные арматурные элементы, установленные в нижней (растянутой) зоне плит, воспринимают изгибающие моменты и передают их на условные ригели. При этом для обеспечения совместной работы радиальных арматурных элементов в одной плоскости они жестко соединены между собой посредством пластины и имеют общую точку пересечения, например посредством сварки. Размещение радиальных арматурных элементов так, чтобы центры их соединения совпадали с центрами пересечении арматурных каркасов условных ригелей, установленных по диагоналям, предназначено для обеспечения равномерного восприятия усилий, возникающих между условными ригелями, и передачи их на диагональные условные ригели.

[17]

Радиальные арматурные элементы установлены на уровне верхнего края арматурных элементов нижней зоны каркасов диагональных условных ригелей для возможности передачи воспринимаемых усилий на условные ригели.

[18]

Длина радиальных арматурных элементов с каждой стороны от центра их пересечения равна не более1/4 расстояния между осями сетки колонн. Нижний предел обусловлен тем, что физической длины элемента, равной нулю, не бывает. Длина элемента до1/4 расстояния между осями сетки колонн обусловлена наибольшей эффективностью работы арматуры по восприятию максимальных усилий от нагрузок на плиту перекрытия. Превышение указанного размера не приведет к существенному повышению несущей способности плиты и арматура не будет работать эффективно.

[19]

Интервал между радиальными арматурными элементами составляет не более 45° по окружности. Минимальное значение интервала обусловлено тем, что отрицательных значений интервалов между физическими элементами не бывает. Для наиболее эффективного восприятия усилий, возникающих в пролетной части плиты, радиальные арматурные элементы необходимо устанавливать равноудаленно друг от друга. При превышении верхнего значения указанного интервала между арматурными элементами невозможно установить арматурный элемент равноудалено от двух других элементов, расположенных под прямым углом друг к другу. Этим обусловлено значение верхнего предела интервала между арматурными элементами по окружности.

[20]

Таким образом, армирование пролетной части большепролетного безбалочного перекрытия посредством диагонально установленных арматурных каркасов условных ригелей и радиальных арматурных элементов, установленных в центрах пересечения указанных ригелей, позволяет обеспечить высокую несущую способность пролетной части плит, работающих как пространственная, а не балочная конструкция.

[21]

Радиальные арматурные элементы в области продавливания над средними колоннами необходимы для восприятия нормальных сил, возникающих в местах опоры плит на средние колонны, и предотвращения продавливания плит перекрытия колоннами. Радиальные арматурные элементы установлены в верхней и нижней зонах плиты. Арматурные элементы верхней зоны предназначены для восприятия растягивающих моментов, возникающих над опорой. Арматурные элементы нижней зоны предназначены для восприятия сжатия в плоскости плиты в месте соединения с колонной, а также для восприятия нормальных сил. Поперечные силы воспринимаются хомутами, объединяющими арматурные элементы верхней и нижней зон. Радиальные арматурные элементы, установленные с центрами, совпадающими с центрами колонн, предназначены для восприятия усилий в плите не только в точках пересечения, но и в сопряженной области между условными ригелями.

[22]

Длина радиальных арматурных элементов, устанавливаемых в пролетах и над средними колоннами с каждой стороны от центра их пересечения, равна от 0 до1/4 расстояния между осями сетки колонн. Нижний предел обусловлен тем, что физической длины элемента, равной нулю, не бывает. Длина элемента до1/4 расстояния между осями сетки колонн обусловлена наибольшей эффективностью работы арматуры по восприятию максимальных усилий от нагрузок на плиту перекрытия. Превышение указанного размера не приведет к повышению несущей способности пролетной части плиты, и арматура не будет работать эффективно.

[23]

Интервал между радиальными арматурными элементами составляет не более 45° по окружности. Минимальное значение интервала обусловлено тем, что отрицательных или нулевых значений интервалов между физическими арматурными элементами не бывает. Для наиболее эффективного восприятия усилий, возникающих в пролетной части плиты, радиальные арматурные элементы необходимо устанавливать равноудаленно друг от друга. При превышении верхнего значения интервала между арматурными элементами невозможно установить арматурный элемент равноудаленно от двух других элементов, расположенных под прямым углом друг к другу. Этим обусловлено значение верхнего предела интервала между арматурными элементами по окружности.

[24]

Радиальные арматурные элементы над крайними колоннами загнуты в сторону арматурных каркасов крайних колонн. Это позволяет обеспечить условия жесткого защемления на краях.

[25]

Радиальные арматурные элементы в области продавливания над крайними колоннами необходимы для восприятия нормальных сил, возникающих в местах опоры плит на крайние колонны, и предотвращения продавливания плит перекрытия колоннами. Радиальные арматурные элементы установлены в верхней и нижней зонах плиты. Арматурные элементы верхней зоны предназначены для восприятия растягивающих моментов, возникающих над опорой. Арматурные элементы нижней зоны предназначены для восприятия сжатия в плоскости плиты в месте соединения с колонной, а также для восприятия нормальных сил. Поперечные силы воспринимаются хомутами, объединяющими арматурные элементы верхней и нижней зон. Радиальные арматурные элементы, установленные с центрами, совпадающими с центрами крайних колонн, предназначены для восприятия усилий в плите не только в точках пересечения, но и в сопряженной области между условными ригелями.

[26]

Обоснование размеров

[27]

Длина радиальных арматурных элементов, установленных над крайними опорами, равна не более1/4 расстояния между осями сетки колонн. Нижний предел обусловлен тем, что физической длины элемента, равной нулю, не бывает. Длина элемента до1/4 расстояния между осями сетки колонн обусловлена наибольшей эффективностью работы арматуры по восприятию максимальных усилий от нагрузок на плиту перекрытия. Превышение указанного размера не приведет к повышению несущей способности пролетной части плиты, и арматура не будет работать эффективно.

[28]

Интервал между радиальными арматурными элементами не превышает 45° по окружности. Минимальное значение интервала обусловлено тем, что отрицательных или нулевых значений интервалов между физическими арматурными элементами не бывает. Для наиболее эффективного восприятия усилий, возникающих в пролетной части плиты, радиальные арматурные элементы необходимо устанавливать равноудаленно друг от друга. При превышении верхнего значения интервала между арматурными элементами невозможно установить арматурный элемент равноудалено от двух других элементов, расположенных под прямым углом друг к другу. Этим обусловлено значение верхнего предела интервала между арматурными элементами по окружности.

[29]

Размер загиба радиальных арматурных элементов в сторону арматурных каркасов крайних колонн равен не более 25 диаметров этих элементов. Нижний предел размера обусловлен тем, что при нулевом значении загиба не будет, что обусловит шарнирное опирание элемента на колонне и приведет к необходимости использования другой расчетной схемы, при которой нет необходимости в указанных элементах, но при этом исключается возможность возведения большепролетных безбалочных железобетонных перекрытий. Верхний предел обусловлен тем, что при длине арматурного элемента, равной 25 его диаметрам, сопротивление выдергиванию превышает сопротивление бетона на растяжение. Следовательно, при выдергивании арматурного элемента из тела колонны бетон разрушится прежде выдергивания. Применение загиба большего размера не приведет к увеличению сопротивления выдергиванию, а также не увеличит сопротивление бетона растягивающим усилиям.

[30]

На фиг.1 представлен план безбалочного железобетонного перекрытия по заявляемому техническому решению.

[31]

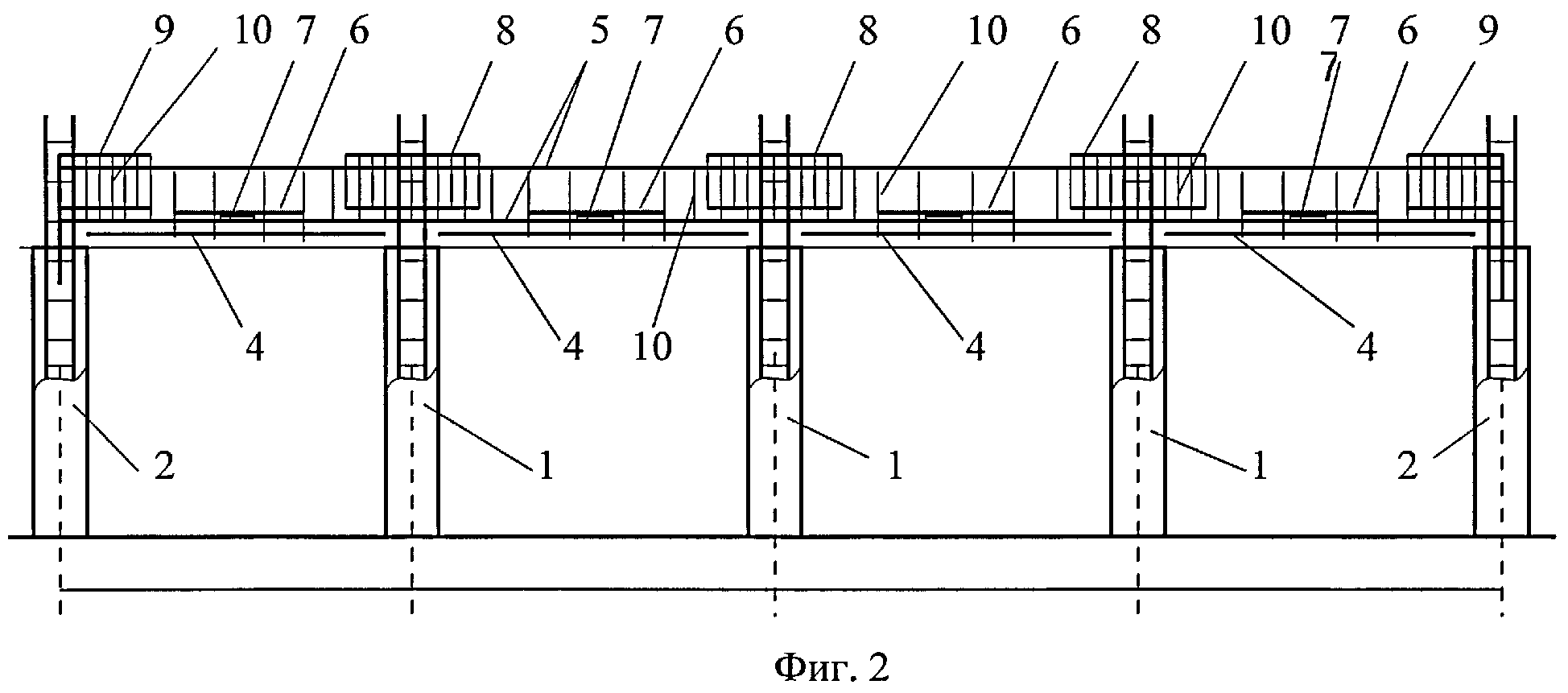
На фиг.2 представлен разрез безбалочного железобетонного перекрытия.

[32]

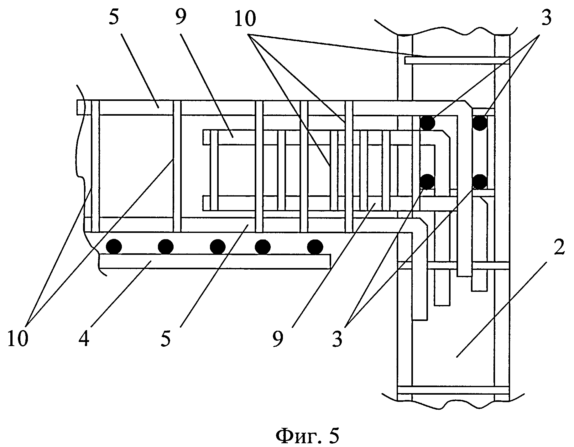
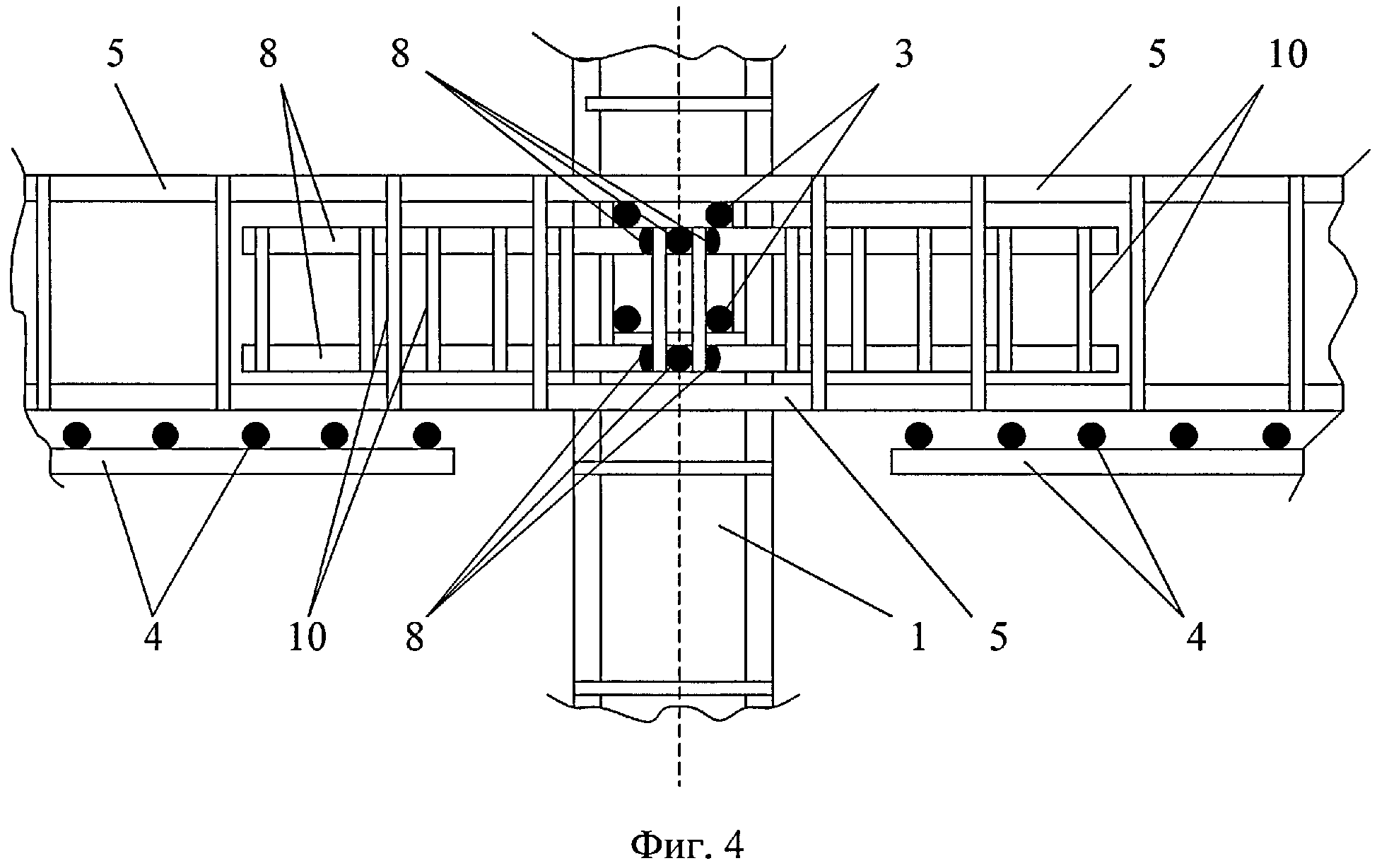
На фиг.3, 4, 5 представлены разрезы узлов армирования перекрытия по заявляемому техническому решению.

[33]

Безбалочное железобетонное перекрытие состоит из средних 1 и крайних колонн 2, на которые опираются поперечные и продольные условные ригели 3, установленные по осям сетки колонн. Продольные арматурные элементы верхней и нижней зон каркасов условных ригелей 3 выполнены как одно целое на всю длину сетки колонн. При этом арматурные элементы условных ригелей загнуты в сторону арматурных каркасов крайних колонн 2. Хомуты 10, объединяющие арматурные элементы верхней и нижней зон в единые каркасы, на фиг.1 условно не показаны. В пролетах между колоннами 1, 2 в нижней зоне плиты установлены арматурные сетки 4. По диагоналям сетки колонн установлены диагональные условные ригели 5, опирающиеся на колонны 1, 2. Арматурные элементы верхней и нижней зон диагональных условных ригелей 5 выполнены как одно целое на всю длину диагоналей сетки колонн 1, 2. При этом указанные арматурные элементы загнуты в сторону арматурных каркасов крайних колонн 2. Хомуты 10, объединяющие продольные арматурные элементы в единые каркасы, на фиг.1 условно не показаны. В области пересечения арматурных каркасов диагональных условных ригелей 5 в нижней зоне установлены радиальные арматурные элементы 6 в плоскости плиты с центрами, совпадающими с центрами пересечения арматурных каркасов диагональных условных ригелей 5 (фиг.3). Радиальные арматурные элементы 6 жестко (например, посредством сварки) соединены между собой посредством пластины 7 в одной плоскости и в одном центре с интервалом, равным не более 45° по окружностям с центрами, совпадающими с центрами пересечения арматурных каркасов диагональных условных ригелей 5. Длина радиальных арматурных элементов 6 с каждой стороны от центра их соединения между собой равна не более1/4 расстояния между осями сетки колонн. Радиальные арматурные элементы 6 установлены на уровне верхнего края арматурных элементов нижней зоны каркасов диагональных условных ригелей 5. Это позволяет обеспечить более эффективное восприятие всем комплексом арматуры растягивающих усилий, возникающих в пролетной части плиты перекрытия. В области продавливания над средними колоннами 1 установлены радиальные арматурные элементы 8 в плоскости плиты в верхней и нижней зонах. Радиальные арматурные элементы соединены между собой в соответствующих плоскостях верхней и нижней зон с интервалом, равным не более 45° по окружности с центрами, совпадающими с центрами средних колонн 1. Длина радиальных арматурных элементов 8 с каждой стороны от центра их соединения между собой равна не более1/4 расстояния между осями сетки колонн. Для формирования в области продавливания единого арматурного каркаса радиальные арматурные элементы верхней и нижней зон соединены между собой хомутами 10 (фиг.4).

[34]

В области продавливания над крайними колоннами 2 установлены радиальные арматурные элементы 9 в плоскости плиты в верхней и нижней зонах. Радиальные арматурные элементы соединены между собой в соответствующих плоскостях верхней и нижней зон с интервалом, равным не болеее 45° по окружности с центрами, совпадающими с центрами крайних колонн 2. Длина радиальных арматурных элементов 9 равна не более1/4 расстояния между осями сетки колонн. Для формирования в области продавливания единого арматурного каркаса радиальные арматурные элементы верхней и нижней зон соединены между собой хомутами 10 (фиг.5).

[35]

Устройство перекрытия по заявляемому техническому решению осуществляют в предлагаемой последовательности.

[36]

Опалубку (не показана) устанавливают в проектное положение. Соблюдая зазор для обеспечения защитного слоя бетона, укладывают арматурную сетку 4 в пролетной части плиты.

[37]

По осям сетки колонн 1, 2 в нижнюю зону устанавливают арматурные элементы каркасов продольных и поперечных условных ригелей 3. Арматурные элементы изготавливают как одно целое на всю длину сетки колонн 1, 2. Проектное расстояние между арматурными элементами фиксируют посредством хомутов 10. В местах соединения с крайними колоннами 2 арматурные элементы загибают в сторону арматурных каркасов колонн 2.

[38]

Арматурные элементы нижней зоны каркасов диагональных условных ригелей 5 устанавливают по диагоналям сетки колонн 1, 2. В местах пересечения арматурные элементы указанных ригелей 5 попарно соединяют между собой, а проектное расстояние между ними фиксируют посредством хомутов 10. На крайних колоннах 2 арматурные элементы каркасов диагональных условных ригелей 5 загибают в сторону арматурных каркасов колонн 2.

[39]

В центры пересечения арматурных элементов каркасов диагональных условных ригелей 5 устанавливают радиальные арматурные элементы 6 в плоскости, совпадающей с уровнем верхнего края уложенных арматурных элементов нижней зоны каркасов диагональных условных ригелей 5. Радиальные элементы 6 жестко (например, сваркой) соединяют между собой посредством пластин. При этом радиальные арматурные стержни 6 устанавливают с интервалом, равным не более 45° по окружности с центрами, совпадающими с центрами пересечения нижней зоны арматурных каркасов диагональных условных ригелей 5. Длина радиальных арматурных элементов 6 не превышает1/4 расстояния между осями сетки колонн 1, 2.

[40]

В области продавливания над колоннами 1, 2 в нижнюю зону устанавливают радиальные арматурные элементы 8, 9, жестко соединяя их между собой в одной плоскости с интервалом, равным не более 45° по окружности с центрами, совпадающими с центрами колонн 1, 2. Длина радиальных арматурных элементов с каждой стороны от центров соединения между собой не превышает1/4 расстояния между осями сетки колонн 1, 2. Радиальные арматурные элементы 9, устанавливаемые над крайними колоннами 2, загибают в сторону арматурных каркасов колонн 2.

[41]

По осям сетки колонн 1, 2 в верхнюю зону устанавливают арматурные элементы каркасов продольных и поперечных каркасов условных ригелей 3. Арматурные элементы изготавливают как одно целое на всю длину сетки колонн 1, 2. Для формирования пространственных каркасов арматурные элементы верхней и нижней зон попарно соединяют хомутами 10. В местах соединения с крайними колоннами 2 арматурные элементы каркасов продольных и поперечных условных ригелей 3 загибают в сторону арматурных каркасов колонн 2.

[42]

По диагоналям сетки колонн 1, 2 устанавливают арматурные элементы верхнего пояса каркасов диагональных условных ригелей 5. Арматурные элементы изготавливают как одно целое на всю длину диагоналей сетки колонн. Для формирования пространственных каркасов арматурные элементы верхней и нижней зон попарно соединяют хомутами 10. В местах соединения с крайними колоннами 2 арматурные элементы каркасов диагональных условных ригелей 5 загибают в сторону арматурных каркасов колонн 2.

[43]

В области продавливания над колоннами 1, 2 устанавливают радиальные арматурные элементы в верхней зоне. Арматурные элементы 8, 9 жестко соединяют между собой в одной плоскости. Интервал между радиальными арматурными элементами 8, 9 равен не более 45° по окружностям с центрами, совпадающими с центрами колонн 1, 2. Длина радиальных арматурных элементов 8 с каждой стороны от центра их соединения между собой не превышает1/4 расстояния между осями сетки колонн 1, 2. Для формирования каркаса радиальные арматурные элементы 8, 9 верхней и нижней зон на проектном расстоянии между собой соединяют между собой хомутами 10. Радиальные арматурные элементы 9, устанавливаемые над крайними колоннами 2, загибают в сторону арматурных каркасов колонн 2.

[44]

После проверки соответствия установленной арматуры проектному решению перекрытие колонны заливают бетонной смесью. После набора бетоном распалубочной прочности опалубку снимают. Возведение перекрытий последующих этажей осуществляют с учетом набора необходимой прочности бетоном на соответствующей стадии работ.

[45]

Безбалочное железобетонное перекрытие по заявляемому техническому решению работает следующим образом.

[46]

После набора бетоном проектной прочности конструкцию нагружают временной нагрузкой по проекту, которая в сочетании с постоянной нагрузкой от собственного веса создает общую проектную нагрузку. Под воздействием общей нагрузки в пролетах перекрытия возникают отрицательные моменты, увеличивающиеся по нелинейному закону по направлению от опор 1, 2 к средней части пролетов плиты перекрытия. При этом на опорах 1, 2 также возникают отрицательные моменты, достигающие своего максимума на опоре. Одновременно в конструкции возникают поперечные силы, максимальное значение которых по модулю достигает на опорах 1, 2, а нулевое значение в пролете, где момент достигает максимального значения.

[47]

Арматурные сетки 4 и арматурные элементы нижней зоны арматурных каркасов продольных и поперечных 3, а также диагональных 5 условных ригелей воспринимают изгибающие моменты в пролетах конструкции.

[48]

Радиальные арматурные элементы 6, установленные в нижней зоне пролетной части, воспринимают максимальные моменты, возникающие в пролетах, а также моменты в области между арматурными каркасами и передают эти усилия на диагональные условные ригели 5. Радиальные арматурные элементы верхней зоны 8, установленные в области продавливания над колоннами 2, воспринимают отрицательные моменты на опорах на колонны 1. При этом радиальные арматурные элементы 8 нижней зоны, установленные в области продавливания над колоннами 1, воспринимают сжимающие усилия, возникающие в нижней зоне плиты над опорами 1.

[49]

При жесткой заделке на колоннах 1, 2 арматурных элементов каркасов ригелей 3, 5 и радиальных элементов 9 над опорами 2 возникают отрицательные моменты, которые воспринимает указанная арматура.

[50]

Жесткое закрепление (заделка, защемление) арматурных элементов ригелей и радиальных арматурных элементов на крайних колоннах позволяет снизить величину усилий, возникающих в пролетах, и за счет этого более рационально использовать армирование и оптимизировать толщину бетона в плите.

[51]

Безбалочное железобетонное перекрытие по заявляемом техническому решению обладает высокой несущей способностью и позволяет перекрывать большие пролеты (от 6 до 12 м и более) при относительно небольших толщинах плиты (180-200 мм). Это позволяет расширить круг архитектурных возможностей при проектировании и строительстве зданий различного назначения, что представляется весьма существенным для формирования внутреннего пространства объектов, выполненных из монолитного железобетона. Очень важным результатом, получаемым при реализации заявляемого технического решения, является незначительная толщина плиты перекрытия, что позволяет снизить расход строительных материалов при прочих равных условиях. При этом несущая способность обеспечивает восприятие временной равномерно распределенной нагрузки до 6000 Н/м2.

[52]

Таким образом, реализация железобетонного безбалочного перекрытия по заявляемому техническому решению позволяет обеспечить высокую несущую способность большепролетных перекрытий при снижении расхода бетона и арматуры по сравнению с аналогами и прототипом. Кроме того, высокая технологичность реализации перекрытия не требует специальной подготовки персонала при обеспечении высокого качества изделия.

[53]

Источники информации

[54]

1. Патент RU 2244076 С1, кл. 7 Е04В 5/43. 2005.

[55]

2. Патент RU 2187607 С2, кл. 7 Е04В 5/43. 2002.

[56]

3. Патент WO 98/36138. PCT. 20.08.1998.

Как компенсировать расходы
на инновационную разработку
Похожие патенты