Изобретение относится к области авиации, более конкретно к катапультам для взлета преимущественно малоразмерных беспилотных летательных аппаратов. Катапульта содержит разгонное устройство, выполненное в виде рабочего цилиндра 1, внутри которого размещены поршень 4 со штоком 5, тормозное средство 8 и камера для сжатого газа 7. Снаружи рабочего цилиндра 1 жестко закреплен кронштейн 14, на котором установлен фиксатор стартового положения, выполненный в виде качалки 15. На части штока 5, выходящем за пределы рабочего цилиндра 1, закреплен пилон 10. На верхней части пилона 10 размещено средство для установки летательного аппарата, снабженное электромеханической системой для отделения летательного аппарата от пилона, выполненной в виде датчика ускорений 11, соединенного через контроллер 12 с электроприводом 13. Снаружи на силовом цилиндре установлены поворотные передние опоры 20 с фиксаторами их рабочего положения 24 и жестко закрепленная задняя опора 21. Для осуществления пуска летательного аппарата рукоятку качалки поднимают вверх. Сжатый газ выталкивает поршень 4 со штоком 5 из рабочего цилиндра 1 до контакта поршня с тормозным средством 8. Электрический сигнал от датчика ускорений 11 поступает на контроллер 12, микропроцессор которого выдает команду электроприводу на освобождение летательного аппарата от связи с пилоном 10. Технический результат заключается в повышении надежности работы катапульты, а также в снижении габаритов при трансформации для транспортировки и хранения. 3 з.п. ф-лы, 6 ил.
1. Катапульта для взлета летательного аппарата, содержащая разгонное устройство, выполненное в виде рабочего цилиндра с камерой для сжатого газа, внутри которого размещен поршень, фиксатор стартового положения, тормозное средство и узел стыковки с летательным аппаратом, отличающаяся тем, что в одном торце рабочего цилиндра выполнено заправочное отверстие с обратным клапаном, между которым и поршнем образована указанная камера для сжатого газа, поршень имеет шток, выходящий за пределы рабочего цилиндра через отверстие в его торце, противоположном заправочному отверстию, возле этого торца в рабочем цилиндре размещено тормозное средство, на части штока, выходящей за пределы рабочего цилиндра, закреплен узел стыковки с летательным аппаратом, выполненный в виде пилона, на верхней части которого размещено средство для установки летательного аппарата, снабженное электромеханической системой для отделения летательного аппарата от пилона, кроме того, снаружи рабочего цилиндра жестко закреплен кронштейн, на котором установлен фиксатор стартового положения, выполненный в виде качалки, на одном из концов которой установлен ролик с втулкой из эластичного материала, а второй конец качалки представляет собой рукоятку для ее поворота, а на части штока, выходящей за пределы рабочего цилиндра, выполнен клык с нишей для взаимодействия с роликом качалки, помимо этого, снаружи на рабочем цилиндре установлены поворотные передние опоры с фиксаторами их рабочего положения и жестко закрепленная задняя опора. 2. Катапульта по п.1, отличающаяся тем, что каждая из поворотных передних опор установлена посредством трехстепенного шарнира, содержащего сферу с отверстием, а фиксатор рабочего положения опоры содержит цилиндрический корпус с пазом и подвижный штифт, имеющий выходящий за пределы корпуса конец для взаимодействия с указанным отверстием сферы, а второй конец штифта, находящийся внутри корпуса, выполнен упирающимся в размещенную в торце пружину и имеющим рукоятку, выполненную с возможностью перемещения вдоль паза. 3. Катапульта по п.1 или 2, отличающаяся тем, что электромеханическая система отделения летательного аппарата от пилона содержит установленный на пилоне датчик ускорений, соединенный через контроллер с электроприводом для поворота кронштейна-фиксатора, взаимодействующего с ответным элементом летательного аппарата. 4. Катапульта по п.1 или 2, отличающаяся тем, что тормозное средство выполнено в виде витой пружины или пакета эластичного материала с отверстием для штока поршня.
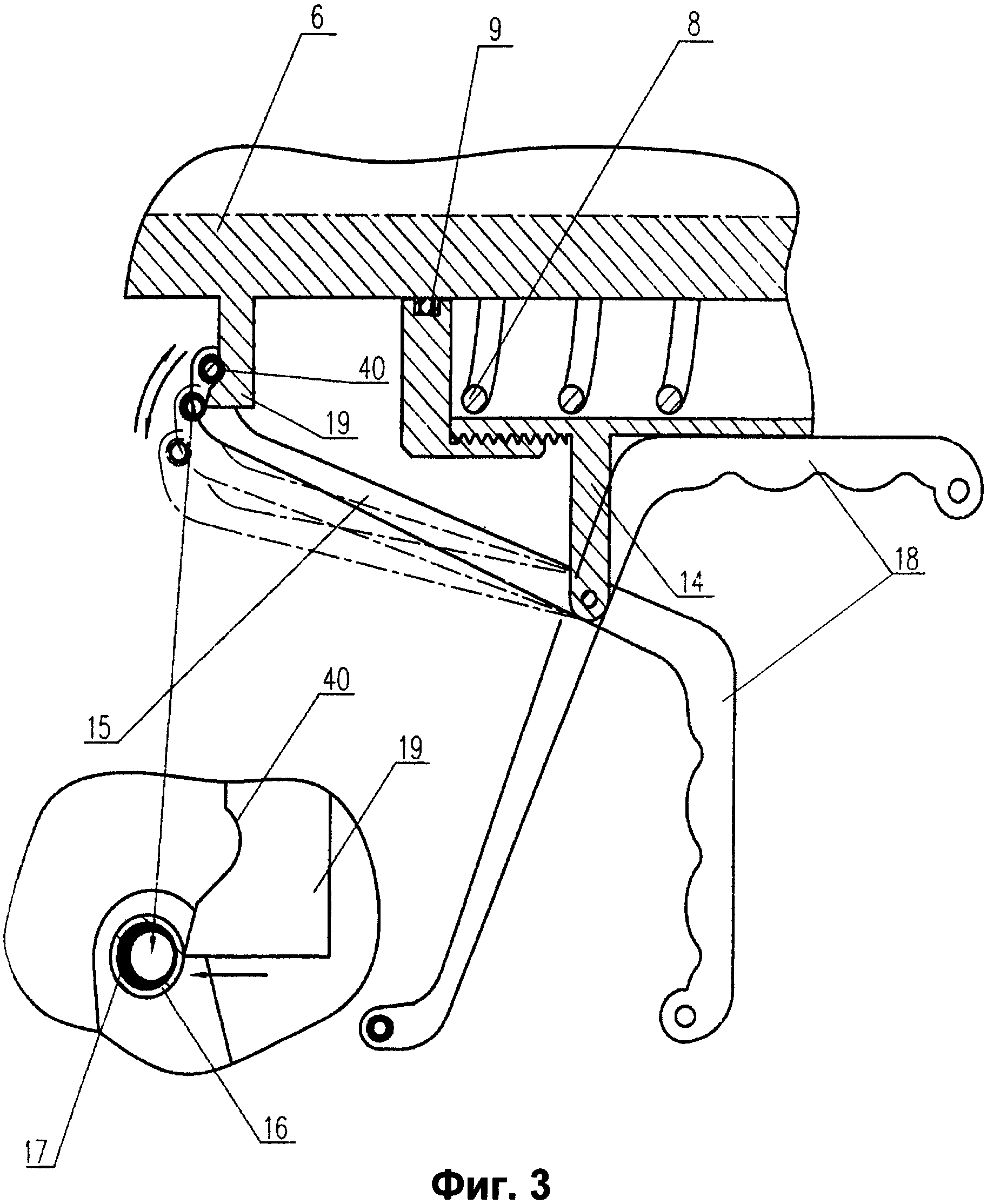
Изобретение относится к области авиационной техники, более конкретно к взлётным устройствам летательных аппаратов, преимущественно малоразмерных беспилотных аппаратов. Для взлёта малоразмерных беспилотных летательных аппаратов широко используются пусковые устройства типа катапульты, позволяющие обеспечить быстрый и эффективный взлёт указанных летательных аппаратов с силовой установкой сравнительно небольшой мощности. Важной особенностью запусков малоразмерных летательных аппаратов является обеспечение возможности их взлета на необорудованных площадках и в полевых условиях. Известны устройства для взлёта малоразмерных беспилотных летательных аппаратов с катапульты, оборудованной тележкой, перемещаемой по направляющим катапульты разгонным устройством (см. Исследования способов пуска дистанционно пилотируемых летательных аппаратов (перевод с английского Травкиной Л.П., Чубченко Е.Г.), ОНТИ МАИ, 1983; Испытание новой пусковой установки для ДПЛА. RAE trials of RPV launchers //Jane's deference weekly/ - 1985 / - v.3. - №19; Журнал Aero Digest, December 1931; патентная заявка Великобритании №2132577). Эти устройства в целом могут быть охарактеризованы следующим образом. Устройство содержит разгонную тележку, которая расположена на катапульте в стартовом положении. После её разгона разгонным устройством до требуемой скорости летательный аппарат, установленный на тележке, отсоединяют от нее, а тележку тормозят. Общим недостатком таких устройств является недостаточная надёжность взлёта летательного аппарата, обусловленная возможностью его контакта с элементами катапульты и тележки, возникающей в результате их взаимного относительного движения на близком расстоянии друг от друга. Известна катапульта для взлёта летательного аппарата (см. патент Великобритании №1473089, B64F 1/06, 1977), содержащая направляющее, разгонное и тормозное устройства, метательное устройство, выполненное в виде параллелограммного механизма, имеющего верхнее основание, снабжённое узлом стыковки с летательным аппаратом, и нижнее основание, шарнирно соединённые между собой опорами. Недостаток этой известной катапульты состоит в том, что для обеспечения требуемой скорости взлёта летательного аппарата при его метании требуется большая мощность метательного устройства. Кроме того, недостаточный скоростной напор воздуха, обусловленный невысокой скоростью продольного перемещения летательного аппарата, не позволяет использовать создаваемые им аэродинамические силы для ускорения подъёма летательного аппарата и управления его положением относительно метательного устройства при их расстыковке и разделении. Это может приводить к касанию хвостовой части летательного аппарата и катапульты и в результате - к поломке летательного аппарата. Кроме того, невысокие вертикальная и горизонтальная скорости летательного аппарата относительно направляющих катапульты приводят к росту времени его удаления от катапульты после отделения тележки, что увеличивает длину взлётной дистанции, а также повышает вероятность его контакта с катапультой при взлёте и тем самым уменьшает надёжность взлёта. Наиболее близкой к предлагаемой является катапульта для взлёта летательного аппарата (см. патент РФ на полезную модель №66733, опубл. 27.09.2007), содержащая направляющее, разгонное и тормозное устройства. Разгонное устройство известной катапульты выполнено в виде рабочего цилиндра, сообщающегося с источником сжатого газа посредством отсечного клапана. Поршень рабочего цилиндра снабжён тросом, закреплённым вдоль его оси. При этом корпус рабочего цилиндра выполнен в виде трубы с закрытыми торцами, в одном из которых выполнено отверстие для троса, поршень размещён в корпусе рабочего цилиндра с возможностью перемещения вдоль его продольной оси и образует рабочую камеру, расположенную со стороны отверстия в торце корпуса рабочего цилиндра и постоянно сообщающуюся с выходом отсечного клапана. Трос пропущен через отверстие в торце корпуса рабочего цилиндра, охватывает блок, размещённый на катапульте вне корпуса рабочего цилиндра, и прикреплён к тележке, установленной на двух продольных направляющих направляющего устройства. С тележкой шарнирно связаны передние и задние опоры параллелограммного механизма с установленным на них верхним основанием с узлом стыковки с летательным аппаратом. Катапульта в целом имеет стационарные опоры. Недостаток известной катапульты состоит в том, что её разгонное устройство сложно по своему конструктивному выполнению, что снижает надежность срабатывания катапульты. Кроме того, нужно иметь в виду, что запуск малоразмерных летательных аппаратов, как правило, производится в полевых условиях с неподготовленных площадок, поэтому к катапульте, так же как и к летательному аппарату, предъявляются специальные требования по их транспортировке и хранению. Принципиально важным является требование минимизации размеров катапульты и возможность её трансформации для транспортировки и хранения. В ряде случаев необходимо обеспечить размещение катапульты в контейнере в заплечном мешке солдата. Данная известная катапульта имеет большой продольный габарит для увеличения пути пробега тележки с летательным аппаратом, а также большой вертикальный и поперечный габариты из-за наличия параллелограммного механизма и стационарных опор. Это исключает возможность её трансформации в состояние, удобное для транспортировки и хранения. Предлагаемым изобретением решается задача получения технического результата, заключающегося в повышении надёжности срабатывания катапульты, а также в сокращении её габаритов и обеспечении дальнейшего уменьшения габаритов при трансформировании для транспортировки и хранения. Для получения указанного технического результата предлагаемая катапульта для взлёта летательного аппарата, так же как и наиболее близкая известная катапульта, содержит разгонное устройство, выполненное в виде рабочего цилиндра, имеющего камеру для сжатого газа. Внутри рабочего цилиндра находится поршень с возможностью перемещения вдоль его продольной оси. Кроме того, катапульта содержит фиксатор стартового положения, тормозное средство и узел стыковки с летательным аппаратом. Отличительные признаки предлагаемой катапульты состоят в том, что в одном торце рабочего цилиндра выполнено заправочное отверстие для соединения с источником сжатого газа, снабженное обратным клапаном, к которому обращена одна сторона поршня. Указанная камера для сжатого газа образована частью рабочего цилиндра, заключенной между этим отверстием и обращенной к нему стороной поршня. Поршень имеет шток, ориентированный вдоль продольной оси рабочего цилиндра и выходящий за его пределы через отверстие в торце рабочего цилиндра, противоположном заправочному отверстию. Тормозное средство размещено в рабочем цилиндре возле его торца, противоположного заправочному отверстию. На части штока, выходящей за пределы рабочего цилиндра, закреплен узел стыковки с летательным аппаратом, выполненный в виде пилона. На верхней части пилона закреплено средство для установки летательного аппарата с электромеханической системой отделения от пилона. Последняя выполнена с возможностью срабатывания при изменении знака ускорения пилона. Снаружи рабочего цилиндра на нем жестко закреплен кронштейн, на котором установлен фиксатор стартового положения, выполненный в виде качалки. На одном конце качалки установлен ролик с втулкой из эластичного материала, а второй её конец представляет собой рукоятку для поворота качалки. На части штока, выходящей за пределы рабочего цилиндра, выполнен клык с нишей для взаимодействия с роликом качалки. Снаружи на рабочем цилиндре установлены две поворотные передние опоры с помощью узлов крепления, снабженных фиксаторами их рабочего положения, и жестко закреплена задняя опора. Узел крепления каждой из поворотных передних опор выполнен в виде трехстепенного шарнира, содержащего сферу с отверстием, при этом фиксатор рабочего положения передней опоры содержит цилиндрический корпус с продольным пазом, в корпусе установлены пружина и подвижный штифт для взаимодействия одного его конца с указанным отверстием сферы, другой конец штифта упирается в пружину, штифт имеет рукоятку, установленную с возможностью перемещения по продольному пазу цилиндрического корпуса. Электромеханическая система отделения летательного аппарата от пилона может быть выполнена в виде установленного на пилоне датчика ускорений, соединенного через контроллер с электроприводом для снятия связи летательного аппарата с пилоном, осуществляемой с помощью поворотного кронштейна-фиксатора, взаимодействующего с ответным элементом летательного аппарата. Тормозное средство может быть выполнено в виде витой пружины или пакета из эластичного материала с отверстием для штока поршня. Предлагаемое изобретение иллюстрируются чертежами, представленными на фиг.1-6, на которых изображены: на фиг.1 - общий вид катапульты с закрепленным на ней летательным аппаратом до момента пуска; на фиг.2 - катапульта в момент взлета летательного аппарата; на фиг.3 - фиксатор стартового положения; на фиг.4 - элементы крепления летательного аппарата на пилоне; на фиг.5 - стопор для фиксации поворотных опор; на фиг. 6 - катапульта в рабочем положении и в положении для транспортировки и хранения. Катапульта содержит (фиг.1) разгонное устройство, выполненное в виде рабочего цилиндра 1. В одном торце рабочего цилиндра 1 выполнено заправочное отверстие 2 с обратным клапаном 3. Внутри рабочего цилиндра 1 установлен поршень 4 со штоком 5. Поршень выполнен в виде части сферы. Шток имеет часть 6, выходящую за пределы рабочего цилиндра 1. Часть рабочего цилиндра 1 между заправочным отверстием и обращенной к нему внутренней поверхностью части сферы поршня 4 образует камеру 7 для закачивания газа под давлением. Выполнение поршня в виде полусферы позволяет увеличить внутренний объем камеры для закачивания газа. Тормозное устройство выполнено в виде пружины 8 сжатия или пакета из эластичного материала. Для герметизации полостей цилиндра используются уплотнения 9. На выходящей за пределы рабочего цилиндра части 6 штока 5 закреплен узел стыковки катапульты с летательным аппаратом, выполненный в виде пилона 10, а также электромеханическая система отделения летательного аппарата от пилона, выполненная в виде установленного на пилоне датчика ускорений 11, соединенного через контроллер 12 с электроприводом 13. Элемент для снятия связи летательного аппарата с пилоном расположен на верхней части пилона (фиг.4) и выполнен в виде кронштейна-фиксатора 33, закрепленного на электроприводе 13. Разъемное крепление летательного аппарата к катапульте выполнено в виде скобы 34 и вмонтированных в скобу роликов 35. Снаружи рабочего цилиндра 1 жестко закреплен кронштейн 14 (фиг.3), на котором установлен фиксатор стартового положения, выполненный в виде качалки 15. На одном из концов качалки 15 закреплен ролик 16 с втулкой 17 из эластичного материала, а второй конец качалки 15 представляет собой рукоятку 18 для её поворота. На наружной части 6 штока 5 выполнен клык 19 с нишей 40 для взаимодействия с роликом 16 качалки 15. На рабочем цилиндре 1 закреплены посредством узлов крепления 30 передние поворотные опоры 20 и задняя опора 21, а также фиксаторы 24 положения передних опор 20 (фиг.1). Опоры предназначены для установки катапульты в рабочее положение. Узел крепления 30 (фиг.5) каждой из передних поворотных опор 20 представляет собой трехстепенный шарнир и содержит сферу 31 с отверстием, которое предназначено для взаимодействия со штифтом 23 фиксатора 24. Фиксатор 24 положения передних опор 20 выполнен в виде цилиндрического корпуса 26 с продольным пазом 28. В цилиндрическом корпусе 26 установлены пружина 27 и подвижный штифт 23, один конец которого упирается в пружину 27 и к которому крепится рукоятка 25. Рукоятка 25 установлена с возможностью перемещения вдоль паза 28 цилиндрического корпуса 26 вместе с подвижным штифтом 23. Узел 30 крепления установлен на рабочем цилиндре 1 с помощью ножки 50 (фиг.6). Устройство используется и работает следующим образом. Перед запуском летательного аппарата катапульту устанавливают в рабочее положение, для чего передние поворотные опоры разворачивают в направлении пилона 10 до момента, пока штифт 23 фиксатора 24 каждой поворотной опоры не попадет в отверстие сферы 31, после чего поворотные опоры займут фиксированное положение относительно рабочего цилиндра 1. После установки катапульты в рабочее положение рукоятку 18 качалки 15 опускают вниз (фиг.3), при этом другой конец рукоятки 18 с закрепленным роликом 16 поднимается вверх и далее до тех пор, пока ролик 16 не упрется в клык 19. При контакте с клыком 19 эластичная втулка 17 деформируется и ролик 16 перемещается вдоль поверхности клыка 19, занимая положение в его нише 40. Затем в рабочий цилиндр 1 подают газ под высоким давлением через заправочное отверстие 2. При достижении рабочего давления в камере 7 подачу газа прекращают. Обратный клапан 3 препятствует выходу газа из камеры. Катапульта готова к запуску летательного аппарата. После этого на пилоне 10 размещают летательный аппарат, как это показано на фиг.1, и запускают двигатель летательного аппарата. Для осуществления пуска летательного аппарата рукоятку 18 качалки 15 поднимают вверх, при этом другая ее часть с установленным на ней роликом 16 опускается вниз. При контакте с клыком 19 эластичная втулка 17 деформируется и ролик 16 перемещается вдоль поверхности клыка 19 вниз, пока не выйдет из его ниши 20. При этом сжатый газ перемещает поршень 4 со штоком 5 из рабочего цилиндра 1 до контакта поршня 4 с тормозным средством 8. Для отделения летательного аппарата от пилона 10 катапульты используется сигнал установленного на пилоне 10 датчика ускорений 11, чувствительный элемент которого реагирует на смену знака перегрузки в момент контакта поршня 4 с тормозным средством 8. Электрический сигнал от датчика ускорений в виде импульса поступает на контроллер 12, микропроцессор которого выдает команду электроприводу 13 на поворот кронштейна-фиксатора 33 влево, как это показано на фиг.4. Поворот кронштейна-фиксатора 33 осуществляется в момент полного торможения штока с пилоном, когда в центре масс самолета возникает сила, выталкивающая летательный аппарат с пилона вперед по направлению движения. Поворот кронштейна-фиксатора 33 позволяет освободить летательный аппарат от связи с пилоном, в результате чего летательный аппарат с запущенным двигателем отрывается от пилона и взлетает. По окончании запусков передние поворотные опоры 20 складывают. Для этого рукоятку 25 фиксатора 24 перемещают назад в направлении, противоположном направлению пуска. При этом подвижный штифт 23 вместе с рукояткой выходит из отверстия сферы 31, опоры 20 разворачивают и они занимают положение вдоль рабочего цилиндра 1. После этого катапульта готова к транспортировке или хранению.