патент
№ RU 2366780
МПК B66C3/16

УСТРОЙСТВО ДЛЯ ВЫЕМКИ ГРУНТА

Авторы:
ЛЁФФЕЛЬХОЛЬЦ Штефан Франц (DE)
Правообладатель:
Номер заявки
2007148541/03
Дата подачи заявки
27.12.2007
Опубликовано
10.09.2009
Страна
RU
Дата приоритета
15.12.2025
Номер приоритета
Страна приоритета
Как управлять
интеллектуальной собственностью
Чертежи 
6
Реферат

Изобретение относится к области горного дела, в частности к устройству для разработки грунта, в особенности к грейферу для возведения стен в грунте. Технический результат - упрощение и упрочнение конструкции рабочего органа с возможностью его поворота с высокой надежностью. Устройство для разработки грунта содержит опорный корпус, выполненный с возможностью соединения с базовой машиной, рабочий орган, на котором расположены рабочие инструменты для разработки грунта и который установлен с возможностью поворота на опорном корпусе посредством опорного устройства, и поворотное устройство для поворота рабочего органа относительно опорного корпуса вокруг оси поворота. Поворотное устройство содержит, по меньшей мере, один линейный привод и тросовый или цепной передаточный механизм, посредством которого создаваемое линейным приводом линейное движение может преобразовываться в поворотное движение. 9 з.п. ф-лы, 6 ил.

Формула изобретения

1. Устройство для разработки грунта, в особенности грейфер для возведения стен в грунте, содержащее опорный корпус (32), выполненный с возможностью соединения с базовой машиной (12), рабочий орган (20), на котором расположены рабочие инструменты (22) для разработки грунта и который установлен с возможностью поворота на опорном корпусе (32) посредством опорного устройства (30), и поворотное устройство (40) для поворота рабочего органа (20) относительно опорного корпуса (32) вокруг оси (34) поворота, отличающееся тем, что поворотное устройство (40) содержит, по меньшей мере, один линейный привод (44) и тросовый или цепной передаточный механизм (50), посредством которого создаваемое линейным приводом (44) линейное движение может преобразовываться в поворотное движение.

2. Устройство для разработки грунта по п.1, отличающееся тем, что линейный привод (44) содержит исполнительный цилиндр, в особенности гидроцилиндр, с поршневым штоком (47) которого соединен гибкий элемент (45) передаточного механизма (50).

3. Устройство для разработки грунта по п.2, отличающееся тем, что исполнительный цилиндр является исполнительным цилиндром двухстороннего действия, из корпуса (46) цилиндра которого в обе стороны выступают поршневые штоки (47), а гибкий элемент (45) передаточного механизма (50) соединен двумя своими концами с поршневыми штоками (47).

4. Устройство для разработки грунта по любому из пп.1-3, отличающееся тем, что тросовый или цепной передаточный механизм (50) содержит установочный круг (52), к которому шарнирно прикреплен, по меньшей мере, один гибкий элемент (45), охватывающий его, по меньшей мере, частично.

5. Устройство для разработки грунта по п.4, отличающееся тем, что установочный круг (52) расположен в области опорного устройства (30) и коаксиально оси (34) поворота.

6. Устройство для разработки грунта по п.4, отличающееся тем, что линейный привод (44) расположен на рабочем органе (20), а установочный круг (52) жестко укреплен на опорном корпусе (32).

7. Устройство для разработки грунта по п.4, отличающееся тем, что к установочному кругу (52) шарнирно прикреплены два гибких элемента (45), посредством которых может осуществляться поворотное движение в одном из противоположных направлений.

8. Устройство для разработки грунта по любому из пп.1-3, 5-7, отличающееся тем, что гибкий элемент (45) является стальным тросом.

9. Устройство для разработки грунта по любому из пп.1-3, 5-7, отличающееся тем, что на опорном устройстве (30) предусмотрены подсоединения (36) для гидравлических сред.

10. Устройство для разработки грунта по любому из пп.1-3, 5-7, отличающееся тем, что базовая машина (12) оснащена мачтой (14), на которой установлено подъемное устройство (18), на нижнем конце которого расположен рабочий орган (20).
Приоритет по пунктам:

26.01.2007 по пп.1-10.

Описание

[1]

Область техники

[2]

Настоящее изобретение относится к устройству для разработки (выемки) грунта, в особенности к грейферу для возведения стен в грунте, содержащему опорный корпус, выполненный с возможностью соединения с базовой машиной, рабочий орган, на котором расположены рабочие инструменты для разработки грунта и которое установлено с возможностью поворота на опорном корпусе посредством опорного устройства, и поворотное устройство для поворота рабочего органа относительно опорного корпуса.

[3]

Уровень техники

[4]

Такие машины служат для разработки в грунте выемок или траншей, необходимых для возведения в грунте оснований или изоляционных стен. При использовании грейферов с грейферными ковшами, в особенности при возведении относительно глубоких изоляционных стен, создается опасность нежелательного отклонения от вертикали из-за асимметричных нагрузок, в особенности несимметричного распределения зубьев на грейферных ковшах. Для компенсации этих отклонений известен прием периодического поворота грейферных ковшей на 180°, в особенности после каждого подъема. За счет этого может обеспечиваться компенсация отклонений вследствие несимметричного расположения зубьев.

[5]

Рабочее оборудование для разработки грунта данного типа известно, например, из патентного документа Японии №55-152228 А. В этом известном решении рабочее оборудование с грейферными ковшами установлено с помощью поворотного устройства на телескопическом устройстве. Поворот осуществляется с помощью двигателя вращения с ведущей шестерней и наружного зубчатого колеса, связанного с рабочим оборудованием. Поскольку поворотное устройство находится на нижнем конце телескопического устройства, оно заглубляется в траншею или щель вместе с грейферными ковшами. Особенно в тех случаях, когда разработанные щели заполняются стабилизирующей жидкостью, это может приводить к неблагоприятному воздействию на двигатель вращения и уязвимый передаточный механизм.

[6]

Для решения этой проблемы из патентного документа ЕР 0533559 В1 известно расположение поворотного устройства на верхнем конце телескопической направляющей на переходе к стреле базовой машины. Однако при такой компоновке поворотное устройство должно поворачивать всю телескопическую направляющую, в результате чего не только повышаются усилия, но также требуется более мощное и дорогое исполнение двигателя вращения и поворотного опорного устройства. Кроме того, затрудняется замена телескопического устройства, например, когда желательна разработка грунта на большую глубину.

[7]

В патентном документе ЕР 0872596 В1 предложено поворотное устройство, в котором двигатель вращения жестко установлен на верхней секции телескопической направляющей. На рабочем органе предусмотрен приводной вал, который соединяется с двигателем с помощью муфты только тогда, когда телескопическая направляющая полностью втянута, а рабочий орган с грейферными ковшами полностью поднят из грунта. Для фиксации рабочего органа от поворота при отсоединенном двигателе вращения требуется дорогостоящее тормозное устройство.

[8]

Раскрытие изобретения

[9]

Задача, на решение которой направлено настоящее изобретение, заключается в создании устройства для разработки грунта, в котором рабочий орган обладает простой прочной конструкцией и может быть повернут с высокой надежностью.

[10]

В соответствии с изобретением решение поставленной задачи достигается за счет создания устройства для разработки грунта, обладающего признаками по пункту 1 формулы изобретения. Предпочтительные примеры осуществления изложены в зависимых пунктах.

[11]

Предложено устройство для разработки грунта, в особенности грейфер для возведения стен в грунте, содержащий опорный корпус, выполненный с возможностью соединения с базовой машиной, и рабочий орган, на котором расположены рабочие инструменты для разработки грунта и который установлен с возможностью поворота на опорном корпусе посредством опорного устройства. Устройство содержит также поворотное устройство для поворота рабочего органа относительно опорного корпуса вокруг оси поворота. Согласно изобретению поворотное устройство содержит, по меньшей мере, один линейный привод и тросовый или цепной передаточный механизм, посредством которого создаваемое линейным приводом линейное движение может преобразовываться в поворотное движение.

[12]

Основная идея изобретения заключается в том, чтобы создавать поворотное движение не посредством двигателя вращения с относительно дорогим редукторным передаточным механизмом, а с помощью простого, прочного и надежного линейного привода. Для преобразования линейного приводного движения в движение поворота предусмотрен также конструктивно простой тросовый или цепной передаточный механизм. В таких механизмах используется гибкий элемент, такой как трос или цепь. В рамках изобретения предусматривается возможность использования в качестве гибкого элемента не только троса или цепи, но также лент, ремней и других гибких элементов. С их помощью линейное движение может быть преобразовано в поворот посредством простого охвата колеса или круга. Такие гибкие направляемые элементы могут надежно использоваться и не требуют значительного технического ухода даже при работе в тяжелой среде и в условиях высокой загрязненности. Кроме того, при ограниченном числе оборотов могут передаваться относительно высокие крутящие моменты, что вполне достаточно для предусмотренного изобретением случая использования.

[13]

В принципе в качестве линейного привода могут служить различные приводы, такие как реечный зубчатый привод или приводы с шариковинтовой передачей. Однако согласно изобретению предпочтительно линейный привод содержит исполнительный цилиндр, в особенности гидроцилиндр, с поршневым штоком которого соединен гибкий элемент передаточного механизма. Исполнительные цилиндры, в особенности гидроцилиндры, компактны и могут развивать очень высокие усилия. Кроме того, как правило, в устройствах для разработки грунта уже имеется гидросистема с множеством гидроцилиндров. В частности, в грейферах для возведения стен в грунте используются гидроцилиндры для привода грейферных ковшей. Таким образом, линейный привод для поворотного устройства по изобретению может быть интегрирован в имеющуюся систему без больших затрат.

[14]

Изобретение может быть реализовано с использованием одного или нескольких исполнительных цилиндров. В частности могут использоваться два исполнительных цилиндра одностороннего действия, ориентированных и приводимых в противоположных направлениях. Согласно изобретению особенно простая компоновка достигается за счет того, что исполнительный цилиндр является исполнительным цилиндром двухстороннего действия, из корпуса цилиндра которого в обе стороны выступают поршневые штоки, а гибкий элемент передаточного механизма соединен двумя своими концами с поршневыми штоками. Благодаря такому решению может достигаться строго определенный поворот и поворот в обратном направлении. Кроме того, обеспечивается надежное натяжение гибкого элемента или элементов, поскольку при поворотном движении вперед и назад всегда создается натяжение.

[15]

В предпочтительном примере выполнения тросовый или цепной передаточный механизм содержит установочный круг, к которому шарнирно прикреплен, по меньшей мере, один гибкий элемент, охватывающий его, по меньшей мере, частично. Шарнирное крепление гибкого элемента на установочном круге радиально отстоит от оси поворота. Это расстояние представляет плечо рычага, посредством которого линейное тяговое усилие гибкого элемента преобразуется в крутящий момент для поворота рабочего органа. Крепление троса на установочном круге может достигаться известным образом путем соединения с силовым или кинематическим замыканием, например с помощью винтов, зажимов или подобных средств. Предпочтительно для этого на установочном круге предусмотрен крепежный палец, на который может быть надето крепежное ушко на одном конце троса. Соответственно ход линейного перемещения вызывает поворот, величина которого зависит от соответствующей длины окружности установочного круга.

[16]

Особенно надежный и эффективный непосредственный привод достигается в соответствии с изобретением за счет того, что установочный круг расположен в области опорного устройства и коаксиально оси поворота. При этом установочный круг жестко установлен на опорном корпусе, который соединен с базовой машиной без возможности относительного поворота. Таким образом, тяговое усилие, передаваемое на гибкий элемент, вызывает непосредственный поворот рабочего органа относительно установочного круга и опорного корпуса. В этом случае не требуется передач для компенсации относительного смещения осей.

[17]

При расположении установочного круга на опорном корпусе линейный привод находится на рабочем органе. На раме рабочего органа имеется достаточное свободное пространство. В альтернативном варианте установочный круг может быть жестко укреплен на рабочем органе, а линейный привод предусмотрен на опорном корпусе для обеспечения желаемого относительного поворота между рабочим органом и опорным корпусом. Подъемное устройство, такое как телескопические штанги или буровая колонна, может быть расположено над опорным устройством или под ним. Передача тягового усилия на установочный круг может осуществляться также исключительно действием силы трения путем частичного или многократного охвата установочного круга тросом.

[18]

Ось поворота поворотного устройства проходит, по существу, параллельно направлению заглубления, которое обычно является вертикальным. В определенных случаях использования возможны также отклонения от вертикали на несколько градусов.

[19]

Согласно изобретению для особенно надежного поворота к установочному кругу шарнирно прикреплены два гибких элемента, посредством которых может осуществляться поворотное движение в одном из противоположных направлений. При этом расположение и охват или намотка гибких элементов на установочном круге взаимно противоположны, так что передача тягового усилия вызывает поворотное движение в одном из противоположных направлений. Благодаря этому обеспечивается надежный поворот в обоих направлениях.

[20]

Как уже было указано выше, гибкий элемент может быть цепью, лентой, ремнем и подобным элементом при условии, что он обеспечивает возможность линейного движения и одновременно направления и намотки гибкого элемента. Однако в особенно экономичном, простом и надежном примере выполнения гибкий элемент является стальным тросом. Стальные тросы обычно используются в машинах для возведения стен в грунте в качестве подъемных или несущих тросов. При использовании непосредственно в щели, заполненной стабилизирующей суспензией, стальные тросы также чрезвычайно прочны и надежны и практически не требуют затрат на технический уход.

[21]

Согласно изобретению особенно надежное устройство достигается за счет того, что на опорном устройстве предусмотрены подсоединения для гидравлических сред. Для передачи гидравлической среды от базовой машины через поворотное устройство к рабочему органу может быть предусмотрено обычное гидравлическое поворотное устройство. Поскольку обычно предусмотрен поворот рабочего органа только на 180° со следующим за ним обратным поворотом, гибкий переход между гидравлическими трубопроводами от опорного корпуса к рабочему органу может осуществляться также с помощью гибких шлангов.

[22]

В соответствии с изобретением базовая машина оснащена мачтой, на которой установлено неповоротное подъемное устройство, на нижнем конце которого расположен рабочий орган. Базовая машина обычно представляет собой гусеничное транспортное средство с верхней платформой, на которой шарнирно укреплена мачта или стрела с приводом для троса. Подъемное устройство может представлять собой отдельную подвижную по вертикали штангу или салазки, телескопический цилиндр или буровую колонну с тросовым приводом. Благодаря своей компактности и прочности поворотное устройство по изобретению может быть расположено почти в любом месте, например между стрелой и подъемным устройством или предпочтительно между подъемным устройством и рабочим органом.

[23]

Предпочтительно устройство для разработки грунта является грейфером для возведения стен в грунте, однако не ограничивается этим исполнением. В принципе изобретение может использоваться также в других устройствах для возведения стен в грунте, например во фрезерных устройствах с вращающимися фрезами, в особенности в тех случаях, когда фрезы оснащены неравномерно распределенными зубьями.

[24]

Краткий перечень чертежей

[25]

Далее со ссылками на прилагаемые чертежи будут подробно описаны примеры осуществления изобретения, где

[26]

фиг.1 изображает вид сбоку устройства для разработки грунта с базовой машиной;

[27]

фиг.2 изображает устройство для разработки грунта с грейферными ковшами в следующем примере выполнения;

[28]

фиг.3 изображает узел устройства по фиг.2, содержащий привод поворота;

[29]

фиг.4 изображает вид сбоку устройства для разработки грунта в примере выполнения по фиг.2;

[30]

фиг.5 изображает устройство для разработки грунта в примере выполнения по фиг.2, вид сверху;

[31]

фиг.6 изображает устройство для разработки грунта в примере выполнения по фиг.2, вид сверху с частичным разрезом.

[32]

Осуществление изобретения

[33]

На фиг.1 схематично показана основная конструкция устройства 10 для разработки грунта, предназначенного для разработки в грунте щели 5. На базовой машине 12 установлена, по существу, вертикально мачта 14 с головкой 16 мачты. На этой головке 16 мачты с помощью подъемного устройства 18, содержащего несколько несущих тросов, установлен с возможностью вертикального перемещения рабочий орган 20 для разработки щели 5.

[34]

На фиг.2 показано устройство 10 для разработки грунта, выполненное в виде грейфера для возведения стен в грунте. Он содержит раму 24 с центральным продольным несущим каркасом 60, на котором с помощью поперечных связей 62 известным образом установлены боковые направляющие листы 64. На нижнем конце продольного несущего каркаса 60 шарнирно укреплены с возможностью поворота два грейферных ковша 66 с зубьями 68, выполняющих функцию рабочих инструментов 22 для разработки грунта. Грейферные ковши 66 могут быть открыты и закрыты с помощью исполнительного гидроцилиндра 70, расположенного в середине внутри продольного несущего каркаса 60, и исполнительных тяг 72. На верхнем конце продольного несущего каркаса 60 расположено опорное устройство 30, с помощью которого рабочий орган 20 опирается на опорный корпус 32 с возможностью поворота на 180°. Опорный корпус 32 оснащен подвеской 31, с помощью которой грейфер для возведения стен в грунте может быть съемно установлен на подъемном устройстве для перемещения, по существу, в вертикальном направлении.

[35]

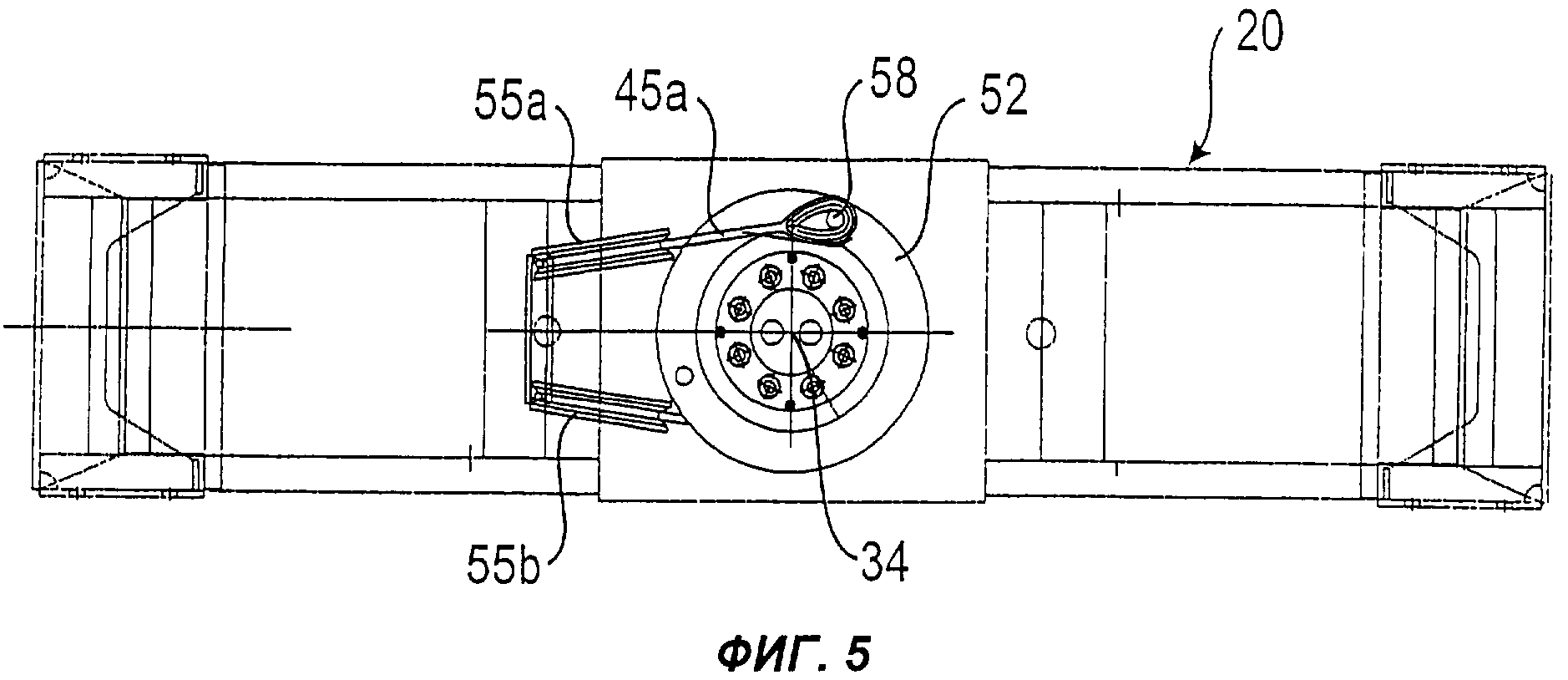
Для поворота рабочего органа 20 относительно опорного корпуса 32 предусмотрено поворотное устройство 40 с линейным приводом 44, выполненным в виде исполнительного цилиндра, и тросовый передаточный механизм 50. Линейный привод 44 содержит корпус 46 цилиндра и два поршневых штока 47, выступающих из корпуса с обеих сторон. Поршневые штоки 47 расположены вдоль продольной оси рабочего органа 20 и служат для привода в линейное движение троса в качестве гибкого элемента 45. Тросовый передаточный механизм содержит нижний направляющий блок 54, два верхних направляющих блока 55 и установочный круг 52 (фиг.5). Установочный круг 52 жестко укреплен на опорном корпусе 32, а нижний направляющий блок 54 и верхние направляющие блоки 55 установлены с возможностью вращения на раме 24 рабочего органа 20. В данном примере выполнения гибкий элемент 45 образован двумя отдельными тросами, каждый из которых одним концом прикреплен к поршневому штоку 47, а другим концом прикреплен к установочному кругу 52 и частично охватывает его. Такая компоновка элементов создает замкнутый приводной контур, так что при взаимно противоположном воздействии на поршневые штоки 47 в гибком элементе 45 обеспечивается постоянное натяжение.

[36]

Установка и поворот рабочего органа 20 будут описаны далее со ссылками на фиг.3. На опорном корпусе 32 жестко укреплены сверху пальцевая подвеска 31 и снизу опорная цапфа 33. Для создания поворотной опоры на наружной стороне опорной цапфы 33 расположена подшипниковая втулка 35, в особенности втулка подшипника скольжения, которая удерживается наружной обоймой 63. Обойма 63 жестко соединена с продольным несущим каркасом 60 с помощью опорной подвески 61. Таким образом, наружная обойма 63 и весь рабочий орган 20 установлены на подшипниковой втулке 35 с возможностью поворота относительно опорного корпуса 32. Опорная подвеска 61 имеет свободное пространство, в которое выступает свободный конец опорной цапфы 33. На опорной цапфе 33 укреплен установочный круг 52, на окружной поверхности которого имеются две канавки для размещения в них троса в качестве гибкого элемента 45. Два верхних направляющих блока 55 установлены с помощью кронштейнов 56 с возможностью вращения на опорной подвеске 61 рабочего органа 20. Таким образом, гибкий элемент 45, проходящий вертикально и параллельно оси 34 поворота, может направляться этими блоками 55 в горизонтальном направлении на установочный круг 52 с заходом тросов в соответствующие канавки установочного круга. Установочный круг 52 расположен коаксиально оси 34 поворота, совпадающей с продольной осью рабочего органа 20.

[37]

На нижнем конце опорной цапфы 33 расположен соединительный элемент с гидравлическими подсоединениями 36. Гидравлическая текучая среда может подаваться от гидросистемы питания к поворотному рабочему органу через трубопроводы 26 на опорном корпусе 32, опорную цапфу 33 и далее через подсоединения 36 и гибкие шланги 37 к подсоединениям 38, жестко прикрепленным к рабочему органу 20. Гидросистема служит, в частности, для питания исполнительного гидроцилиндра грейферных ковшей и линейного привода поворотного устройства.

[38]

Как показано на фиг.4 на виде сбоку, нижний направляющий блок 54 установлен с помощью опорного кронштейна 57 на продольном несущем каркасе 60 устройства 10 для разработки грунта с возможностью вращения. Линейный привод 44, расположенный параллельно вертикальной продольной оси устройства для разработки грунта, содержит корпус 46 цилиндра, жестко укрепленный на продольном несущем каркасе 60.

[39]

В показанном на фиг.4 положении нижний поршневой шток 47 втянут, а верхний поршневой шток выдвинут в противоположном направлении, так что гибкий элемент 45 всегда находится под натяжением. Для регулировки натяжения в свободном участке гибкого элемента 45 расположено натяжное устройство 48.

[40]

Механизм поворота особенно ясно показан на фиг.5 и 6. Первый гибкий элемент 45а, представляющий собой трос с крепежным ушком на одном конце, направляется первым направляющим блоком 55а к установочному кругу 52. С помощью крепежного ушка первый гибкий элемент 45а шарнирно прикреплен к первому крепежному пальцу 58 установочного круга 52 для обеспечения относительного поворота между установочным кругом 52 и рабочим органом 20 вокруг оси 34 поворота против часовой стрелки. Своим другим свободным концом первый гибкий элемент 45а соединен с нижним поршневым штоком 47 линейного привода 44 по фиг.4.

[41]

Второй гибкий элемент 44b соединен, с одной стороны, своим крепежным ушком со вторым крепежным пальцем 59 установочного круга 52 и, с другой стороны, с верхним поршневым штоком 47 линейного привода 44. Когда верхний поршневой шток 47 втягивается, второй гибкий элемент 44b также протягивается по второму верхнему направляющему блоку 55b, что вызывает относительный поворот между установочным кругом 52 и рабочим органом 20 вокруг оси 34 поворота по часовой стрелке. При этом поворотном движении первый гибкий элемент 45а одновременно наматывается на установочный круг 52 в направлении по часовой стрелке, что обеспечивает возможность последующего обратного поворота против часовой стрелки с помощью первого гибкого элемента 45а на угол около 180°.

Как компенсировать расходы
на инновационную разработку
Похожие патенты