патент
№ RU 2363438
МПК A61F5/058

КОМПЛЕКТ ДЛЯ ИММОБИЛИЗАЦИИ И ЭВАКУАЦИИ ЧЕЛОВЕКА С НАБОРОМ ШИН И ШИНА ДЛЯ ФИКСАЦИИ ПЛЕЧА

Авторы:
Тюрин Михаил Васильевич Маркевич Виталий Юрьевич Гаврилин Сергей Викторович
Все (6)
Номер заявки
2007126901/14
Дата подачи заявки
09.07.2007
Опубликовано
10.08.2009
Страна
RU
Как управлять
интеллектуальной собственностью
Чертежи 
7
Реферат

Изобретение относится к медицине, а именно к оборудованию для иммобилизации и последующей эвакуации тяжело травмированного человека с места аварии или с иного места события, закончившегося тяжелой механической травмой пациента. Комплект для иммобилизации и эвакуации человека включает побудитель вакуумирования, набор шин и матрас. Матрас содержит воздухонепроницаемую гибкую камеру, снабженную патрубком, содержащим запорный вентиль и обратный клапан, теплоизоляционные гранулы, помещенные в воздухонепроницаемую гибкую камеру, стропы и застежки. Камеры матраса и набора шин выполнены из слоев, проваренных между собой токами высокой частоты. Внутренний слой выполнен из поливинилхлорида. Внешний слой - из армированной и дублированной винилкожи или винилполиуретана. К нижней части камеры матраса приварен своей центральной частью дополнительный поддон из винилкожи таким образом, что в свободный край поддона продеты армированные капроновые стропы. Шина для фиксации плеча включает в себя воздухонепроницаемую гибкую камеру, снабженную патрубком, содержащим запорный вентиль и обратный клапан, теплоизоляционные гранулы, помещенные в воздухонепроницаемую гибкую камеру. Шина выполнена в форме прямоугольника с отверстием для головы и снабжена двумя вырезами в области плечей, а также разрезом вдоль плеча. Вырезы и разрез снабжены застежками. Технический результат - функциональность в эксплуатации, за счет выбора и обработки материала устройства токами высокой частоты обеспечивается возможность повысить износостойкость изделия в целом, возможность облегчения процедуры дезинфекции, полнота оказываемой помощ

Формула изобретения

1. Комплект для иммобилизации и эвакуации человека, включающий побудитель вакуумирования, набор шин и матрас, содержащий воздухонепроницаемую гибкую камеру, снабженную патрубком, содержащим запорный вентиль и обратный клапан, теплоизоляционные гранулы, помещенные в воздухонепроницаемую гибкую камеру, стропы и застежки, причем камеры матраса и набора шин выполнены из слоев, проваренных между собой токами высокой частоты, при этом внутренний слой выполнен из поливинилхлорида, а внешний слой - из армированной и дублированной винилкожи или винилполиуретана, к нижней части камеры матраса приварен своей центральной частью дополнительный поддон из винилкожи таким образом, что в свободный край поддона продеты армированные капроновые стропы.

2. Комплект по п.1, отличающийся тем, что в набор шин включены шины для фиксации предплечья и кисти, голени, коленного сустава и стопы, а также фиксации плеча.

3. Комплект по п.1, отличающийся тем, что форма шин для фиксации предплечья и кисти, голени, коленного сустава и стопы выбрана прямоугольной.

4. Комплект по п.1, отличающийся тем, что форма шин для фиксации предплечья и кисти, голени, коленного сустава и стопы выбрана трапециевидной.

5. Комплект по п.1, отличающийся тем, что камеры матраса и шин перфорированы.

6. Комплект по п.1, отличающийся тем, что в камеру матраса вшиты стропы с замками.

7. Комплект по п.1, отличающийся тем, что в поверхности камер матраса и шин, прилегающих к телу пострадавшего, вмонтированы перфорированные эластичные трубки.

8. Комплект по п.1, отличающийся тем, что камеры шин снабжены креплениями с застежками.

9. Комплект по п.1, отличающийся тем, что камера матраса снабжена лентой для фиксации головы с застежкой.

10. Шина для фиксации плеча, отличающаяся тем, что включает в себя воздухонепроницаемую гибкую камеру, снабженную патрубком, содержащим запорный вентиль и обратный клапан, теплоизоляционные гранулы, помещенные в воздухонепроницаемую гибкую камеру, при этом шина выполнена в форме прямоугольника с отверстием для головы и снабжена двумя вырезами в области плечей, а также разрезом вдоль плеча, при этом вырезы и разрез снабжены застежками.

11. Шина по п.10, отличающаяся тем, что застежки выполнены в виде лент-липучек.

Описание

[1]

Изобретение относится к медицине, а именно к оборудованию для иммобилизации и последующей эвакуации тяжело травмированного человека с места аварии или с иного места события, закончившегося тяжелой механической травмой пациента.

[2]

Известна шина вакуумная, содержащая герметичную гибкую камеру из полимерного материала, заполненного гранулами из вспененного полистирола, снабженную обратным клапаном, и фиксирующие ленты, закрепленные на чехле, при этом гранулы из вспененного полистирола размещены в вертикальных секциях вкладыша, находящегося внутри камеры, выполненного из текстильного материала по форме и размеру камеры, камера расположена внутри чехла из текстильного материала с односторонним полимерным покрытием, на чехле закреплен держатель с ремнями и пряжками с подвижным звеном и стремя, соединенное с держателем ремнями и карабинами, при этом шина имеет в верхней части углубление в области паха (патент РФ №2216297, A61F 5/05, опубл. 2003.11.20).

[3]

Недостатком данной шины является то, что она не обеспечивает иммобилизацию всех частей тела, имеет чехол, на котором закреплены фиксирующие ленты, а он не стерилен, плохо стерилизуется, изнашивается достаточно быстро. Защитный текстильный материал чехла плохо выполняет свои защитные функции, быстро изнашивается, требует снятия с камеры шины для дезинфекции и последующей просушки, что значительно усложняет работу с ней.

[4]

Известно устройство для иммобилизации и эвакуации человека, состоящее из воздухонепроницаемой гибкой камеры, снабженной патрубком, содержащим запорный вентиль и обратный клапан, теплоизоляционных гранул, помещенных в воздухонепроницаемую гибкую камеру, побудителя вакуумирования и защитного съемного чехла, снабженного, по крайней мере, двумя ручками, ремнями крепления и средством для установки и фиксации ребер жесткости, в котором воздухонепроницаемая гибкая камера снабжена, по меньшей мере, двумя дистанцирующими элементами, которые прикреплены к ее внутренней поверхности, при этом теплоизоляционные гранулы дополнительно снабжены оболочкой и выполнены из вспененного минерального материала. В качестве вспененного минерального материала применен керамзит и/или пемза. Оболочка выполнена из сферопластика, а в качестве сферопластика применен стеклосферопластик на эпоксидном связующем, при этом он содержит от 72 до 95% объемных стеклянных полых сфер (патент РФ №2262333, A61G 1/00, опубл. 2005.10.20).

[5]

Недостатком устройства является то, что в качестве наполнителя используется вспененный минеральный материал, который обладает способностью быстро распадаться и теряет свои фиксирующие функции. Наличие чехла также усложняет эксплуатацию устройства вследствие необходимости ее стерилизации (дезинфекции).

[6]

Известно устройство для иммобилизации плеча при его повреждениях, содержащее рамочную шину с поперечными перегородками, выполненную с кистевым, предплечным и плечевым опорными сегментами с локтевым изгибом, причем на плечевом сегменте и локтевом сгибе установлен поддерживающий сегмент, выполненный из отдельной стремянообразно изогнутой рамочной шины с размещенными на ней опорной частью, стойками и грудным загибом (SU 1835277, A61F 5/04, опубл. 1993.08.23). Это устройство является наиболее близким аналогом для предлагаемой в изобретении конструкции шины. Недостатком этого устройства является неудобство его использования вследствие его исходно заданной жесткости.

[7]

В основу изобретения положена задача создания дешевого, функционального в эксплуатации комплекта для иммобилизации и эвакуации человека, в котором за счет выбора и обработки материала устройства токами высокой частоты обеспечивается возможность повысить износостойкость изделия в целом, возможность облегчения процедуры дезинфекции, а также за счет наличия дополнительного поддона, прикрепленного к камере снизу и снабженного продетыми по его краю армированными капроновыми стропами, обеспечивается возможность придания дополнительной жесткости основной камере матраса. Наличие в комплекте набора шин, в том числе и для фиксации плеча, обеспечивает полноту оказываемой помощи.

[8]

Решение поставленной технической задачи обеспечивается тем, что в комплекте для иммобилизации и эвакуации человека, включающем побудитель вакуумирования, набор шин и матрас, содержащий воздухонепроницаемую гибкую камеру, снабженную патрубком, содержащим запорный вентиль и обратный клапан, теплоизоляционные гранулы, помещенные в воздухонепроницаемую гибкую камеру, стропы и застежки, причем камеры матраса и набора шин выполнены из слоев, проваренных между собой токами высокой частоты, при этом внутренний слой выполнен из поливинилхлорида, а внешний слой - из армированной и дублированной винилкожи или винилполиуретана, к нижней части камеры матраса приварен своей центральной частью дополнительный поддон из винилкожи таким образом, что в свободный край поддона продеты армированные капроновые стропы.

[9]

В набор шин включены шины для фиксации предплечья и кисти, голени, коленного сустава и стопы, а также фиксации плеча.

[10]

Форма шин для фиксации предплечья и кисти, голени, коленного сустава и стопы может быть выбрана прямоугольной.

[11]

Форма шин для фиксации предплечья и кисти, голени, коленного сустава и стопы может быть выбрана трапециевидной.

[12]

Камеры матраса и шин могут быть перфорированы.

[13]

В камеру матраса могут быть вшиты стропы с замками.

[14]

В поверхности камер матраса и шин, прилегающих к телу пострадавшего, могут быть вмонтированы перфорированные эластичные трубки.

[15]

Камеры шин могут быть снабжены креплениями с застежками.

[16]

Камера матраса может быть снабжена лентой для фиксации головы с застежкой.

[17]

Шина для фиксации плеча включает в себя воздухонепроницаемую гибкую камеру, снабженную патрубком, содержащим запорный вентиль и обратный клапан, теплоизоляционные гранулы, помещенные в воздухонепроницаемую гибкую камеру, при этом шина выполнена в форме прямоугольника с отверстием для головы и снабжена двумя вырезами в области плечей, а также разрезом вдоль плеча, при этом вырезы и разрез снабжены застежками.

[18]

Застежки могут быть выполнены в виде лент-липучек.

[19]

Сварка слоев камер матраса и шин токами высокой частоты, содержащих ПВХ и армированную и дублированную винилкожу или винилполиуретан, дает прочную, надежную и функциональную конструкцию. Выбор армированной и дублированной винилкожи или винилполиуретана связан с тем, что эти материалы являются износостойкими, устойчивыми к воздействию агрессивных веществ и температур, на этих материалах практически не растут микробы, вирусы, грибы, и поэтому их легко дезинфицировать для последующего использования.

[20]

Наличие поддона дает возможность продеть капроновые стропы для переноски раненого не в чехол, как в прототипе, а в край поддона. При необходимости придания большей жесткости носилкам в зоне спины стропы возможно перекрестить в этой области. Предусмотрена возможность крепления вакуумного матраса к штатным носилкам, а также самостоятельное его использование.

[21]

Наличие перфорации в камерах или перфорированных эластичных трубок дает возможность, в отличие от известных аналогов и прототипа, подавать воздух к телу больного и вентилировать его поверхность.

[22]

Наличие полного набора шин в комплекте обеспечивает полноту оказания помощи пострадавшему вследствие универсальности комплекта.

[23]

Шина для фиксации плеча позволяет надежно зафиксировать плечевой сустав и плечо за счет того, что фиксация пострадавшей конечности осуществляется путем прижатия ее к телу. Это позволяет исключить движения в плечевом суставе, а также смещение самой плечевой кости.

[24]

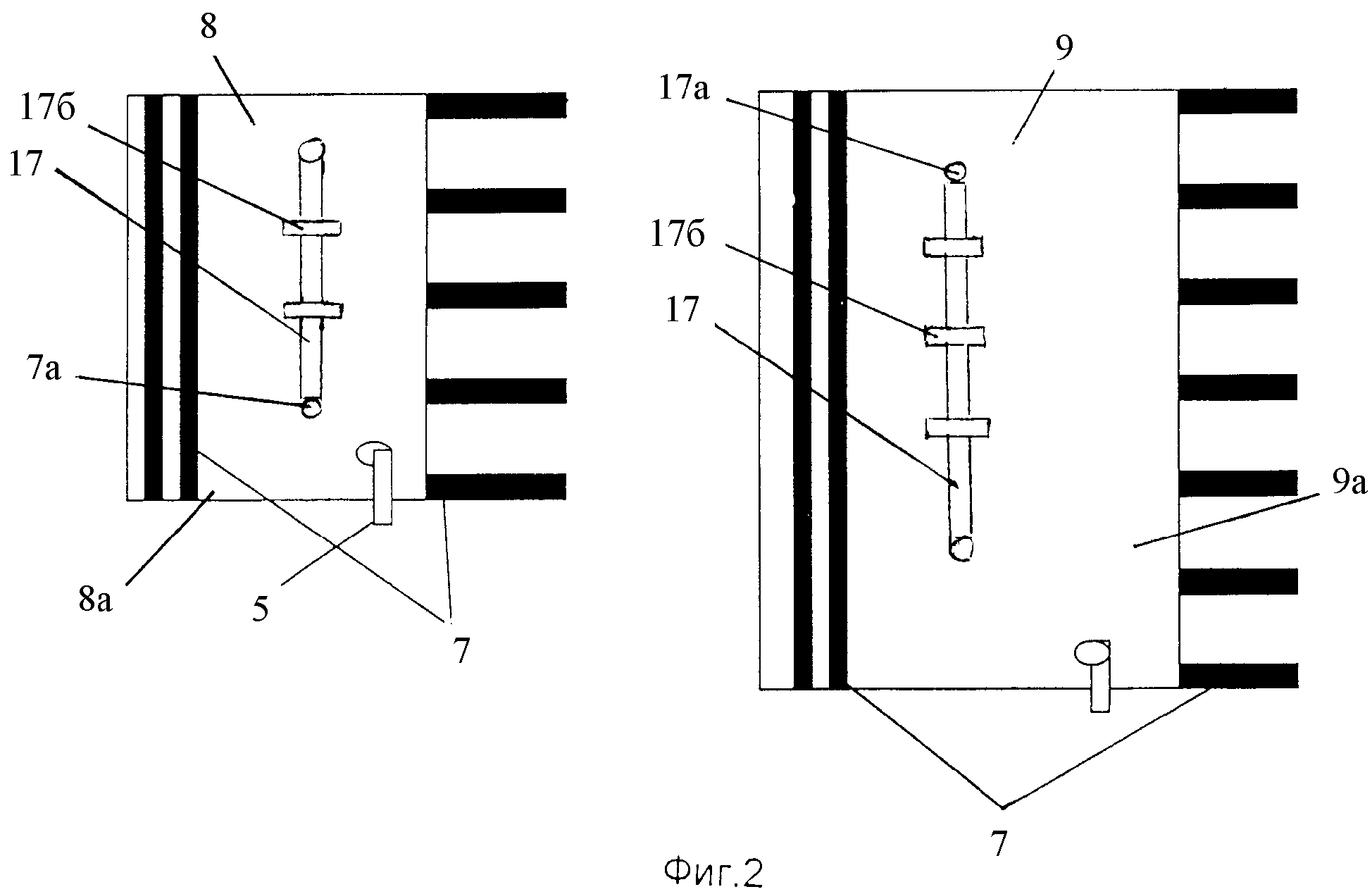
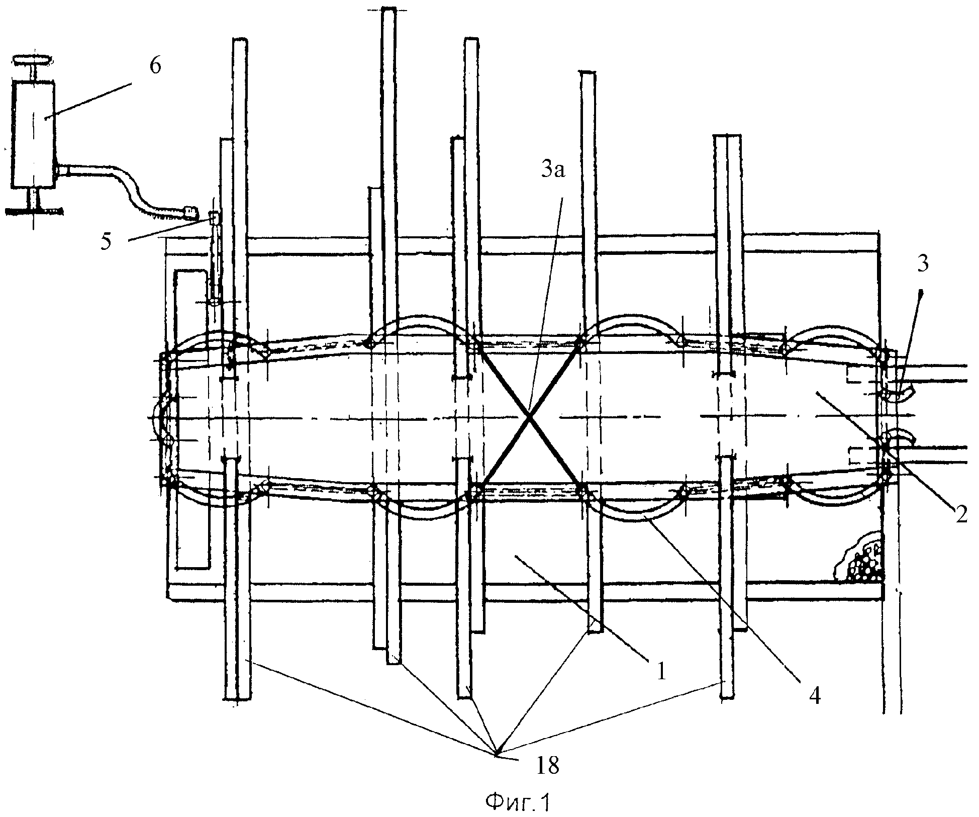
Изобретение поясняется фиг.1-5. На фиг.1 показан вакуумный матрас, на фиг.2 - шина для предплечья и кисти и шина для голени, коленного сустава и стопы. На фиг.3 показана трапециевидная шина для предплечья и кисти. На фиг.4 приведена конструкция шины для фиксации плеча, а на фиг.5 - трапециевидная шина для фиксации голени, коленного сустава и стопы. На фиг.6 и 7 показаны примеры использования вакуумного матраса.

[25]

В комплект входят: вакуумный матрас (камера матраса) 1, побудитель вакуумирования, например откачивающее устройство (вакуумный насос) 6, патрубок 5 запорного вентиля и обратного клапана, лента для фиксации головы (не показана), поддон для матраса 2, армированные капроновые стропы (канат) 3, фиксирующие ремни-стропы 18 с замками, трубка-ручки 4, транспортная сумка, а также шина для предплечья и кисти 8 и 10 и шина для голени, коленного сустава и стопы 9 (см. фиг 2 и 3), шина для фиксации плеча 11 (фиг.4), снабженные застежками 7 в виде лент-липучек. На фиг.5 представлена трапециевидная шина для фиксации голени, коленного сустава и стопы 12. Камеры матраса 1 и камеры шин 8а, 9а, 10а, 11а, 12а могут быть либо перфорированы, либо в поверхности камер матраса 1 и камер шин 8а-12а, прилегающих к телу пострадавшего, могут быть вмонтированы перфорированные эластичные трубки 17 с отверстиями 17а в шине и элементами фиксации 17б перфорированной трубки к поверхности камеры шины 8а, как показано на фиг 2.

[26]

Шина для фиксации плеча 11 включает воздухонепроницаемую гибкую камеру 11а, снабженную патрубком 5, содержащим запорный вентиль и обратный клапан, теплоизоляционные гранулы, помещенные в воздухонепроницаемую гибкую камеру 1, побудитель вакуумирования, застежки 7. Она выполнена в форме прямоугольника с отверстием для головы 13 и снабжена двумя вырезами 14 и 15 в области плечей, а также разрезом 16 вдоль плеча, при этом вырезы 14 и 15 и разрез 16 снабжены застежками 7.

[27]

Порядок использования комплекта таков. Извлекают вакуумный матрас 1 из транспортной сумки. Располагают его на штатных носилках таким образом, чтобы срез головного конца матраса 1 и матраса совпали, а черные ленты для фиксации матраса прилежали к носилкам. Продевают черные ленты матраса 1, которые вшиты в корпус матраса 1 с нижней стороны и продеты через отверстия в поддоне 2, через отверстия в ножках носилок и застегивают их с обратной стороны носилок с головного и ножного концов и посередине. Плотно затягивают стропы для фиксации матраса 1 к носилкам. Равномерно расправляют внутреннее содержимое матраса 1. Укладывают травмированного пациента на матрас 1. Аккуратно фиксируют шейный и грудной отдел пораженного надплечными (крест накрест) и грудной стропами 18, которые вшиты в корпус вакуумного матраса. Последовательно фиксируют тазовый, бедренный отделы и область голени с помощью самого матраса. Подтягивают и расправляют область матраса 1 для фиксации стоп. Фиксируют стопы пораженного торцевыми стропами 18 крест накрест. Плотно затягивают стропы 18. Накладывают на головной конец матраса 1 ленту в области лба и прикрепляют ее для устранения подвижности головы пораженного при транспортировке. Для придания большей жесткости носилкам в зоне спины стропы 3 возможно перекрестить в области 3а под поддоном 2, как показано на фиг.1. Подсоединяют вакуумный насос 6 к патрубку 5 матраса 1. Откачивают воздух из матраса 1 для создания необходимой степени фиксации. Проверяют полноту и адекватность иммобилизации пораженного. Отсоединяют вакуумный насос 6 от патрубка 5. После каждого применения поверхность вакуумного матраса должна подвергаться соответствующей санитарной обработке. Применение шин 8-12 аналогично применению матраса. На фиг.6 и 7 показаны примеры использования вакуумного матраса. Фиксирующие ремни-стропы 18 использованы для большей надежности.

[28]

Примеры использования вакуумного матраса и шин

[29]

Пациента О., возраст 39 лет, вес 86 кг, рост 176 см, например, тяжело пострадавшего в автомобильной аварии (ДТП в виде лобового столкновения двух автотранспортных средств), после аккуратного извлечения из деформированного легкового автомобиля помещают на горизонтальной поверхности заранее разложенного на земле (или иной поверхности, например, на асфальтовом покрытии шоссе) устройства, фактически на поверхности защитного съемного чехла, который вмещает в себя воздухонепроницаемую гибкую камеру и фиксирующие элементы воздухонепроницаемой гибкой камеры. При этом пациента до иммобилизации размещают так, чтобы поврежденный участок его тела находился напротив, по меньшей мере, одного из фиксирующих элементов воздухонепроницаемой гибкой камеры. Затем накладывают этот фиксирующий элемент (или необходимую их группу) поверх поврежденного участка тела тяжело пострадавшего пациента.

[30]

Посредством последовательного плавного возвратно-поступательного перемещения (с частотой от 30 до 45 раз в минуту) ручки перемещения поршня механического насоса приводят в действие побудитель вакуумирования, так что воздух из воздухонепроницаемой гибкой камеры механически удаляется в атмосферу и в воздухонепроницаемой гибкой камере создается разрежение порядка 0,7 атм. Запорным вентилем, размещенным в патрубке, фиксируется это разреженное состояние. Благодаря произведенному разрежению воздуха происходит двухстороннее сжатие статическим давлением внешней атмосферы поверхности конструкции (состоящей из воздухонепроницаемой гибкой камеры и фиксирующего элемента) и наступает надежная фиксация (так называемое "псевдоомоноличивание") теплоизолирующих гранул с оболочкой между собой и с внутренней поверхностью как воздухонепроницаемой гибкой камеры, так и с внутренней поверхностью всех наличествующих в устройстве фиксирующих элементов воздухонепроницаемой гибкой камеры. Соответственно этому происходит иммобилизация пациента. Страховка достигнутого состояния "псевдоомоноличивания" производится ремнями крепления, скрепляемыми между собой благодаря фиксаторам ремней крепления.

[31]

Усилиями оперативного персонала оказания неотложной помощи, физически реализуемыми в данном случае посредством ручек для переноса, иммобилизованный пациент помещается в транспортное средство для перевозки в стационарное медицинское учреждение. Перевозящее иммобилизованного пациента транспортное средство перемещается со средней скоростью около 100 км/ч, и на криволинейных участках дороги (шоссе) и ее неровностях различные участки тела тяжело травмированного пациента подвергаются различным по модулю и углу ускорениям, обусловленным воздействием на них инерционных сил. Но ввиду жесткой фиксации травмированных участков тела иммобилизованного пациента не происходит абсолютно никакого смещения поврежденных костей скелета относительно друг друга, равно как и смещения в тканях его тела появившихся в результате травмы обломков и сколов упомянутых костей. По прибытии в указанное лечебное учреждение иммобилизованный пациент перемещается вместе с устройством силами специализированных сотрудников этого учреждения в медкабинет по показаниям к лечению, где запорным вентилем, размещенным в патрубке, инициируют освобождение от фиксации разрежения обратный клапан. Затем отсоединяют побудитель вакуумирования от патрубка с запорным вентилем. Происходит естественное наполнение воздухом атмосферы внутренних полостей воздухонепроницаемой гибкой камеры и таких же внутренних полостей фиксирующих элементов воздухонепроницаемой гибкой камеры. Состояние "псевдоомоноличивания" теплоизолирующих гранул с оболочкой разрушается. Последнее имеет результат, состоящий в возможности освобождения тела ранее иммобилизованного пациента от фиксирующих элементов воздухонепроницаемой гибкой камеры. Далее разъединяют стропы крепления и пострадавший пациент готов для продолжения оперативного лечения по поводу полученных им в автомобильной аварии тяжелых, но совместимых с жизнью травм.

Как компенсировать расходы
на инновационную разработку
Похожие патенты