патент
№ RU 236137
МПК A61J1/00

Емкость-контейнер для дезинфекции, предстерилизационной очистки и химической стерилизации медицинских изделий

Авторы:
Чайко Екатерина Сергеевна (BY)
Номер заявки
2024129183
Дата подачи заявки
30.09.2024
Опубликовано
28.07.2025
Страна
RU
Дата приоритета
15.12.2025
Номер приоритета
Страна приоритета
Как управлять
интеллектуальной собственностью
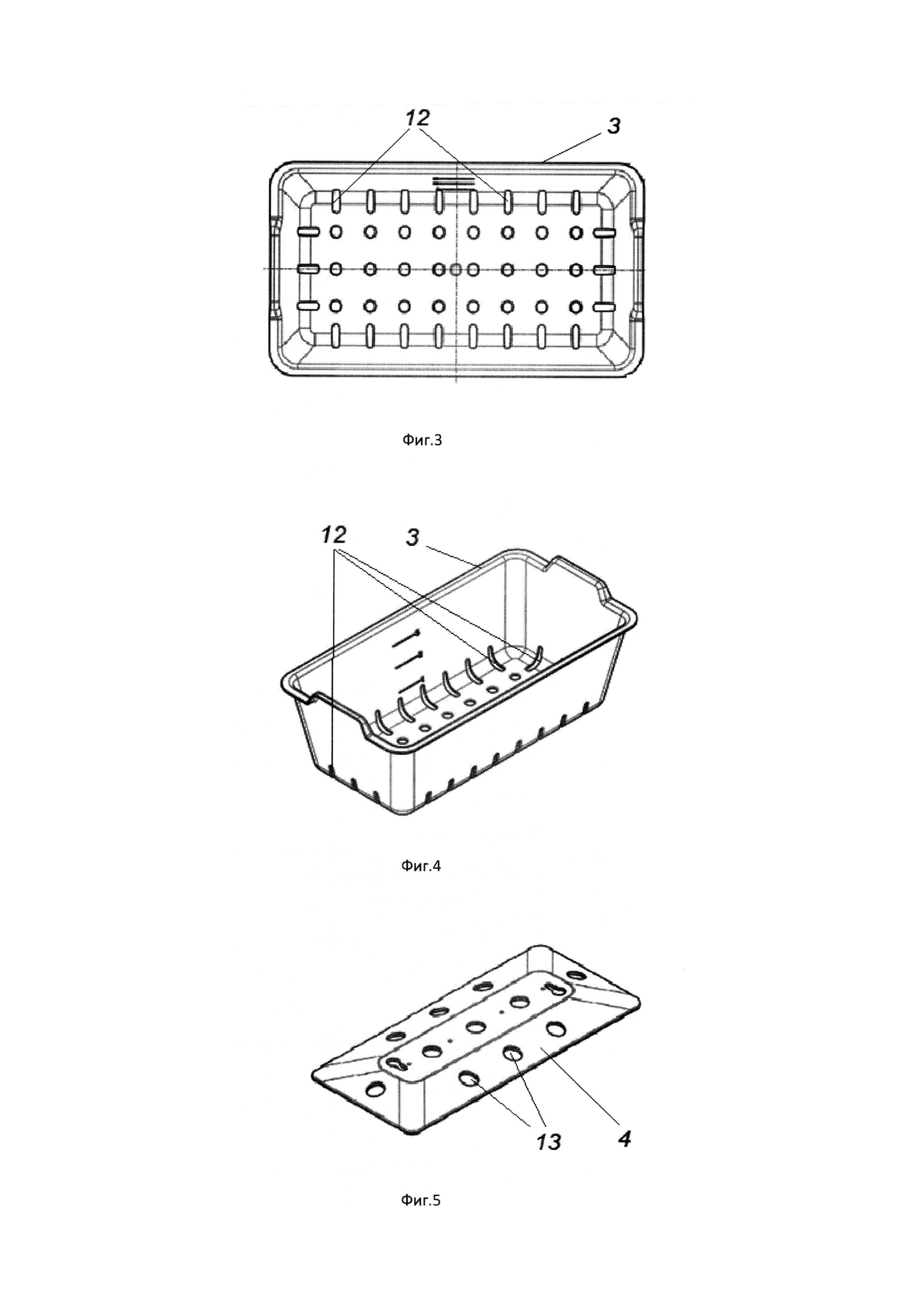
Чертежи 
2
Реферат

[65]

Полезная модель относится к емкостям-контейнерам полимерным для дезинфекции, предстерилизационной очистки и химической стерилизации изделий медицинского назначения, перевязочных материалов, медицинских инструментов и оборудования в рабочих растворах дезинфектантов. Емкость-контейнер включает корпус (1), съемную крышку (2), поддон (3), расположенный в корпусе, прижимное устройство (4), расположенное внутри поддона и соединенное с ручкой (5), расположенной над крышкой (2) с возможностью вертикального перемещения относительно поддона (3), элементы (6) взаимной фиксации крышки и корпуса. Ручка (5) выполнена с охватом сверху зазоров (8) между стержнями (7), удерживающими ручку (5), и крышкой в зоне отверстий (9) для стержней, причем ручка расположена над крышкой заподлицо с ее верхней поверхностью, которая выполнена с выемками (10), размещенными ортогонально соответствующим по форме выступам-ножкам (11) на дне корпуса для исключения горизонтальных смещений при вертикальном взаимном расположении нескольких контейнеров. Поддон (3) выполнен с отверстиями (12) протяженно-овальной формы, обеспечивающей расположение отверстий с переходом из области дна поддона на его боковую поверхность. Прижимное устройство (4) также содержит отверстия (13) по всей площади прижима (контакта) с обрабатываемыми изделиями медицинского назначения.

Формула изобретения

1. Емкость-контейнер для дезинфекции, предстерилизационной очистки и химической стерилизации медицинских изделий, содержащая корпус, съемную крышку, поддон, расположенный в корпусе, прижимное устройство, расположенное внутри поддона и соединенное с ручкой, расположенной над крышкой с возможностью вертикального перемещения относительно поддона, элементы взаимной фиксации крышки и корпуса, отличающаяся тем, что ручка выполнена с охватом сверху зазоров между стержнями, удерживающими ручку, и крышкой в зоне отверстий для стержней, ручка расположена над крышкой заподлицо с ее верхней поверхностью, которая выполнена с выемками, размещенными ортогонально соответствующим по форме выступам-ножкам на дне корпуса для исключения горизонтальных смещений при вертикальном взаимном расположении контейнеров, при этом поддон выполнен с отверстиями протяженно-овальной формы, обеспечивающей расположение отверстий с переходом из области дна поддона на его боковую поверхность, а прижимное устройство содержит отверстия по всей площади поверхности, выполненной для прижима к обрабатываемым изделиям медицинского назначения.

2. Емкость-контейнер по п. 1, отличающаяся тем, что корпус и компоненты емкости-контейнера выполнены из химически стойкого полимерного материала и имеют геометрическую форму со скругленными углами и сглаженными ребрами жесткости с раширением корпуса кверху, обеспечивающую возможность вложения одних в другие для удобной транспортровки в нерабочем состоянии.

3. Емкость-контейнер по п. 1, отличающаяся тем, что корпус емкости-контейнера содержит шкалу, индицирующую степень его заполнения рабочим раствором, градуированную как для емкости-контейнера с помещенным в него поддоном, так и для емкости-контейнера без поддона.

4. Емкость-контейнер по п. 1, отличающаяся тем, что верхний край корпуса емкости-контейнера выполнен с отбортовкой с канавкой, совпадающей по форме с внешним контуром крышки.

5. Емкость-контейнер по п. 1, отличающаяся тем, что элементы взаимной фиксации крышки и корпуса размещены на внешнем контуре крышки и выполнены с возможностью фиксирующего перемещения сверху - от крышки - вниз к отбортовке корпуса с защелкиванием в ее канавке.

6. Емкость-контейнер по п. 1, отличающаяся тем, что соотношение величины поперечного сечения стержней, удерживающих ручку, и диаметра отверстий для стержней в крышке обеспечивает величину зазора, предусматривающую возникновение силы трения в зоне контакта стержней и стенок отверстий с целью предотвращения произвольного всплытия прижимного устройства под воздействием не тонущих в растворе помещенных в поддон обрабатываемых предметов.

Описание

[1]

Полезная модель относится к емкостям-контейнерам полимерным для дезинфекции, предстерилизационной очистки и химической стерилизации изделий медицинского назначения, перевязочных материалов, медицинских инструментов и оборудования в рабочих растворах дезинфектантов.

[2]

Известна камера для дезинфекции и стерилизации медицинского инструмента [1], содержащая корпус с крышкой и перфорированный поддон, поддон снабжен ручками для его опускания и подъема, корпус и поддон выполнены в форме усеченной пирамиды с прямоугольным или округлым основанием, а на коротких боковых стенках поддона размещены снаружи упоры в виде вертикальных ребер и пластинчатые ручки. Известная камера из-за технологической невозможности обеспечения плотного контакта между боковой поверхностью корпуса камеры и крышкой не обеспечивает надежной защиты медицинского персонала от ингаляционного контакта с вредными для здоровья человека дезинфицирующими растворами.

[3]

Известен контейнер [2], включающий емкость с цилиндрическим горлом, на котором выполнена резьба, и средство для защиты от контакта с утилизируемыми медицинскими инструментами и принадлежностями, при этом средство для защиты от контакта с утилизируемыми медицинскими инструментами и принадлежностями выполнено в виде полого цилиндра с внутренней резьбой для взаимодействия с резьбой емкости, края верхнего торца цилиндра соединены диаметрально расположенной планкой с образованием двух сегментов, планка снабжена двумя крышками для закрывания первого и второго сегментов, причем первый сегмент выполнен в виде сквозного отверстия, а второй сегмент выполнен в виде пластины с перфорацией. Наличие средства для защиты от контакта с утилизируемыми медицинскими инструментами и принадлежностями исключает возможность для ингаляционного контакта с содержимым контейнера медицинского, однако при этом появляются дополнительные неудобства при использовании полого цилиндра с внутренней резьбой при его взаимодействии с резьбой емкости, а также из-за усложненной конструкции с двумя крышками для закрывания первого и второго сегментов.

[4]

Известен также контейнер [3], содержащий емкость, съемную крышку, полую цилиндрическую вставку, соединенную с крышкой и снабженную внутренней перегородкой, перекрывающей часть ее сквозной полости, и заглушку, установленную внутри цилиндрической вставки над перегородкой и снабженную средством для открывания. При этом в стенке цилиндрической вставки выполнены сквозные прорези, одна из которых расположена над внутренней перегородкой, а другая - над сквозной полостью цилиндрической вставки, а на боковых сторонах заглушки выполнены приливы с возможностью их фиксации в сквозных прорезях. Сквозная прорезь, расположенная над внутренней перегородкой, снабжена дополнительной сквозной выборкой, размещенной над прорезью и соединенной с ней.

[5]

Недостатком указанных известных конструкций является отсутствие прижимного устройства, обеспечивающее прижим медицинских отходов, не позволяющий им всплывать в процессе нейтрализации вредных веществ.

[6]

Известен контейнер медицинский [4], состоящий из ванны, решета с отверстиями в дне, гнета и крышки, который выполнен в виде прямоугольного параллелепипеда со скругленными углами и сглаженными ребрами жесткости, причем в конструкции ванны контейнера медицинского предусмотрен непрерывный посадочный поясок для установки крышки контейнера, сама крышка контейнера выполнена в виде сплошной конструкции с двумя углублениями для ее подъема, размещенными параллельно длинным стенкам контейнера медицинского. Недостатком известного контейнера является раздельное использование гнета и крышки контейнера ввиду отсутствия связи между ними. Соответственно, воздействие на гнет (прижимное устройство) возможно при временно снятой крышке контейнера, что не исключает ингаляционного контакта с вредными для здоровья человека дезинфицирующими растворами и приводит к неудобствам при использовании контейнера.

[7]

Наиболее близким по совокупности существенных признаков является контейнер для сбора медицинских отходов [5], включающий корпус, съемную крышку, элементы взаимной фиксации крышки и корпуса, полую вставку, расположенную в корпусе, снабженный прижимным устройством, расположенным внутри полой вставки, и соединенным с ручкой, расположенной над крышкой, с возможностью вертикального перемещения относительно вставки. Когда в процессе использования контейнер заполняется соответствующим раствором, при помощи ручки, свободно перемещающейся вверх и вниз по отверстиям, выполненным в крышке, происходит прижим инструмента, не позволяющий ему всплывать над поверхностью раствора, то есть происходит полное погружение инструмента в раствор.

[8]

Однако устройство по прототипу имеет следующие недостатки: Ручка, расположенная над крышкой, значительно выступает над ее поверхностью, при этом зазоры между стержнями, удерживающими ручку, и крышкой в зоне отверстий для стержней остаются открытыми для проникновения испарений от дезинфицирующих растворов из контейнера. Кроме того, выступание ручки сверху над крышкой ограничивает транспортировку и безопасное хранение нескольких контейнеров из-за невозможности их вертикального размещения одного над другим. Этому же недостатку - ограничению возможностей транспортировки нескольких вертикально составленных контейнеров - способствует также гладкая верхняя поверхность (отсутствие выемок для ножек на корпусе контейнера, располагаемого сверху) на крышке контейнера по прототипу. Элементы фиксации крышки контейнера выполнены неэргономично - неудобны в использовании, т.к. необходимо совмещать прорези на приливах корпуса с выступами на приливах крышки контейнера и дополнительно воздействовать на элементы фиксации.

[9]

В контейнере по прототипу прижимное устройство, расположенное внутри полой вставки (поддона), выполнено без отверстий, что затрудняет погружение - извлечение прижимного устройства в рабочий раствор (замедляет из-за его сопротивления).

[10]

Отверстия в полой вставке контейнера по прототипу выполнены только в области ее дна и не затрагивают боковые поверхности, что также затрудняет погружение - извлечение полой вставки в рабочий раствор (замедляет из-за его сопротивления).

[11]

Задача полезной модели по отношению к вышеописанному контейнеру медицинскому [5] – улучшение надежности защиты персонала от вредного для здоровья человека ингаляционного контакта с дезинфицирующим раствором.

[12]

На решение указанной задачи направлено достижение технических целей, заключающихся в устранении указанных выше недостатков прототипа.

[13]

Для достижения технических целей в соответствии с указанной задачей заявляется емкость-контейнер для дезинфекции, предстерилизационной очистки и химической стерилизации медицинских изделий, включающая корпус (1), съемную крышку (2), поддон (3), расположенный в корпусе, прижимное устройство (4), расположенное внутри поддона и соединенное с ручкой (5), расположенной над крышкой (2) с возможностью вертикального перемещения относительно поддона (3), элементы (6) взаимной фиксации крышки и корпуса, отличия которого в соответствии с полезной моделью в том, что ручка выполнена с охватом сверху зазоров (8) между стержнями (7), удерживающими ручку (5), и крышкой в зоне отверстий (9) для стержней, ручка расположена над крышкой заподлицо с ее верхней поверхностью, которая выполнена с выемками (10), размещенными ортогонально соответствующим по форме выступам-ножкам (11) на дне корпуса для исключения горизонтальных смещений при вертикальном взаимном расположении нескольких емкостей-контейнеров, поддон (3) выполнен с отверстиями (12) протяженно-овальной формы, обеспечивающей расположение отверстий с переходом из области дна поддона на его боковую поверхность, прижимное устройство (4) также содержит отверстия (13) по всей площади прижима (контакта) с обрабатываемыми изделиями медицинского назначения. (Фиг. 1) Корпус и компоненты емкости-контейнера выполнены из химически стойкого полимерного материала и имеют геометрическую форму со скругленными углами и сглаженными ребрами жесткости с расширением корпуса кверху, обеспечивающую возможность вложения одних в другие для удобной транспортировки в нерабочем состоянии.

[14]

Корпус емкости-контейнера содержит шкалу, индицирующую степень его заполнения рабочим раствором, градуированную как для емкости-контейнера с помещенным в него поддоном, так и для емкости-контейнера без поддона.

[15]

Верхний край корпуса емкости-контейнера выполнен с отбортовкой (14) с канавкой, совпадающей по форме с внешним контуром крышки. Элементы (6) взаимной фиксации крышки и корпуса размещены на внешнем контуре крышки и выполнены с возможностью фиксирующего перемещения сверху - от крышки - вниз к отбортовке корпуса с защелкиванием в ее канавке.

[16]

Соотношение величины поперечного сечения стержней (7), удерживающих ручку (5), и диаметра отверстий (9) для стержней (7) в крышке (2) обеспечивает величину зазора (8), предусматривающую возникновение силы трения в зоне контакта стержней (7) и стенок отверстий (9) с целью предотвращения произвольного всплытия (подъема) прижимного устройства под воздействием не тонущих в растворе помещенных в поддон обрабатываемых предметов.

[17]

Сущность полезной модели поясняется чертежами.

[18]

Фиг 1 - емкость-контейнер для дезинфекции, предстерилизационной очистки и химической стерилизации медицинских изделий, общий вид.

[19]

Фиг. 2 - емкость-контейнер для дезинфекции, предстерилизационной очистки и химической стерилизации медицинских изделий, вид сверху.

[20]

Фиг. 3 - емкость-контейнер для дезинфекции, предстерилизационной очистки и химической стерилизации медицинских изделий со снятой крышкой, вид сверху на поддон, помещенный в корпус.

[21]

Фиг. 4 - поддон, общий вид.

[22]

Фиг. 5 - прижимное устройство.

[23]

Емкость-контейнер для дезинфекции, предстерилизационной очистки и химической стерилизации медицинских изделий содержит корпус 1, съемную крышку 2, поддон 3, располагаемый в корпусе, прижимное устройство 4, располагаемое внутри поддона и связанное с ручкой 5, расположенной над крышкой 2 с возможностью вертикального перемещения относительно поддона 3, элементы 6 взаимной фиксации крышки и корпуса (фиг. 1). Для индикации с целью контроля степени заполнения рабочим раствором корпус емкости-контейнера содержит две шкалы: одну, градуированную для емкости-контейнера с помещенным в него поддоном, и вторую - для емкости-контейнера с извлеченным из нее поддоном.

[24]

Обе шкалы могут иметь любой из удобных для пользования ими вид и на чертежах не показаны.

[25]

Верхний край корпуса 1 и крышка 2 содержат элементы 6 взаимной фиксации крышки и корпуса, которые размещены на внешнем контуре крышки и выполнены с возможностью фиксирующего перемещения сверху - от крышки - вниз к верхнему краю корпуса с защелкиванием, как показано на фиг. 1, 2.

[26]

Внешний контур верхнего края корпуса совпадает по форме с внешним контуром крышки (фиг. 2) и выполнен с возможностью плотного прилегания крышки к верхнему краю корпуса при фиксирующем защелкивании элементов 6.

[27]

Ручка 5 удерживается над поверхностью крышки 2 стержнями 7, пронизывающими с зазорами 8 крышку 2 через отверстия 9. При этом ручка 5 выполнена с уширениями на концах, обеспечивающими накрывающий охват сверху зазоров 8 между стержнями 7, удерживающими ручку 5, и крышкой в зоне отверстий 9, предусмотренных на поверхности крышки для вертикального перемещения стержней 7, как показано на фиг. 2. Между этими отверстиями 9 на крышке 2 выполнено углубление для размещения ручки 5 заподлицо с верхней поверхностью крышки в рабочем положении.

[28]

Накрывающий охват ручкой 5 зазоров 8 предотвращает выход испарений рабочего раствора из емкости-контейнера.

[29]

Крышка 2 имеет выемки 10, размещенные ортогонально соответствующим по форме выступам-ножкам 11 на дне корпуса для исключения горизонтальных смещений при вертикальном взаимном расположении нескольких контейнеров (см. фиг. 1, 2).

[30]

Внутри корпуса 1 расположен поддон 3, который соответствует по форме корпусу 1 и выполнен с перфорированным отверстиями дном, как показано на фигурах 3, 4). Верхний край поддона выполнен с плечиками на двух противолежащих сторонах (видно на фиг. 4, но ссылкой на чертежах не обозначены). Плечики играют роль ручек для поддона и предназначены для его выемки / вставки из /в корпус 1.

[31]

Прижимное устройство 4 (фиг. 5), расположенное внутри поддона 3, связано с ручкой 5 при помощи соединительных стержней 7, которые проходят сквозь отверстия 9 крышки 2 с возможностью вертикального перемещения как ручки, так и прижимного устройства.

[32]

При изготовлении изделия обеспечивают соотношение величины поперечного сечения стержней 7 и диаметра отверстий 9 для стержней 7 в крышке 2 таким образом, чтобы достигалась величина зазора 8, предусматривающая возникновение силы трения в зоне контакта стержней 7 и стенок отверстий 9 с целью предотвращения произвольного всплытия (подъема) прижимного устройства под воздействием не тонущих в растворе помещенных в поддон обрабатываемых предметов.

[33]

За счет оптимизированных зазоров 8 между стержнями 7 ручки и ответными отверстиями 9 в крышке достигается фиксированный прижим прижимного устройства 4 к обрабатываемым изделиям, что исключает возможность всплытия легких предметов и последующее выталкивание прижимного устройства на поверхность рабочего раствора, легкие предметы гарантированно полностью погружены в рабочий раствор.

[34]

Поддон 3 содержит не только отверстия, перфорирующие дно поддона, но также и отверстия 12 протяженно-овальной формы, расположенные с переходом из области дна поддона на его боковую поверхность (фиг. 3, 4).

[35]

Дополнение перфорации поддона 3 отверстиями 12 протяженно-овальной формы, переходящими из области дна поддона на его боковую поверхность, способствует облегчению процесса погружения - извлечения поддона из / в рабочий раствор, так как снижает сопротивление массы раствора. Прижимное устройство 4 также содержит отверстия 13, распределенные по всей площади прижима (контакта) с обрабатываемыми изделиями медицинского назначения (см. фиг. 5).

[36]

Кроме упомянутых отверстий 13 по краям верхней поверхности прижимного устройства 4 имеются два технологических отверстия с переменным диаметром (на фиг. 1, 5 показаны, но не обозначены указателем) для фиксации в них концов стержней 7, что позволяет при воздействии на ручку 5 вертикально перемещать (опускать или поднимать) как ручку, так и прижимное устройство 4 внутри поддона в закрытом крышкой 2 корпусе.

[37]

При обработке легких (полых) изделий воздействием на ручку 5 опускают прижимное устройство 4 внутри поддона, и обеспечивается полное погружение обрабатываемых изделий в раствор.

[38]

Дополнение прижимного устройства 4 отверстиями 13 способствует облегчению процесса погружения - извлечения прижимного устройства из/в рабочий раствор, так как снижает сопротивление массы раствора. Верхний край корпуса емкости-контейнера выполнен с отбортовкой 14, направленной наружу, совпадающей по форме с внешним контуром крышки (фиг. 1, 2).

[39]

В частном варианте реализации отбортовка 14 может иметь канавку, в которую помещается внешний контур крышки при защелкивании элементов 6 взаимной фиксации.

[40]

Элементы 6 взаимной фиксации крышки и корпуса, которые размещены на внешнем контуре крышки, выполнены с возможностью фиксирующего перемещения сверху - от крышки - вниз к отбортовке 14 корпуса с защелкиванием в ее канавке (на фиг. не обозначена).

[41]

Данный способ фиксирования крышки на корпусе, обеспеченный лишь одним движением за счет перемещения сверху - от крышки - вниз к отбортовке 14 корпуса, обеспечивает улучшение эргономических характеристик емкости-контейнера.

[42]

Корпус 1 и остальные компоненты емкости-контейнера выполнены из химически стойкого полимерного материала и предпочтительно имеют геометрическую форму параллелепипеда со скругленными углами и сглаженными ребрами жесткости с расширением корпуса кверху, обеспечивающую возможность вложения одних корпусов в другие для удобной транспортировки в нерабочем состоянии.

[43]

Выполнение корпуса со скругленными углами и сглаженными ребрами жесткости упрощает его очистку после обработки изделий медицинского назначения, при этом корпус и, соответственно поддон, могут иметь любую геометрическую форму в виде чаши с расширением кверху с целью обеспечения возможности помещения нескольких корпусов и/или поддонов один в другой при транспортировке. При этом достигается улучшение эксплуатационных качеств емкости-контейнера медицинского. Остальные компоненты емкости-контейнера также выполнены из химически стойкого полимерного материала.

[44]

В качестве материала изготовления могут быть применены полистирол или полиэтилен, или полипропилен, или АБС-пластик, или другие индифферентные к моющим и дезинфицирующим растворам материалы.

[45]

Корпус 1 емкости-контейнера является основной частью, выполняющей функцию ванны, в которую заливается рабочий раствор дезинфектантов.

[46]

Общий объем корпуса - предпочтительно 4,3 литра (±10%), рабочий объем - 3 литра (±10%). На внутренней части корпуса нанесена шкала объема с цифровыми обозначениями 1, 2, 3 л без учета перфорированного поддона.

[47]

Упомянутая выше конструкция крышки 2 и корпуса 1 изделия обеспечивает плотное прилегание крышки к корпусу, причем верхний край корпуса емкости-контейнера выполнен с отбортовкой 14, направленной наружу, тем самым достигается повышение безопасности персонала при работе с дезинфицирующим раствором.

[48]

Ручка 5 емкости-контейнера имеет галтели (уширения) на обоих концах, которые обеспечивают накрывающий охват сверху зазоров 8 между стержнями 7, удерживающими ручку 5, и крышкой в зоне отверстий 9. Кроме того, стержни 7 плотно прилегают к контуру отверстий 9 в крышке 2 за счет специально подобранных зазоров 8, величина которых обеспечивает наличие трения между стержнями 7 ручки и контуром отверстий 9 для упомянутых стержней. За счет упомянутых средств снижается возможность испарения химического раствора через отверстия в крышке и достигается улучшение надежности защиты персонала от вредного для здоровья человека ингаляционного контакта с дезинфицирующими растворами. На дне корпуса расположены выступы 11 - «ножки» для устойчивого расположения емкости-контейнера на горизонтальной поверхности. При расположении нескольких поддонов друг над другом в вертикальной стопке ножки выше расположенного емкости-контейнера помещаются в соответствующие выемки 10 ниже расположенного изделия, которые выполнены напротив (ортогонально) соответствующих по форме выступов 11 - на дне корпуса для исключения горизонтальных смещений при вертикальном взаимном расположении нескольких емкостей-контейнеров, что повышает безопасность при их транспортировке, обеспечивает снижение затрат на логистику при производстве.

[49]

Перфорированный поддон 3 является рабочей емкостью, в которую помещаются обрабатываемые медицинские изделия и затем погружаются, находясь в поддоне в рабочий раствор, заполняющий емкость корпуса.

[50]

На внутренней части перфорированного поддона имеется шкала для индикации заполнения с предпочтительной градуировкой 1, 2, 3 л с учетом объема этого поддона.

[51]

Порядок работы с емкостями-контейнерами осуществляется в следующей последовательности:

[52]

- заполняют раствором для обработки медицинских изделий корпус со вставленным перфорированным поддоном до рабочего объема;

[53]

- размещают в перфорированном поддоне обрабатываемые медицинские изделия с учетом требований к этим изделиям, предусмотренных в действующих нормативных документах, и погружают в раствор в корпусе;

[54]

- закрывают корпус с поддоном крышкой, продевая стержни 7, удерживающие ручку 5, через отверстия 9 и фиксируют стержни в технологических отверстиях для фиксации стержней прижимного устройства 4;

[55]

- при наличии легких (полых) изделий они должны быть прижаты прижимным устройством 4 до их полного погружения в раствор;

[56]

после окончания экспозиции промывают медицинские изделия в перфорированном поддоне под проточной питьевой и (или) дистиллированной водой предпочтительно вне корпуса. Дополнение прижимного устройства 4 отверстиями 13 способствует облегчению процесса погружения - извлечения прижимного устройства из/в рабочий раствор, так как снижает сопротивление массы раствора.

[57]

Для облегчения и ускорения погружения поддона с медицинскими изделиями в раствор и при заполнении корпуса растворами в перфорированном поддоне выполнено достаточное для преодоления сопротивления толщи раствора количество отверстий - круглых в плоскости дна поддона и протяженно-овальной формы, переходящих из области дна поддона на его боковую поверхность. При этом материал изготовления поддона, толщина его стенок и форма (в частности, наличие ребер жесткости) выбраны таким образом, чтобы поддон обладал достаточной жесткостью.

[58]

Время слива раствора зависит от количества загруженного инструмента. После освобождения инструментов от раствора их необходимо промыть проточной питьевой и/или дистиллированной водой вне корпуса.

[59]

Источники информации

[60]

1. Патент RU 2929, МПК A61L 2/00, опубликован 16.10.1996.

[61]

2. Патент RU 127626, МПК A61J 1/00, B65F 1/00, опубликован 10.05.2013.

[62]

3. Патент RU 2438951, МПК B65F 1/00, опубликован 10.01.2012.

[63]

4. Патент BY U5768, МПК A61J 1/00, опубликован 30.12.2009.

[64]

5. Патент RU 136424, МПК B65F 1/04, опубликован 10.01.2014).

Как компенсировать расходы
на инновационную разработку
Похожие патенты