патент
№ RU 2349279
МПК A61B17/56

СПОСОБ ХИРУРГИЧЕСКОГО ЛЕЧЕНИЯ ЛОЖНЫХ СУСТАВОВ ТРУБЧАТЫХ КОСТЕЙ КОНЕЧНОСТЕЙ

Авторы:
Бабовников Алексей Валерьевич
Номер заявки
2007123027/14
Дата подачи заявки
20.06.2007
Опубликовано
20.03.2009
Страна
RU
Как управлять
интеллектуальной собственностью
Реферат

[46]

Изобретение относится к области медицины, а именно к травматологии и ортопедии, и может быть применено при лечении ложных суставов трубчатых костей конечностей. Осуществляют доступ к ложному суставу без мобилизации костных отломков и иссечения межотломковой рубцовой ткани с формированием только над надкостничного ложа для пластины. Производят краевую окончатую кортикотомию одного из отломков с отведением в сторону костно-надкостнично-мышечного лоскута. Через образованное окно в кости производят эндостальную декортикацию обоих отломков со вскрытием их костномозговых каналов. Образовавшуюся интрамедуллярную костную полость заполняют коллагенсодержащим материалом и костной стружкой из местных тканей. После репозиции отломков и кровоснабжаемого костного фрагмента производят накостный остеосинтез пластиной с ограниченным контактом или с угловой стабильностью. Перед ушиванием раны в область ложного сустава вводят в нерастворенном виде кристаллический химотрипсин для ферментной стимуляции остеогенеза. Способ позволяет восстанавливать целостность трубчатых костей при ложных суставах, повысить лечебный эффект со снижением травматичности и длительности оперативного вмешательства, сократить сроки реабилитации, снижает вероятность послеоперационных осложнений. 14 ил.

Формула изобретения

Способ хирургического лечения ложных суставов трубчатых костей конечностей, состоящий в применении композитных материалов, содержащих коллаген, отличающийся тем, что осуществляют хирургический доступ к ложному суставу, формируют ложе для пластины с резекцией избыточной периостальтной мозоли в этой области без мобилизации отломков, определяют щель ложного сустава, от которой производят краевую окончатую кортикотомию одного из отломков с формированием и смещением в сторону костно-надкостнично-мышечного лоскута, через образовавшееся окно производят эндостальную декортикацию обоих отломков на протяжении зоны их склероза со вскрытием костно-мозговых каналов, производят заполнение интрамедуллярного дефекта коллагенсодержащим материалом с добавлением костной стружки, полученной при эндостальной декортикации, отломки репонируют, кровоснабжаемый костный фрагмент возвращают на прежнее место и производят остеосинтез пластиной с ограниченным контактом или с угловой стабильностью, в область ложного сустава засыпают 40 мг кристаллического химотрипсина.

Описание

[2]

Изобретение относится к области медицины, а именно к травматологии и ортопедии, и может быть применено при лечении ложных суставов трубчатых костей конечностей.

[3]

Известен способ костно-пластического восстановления целости трубчатой кости при ложных суставах (см., например, В.Д.Чаклин. Костная пластика. М., 1971 г. - стр.9-17) в разных модификациях, получивший наиболее широкое распространение в клинической практике. Он основан на применении костной пластики в виде свободного перемещения кортикального, кортикально-губчатого или губчатого трансплантатов в область ложного сустава в сочетании с остеосинтезом.

[4]

Этот способ принят за базовый объект.

[5]

Однако отрицательными моментами данного способа является то, что:

[6]

во-первых, значительно увеличивается травматичность хирургического вмешательства, связанная с необходимостью забора трансплантата;

[7]

во-вторых, неизбежна скелетизация отломков, ухудшающая их кровоснабжение, из-за необходимости формирования ложа для трансплантата;

[8]

в-третьих, ограничено количество аутогенного костного пластического материала, возможного для забора без нанесения дополнительного функционально-косметического урона организму.

[9]

Известен способ пластического восстановления целости трубчатых костей при ложных суставах и костных дефектах, основанный на применении композитных материалов, содержащих коллаген и гидроксиапатит (см., например, Лазарев А.Ф., Кесян Г.А., Уразгильдеев Р.З., Челяпов В.Н. Применение гидроксиапатитсодержащего препарата при лечении сложных переломов длинных костей и их последствий. Тезисы докладов VII съезда травматологов-ортопедов России. Новосибирск, 2002 г. - т.2. - стр.82.).

[10]

При этом используется препарат в виде пластин в гранулированной и гелиевой формах, вводя его путем обкалывания фрагментов или заполнения им костных дефектов между отломками в процессе или после чрескостного, накостного или интрамедуллярного остеосинтеза. Это позволяет обеспечить восстановление целости кости и заместить костные дефекты. Существенными преимуществами указанного способа по сравнению с базовым является отсутствие необходимости расширения оперативного вмешательства для получения костно-пластического материала и возможность применения его в неограниченном количестве.

[11]

Этот способ принят за прототип.

[12]

Однако отрицательными моментами данного способа является то, что для обеспечения сращения ложного сустава требуется производить мобилизацию и резекцию склерозированных концов его отломков, а это приводит к усугублению нарушений микроциркуляции поврежденной кости и к увеличению укорочения сегмента конечности.

[13]

Хорошо известно, что одной из основных причин рецидивов ложных суставов при их лечении в условиях стабильного остеосинтеза являются развивающиеся нарушения кровоснабжения отломков. В то же время межотломковая рубцовая ткань, как было установлено в эксперименте (Schenk R., Willenegger H. Histologie der primaren Knochenheilung. // Langebecks Arch. Klin. Chir. - 1964. - Bd. 308. - S.440-452), не является препятствием для восстановления целости кости, поскольку она в процессе регенерации в условиях стабильного остеосинтеза и хорошего уровня кровоснабжения перестраивается в костную.

[14]

Решаемая задача - создание способа хирургического лечения ложных суставов трубчатых костей конечностей, исключающего их послеоперационное укорочение и максимально сохраняющего кровоснабжение отломков.

[15]

Цель изобретения: сокращение сроков лечения и реабилитации больных с ложными суставами трубчатых костей конечностей и снижение вероятности послеоперационных осложнений.

[16]

Достижение поставленной цели осуществляется за счет того, что мобилизацию костных отломков и иссечение межотломковых рубцовых тканей для сохранения их периостального кровоснабжения не производят, а для интрамедуллярного доступа к ложному суставу формируют и отводят в сторону окончатый костно-надкостнично-мышечный лоскут одного из отломков.

[17]

Технический результат состоит в том, что хирургический доступ к ложному суставу для накостного остеосинтеза осуществляют без разъединения и мобилизации отломков с формированием только над надкостничного ложа для пластины. По краю ложа пластины производят окончатую кортикотомию одного из отломков с отведением в сторону образовавшегося костно-надкостнично-мышечного лоскута. Через открывшееся окно выполняют эндостальную декортикацию в зоне ложного сустава на протяжении склерозированной части отломков со вскрытием их костномозговых каналов. Производят пластику образовавшегося интрамедуллярного костного дефекта костной стружкой, полученной при эндостальной декортикации, и композитными коллагенсодержащими материалами с ферментной стимуляцией остеогенеза кристаллическим химотрипсином. После репозиции отломков кровоснабжаемый костный лоскут возвращают на прежнее место и производят накостный остеосинтез пластиной с ограниченным контактом или с угловой стабильностью.

[18]

Сущность изобретения состоит в том, что мобилизацию костных отломков и иссечение межотломковых рубцовых тканей с целью сохранения кровоснабжения в зоне ложного сустава не производят, а для интрамедуллярного к нему доступа формируют и отводят в сторону окончатый костно-надкостнично-мышечный лоскут одного из отломков. После эндостальной декортикации и вскрытия костномозговых каналов производят композитную пластику образовавшегося интрамедуллярного костного дефекта материалами, обладающими остеоиндуктивными (костная стружка, полученная при эндостальной декортикации) и остеокондуктивными (коллаген) свойствами, в сочетании с ферментной стимуляцией остеогенеза кристаллическим химотрипсином. Отломки репонируют и осуществляют накостную фиксацию металлической пластиной.

[19]

Предлагаемый способ осуществляется следующим образом.

[20]

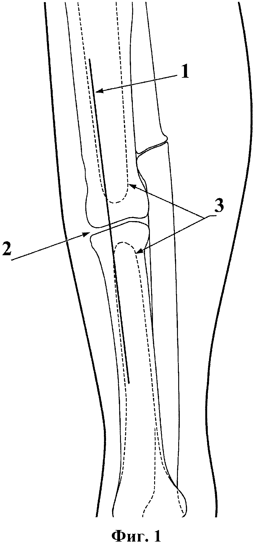
Под общим обезболиванием в асептических условиях линейным разрезом (1) осуществляют стандартный при накостном остеосинтезе для соответствующего сегмента трубчатой кости хирургический доступ к ее ложному суставу (2) с облитерированным костномозговым каналом (3) (фиг.1).

[21]

После рассечения фасции и мышц над надкостнично параллельно длинной оси трубчатой кости формируют только ложе для пластины (4) без мобилизации отломков (фиг.2).

[22]

В случае наличия деформированной или сломанной накостной пластины ее удаляют, а ее ложе очищают от избыточных грануляций также без мобилизации отломков.

[23]

Остеотомом в пределах узкой области подготовленного под пластину ложа резецируют избыточную периостальную костную мозоль (5) (фиг.2) для выравнивания плоскости кости в этой зоне. Инъекционной иглой определяют щель ложного сустава (2) и, начиная от нее, по краю ложа для пластины намечают линию кортикотомии (6) одного из отломков (как правило, более длинного) (фиг.3).

[24]

По намеченной линии (6) (фиг.3) осцилляторной пилой производят краевую окончатую кортикотомию с формированием и смещением в сторону костно-надкостнично-мышечного лоскута (7) (фиг.4). Тщательное сохранение связей костного фрагмента с надкостницей и прилежащими тканями при выполнении кортикотомии направлено на обеспечение сохранности его кровоснабжения.

[25]

Через образовавшееся окно (8) узким желобоватым долотом производят эндостальную декортикацию обоих отломков на протяжении зоны их склероза со вскрытием костномозговых каналов (3) (фиг.4). В результате в области концов ложного сустава образуется интрамедуллярная костная полость, соединяющаяся с костномозговыми каналами отломков (9) (фиг.5). После завершения этого этапа появляется умеренная упругая подвижность отломков, позволяющая устранять их поперечное смещение в пределах кортикального слоя кости и угловую деформацию сегмента конечности.

[26]

Далее производят заполнение интрамедуллярного костного дефекта коллагенсодержащим материалом (например, коллост) (10) и костной стружкой (11), полученной при эндостальной декортикации (фиг.6). Отломки репонируют, кровоснабжаемый костный фрагмент (7) возвращают на прежнее место и производят остеосинтез пластиной (12) с ограниченным контактом или с угловой стабильностью (фиг.7). В область ложного сустава засыпают 40 мг кристаллического химотрипсина. Рану послойно ушивают.

[27]

Предложенный способ предназначен для лечения ложных суставов костей конечностей.

[28]

Его применение позволяет восстанавливать целостность трубчатых костей при ложных суставах, повысить лечебный эффект со снижением травматичности и длительности оперативного вмешательства, сократить сроки реабилитации.

[29]

Список иллюстраций

[30]

Фиг.1. Схема ложного сустава с проекционной линией хирургического доступа.

[31]

Фиг.2. Формирование ложа для пластины с ограниченной резекцией избыточной периостальной костной мозоли.

[32]

Фиг.3. Разметка линии краевой окончатой кортикотомии от зоны ложного сустава.

[33]

Фиг.4. Краевая окончатая кортикотомия отломка с отведением в сторону кровоснабжаемого костно-надкостнично-мышечного лоскута.

[34]

Фиг.5. Эндостальная декортикация отломков со вскрытием костномозговых каналов через окончатый доступ в проксимальном отломке.

[35]

Фиг.6. Пластика эндостального костного дефекта остеопластическим коллагеновым материалом и костной стружкой.

[36]

Фиг.7. Репозиция отломков с установкой кровоснабжаемого костного фрагмента на исходное место и накостный остеосинтез пластиной.

[37]

Фиг.8. Ложный сустав большеберцовой кости левой голени с переломом накостной металлоконструкции и миграцией винтов.

[38]

Фиг.9. Контрольная рентгенография после краевой кортикотомии, эндостальной декортикации, пластики интрамедуллярной полости коллостом и костной стружкой, накостного остеосинтеза пластиной со стимуляцией остеогенеза химотрипсином.

[39]

Фиг.10. Полная нагрузка на оперированную конечность к концу третьего месяца после операции по разработанному способу.

[40]

Фиг.11. Внешний вид укороченной функциональной полимерной повязки.

[41]

Фиг.12. Восстановление непрерывности большеберцовой кости через 3 месяца после операции.

[42]

Фиг.13. Опороспособность конечности через 3 месяца после операции.

[43]

Фиг.14. Функция смежных суставов оперированной конечности через 2 недели реабилитационного курса после снятия иммобилизирующей полимерной повязки.

[44]

В качестве примера приводим следующее клиническое наблюдение.

[45]

Больной Н., 55 лет, 23 июня 2005 года в результате бытовой травмы получил закрытый оскольчатый перелом обеих костей левой голени. Доставлен в городскую клиническую больницу г.Москвы, где был произведен остеосинтез большеберцовой кости левой голени пластиной АО с ограниченным контактом. Послеоперационный период протекал без осложнений. Проведено восстановительное лечение, включающее ходьбу с костылями с дозированной, постепенно увеличивающейся нагрузкой на оперированную конечность. Через 3 месяца после операции начал ходить с палочкой с полной нагрузкой на левую стопу. Однако при ходьбе отмечал умеренные боли в области перелома. Динамический рентгеноконтроль демонстрировал замедленную консолидацию перелома большеберцовой кости на фоне сросшегося перелома малоберцовой кости. В мае 2006 года боли в голени при ходьбе усилились. При контрольной рентгенографии обнаружен ложный сустав большеберцовой кости с переломом накостной металлоконструкции и миграцией винтов (фиг.8). 6 июня 2006 года под общим обезболиванием сломанная пластина была удалена с выполнением операции на ложном суставе по разработанному способу (фиг.9). После снятия швов и ликвидации отека произведена иммобилизация конечности укороченной циркулярной повязкой Scotchcast (до коленного сустава), и больной приступил к нагрузке в дозированном режиме. К концу 3-го месяца ходьба с полной нагрузкой без дополнительной опоры (фиг.10) в иммобилизирующей повязке (фиг.11), болей в голени нет, повязка снята, рентгенологически определяется сращение перелома большеберцовой кости (фиг.12). После проведения 2-х недельного реабилитационного курса функция конечности восстановлена в полном объеме (фиг.13, 14).

Как компенсировать расходы
на инновационную разработку
Похожие патенты