патент
№ RU 2348961
МПК G05D19/02

УСТРОЙСТВО ДЛЯ УПРАВЛЕНИЯ ЭЛЕКТРОМАГНИТНЫМИ ВИБРАТОРАМИ

Авторы:
Цурпал Сергей Владимирович
Номер заявки
2008102340/28
Дата подачи заявки
21.01.2008
Опубликовано
10.03.2009
Страна
RU
Как управлять
интеллектуальной собственностью
Реферат

[14]

Изобретение относится к устройствам управления и может быть использовано для управления амплитудой колебаний электромагнитных вибраторов. Устройство содержит последовательно соединенные электромагнитный вибратор с датчиком скорости рабочего органа, усилитель, дифференцирующее звено. К усилителю последовательно подсоединены блок интегрирования, выпрямитель, элемент сравнения, система импульсно-фазового управления, управляемый выпрямитель и мостовой инвертор. К блоку дифференцирования подключен пороговый элемент, связанный через драйверы с затворами двух транзисторов мостового инвертора, в котором последовательно соединены первый транзистор, первый диод, второй транзистор, второй диод, первый транзистор. Диагональ постоянного тока инвертора соединена с конденсатором и управляемым выпрямителем, а диагональ переменного тока соединена с электромагнитным вибратором. Технический результат заключается в реализации стабилизации амплитуды колебаний в резонансном режиме, более полном использовании реактивной мощности вибратора. 1 ил.

Формула изобретения

Устройство для управления электромагнитными вибраторами, содержащее последовательно соединенные электромагнитный вибратор с датчиком скорости рабочего органа, усилитель, дифференциальное звено, причем к усилителю последовательно подсоединены блок интегрирования, выпрямитель, элемент сравнения, система импульсно-фазового управления и управляемый выпрямитель и мостовой однополупериодный инвертор, отличающееся тем, что в качестве дифференцирующего звена выбран блок дифференцирования, к которому подключен пороговый элемент, связанный через драйверы с затворами двух транзисторов однополупериодного мостового инвертора, в котором последовательно соединены первый транзистор, первый диод, второй транзистор, второй диод, который соединен с первым транзистором, причем диагональ постоянного тока инвертора соединена с конденсатором и управляемым выпрямителем, а диагональ переменного тока соединена с электромагнитным вибратором.

Описание

[1]

Изобретение относится к автоматическому регулированию механических колебаний и может быть использовано для управления амплитудой колебаний электромагнитных вибраторов.

[2]

Известно устройство для регулирования амплитуды колебаний электромагнитного вибровозбудителя [авторское св-во СССР №1072013, МПК 5 G05D 19/02, опубл. 07.02.84, бюл. №5], содержащее последовательно соединенные датчик скорости рабочего органа вибровозбудителя, усилитель, трансформатор, диодный блок и однофазный мостовой инвертор, связанный с вибровозбудителем, а также два выпрямителя, последовательно соединенный элемент сравнения и формирователь импульсов переменной скважности, а также интегратор, вход которого подключен к выходу усилителя, а выход через первый выпрямитель - к входу элемента сравнения, выход формирователя импульсов переменной скважности соединен с входом второго выпрямителя, связанного выходом со вторым входом однофазного мостового инвертора.

[3]

Недостатком известного устройства является рассеивание энергии, накопленной индуктивностью вибратора за полупериод частоты колебаний. В большинстве случаев вибраторы требуют питающего напряжения однополупериодной формы, когда в течение первого полупериода ток протекает по обмоткам вибратора и рабочий орган притягивается, а в течение второго полупериода - отталкивается упругим элементом или под действием собственной массы. В этом случае в цепи вибратора ток, обусловленный накопленной энергией и ЭДС движения, будет протекать более чем полпериода, противодействуя движению рабочего органа в обратном направлении.

[4]

Задача изобретения - разработка устройства управления для стабилизации амплитуды колебаний в резонансном режиме, более полно использующего реактивную мощность электромагнитного вибратора.

[5]

Поставленная задача решена за счет того, что устройство для управления электромагнитными вибраторами, так же, как в прототипе, содержит последовательно соединенные электромагнитный вибратор с датчиком скорости рабочего органа, усилитель, дифференцирующее звено, причем к усилителю последовательно подсоединены блок интегрирования, выпрямитель, элемент сравнения, система импульсно-фазового управления, управляемый выпрямитель и мостовой однополупериодный инвертор.

[6]

Согласно изобретению в качестве дифференцирующего звена выбран блок дифференцирования, к которому подключен пороговый элемент, связанный через драйверы с затворами двух транзисторов однополупериодного мостового инвертора, в котором последовательно соединены первый транзистор, первый диод, второй транзистор, второй диод, который соединен с первым транзистором, причем диагональ постоянного тока инвертора соединена с конденсатором и управляемым выпрямителем, а диагональ переменного тока соединена с электромагнитным вибратором.

[7]

Благодаря дополнительному контуру протекания тока, обусловленному включением диодов в мостовой инвертор, реактивная мощность сбрасывается на конденсатор в диагонали постоянного тока мостового инвертора, а не рассеивается внутри электромагнитного вибратора.

[8]

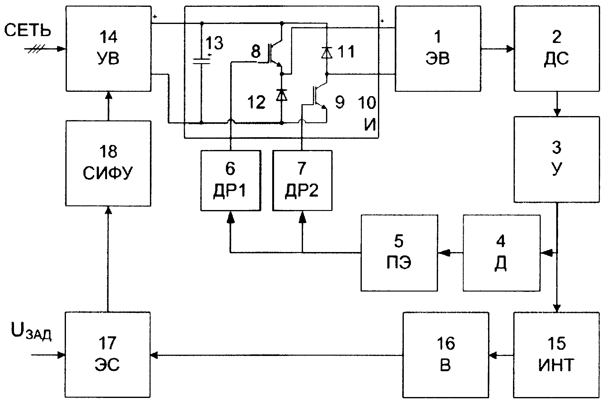
На чертеже представлена блок схема заявляемого устройства.

[9]

Устройство содержит электромагнитный вибратор 1 (ЭВ) с рабочим органом, на котором закреплен датчик скорости 2 (ДС), соединенный с усилителем 3 (У), к которому последовательно подключены блок дифференцирования 4 (Д) и пороговый элемент 5 (ПЭ). Пороговый элемент 5 (ПЭ) соединен с драйверами 6 (ДР1) и 7 (ДР2), которые в свою очередь соединены с затворами IGBT транзисторов 8, 9 однополупериодного мостового инвертора 10 (И). Мостовой инвертор 10 (И) состоит из последовательно соединенных первого IGBT транзистора 8, первого диода 11, второго IGBT транзистора 9 и второго диода 12, соединенного с первым IGBT транзистором 8. Диагональ постоянного тока инвертора 10 (И) соединена с конденсатором 13 и выходом управляемого выпрямителя 14 (УВ). Диагональ переменного тока мостового инвертора 10 (И) соединена с входом электромагнитного вибратора 1 (ЭВ). К усилителю 3 (У) также последовательно подключены блок интегрирования 15 (ИНТ), выпрямитель 16 (В), элемент сравнения 17 (ЭС), система импульсно- фазового управления 18 (СИФУ) и управляемый трехфазный выпрямитель 14(УВ).

[10]

В качестве датчика скорости 2 (ДС) может быть выбран электромагнитный датчик линейной скорости любой конструкции. Усилитель 3 (У), блок дифференцирования 4 (Д), пороговый элемент 5 (ПЭ) (компаратор), блок интегрирования 15 (ИНТ), элемент сравнения 17 (ЭС) (вычитание) могут быть выполнены на типовых схемах с операционным усилителем. В качестве драйверов 6 (ДР1), 7 (ДР2) могут быть использованы любые драйверы IGBT транзисторов. В качестве выпрямителя 16 (В) - мостовой выпрямитель со сглаживающим фильтром, а в качестве системы импульсно-фазового управления 18 (СИФУ) - система импульсно-фазового управления вертикального типа.

[11]

Устройство работает следующим образом. После включения устройства рабочий орган вибратора 1 (ЭВ) совершает колебательные движения с частотой собственных колебаний. На выходных зажимах датчика скорости 2 (ДС), усилителя 3 (У) и блока дифференцирования 4 (Д) появляются сигналы синусоидальной формы, частота которых равна частоте колебаний рабочего органа вибратора. Пороговый элемент 5 (ПЭ) преобразует синусоидальный сигнал в прямоугольные управляющие импульсы, положительное значение на входе преобразуется в логическую единицу, отрицательное - в ноль. Далее импульсы управления через драйверы 6,7 (ДР1, ДР2), поступают на транзисторы 8, 9 инвертора 10 (И). В течение единичного уровня на выходе порогового элемента 5 (ПЭ) IGBT транзисторы 8, 9 открыты, что приводит к протеканию тока через обмотку вибратора 1 (ЭВ) и притягиванию рабочего органа. В течение нулевого уровня - IGBT транзисторы закрыты, а реактивная энергия, накопленная в обмотке электромагнитного вибратора 1 (ЭВ), сбрасывается через диоды 11, 12 на конденсатор 13 инвертора 10 (И). Таким образом, реактивная мощность не рассеивается, а используется для формирования следующей полуволны колебаний. Чтобы спадающий в катушке электромагнитного вибратора 1 (ЭВ) ток не препятствовал движению рабочего органа в обратную сторону, опорный сигнал порогового элемента 5 (ПЭ) может быть установлен не нулевым, а небольшим положительным значением. Данная мера несколько уменьшит интервал открытого состояния транзисторов 8, 9 и предоставит дополнительное время для сброса реактивной мощности.

[12]

В то же время сигнал, пропорциональный скорости рабочего органа электромагнитного вибратора 1 (ЭВ), снимаемый с датчика скорости 2 (ДС), усиленный усилителем 3 (У) и проинтегрированный блоком интегрирования 15 (ИНТ), пропорционален колебаниям рабочего органа, а сигнал на выходе выпрямителя 16 (В) пропорционален амплитуде этих колебаний. Элемент сравнения 17 (ЭС) сравнивает этот сигнал с сигналом задания UЗАД и их разность подается в систему импульсно-фазового управления 18 (СИФУ). СИФУ преобразует постоянное во времени напряжение в импульсы прямоугольной формы, длительность которых зависит от величины входного напряжения. В зависимости от длительности выходных импульсов формирователя меняются углы отпирания тиристоров управляемого выпрямителя 14 (УВ) и тем самым меняются величины напряжений выпрямителя 14 (УВ) и инвертора 10 (И).

[13]

Таким образом, устройство управления осуществляет стабилизацию амплитуды колебаний электромагнитного вибратора в резонансном режиме работы.

Как компенсировать расходы
на инновационную разработку
Похожие патенты