патент
№ RU 2343626
МПК H03F3/343
Номер заявки
2007144697/09
Дата подачи заявки
30.11.2007
Опубликовано
10.01.2009
Страна
RU
Как управлять
интеллектуальной собственностью
Чертежи 
7
Реферат

[96]

Изобретение относится к области радиотехники и связи и может быть использовано в качестве функционального узла различных устройств усиления аналоговых сигналов, в структуре аналоговых микросхем различного функционального назначения (например, операционных усилителях (ОУ), компараторах). Токовое зеркало содержит входной транзистор (1), коллектор которого соединен со входом (2) токового зеркала и базой вспомогательного транзистора (3), база входного транзистора (1) связана с базой выходного транзистора (4), коллектор которого подключен к выходу (5) токового зеркала, причем эмиттер первого входного транзистора (1) соединен с коллектором вспомогательного транзистора (3) и эмиттером выходного транзистора (4). В схему введен первый 6 источник напряжения смещения, подключенный к объединенным базам входного (1) и выходного (4) транзисторов, эмиттер вспомогательного транзистора (3) связан с первой шиной источника питания (7), а объединенные эмиттеры входного (1) и выходного (4) транзисторов соединены со второй (8) шиной источника питания через первый дополнительный двухполюсник (9). Технический результат - повышение точности передачи по току. 2 з.п. ф-лы, 8 ил.

Формула изобретения

1. Токовое зеркало, содержащее входной транзистор (1), коллектор которого соединен со входом (2) токового зеркала и базой вспомогательного транзистора (3), база входного транзистора (1) связана с базой выходного транзистора (4), коллектор которого подключен к выходу (5) токового зеркала, причем эмиттер первого входного транзистора (1) соединен с коллектором вспомогательного транзистора (3) и эмиттером выходного транзистора (4), отличающееся тем, что в схему введен первый (6) источник напряжения смещения, подключенный к объединенным базам входного (1) и выходного (4) транзисторов, эмиттер вспомогательного транзистора (3) связан с первой шиной источника питания (7), а объединенные эмиттеры входного (1) и выходного (4) транзисторов соединены со второй (8) шиной источника питания через первый дополнительный двухполюсник (9) (фиг.2).

2. Токовое зеркало по п.1, отличающееся тем, что эмиттер вспомогательного транзистора (3) связан с первой (7) шиной источника питания через второй (12) источник напряжения смещения (фиг.3).

3. Токовое зеркало по п.1, отличающееся тем, что в качестве второго (12) источника напряжения смещения используется дополнительный повторитель напряжения (13), вход которого соединен с выходом (5) токового зеркала, а выход (14) подключен к эмиттеру вспомогательного транзистора (3).

Описание

[1]

Изобретение относится к области радиотехники и связи и может быть использовано в качестве функционального узла различных устройств усиления аналоговых сигналов, в структуре аналоговых микросхем различного функционального назначения (например, операционных усилителях (ОУ), компараторах).

[2]

Основой большинства современных операционных усилителей, стабилизаторов напряжения, компараторов являются так называемые «токовые зеркала» (повторители тока) [1-56]. В патентной литературе эти устройства с одним и тем же функциональным назначением присутствуют в классе H03F, а также классах G05F, Н03К МПК. Качественные показатели многих аналоговых устройств определяются динамическими параметрами токовых зеркал. Именно этим объясняется большое число патентов, посвященных данному подклассу функциональных узлов [1-56].

[3]

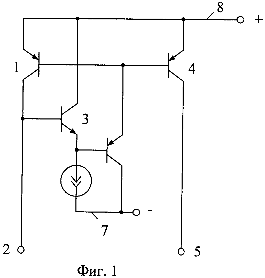
Ближайшим прототипом (фиг.1) заявляемого устройства является токовое зеркало, описанное в патенте японской фирмы NEC Corporation, зарегистрированном в США №6300803 (фиг.5), содержащее входной транзистор 1, коллектор которого соединен со входом 2 токового зеркала и базой вспомогательного транзистора 3, база входного транзистора 1 связана с базой выходного транзистора 4, коллектор которого подключен к выходу 5 токового зеркала, причем эмиттер первого входного транзистора 1 соединен с коллектором вспомогательного транзистора 3 и эмиттером выходного транзистора 4.

[4]

Существенный недостаток известного токового зеркала состоит в том, что оно не обеспечивает высокую точность передачи по току в том случае, если статические потенциалы на коллекторах входного 1 и выходного 6 транзисторов существенно отличаются друг от друга. Следует отметить, что такой режим работы токовых зеркал характерен при их использовании в схемах многих операционных усилителей и повторителей напряжения с типовой архитектурой (см. патенты США 5512457; №6114908 фиг.1). Вследствие этого недостатка известного устройства напряжение смещения нуля аналоговых микросхем на его основе измеряется единицами милливольт.

[5]

Основная цель предлагаемого изобретения состоит в повышении точности передачи по току токового зеркала и, как следствие, в уменьшении напряжения смещения нуля, повышении коэффициента ослабления входного синфазного сигнала Кос.сф и коэффициента подавления помехи по питанию Кпп в операционных усилителях на его основе.

[6]

Поставленная цель достигается тем, что в токовом зеркале фиг.1, содержащем входной транзистор 1, коллектор которого соединен со входом 2 токового зеркала и базой вспомогательного транзистора 3, база входного транзистора 1 связана с базой выходного транзистора 4, коллектор которого подключен к выходу 5 токового зеркала, причем эмиттер первого входного транзистора 1 соединен с коллектором вспомогательного транзистора 3 и эмиттером выходного транзистора 4, предусмотрены новые элементы и связи - в схему введен первый 6 источник напряжения смещения, подключенный к объединенным базам входного 1 и выходного 4 транзисторов, эмиттер вспомогательного транзистора 3 связан с первой шиной источника питания 7, а объединенные эмиттеры входного 1 и выходного 4 транзисторов соединены со второй 8 шиной источника питания через первый дополнительный двухполюсник 9.

[7]

Схема заявляемого устройства в соответствии с п.1 формулы изобретения показана на фиг.2. Здесь ко входу 2 подключен токовый источник сигнала 10, а к выходу 5 - нагрузка 11.

[8]

На фиг.3 показана схема заявляемого токового зеркала, соответствующего п.2 формулы изобретения. Здесь эмиттер транзистора 3 соединен с первой шиной 7 источника питания через второй 12 источник напряжения смещения.

[9]

На фиг.4 изображен вариант построения токового зеркала в соответствии с п.3 формулы изобретения. В этой схеме заявляемое устройство включено в структуру операционного усилителя, а второй 12 источник напряжения смещения реализован на буферном усилителе 13, содержащем транзистор 15 и двухполюсник 16. Вход 2 и выход 5 токового зеркала связаны с токовыми выходами 10 и 11 классического дифференциального каскада 17 на транзисторах 18, 19 и двухполюснике 20.

[10]

На фиг.5а показана схема заявляемого (фиг.2) устройства в среде компьютерного моделирования PSpice на моделях интегральных транзисторов ФГУП НПП «Пульсар», а на фиг.5б - график зависимости его выходного тока от входного тока.

[11]

На фиг.6 показана схема прецизионного повторителя малых входных напряжений с заявляемым токовым зеркалом (фиг.3) в среде PSpice, на базе которой выполнено измерение напряжения смещения нуля (здесь Uсм=16 мкВ).

[12]

На фиг.7 показана схема прецизионного повторителя напряжения с заявляемым токовым зеркалом (фиг.4) в среде PSpice, на базе которой выполнено измерение напряжения смещения нуля (здесь Uсм=15 мкВ).

[13]

На фиг.8 показана другая схема операционного усилителя с заявляемым токовым зеркалом фиг.4 в среде PSpice, на базе которой выполнено измерение напряжения смещения нуля (здесь Uсм=31 мкВ).

[14]

Токовое зеркало фиг.2 содержит входной транзистор 1, коллектор которого соединен со входом 2 токового зеркала и базой вспомогательного транзистора 3, база входного транзистора 1 связана с базой выходного транзистора 4, коллектор которого подключен к выходу 5 токового зеркала, причем эмиттер первого входного транзистора 1 соединен с коллектором вспомогательного транзистора 3 и эмиттером выходного транзистора 4. В схему введен первый 6 источник напряжения смещения, подключенный к объединенным базам входного 1 и выходного 4 транзисторов, эмиттер вспомогательного транзистора 3 связан с первой шиной источника питания 7, а объединенные эмиттеры входного 1 и выходного 4 транзисторов соединены со второй 8 шиной источника питания через первый дополнительный двухполюсник 9.

[15]

В соответствии с п.2 формулы изобретения (фиг.3) эмиттер вспомогательного транзистора 3 связан с первой 7 шиной источника питания через второй 12 источник напряжения смещения.

[16]

В соответствии с п.3 формулы изобретения (фиг.4) в качестве второго 12 источника напряжения смещения используется дополнительный повторитель напряжения 13, вход которого соединен с выходом 5 токового зеркала, а выход 14 подключен к эмиттеру вспомогательного транзистора 3.

[17]

Рассмотрим работу заявляемого устройства фиг.3.

[18]

В статическом режиме токи в схеме взаимосвязаны друг с другом:

[19]

[20]

[21]

[22]

[23]

[24]

[25]

где Iкi, Iэi - коллекторные (эмиттерные) токи,

[26]

αi≈1 - коэффициент усиления по току эмиттера,

[27]

Е6 - напряжение первого источника напряжения смещения.

[28]

Таким образом, выходной ток в схеме фиг.3 пропорционален входному току:

[29]

[30]

За счет выбора напряжения Е12 второго источника напряжения смещения 12 можно обеспечить равенство U2=Uвых. В этом случае внутренняя обратная связь в транзисторах 1 и 4 не влияет на коэффициент передачи по току (Кi12=Iвых/Iвх≈1), который становится более близким к единице. Это является дополнительным условием повышения точности заявляемого токового зеркала и, как следствие, улучшения его Uсм, Кос.сф, Кпп.

[31]

Особенность схемы фиг.4 состоит в том, что здесь напряжение второго источника смещения 12 зависит от напряжения в узле 5 токового зеркала и изменяется синхронно с ним. В целом это обеспечивает повышение коэффициента усиления по напряжению (Ку), коэффициента ослабления синфазного сигнала (Кос.сф), коэффициента подавления помехи по питанию (Кпп).

[32]

Моделирование схемы повторителя напряжения небольших уровней (uвх≤0,7 B), представленной на фиг.6, показывает, что благодаря повышению статической точности предлагаемого токового зеркала напряжение смещения нуля Uсм получается без каких-либо регулировок сравнительно малым (Uсм=16 мкВ).

[33]

В других модификациях повторителя напряжения и ОУ (фиг.7, фиг.8) обеспечивается более широкий диапазон входного сигнала. Данные достоинства схем фиг.2 - фиг.8 позволяют создать прецизионные ОУ на базе одного каскада усиления.

[34]

Как показывает эксперимент (фиг.6-фиг.8), напряжение смещения нуля ОУ на базе заявляемого токового зеркала уменьшается без каких-либо регулировок и подстроек резисторов более чем в 10 раз.

[35]

Замечательная особенность токового зеркала фиг.4 состоит также в том, что при его использовании в операционных усилителях коэффициент усиления по напряжению (Ку) повышается. Это связано с эффектом взаимной компенсации влияния выходных проводимостей двухполюсников 15 и 16 на коэффициент усиления.

[36]

За счет предлагаемого токового зеркала в ОУ на его основе также повышается коэффициент ослабления синфазных сигналов (Кос.сф) и коэффициент подавления помехи по питанию (Кпп). Этот эффект объясняется тем, что коэффициент передачи по току предлагаемых токовых зеркал более близок к единице, чем в известном устройстве. В целом это повышает Кос.сф и Кпп, уменьшает Uсм.

[37]

Полученные выше выводы подтверждаются результатами моделирования предлагаемых схем в среде PSpice.

[38]

Таким образом, заявляемое токовое зеркало характеризуется более высокими точностными параметрами, что положительно сказывается на ряде параметров операционных усилителей на его основе.

[39]

Библиографический список

[40]

1. Патент РФ №1329639.

[41]

2. Патент США №3681623.

[42]

3. Патент США №3813607.

[43]

4. Патент США №3835410.

[44]

5. Патент США №4008441 H03F 3/16.

[45]

6. Патент США №4013973.

[46]

7. Патент США №4030044 (фиг.3).

[47]

8. Патент США №4057763.

[48]

9. Патент США №4095189.

[49]

10. Патент США №4117417.

[50]

11. Патент США №4241315.

[51]

12. Патент США №4345213.

[52]

13. Патент США №4412186 H03F 3/04.

[53]

14. Патент США №4462005 H03F 3/04.

[54]

15. Патент США №4471236.

[55]

16. Патент США №4473794.

[56]

17. Патент США №4567444.

[57]

18. Патент США №4591804 H03F 3/04.

[58]

19. Патент США №4769619.

[59]

20. Патент США №4855686.

[60]

21. Патент США №4879524 H03F 3/26.

[61]

22. Патент США №4897614.

[62]

23. Патент США №4937515 G05F 3/26.

[63]

24. Патент США №4990864.

[64]

25. Патент США №5053718.

[65]

26. Патент США №5079518 Н03К 3/16.

[66]

27. Патент США №5164658.

[67]

28. Патент США №5357188 G05F 3/26.

[68]

29. Патент США №5373253.

[69]

30. Патент США №5394079 G05F 3/16.

[70]

31. Патент США №5399991.

[71]

32. Патент США №5512815 G05F 3/16.

[72]

33. Патент США №5572114.

[73]

34. Патент США №5633612.

[74]

35. Патент США №5721512.

[75]

36. Патент США №5933055.

[76]

37. Патент США №5969574.

[77]

38. Патент США №5986507.

[78]

39. Патент США №6016050.

[79]

40. Патент США №6570438.

[80]

41. Патент США №6573795.

[81]

42. Патент США №6586918.

[82]

43. Патент США №6606001.

[83]

44. Патент США №6291977.

[84]

45. Патент США №6300803.

[85]

46. Патент США №6528981.

[86]

47. Патент США №6630818.

[87]

48. Патент США №6633198.

[88]

49. Патент США №6639452.

[89]

50. Патент США №6657481.

[90]

51. Патент США №6677807.

[91]

52. Патент США №6680605.

[92]

53. Патент США №6816014.

[93]

54. Патент РФ RU 2193273.

[94]

55. Патентная заявка США 2004/081688.

[95]

56. Патентная заявка США 2003/0030492.

Как компенсировать расходы
на инновационную разработку
Похожие патенты