патент
№ RU 2338921
МПК F02M65/00

СТЕНД ДЛЯ ИСПЫТАНИЯ НАСОС-ФОРСУНОК И ФОРСУНОК ДИЗЕЛЬНЫХ ДВИГАТЕЛЕЙ

Авторы:
Колчин Анатолий Васильевич Соловьев Рудольф Юрьевич Черноиванов Вячеслав Иванович
Все (6)
Номер заявки
2007113392/06
Дата подачи заявки
11.04.2007
Опубликовано
20.11.2008
Страна
RU
Как управлять
интеллектуальной собственностью
Чертежи 
3
Реферат

[31]

Изобретение относится к испытаниям топливной аппаратуры двигателей внутреннего сгорания и может быть использовано для определения технического состояния форсунок топливной аппаратуры дизельного двигателя. Изобретение позволяет обеспечить возможность диагностирования как форсунок, так и насос-форсунок как с механическим, так и с электронным управлением, а также обеспечить приемлемую точность определения контролируемых параметров при невысокой трудоемкости работ. Стенд для определения технического состояния форсунок дизельных двигателей содержит корпус с топливным баком, гидролинию с топливным насосом для подачи топлива из топливного бака к испытываемой форсунке, камеру впрыска топлива испытываемой форсункой, манометр, подключенный к гидролинии перед испытываемой форсункой для измерения давления впрыска топлива этой форсункой, и привод топливного насоса. Стенд снабжен подкачивающим топливным насосом, дополнительной гидролинией для подачи топлива к испытываемой насос-форсунке, дополнительной камерой впрыска топлива испытываемой насос-форсункой, дополнительным манометром для измерения давления в дополнительной гидролинии перед испытываемой насос-форсункой, средством измерения давления впрыска топлива испытываемой насос-форсункой, приводом подкачивающего топливного насоса и приводом плунжера испытываемой насос-форсунки. Подкачивающий топливный насос подключен к основной гидролинии перед основным топливным насосом. Вход дополнительной гидролинии подключен к основной гидролинии между выходом дополнительного и входом основного топливных насосов, а приводы обоих топливных насосов выполнены в виде общего приводного вала с двумя кулачками для приведения в действие соответственно основного и дополнительного топливных насосов и с третьим кулачком для приведения в действие привода плунжера испытываемой насос-форсунки. 9 з.п. ф-лы, 4 ил.

Формула изобретения

1. Стенд для определения технического состояния форсунок дизельных двигателей, содержащий корпус с топливным баком, гидролинию с топливным насосом для подачи топлива из топливного бака к испытываемой форсунке, камеру впрыска топлива испытываемой форсункой, манометр, подключенный к гидролинии перед испытываемой форсункой для измерения давления впрыска топлива этой форсункой, и привод топливного насоса, отличающийся тем, что стенд снабжен подкачивающим топливным насосом, дополнительной гидролинией для подачи топлива к испытываемой насос-форсунке, дополнительной камерой впрыска топлива испытываемой насос-форсункой, дополнительным манометром для измерения давления в дополнительной гидролинии перед испытываемой насос-форсункой, средством измерения давления впрыска топлива испытываемой насос-форсункой, приводом подкачивающего топливного насоса и приводом плунжера испытываемой насос-форсунки, причем подкачивающий топливный насос подключен к основной гидролинии перед основным топливным насосом, вход дополнительной гидролинии подключен к основной гидролинии между выходом дополнительного и входом основного топливных насосов, а приводы обоих топливных насосов выполнены в виде общего приводного вала с двумя кулачками для приведения в действие соответственно основного и дополнительного топливных насосов и с третьим кулачком для приведения в действие привода плунжера испытываемой насос-форсунки.

2. Стенд по п.1, отличающийся тем, что основная гидролиния снабжена нагнетательным клапаном и гидроаккумулятором, последовательно установленными после топливного насоса.

3. Стенд по п.1, отличающийся тем, что дополнительная гидролиния снабжена последовательно установленными нагнетательным клапаном и гидроаккумулятором.

4. Стенд по п.1, отличающийся тем, что дополнительная гидролиния снабжена сливным клапаном, установленным перед нагнетательным клапаном.

5. Стенд по п.1, отличающийся тем, что дополнительная гидролиния снабжена сливным клапаном, предназначенным для его подключения к полости низкого давления испытываемой насос-форсунки.

6. Стенд по п.1, отличающийся тем, что основная гидролиния снабжена фильтром тонкой очистки, установленным между выходом подкачивающего насоса и входом дополнительной гидролинии.

7. Стенд по п.1, отличающийся тем, что привод плунжера испытываемой насос-форсунки содержит толкатель и коромысло, причем один конец толкателя установлен во взаимодействии с третьим кулачком общего приводного вала, а второй связан шарнирно с первым плечом коромысла, второе плечо которого установлено во взаимодействии с торцом плунжера испытываемой насос-форсунки.

8. Стенд по п.1, отличающийся тем, что средство измерения давления впрыска топлива испытываемой насос-форсункой выполнено в виде датчика силы, устанавливаемого между вторым концом толкателя и первым плечом коромысла или между вторым плечом коромысла и торцом плунжера испытываемой насос-форсунки для обеспечения измерения усилий, передаваемых через указанные сопрягающиеся элементы.

9. Стенд по п.1, отличающийся тем, что он снабжен электросхемой с парой электрических контактов для приведения в действие соленоидного клапана испытываемой форсунки или насос-форсунки с электронным управлением, при этом один из контактов установлен на общем приводном валу и выполнен регулируемым по углу поворота вокруг оси этого вала для обеспечения замыкания контактов при определенном угле его поворота.

10. Стенд по п.1, отличающийся тем, что, по меньшей мере, одна из камер впрыска снабжена экраном для визуального определения угла и качества распыла топлива соответствующей испытываемой форсункой, при этом экран имеет градуировку в виде концентрических окружностей, расположен перпендикулярно продольной оси форсунки и выполнен регулируемым по положению вдоль этой оси.

Описание

[1]

Изобретение относится к области технической диагностики и может быть использовано для определения технического состояния форсунок и насос-форсунок (включая форсунки с электронным управлением) топливной аппаратуры дизельного двигателя.

[2]

Техническое состояние элементов дизельной топливной аппаратуры высокого давления, а именно топливных форсунок и насос-форсунок, следует определять по таким параметрам как давление момента начала впрыска топлива; четкость отсечки и качество распыла топлива; герметичность запорного клапана иглы распылителя и других сопряжений, в которых могут иметь место утечки из нагнетательного канала, гидравлическое сопротивление, угол факела распыла топлива. Указанные параметры играют важную роль при рядовой эксплуатации дизелей. Если эти параметры достигают предельного значения, это приводит к ухудшению технико-экономических показателей дизеля: падению мощности, увеличению удельного расхода топлива, дымности и токсичности отработавших газов.

[3]

Известен стенд для определения технического состояния форсунок дизельных двигателей, содержащий корпус с топливным баком, гидролинию с топливным насосом для подачи топлива из топливного бака к испытываемой форсунке, камеру впрыска топлива испытываемой форсункой, манометр, подключенный к гидролинии перед испытываемой форсункой для измерения давления впрыска топлива этой форсункой, и привод топливного насоса (см. Справочник по техническому обслуживанию и диагностированию тракторов, М., «Россельхозиздат», 1986, прибор КИ-15706-ГОСНИТИ, с.167-168).

[4]

Известный стенд позволяет определять техническое состояние форсунок дизельной топливной аппаратуры, имеющих только механическое управление. Он непригоден для определения технического состояния топливных насос-форсунок, а также форсунок и насос-форсунок с электронным управлением. Кроме того, известный стенд не обеспечивает достаточную точность определения контролируемых параметров, так как его гидролиния высокого давления не имеет элементов для поддержания необходимого давления при испытании форсунок по утечкам. Высокое давление в гидролинии для проверки утечки топлива в сопрягаемых деталях и распылителе форсунки поддерживается ручкой с использованием топливного насоса, который со временем может сам давать утечки топлива.

[5]

Основная задача настоящего изобретения заключается в создании более универсального стенда для определения технического состояния форсунок дизельных двигателей, который обеспечил бы диагностирование также и насос-форсунок. Дополнительными задачами настоящего изобретения являются создание стенда, который при невысокой трудоемкости работ на нем обеспечил бы приемлемую точность определения контролируемых параметров, а также повышение универсальности стенда путем обеспечения диагностирования форсунок и насос-форсунок как с механическим, так и с электронным управлением.

[6]

Решение указанной основной задачи достигается тем, что стенд для определения технического состояния форсунок дизельных двигателей, содержащий корпус с топливным баком, гидролинию с топливным насосом для подачи топлива из топливного бака к испытываемой форсунке, камеру впрыска топлива испытываемой форсункой, манометр, подключенный к гидролинии перед испытываемой форсункой для измерения давления впрыска топлива этой форсункой, и привод топливного насоса, согласно настоящему изобретению снабжен подкачивающим топливным насосом, дополнительной гидролинией для подачи топлива к испытываемой насос-форсунке, дополнительной камерой впрыска топлива испытываемой насос-форсункой, дополнительным манометром для измерения давления в дополнительной гидролинии перед испытываемой насос-форсункой, средством измерения давления впрыска топлива испытываемой насос-форсункой, приводом подкачивающего топливного насоса и приводом плунжера испытываемой насос-форсунки, причем подкачивающий топливный насос подключен к основной гидролинии перед основным топливным насосом, вход дополнительной гидролинии подключен к основной гидролинии между выходом дополнительного и входом основного топливных насосов, а приводы обоих топливных насосов выполнены в виде общего приводного вала с двумя кулачками для приведения в действие соответственно основного и дополнительного топливных насосов и с третьим кулачком для приведения в действие привода плунжера испытываемой насос-форсунки.

[7]

Указанные новые элементы, введенные в конструкцию стенда по настоящему изобретению, обеспечивают диагностирование как форсунок, так и насос-форсунок дизельных двигателей.

[8]

Кроме того, в заявленном стенде основная гидролиния может быть снабжена нагнетательным клапаном и гидроаккумулятором, последовательно установленными после топливного насоса, а дополнительная гидролиния может быть снабжена последовательно установленными нагнетательным клапаном и гидроаккумулятором. Дополнительная гидролиния может быть также снабжена сливным клапаном, установленным перед нагнетательным клапаном, а также сливным клапаном, предназначенным для его подключения к полости низкого давления испытываемой насос-форсунки. Перечисленные элементы с надежностью обеспечивают хорошую наполненность гидролиний топливом и поддержание необходимого давления в гидролиниях при испытании форсунок по утечкам, что в итоге обеспечивает приемлемую точность определения контролируемых параметров.

[9]

Основная гидролиния в заявленном стенде может быть снабжена фильтром тонкой очистки, установленным между выходом подкачивающего насоса и входом дополнительной гидролинии, что повышает надежность работы стенда.

[10]

Кроме того, в заявленном стенде привод плунжера испытываемой насос-форсунки содержит толкатель и коромысло, причем один конец толкателя установлен во взаимодействии с третьим кулачком общего приводного вала, а второй связан шарнирно с первым плечом коромысла, второе плечо которого установлено во взаимодействии с торцом плунжера испытываемой насос-форсунки. При этом средство измерения давления впрыска топлива испытываемой насос-форсункой может быть выполнено в виде датчика силы, устанавливаемого между вторым концом толкателя и первым плечом коромысла или между вторым плечом коромысла и торцом плунжера испытываемой насос-форсунки для обеспечения измерения усилий, передаваемых через указанные сопрягающиеся элементы.

[11]

Для обеспечения возможности диагностирования на заявленном стенде форсунок и насос-форсунок с электронным управлением стенд снабжен электросхемой с парой электрических контактов для приведения в действие соленоидного клапана испытываемой форсунки или насос-форсунки с электронным управлением, при этом один из контактов установлен на общем приводному валу и выполнен регулируемым по углу поворота вокруг оси этого вала для обеспечения замыкания контактов при определенном угле его поворота.

[12]

Кроме того, по меньшей мере одна из камер впрыска снабжена экраном для визуального определения угла и качества распыла топлива соответствующей испытываемой форсункой, при этом экран имеет градуировку в виде концентрических окружностей, расположен перпендикулярно продольной оси форсунки и выполнен регулируемым по положению вдоль этой оси. Введение в конструкцию заявленного стенда указанного экрана позволяет повысить точность определения угла и качества распыла топлива испытываемыми форсунками.

[13]

Изобретение пояснено чертежами.

[14]

На фиг.1 представлена схема заявленного стенда, вид сбоку;

[15]

на фиг.2 - то же, вид сверху;

[16]

на фиг 3 - гидравлическая схема заявленного стенда;

[17]

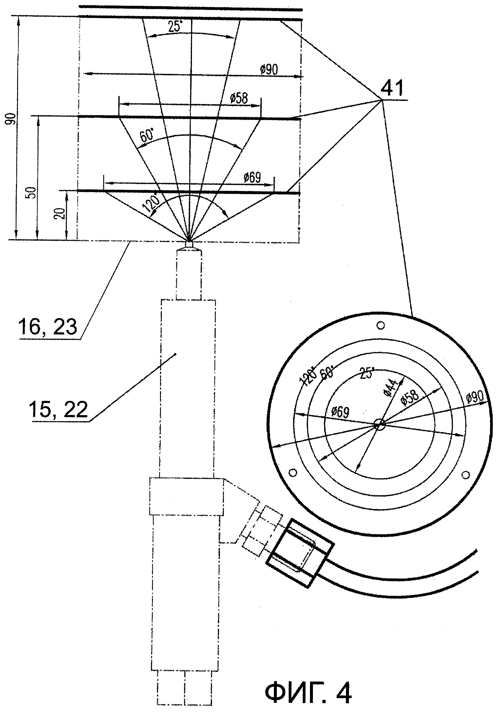
на фиг.4 показана конструкция и схема расположения экрана для визуального определения качества распыла топлива испытываемой форсункой.

[18]

Заявленный стенд в основном варианте исполнения характеризуется следующей конструкцией. Стенд содержит корпус 1 для установки на нем сборочных единиц стенда. Полость корпуса 1 выполнена в виде топливного бака. На боковинах корпуса 1 посредством скользящих подшипников установлен общий приводной вал 2 с двумя кулачками 3, 4 для привода соответственно основного топливного насоса 5 плунжерного типа и подкачивающего топливного насоса 6, а также с третьим кулачком 7, воздействующим на нижний конец толкателя 8. Привод вала 2 для его поворота вокруг своей оси на определенный угол осуществляется при помощи ручного рычага 9 или электродвигателя 10, которые соединяются с одним из концов вала 2. Насосы 5, 6 установлены соответственно на кронштейнах 11, 12, прикрепленных к днищу корпуса 1. Вал 2 вращается во втулке 13, соединенной с кулачком 7 для обеспечения возможности его замены при необходимости. На верхней части корпуса 1 расположен кронштейн 14 для установки испытываемой форсунки 15, распылитель которой направлен в камеру впрыска 16, а также манометр (датчик давления) 17 для измерения давления впрыска топлива форсункой 15. В верхней части корпуса 1 установлена также направляющая втулка 18, в которой расположен толкатель 8 со скользящей в этой втулке насадкой. Один (нижний) конец толкателя 8 опирается на кулачок 7, а второй (верхний) конец шарнирно соединен с первым плечом коромысла 19 через датчик силы 20. Коромысло 19 шарнирно связано с верхним концом стойки 21, нижний конец которой жестко связан с корпусом 1. Второе плечо коромысла 19 опирается на торец плунжера испытываемой насос-форсунки 22, который размещен в специальном корпусе с входными и выходными отверстиями для подачи и слива топлива (на чертежах не показан). Конец насос-форсунки 22 направлен в камеру впрыска 23. На верхней полке корпуса 1 расположены также манометр (датчик давления) 24 для измерения давления перед насос-форсункой 22 (в линии низкого давления; более подробно раскрыто ниже при описании гидравлической схемы стенда), щуп 25 для контроля уровня топлива в баке, крышка 26 заливного отверстия для топлива и терминал (индикатор) 27 для контроля действующей на плунжер насос-форсунки 22 силы, измеряемой датчиком силы 20.

[19]

Стенд имеет также электросхему (не показана) с парой электрических контактов для приведения в действие соленоидного клапана 40 (фиг.3) испытываемых форсунки или насос-форсунки, имеющих электронное управление. Один из этих контактов, обозначенный на фиг.2 позицией 28, установлен на втором конце вала 2 с возможностью регулирования положения этого контакта по углу поворота вокруг оси вала 2 (другими словами, по окружности вала 2) для обеспечения замыкания контактов при определенном угле поворота вала 2.

[20]

Гидравлическая часть заявленного стенда (фиг.3) содержит основную гидролинию 29, в которую включены последовательно установленные магнитный фильтр 30 для очистки топлива от металлических примесей, подкачивающий топливный насос 6, фильтр 31 тонкой очистки, основной топливный насос 5, нагнетательный клапан 32, гидроаккумулятор 33 и испытываемая форсунка 15. Вход магнитного фильтра 30 подключен к топливному баку. Манометр 17 подключен к гидролинии 29 между гидроаккумулятором 33 и форсункой 15 через кран 34. Топливо, сливаемое из корпуса форсунки 15, и топливо, впрыскиваемое форсункой 15 в камеру впрыска 16, сливается затем в топливный бак.

[21]

Заявленный стенд имеет также дополнительную гидролинию 35, в которую включены последовательно установленные сливной клапан 36 для поддержания определенного давления в гидролинии 35, нагнетательный клапан 37, гидроаккумулятор 38 и испытываемая насос-форсунка 22. Вход дополнительной гидролинии 35 подключен к основной гидролинии 29 между фильтром 31 и основным топливным насосом 5. Манометр 24 подключен к гидроаккумулятору 38. К полости низкого давления насос-форсунки 22 подключен сливной клапан 39, предназначенный для поддержания определенного давления в этой полости. Если испытываемые форсунка 15 или насос-форсунка 22 имеют электронное управление, они снабжены соответствующим соленоидным клапаном 40. Топливо, сливаемое из полости низкого давления насос-форсунки 22 через сливной клапан 39, и топливо, впрыскиваемое форсункой 22 в камеру впрыска 23, сливается затем в топливный бак.

[22]

Для визуального определения угла и качества распыла топлива в каждой из камер впрыска 16, 23 установлен экран 41 (фиг.4), снабженный градуированными шкалами в виде концентрических окружностей с целью определения угла впрыскивания топлива из распылителя соответствующей форсунки и расположенный перпендикулярно продольной оси форсунки и соосно ей с возможностью регулирования по положению вдоль этой оси для установки экрана на различных расстояниях от форсунки соответственно углу распыла.

[23]

Заявленный стенд работает следующим образом.

[24]

Предварительно на стенд устанавливают насос-форсунку 22 или форсунку 15. Поворачивая на заданный угол вал 2 с помощью рычага 9 или электродвигателя 10, накачивают топливо в гидролинии стенда, по которым оно подается к соответствующим испытываемым форсункам.

[25]

Постоянное давление в дополнительной гидролинии 35 поддерживается сливным клапаном 36. При испытании, например, насос-форсунки 22 с электронным управлением ее соленоидный клапан 40 приводят в действие путем подачи на него модулированного сигнала напряжения в результате замыкания контактов вышеуказанной электросхемы при заданном угле поворота вала 2.

[26]

Техническое состояние форсунок и насос-форсунок определяют по давлению впрыска топлива, по утечкам топлива через прецизионные пары; по продолжительности впрыска топлива через распылитель, а также визуально по качеству и углу распыла топлива.

[27]

Пример. На предлагаемом стенде проводили испытания насос-форсунки марки «R Bosh» и форсунки марки «R Bosh» с электронным приводом соленоидного клапана.

[28]

Поочередно устанавливали насос-форсунку и форсунку на стенд как показано на фиг.1, 2. Выставляли заданное положение контакта 28 относительно кулачков вала 2 для подачи модулированного сигнала напряжения к соленодиному клапану насос-форсунки или форсунки для впрыска топлива через распылитель.

[29]

Проведенные испытания показали, что давление впрыска топлива через распылитель насос-форсунки и форсунки составило соответственно около 120 и 100 МПа; качество распыла топлива туманообразное, а отсечка четкая; угол распыла соответствовал техническим данным насос-форсунки и форсунки; утечка топлива через прецизионные пары отсутствовала; продолжительность впрыска топлива - четкий и отрывистый звук.

[30]

Проведенные исследования показали, что заявленный стенд позволяет испытывать насос-форсунки и форсунки с электронным приводом соленоидных клапанов.

Как компенсировать расходы
на инновационную разработку
Похожие патенты