патент
№ RU 2335424
МПК B62D55/00

САМОХОДНОЕ ШАССИ НА ГУСЕНИЧНОМ ХОДУ

Авторы:
Гулевич Людмила Николаевна Терентьев Юрий Васильевич Худолеев Валерий Петрович
Все (7)
Номер заявки
2006142990/11
Дата подачи заявки
04.12.2006
Опубликовано
10.10.2008
Страна
RU
Как управлять
интеллектуальной собственностью
Чертежи 
9
Реферат

[23]

Изобретение относится к сельскохозяйственному машиностроению, а именно к конструкции элементов и приспособлений самоходного шасси на гусеничном ходу, являющегося высвобождаемым мобильным энергомодулем, облегчающих его адаптирование к задаче монтажа большего количества сменных технологических модулей, то есть повышения его универсальности. Самоходное шасси на гусеничном ходу позволяет осуществлять перекомпоновку своей верхней части за счет перестановки продольно вытянутой несущей рамы с установленным на ней постоянным оборудованием, формирующим функциональный энергомодуль, по длине и ширине гусеничной ходовой тележки. Шасси содержит гусеничную ходовую тележку с резиноармированными гусеницами. На поперечные трубы рамы посредством переходного устройства в виде съемных поперечных Г-образных опор с продольными подкосами устанавливается несущая рама с постоянным оборудованием. Последняя содержит площадку управления и контроля с кабиной и моторно-силовой установкой. Моторно-силовая установка включает автономные объемные гидроприводы ходовой и технологической частей, формируемые на базе самоходного шасси специализированных мобильных сельскохозяйственных машин. При этом Г-образные опоры преобразуются в П-образные и наоборот установкой или демонтажом состоящих из элементов вертикальных стоек между консолями Г-образных опор и поперечными трубами. Снижается металлоемкость и габариты по высоте формируемых на базе самоходного шасси мобильных сельскохозяйственных машин, повышается внешняя гибкость и универсальность самоходного шасси как высвобождаемого мобильного энергомодуля. 3 з.п. ф-лы, 10 ил.

Формула изобретения

1. Самоходное шасси на гусеничном ходу, являющееся высвобождаемым мобильным энергомодулем - базой для формирования специализированных комплексов самоходных сельскохозяйственных машин путем оснащения его комплектом сменных технологических модулей, содержащее гусеничную ходовую тележку с резиноармированными гусеницами, рама которой включает в себя поперечные трубы, переходное устройство и постоянное оборудование, смонтированное на несущей раме и состоящее из площадки управления с кабиной, имеющей двухсторонний выход, моторно-силовой установки, включающей моторную установку и регулируемые насосы автономных объемных гидроприводов ходовой и технологической частей формируемой машины, адаптируемое к установке сменных технологических модулей путем перекомпоновки верхней части самоходного шасси за счет перестановки несущей рамы с постоянным оборудованием, по крайней мере, в варианты, определяемые сочетанием трех различных положений по длине и ширине гусеничной тележки - крайними передним, задним, боковыми над соответствующими гусеницами и центральным, отличающееся тем, что переходное устройство служит только для монтажа несущей рамы с постоянным оборудованием на поперечных трубах рамы гусеничной ходовой тележки и выполнено в виде поперечных Г-образных опор, имеющих разъемные соединения с трубами рамы гусеничной ходовой тележки и несущей рамой, при этом вертикальные стойки Г-образных поперечных опор выполнены с подкосами в продольной плоскости таким образом, что одна опора является зеркальным отображением другой, а сменные технологические модули монтируются на кронштейны поперечных труб рамы гусеничной ходовой тележки.

2. Самоходное шасси по п.1, отличающееся тем, что подкосы выполнены съемными с возможностью их зеркальной переустановки с противоположной стороны вертикальной стойки Г-образной опоры.

3. Самоходное шасси по п.1, отличающееся тем, что съемные поперечные Г-образные опоры с подкосами преобразуются в П-образные и наоборот путем установки или демонтажа соответственно между консолями опор и поперечными трубами, на которых они смонтированы, вертикальных стоек, дополняемых в крайних боковых положениях несущей рамы с постоянным оборудованием вставками в трубы.

4. Самоходное шасси по любому из пп.1-3, отличающееся тем, что сменные технологические модули монтируются на кронштейны поперечных труб рамы гусеничной ходовой тележки посредством автономного переходного устройства в виде универсальной рамы, например, прямоугольной формы, располагаемой в межгусеничном пространстве таким образом, что ее верхняя присоединительная плоскость находится ниже горизонтальных элементов поперечных опор.

Описание

[2]

Изобретение относится к сельскохозяйственному машиностроению, а именно к конструкции элементов и приспособлений самоходного шасси на гусеничном ходу, являющегося высвобождаемым мобильным энергомодулем, облегчающих его адаптирование к задаче монтажа большего количества сменных технологических модулей, то есть повышения его универсальности.

[3]

Известны конструкции гусеничных самоходных шасси моноблочной структуры, представляющие собой гусеничную ходовую тележку, на поперечных трубах рамы которой с помощью поперечных Г-образных опор несъемно установлена несущая рама с кабиной и моторно-силовой установкой. При этом несущая рама, Г-образные опоры и рама гусеничной ходовой тележки представляют в изделии монолитную несущую конструкцию, обеспечивающую продольное левостороннее (КСГ-3,2А) [1] или правостороннее (КСГ-Ф-70) [2] расположение кабины с моторно-силовой установкой над соответствующим гусеничным движителем.

[4]

Недостаток данной конструкции - самоходное шасси, как база самоходной специализированной сельскохозяйственной машины, не является универсальным и гибким.

[5]

Наиболее близким к изобретению является гусеничное самоходное шасси, представляющее собой высвобождаемый мобильный энергомодуль, содержащий нижнюю часть - гусеничную ходовую тележку (ходовой модуль), верхнюю часть - несущую раму с постоянным оборудованием (энергомодуль) и переходное устройство, их объединяющее [3]. Переходное устройство представляет собой подрамник, закрепляемый на кронштейнах поперечных труб рамы гусеничной ходовой тележки, и установленную на нем раму-платформу на всю ширину гусеничной тележки. Рама-платформа служит общей основой для монтажа как верхней части самоходного шасси, так и сменных технологических модулей при формировании на его базе специализированных самоходных машин. Верхняя часть самоходного шасси представляет функциональный энергомодуль и содержит постоянное оборудование, расположенное на продольно вытянутой вдоль гусеничной ходовой тележки несущей раме: площадку управления с кабиной, имеющую двухсторонний выход, и моторно-силовую установку, обеспечивающую независимый привод ходовой и технологической частей. Причем приводы выполнены как автономные объемные гидроприводы, а органы управления работой гусеничной ходовой тележки связаны с соответствующими исполнительными механизмами гидравлически и механически посредством тросиков дистанционного управления двухстороннего действия. Это обеспечивает внешнюю гибкость [4] самоходному шасси, проявляющуюся в способности к перекомпоновке верхней части за счет перестановки несущей рамы с постоянным оборудованием по ширине, например, из левостороннего в правостороннее или центральное положения по отношению к продольной оси гусеничной ходовой тележки. А в каждом из этих положений возможно смещение вперед и назад.

[6]

Недостаток данной конструкции - ограниченная универсальность, повышенная металлоемкость, предельный габарит по высоте формируемых на базе шасси специализированных машин, что связано с наличием общей рамы-платформы на всю ширину гусеничной тележки, конструктивно исключающей варианты более низкого расположения сменных технологических модулей, например непосредственно на кронштейнах поперечных труб рамы гусеничной ходовой тележки.

[7]

Задачей, на решение которой направлено изобретение, является создание устройства, повышающего универсальность использования гибкого самоходного шасси на гусеничном ходу, как высвобождаемого мобильного энергомодуля, являющегося базой для формирования специализированных комплексов самоходных сельскохозяйственных машин путем оснащения его комплектами сменных технологических модулей [5].

[8]

Технический результат - повышение универсальности использования самоходного шасси с резиноармированными гусеницами путем создания переходного устройства для монтажа на поперечных трубах рамы гусеничной ходовой тележки только верхней части самоходного шасси в виде продольно вытянутой несущей рамы с постоянным оборудованием (кабины и моторно-силовой установки с объемными гидроприводами ходовой и технологической частей), представляющего собой съемные поперечные Г-образные опоры, преобразуемые в П-образные и наоборот, с возможностью перестановки верхней части, по крайней мере, в варианты, определяемые тремя различными положениями, как по ширине гусеничной ходовой тележки (левостороннее - I, правостороннее - II и центральное - III), так и по длине. Сменный технологический модуль или (и) дополнительное рабочее оборудование при этом монтируется непосредственно на кронштейны рамы тележки или с помощью автономного переходного устройства - универсальной рамы. Универсальная рама располагается на кронштейнах рамы тележки в межгусеничном пространстве, а ее верхняя присоединительная плоскость находится ниже горизонтальных элементов Г-образных или П-образных опор, что не препятствует всем необходимым вариантам перестановки верхней части самоходного шасси, смонтированной на несущей раме.

[9]

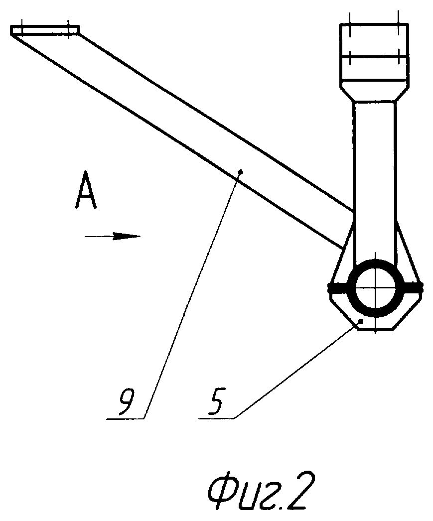
На фиг.1 изображено предлагаемое самоходное шасси на гусеничном ходу с левосторонним положением несущей рамы на Г-образных опорах - I, вид сбоку; на фиг.2 - передняя поперечная Г-образная опора переходного устройства на фиг.1, вид сбоку; на фиг.3 - то же, вид А на фиг.2; на фиг.4 - то же, вид А на фиг.2, вариант преобразования опоры в П-образную; на фиг.5 - самоходное шасси с левосторонним положением несущей рамы на П-образных опорах - I, вид спереди; на фиг.6 - то же, вид сверху; на фиг.7 - самоходное шасси с правосторонним положением несущей рамы на П-образных опорах - II, вид спереди; на фиг.8 - то же, вид сверху; на фиг.9 - самоходное шасси с центральным положением несущей рамы на П-образных опорах - III, вид спереди; на фиг.10 - то же, вид сверху.

[10]

Самоходное шасси на гусеничном ходу представляет собой высвобождаемый мобильный энергомодуль и содержит гусеничную ходовую тележку с резиноармированными гусеницами 1, рама 2 которой включает в себя поперечные трубы 3 с кронштейнами, переходное устройство в виде Г-образных опор 4, съемно посредством крышек 5 и болтовых соединений устанавливаемых на поперечных трубах 3, и несущую раму 6 с продольным расположением на ней постоянного оборудования, конструктивно и функционально формирующего энергомодуль: площадки управления и контроля 7 с кабиной 8 и моторно-силовой установки 11, включающей моторную установку с регулируемыми насосами объемных гидроприводов ходовой и технологической частей. Вертикальные стойки Г-образных опор соединяются с несущей рамой 6 с помощью подкосов 9, имеющих разъемные соединения, по крайней мере, с несущей рамой 6. Г-образные опоры 4 по верхней несущей плоскости консольной полки также имеют разъемные болтовые соединения с несущей рамой 6, а в нижней части вертикальные стойки опор разъемно соединены с трубами 3, например, посредством крышек 5. Консоль Г-образной опоры дополнительно может укрепляться вертикальной стойкой 12, разъемно соединяемой как с консолью Г-образной опоры, так и с кронштейном поперечной трубы 3 рамы 2 или трубой непосредственно (положение III, фиг.9 и 10), или посредством вставки в трубу 13 (положения I и II, фиг.5-8), преобразуя опору в П-образную. Для перемещения несущей рамы по длине гусеничной ходовой тележки на нижней плоскости несущей рамы выполнены, как минимум, шесть комбинаций отверстий для крепления Г-образных стоек 4 с подкосами 9.

[11]

На кронштейны труб 3 рамы 2 устанавливаются сменные технологические модули или универсальная рама 10, являющаяся базовым элементом для установки технологических модулей непосредственно или с помощью дополнительных монтажных приспособлений. Рама 10 может быть выполнена, например, прямоугольной формы из металлоэлементов стандартного профиля, например из швеллеров со съемными внутренними поперечными балками. При этом ее присоединительная плоскость расположена ниже горизонтальных элементов Г-образных или П-образных опор и потому ее постоянная установка не препятствует всем вариантам (I, II и III, см. фиг.5-10) перестановки несущей рамы 6 с постоянным оборудованием.

[12]

В зависимости от функционального назначения специализированной машины, формируемой на базе самоходного шасси (уборочная, транспортно-технологическая или тягово-приводная концепция), и от конструкции сменного технологического модуля самоходное шасси может конструктивно трансформироваться путем перестановки несущей рамы 6 с постоянным оборудованием по ширине гусеничной ходовой тележки. Перестановка ее в варианте с Г-образными опорами, например, из левостороннего положения I (фиг.5 и 6) в центральное положение III (фиг.9 и 10) при демонтированном технологическом модуле осуществляется следующим образом.

[13]

Подвесив несущую раму 6 с установленным на ней оборудованием, монтируют на консоли Г-образных опор 4 вертикальные стойки 12, преобразуя опоры в П-образные, демонтируют крышки 5 вертикальных стоек опор 4, затем переустанавливают раму 6 в центральное положение и закрепляют на поперечных трубах 3 с помощью тех же крышек 5, предварительно соединяя вертикальные стойки 12 с кронштейнами труб 3.

[14]

В случае перестановки несущей рамы 6 из одного крайне бокового положения, например из левостороннего I в правостороннее II, ее отсоединяют от консольных полок и подкосов 9 опор 4 и подвешивают. Если опоры Г-образные, то их преобразуют в П-образные, монтируя на консоли опор вертикальные стойки 12, а сами опоры 4 снимают с труб 3, разворачивают на 180 градусов и монтируют рядом с правой гусеницей, предварительно установив в отверстия труб 3 вставки 13. При этом переднюю и заднюю опоры меняют местами, так как они являются зеркальным отображением друг друга. В варианте выполнения Г-образных опор 4 со съемными подкосами 9 переднюю и заднюю опоры местами не меняют, а подкосы переустанавливают с другой стороны вертикальных стоек опор. Затем устанавливают несущую раму 6 на опоры 4 и закрепляют.

[15]

Для перестановки несущей рамы по длине гусеничной ходовой тележки в каждом положении по ширине ее подвешивают, демонтируют, смещают до соответствующего совмещения отверстий рамы 6 и опор 4 с подкосами 9 и закрепляют болтовыми соединениями.

[16]

Преобразование Г-образных опор в П-образные обеспечивает эксплуатационную надежность самоходному шасси и безопасность перестановок несущей рамы с постоянным оборудованием, а обратное преобразование путем демонтажа вертикальной стойки со вставкой позволяет удовлетворять требованиям железнодорожных перевозок, когда предельный размер по ширине самоходного шасси не должен превышать ширину гусеничной ходовой тележки по внешнему обрезу гусениц. Установка же технологического модуля непосредственно на раму гусеничной ходовой тележки или расположенную в межгусеничном пространстве универсальную раму, присоединительная плоскость которой значительно ниже, чем опорная поверхность несущей рамы с постоянным оборудованием, расширяет возможности для монтажа большего количества технологических модулей. Использование изобретения позволяет обеспечить самоходному шасси на гусеничном ходу, как высвобождаемому мобильному энергомодулю, бóльшую универсализацию за счет расширения пределов функционирования и более широкий спектр свойств гибкой системы, которая затем может быть расширена благодаря соединению с технологическими модулями.

[17]

Источники информации

[18]

1. Комбайн силосоуборочный КСГ-3,2. Инструкция по эксплуатации. - Биробиджан: з-д «Дальсельмаш», 1982. - 125 с.

[19]

2. Комбайн кормоуборочный КСГ-Ф-70. Техническое описание и инструкция по эксплуатации. - Биробиджан: з-д «Дальсельмаш», 1988. - 250 с.

[20]

3. Емельянов A.M., Рябченко В.Н., Липкань А.В. и др. Использование схемы универсального энергетического средства на гусеничном ходу на уборочных работах. // Проблемы комплексной механизации производства и переработки сельскохозяйственной продукции АПК Дальнего Востока / Материалы НПК 11-12 сентября 2002 года, ДальНИПТИМЭСХ. - Благовещенск, 2003. - с.136-146.

[21]

4. Антышев Н.М. Направления ресурсосберегающего развития систем мобильной энергетики. М.: Агропромиздат, 1991. - с.100-102.

[22]

5. Липкань А.В. Основные тенденции развития мобильных энергетических средств и концепция создания почвощадящей мобильной полевой энергетики для земледелия Дальнего Востока. // Проблемы комплексной механизации производства и переработки сельскохозяйственной продукции АПК Дальнего Востока. / Материалы НПК 11-12 сентября 2002 года, ДальНИПТИМЭСХ. - Благовещенск, 2003. - с.106-119.

Как компенсировать расходы
на инновационную разработку
Похожие патенты