патент
№ RU 233301
МПК A47B47/00

Сборно-разборный металлический шкаф

Авторы:
Минибаев Александр Равильевич
Номер заявки
2024138116
Дата подачи заявки
17.12.2024
Опубликовано
15.04.2025
Страна
RU
Как управлять
интеллектуальной собственностью
Чертежи 
3
Реферат

[29]

Полезная модель относится к производству металлической мебели. Для уменьшения металлоемкости шкафа его днище, боковые стенки, задняя стенка, крышка и, по меньшей мере, одна дверь выполнены из тонкостенного стального листа, при этом боковые стенки шкафа имеют ребра жесткости. В боковых стенках выполнены выдавленные наружу вертикальные ребра жесткости и горизонтальные ребра жесткости, образующие непрерывные замкнутые прямоугольные фигуры со скругленными углами. Ребра жесткости расположены по горизонтали и вертикали, сопряжены в угловых зонах фигур и расположены симметрично по всей высоте каждой боковой стенки. Ребра жесткости в виде фигур расположены по высоте с шагом между смежно расположенными горизонтальными ребрами в пределах 200-400 мм, при расстоянии между вертикально расположенными смежными ребрами 250-300 мм, при ширине каждого ребра в пределах 40-70 мм и при толщине боковой стенки в пределах 0,4-0,45 мм. Каждое ребро жесткости выдавлено в наружную сторону от шкафа и имеет в поперечном сечении форму галтели с плавными линиями перехода в плоскость боковой стенки.

Формула изобретения

1. Сборно-разборный металлический шкаф, содержащий соединенные между собой днище, боковые стенки, заднюю стенку, крышку и, по меньшей мере, одну дверь, навешенную на петлях в проеме шкафа, боковые стенки шкафа имеют ребра жесткости, отличающийся тем, что в боковых стенках шкафа выполнены выдавленные наружу вертикальные ребра жесткости и горизонтальные ребра жесткости, образующие непрерывные замкнутые прямоугольные фигуры со скругленными углами, при этом ребра жесткости расположены по горизонтали и вертикали, сопряжены в угловых зонах фигур и расположены симметрично по всей высоте каждой боковой стенки.

2. Сборно-разборный металлический шкаф по п.1, отличающийся тем, что ребра жесткости в виде прямоугольных фигур расположены по высоте с шагом между смежно расположенными горизонтальными ребрами в пределах 200-400 мм, при расстоянии между вертикально расположенными смежными ребрами 250-300 мм, при ширине каждого ребра в пределах 40-70 мм и при толщине боковой стенки в пределах 0,4-0,45 мм, при этом каждое ребро жесткости выдавлено в наружную сторону от шкафа и имеет в поперечном сечении форму галтели с плавными линиями перехода в плоскость боковой стенки.

Описание

[1]

Данный шкаф относится к средствам хранения вещей, инструмента и материалов. Шкаф предназначен для его использования в быту и промышленном производстве, он выполнен из тонких металлических листов путем их резки, гибки, штамповки и соединений элементов шкафа.

[2]

Известны шкафы, изготовленные из металлического листа, каждый из которых содержит днище, боковые и заднюю стенки, крышку и днище соединенные между собой крепежными элементами (RU 21133 U1, 27.12.2001. RU 200265 U1, 15.10.2020. RU 2704707 С1, 30.10.2019).

[3]

Известен металлический шкаф, содержащий боковые стенки, крышку и днище, которые соединены между собой задней стенкой и соединительными элементами в местах примыкания друг к другу, а также выполненную из профилированных левой и правой стоек, верхней и нижней балок лицевую панель в виде прямоугольной рамы, надетой спереди на боковые стенки, крышку и днище, при этом каждая балка лицевой панели имеет в поперечном разрезе форму, включающую верхнюю и нижнюю полки и расположенную между ними стенку. Обращенные друг к другу внутренние полки верхней и нижней балок выполнены короче наружных полок балок и на каждом конце внутренних полок выполнен прямоугольный вырез, в котором расположен конец стойки, каждая стойка лицевой панели имеет в поперечном разрезе L-образную форму с отогнутым наружу крайним концом, причем указанная форма стойки включает широкую боковую стенку с отверстиями в ней для крепления к боковой стенке шкафа, переднюю стенку, расположенную к боковой стенке под углом 90°, узкую боковую стенку, расположенную под углом 90° к передней стенке, и расположенную под углом 90° к боковой стенке узкую переднюю стенку, которая выполнена с отбортовкой, расположенной под утлом 180° к узкой передней стенке, при этом левая и правая стойки и жестко соединенные со стойками профилированные верхняя и нижняя балки образуют дверной проем под навешиваемую в нем дверь. Стойки и балки лицевой панели соединены сваркой в жесткую конструкцию, причем балки и стойки выполнены взаимозаменяемыми, лицевая панель жестко соединена крепежными элементами с боковыми стенками, крышкой и днищем (RU 165411 U1, 20.10.2016).

[4]

Известен шкаф, выполненный в форме прямоугольного параллелепипеда из тонколистового металла, содержащий левую и правую боковые стенки, не менее двух задних стенок, не менее двух дверей, не менее двух потолочин и не менее двух днищ и среднюю стенку, причем боковые и задняя стенки, дверца, потолочина, днище имеют отбортованные на краях ребра жесткости под прямым углом, причем в конструкцию введены не менее двух-четырех пар прямоугольных скоб, причем каждая скоба состоит из поперечины и двух рогов с поперечными сечениями в форме швеллера, рога скоб одним концом полок швеллеров жестко закреплены на концах полок швеллера поперечины скобы, кроме того, у рогов на одинаковых полках швеллеров выполнена упругая отбортовка под прямым углом внутрь рога, и на каждой отбортовке выполнен паз, причем на боковых стенках не менее чем на двух линиях, у их верхнего и нижнего краев, выполнены не менее двух язычков на каждой линии со сквозными отверстиями, кончиками языков вверх и отогнутыми внутрь шкафа на угол 2-50°, кроме того, пазы, выполненные на отбортовках швеллеров рогов, имеют глубину 1,0÷1,5 ширины выступов, а ширина пазов равна или больше другого размера выступов, причем выступы, выполненные на отбортовках потолочины, расположены внутри отверстий язычков, выполненных на верхних краях боковых стенок, кроме того, выступы, выполненные на отбортовках днища, расположены внутри отверстий язычков, выполненных на нижних краях боковых и средней стенок (RU 2486855 С1, 10.07.2013).

[5]

Известен металлический шкаф, содержащий боковые стенки, крышку и днище, которые соединены между собой задней стенкой и соединительными элементами в местах примыкания друг к другу, а также выполненную из профилированных левой и правой стоек, верхней и нижней балок лицевую панель в виде прямоугольной рамы, надетой спереди на боковые стенки, крышку и днище, каждая балка лицевой панели имеет в поперечном разрезе П-образную форму, включающую верхнюю и нижнюю полки и расположенную между ними стенку (GB 1322583 А, 05.10.1970). Данный шкаф не отвечает требованиям прочности, поскольку профили стоек, верхней и нижней балок лицевой панели, а также соединения элементов шкафа не исключают перекосы, влияющие на положение двери в дверном проеме, поскольку П-образные профили стоек имеют сравнительно низкую сопротивляемость нагрузкам.

[6]

Известен металлический шкаф, который содержит корпус, выполненный из соединенных между собой панелей, а также дверную раму, соединенную с корпусом шкафа (DE 202024001348 A, 19.06.2024).

[7]

Известен шкаф, изготовленный из листового металла, содержащий боковые стенки, крышку, днище и заднюю стенку, при этом задняя стенка имеет усиливающую пластину, а верхняя стенка корпуса соединена с боковыми стенками корпуса в единое целое (CN 116965642, 31.10.2023).

[8]

Известен металлический шкаф для хранения документов и других изделий, при этом шкаф содержит корпус, имеющий заднюю панель, боковые панели, прикрепленные к каждой стороне задней панели, и верхнюю и нижнюю панели, которые прикреплены к верхнему и нижнему концам задней панели, соответственно, поперек боковых панелей. Кромки панелей снабжены рамными частями, которые могут входить в зацепление друг с другом (WO 9939611 A1, 19.08.1999).

[9]

Из известных, наиболее близким шкафом к представленному в данном описании шкафу является металлический шкаф, имеющий общие признаки с представленным в данном описании металлическим шкафом, причем оба шкафа характеризуются тем, что каждый из них имеет заднюю, боковые стенки, крышку и днище с отбортовками на концах, дверную раму, соединенную с боковыми стенками днищем и крышкой, при этом задняя, боковые стенки, днище и крышка на концах имеют отбортовки (RU 165411 U1, 20.10.2016 – аналог). Данная компоновка шкафа не в полной мере удовлетворяет требованиям прочности соединений рамы с корпусом шкафа, что оказывает отрицательное влияние на прочность шкафа в целом. Также существенным недостатком прототипа является его сравнительно большая металлоемкость, связанная с тем, что каждая стенка шкафа, выполненная из листового металла, имеет большую площадь, требующую фиксацию листа в проектном положении, однако с целью сокращения технологических операций это задача в основном решается применением в процессе изготовления стенок шкафов путем их утолщения. В результате возникает, во-первых, неоправданная прочность стенок шкафов, а во-вторых, значительное увеличение металлоемкости шкафов.

[10]

Известен металлический шкаф с ребрами жесткости на боковых стенках, задней стенке, дне и потолочины, имеющие П-образной отгиба, при этом ребро жесткости представляет собой коробчатый профиль, в котором по всей длине выполнены отверстия для установки в них опор (RU 21133 U1, 27.06.2003 - прототип). Данная компоновка шкафа не в полной мере удовлетворяет требованиям прочности соединений рамы с корпусом шкафа, что оказывает отрицательное влияние на прочность шкафа в целом. Недостаток этого шкафа также в том, что вертикально ориентированные ребра жесткости стенок шкафа не обеспечивают жесткость стенок шкафа при изгибе стенки в поперечной плоскости.

[11]

Техническим результатом представленного в данном описании шкафа является снижение металлоемкости шкафа и повышение его прочности.

[12]

Технический результат получен сборно-разборным металлическим шкафом, содержащим соединенные между собой днище, боковые стенки, заднюю стенку, крышку и, по меньшей мере, одну дверь, навешенную на петлях в проеме шкафа, при этом боковые стенки шкафа имеют ребра жесткости, причем в боковых стенках шкафа выполнены выдавленные наружу вертикальные ребра жесткости и горизонтальные ребра жесткости, образующие непрерывные замкнутые прямоугольные фигуры со скругленными углами, при этом ребра жесткости расположены по горизонтали и вертикали, сопряжены в угловых зонах фигур и расположены симметрично по всей высоте каждой боковой стенки.

[13]

Ребра жесткости в виде прямоугольных фигур расположены по высоте с шагом между смежно расположенными горизонтальными ребрами в пределах 200-400 мм, при расстоянии между вертикально расположенными смежными ребрами 250-300 мм, при ширине каждого ребра в пределах 40-70 мм и при толщине боковой стенки в пределах 0,4-0,45 мм, при этом каждое ребро жесткости выдавлено в наружную сторону от шкафа и имеет в поперечном сечении форму галтели с плавными линиями перехода в плоскость боковой стенки.

[14]

На фиг.1 показан двухстворчатый шкаф в собранном виде.

[15]

На фиг.2 – шкаф с перегородкой, двери сняты.

[16]

На фиг.3 – верхняя петля шкафа в предмонтажном положении.

[17]

На фиг.4 – нижняя петля шкафа в предмонтажном положении.

[18]

На фиг.5 – шкаф с уставленными в нем петлями.

[19]

На фиг.6 – верхняя петля шкафа в рабочем положении.

[20]

На фиг.7 – нижняя петля шкафа в рабочем положении.

[21]

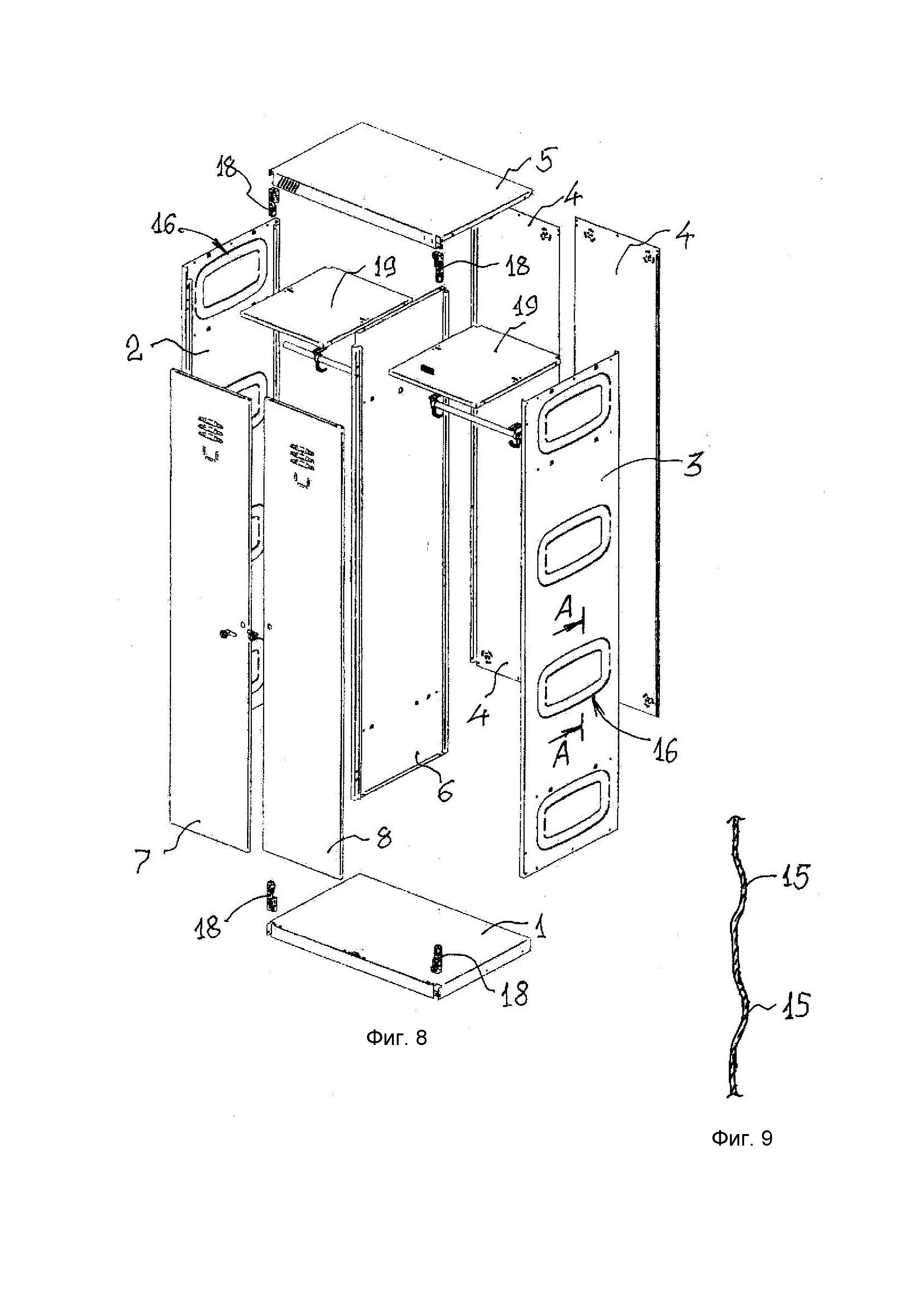
На фиг.8 – части шкафа в разобранном предмонтажном положении.

[22]

На фиг.9 показаны ребра жесткости боковой стенки в их поперечном разрезе по А-А на фиг.8.

[23]

Сборно-разборный металлический шкаф выполнен из отдельных соединенных между собой частей. Он содержит соединенные между собой днище 1, боковые стенки 2 и 3, заднюю стенку 4, а также крышку 5, образующие собой коробчатую конструкцию с дверным проемом, закрытым, по меньшей мере, одной створкой двери.

[24]

На фигурах 1, 2, 3 показан двухстворчатый шкаф, имеющий одну перегородку 6 и две створки 7 и 8 двери. Каждая створка двери навешена в проеме шкафа на петлях 9, закрепленных на несущих нагрузку поперечных элементах 11 и 12 крышки 5 и днища 1, соответственно. Элементы 11 и 12 жестко соединены со стойками 13 и 14, образующими дверной проем шкафа. Стойки соединены с боковыми стенками 2 и 3 шкафа.

[25]

В металлических боковых стенках шкафа выполнены путем холодной штамповки выдавленные наружу по округлой галтельной поверхности R (фиг.9) вертикальные ребра 15 жесткости, и горизонтальные ребра 16 жесткости, образующие замкнутые в виде прямоугольников фигуры со скругленными углами 17. Ребра жесткости расположены по всей высоте каждой боковой стенки шкафа.

[26]

Ребра жесткости в виде прямоугольных фигур расположены по высоте с шагом между смежно расположенными горизонтальными ребрами в пределах 200-400 мм, при расстоянии между вертикально расположенными смежными ребрами 250-300 мм, при ширине каждого ребра в пределах 40-70 мм и при толщине t боковой стенки в пределах 0,4-0,45 мм, при этом каждое ребро жесткости выдавлено в наружную сторону от шкафа и имеет в поперечном сечении форму галтели с плавными линиями перехода в плоскость боковой стенки. Глубина галтели находится в пределах (2-10)t.

[27]

Задняя стенка 4 шкафа выполнена из двух половин для двухстворчатого шкафа. Днище 1 и крышка 5 соединены с боковыми стенками специальными соединительными элементами 18, конструкция которых в данном описании не раскрывается. На фиг.2, 5 ,8 показаны полки 19. Сборка данного шкафа производится известным образом одним сборщиком.

[28]

Технический результат получен благодаря усилению жесткости боковых стенок шкафа ребрами жесткости 15 и 16, расположенными по горизонтали и вертикали в их замкнутом контуре, что позволило уменьшить толщину листа, из которого изготовлены боковые стенки, металлоемкость боковых стенок в пределах 5-10% и повысить жесткость конструкции шкафа.

Как компенсировать расходы
на инновационную разработку
Похожие патенты