Полезная модель относится к техническим средствам службы горючего, в частности к перекачивающим станциям горючего, которые предназначены для перекачки жидких нефтепродуктов в больших объемах, в том числе, из железнодорожных цистерн. Техническая задача полезной модели заключается в обеспечении возможности передвигаться в перегрузочный район в условиях зимнего бездорожья по маршруту, который имеет, в том числе реки, на которых происходит ледостав или ледоход и отсутствуют мосты (переправы), к тому же в сложных метеорологических условиях, и осуществлять перекачку горюче-смазочных материалов из железнодорожных цистерн в наливной транспорт или в резервуары полевого склада горючего, а также осуществлять беспричальную отгрузку горюче-смазочных материалов с морских или речных танкеров (в том числе сопровождаемых судами ледокольного класса) в наливной транспорт или в резервуары полевого склада горючего, при отсутствии причальных сооружений на берегу или при невозможности подхода танкера (ввиду его большой осадки) к береговому причалу. Техническая задача достигается при использовании амфибийной перекачивающей станции горючего на воздушной подушке, содержащей платформу, гибкое ограждение, ходовую рубку, силовую установку, раздаточную коробку, вентиляторы, кузов, барабан большого размера, насос высокой производительности, органы управления насосом и маршевый винт, имеющий лопасти и закрытый кожухом. Техническая задача решена за счет того, что амфибийная перекачивающая станция горючего на воздушной подушке имеет силовую установку, кузов, внутри которого жестко зафиксированы насос с всасывающими и напорными патрубками, приборный щиток, рычаги управления. При этом кузов и силовая установка жестко зафиксированы на платформе, на которой также зафиксирован маршевый винт, имеющий лопасти и закрытый кожухом, ходовая рубка, барабан, выполненный с возможностью вращения вокруг своей оси в горизонтальной плоскости и с возможностью наматывания гибкого резинотканевого трубопровода, при этом на платформе зафиксированы лестницы, поручень и ролик, гибкое ограждение и вентиляторы, выполненные с возможностью нагнетать воздух в гибкое ограждение, при этом насос соединен с раздаточной коробкой карданными валами привода насоса через дисковую муфту сцепления с возможностью получения крутящего момента от силовой установки.
Амфибийная перекачивающая станция горючего на воздушной подушке, содержащая силовую установку, кузов, внутри которого жестко зафиксированы насос с всасывающими и напорными патрубками, приборный щиток, рычаги управления, отличающаяся тем, что кузов и силовая установка жестко зафиксированы на платформе, на которой также зафиксирован маршевый винт, имеющий лопасти и закрытый кожухом, ходовая рубка, барабан, выполненный с возможностью вращения вокруг своей оси в горизонтальной плоскости и с возможностью наматывания гибкого резинотканевого трубопровода, при этом на платформе зафиксированы лестницы, поручень и ролик, гибкое ограждение и вентиляторы, выполненные с возможностью нагнетать воздух в гибкое ограждение, при этом насос соединен с раздаточной коробкой карданными валами привода насоса через дисковую муфту сцепления с возможностью получения крутящего момента от силовой установки.
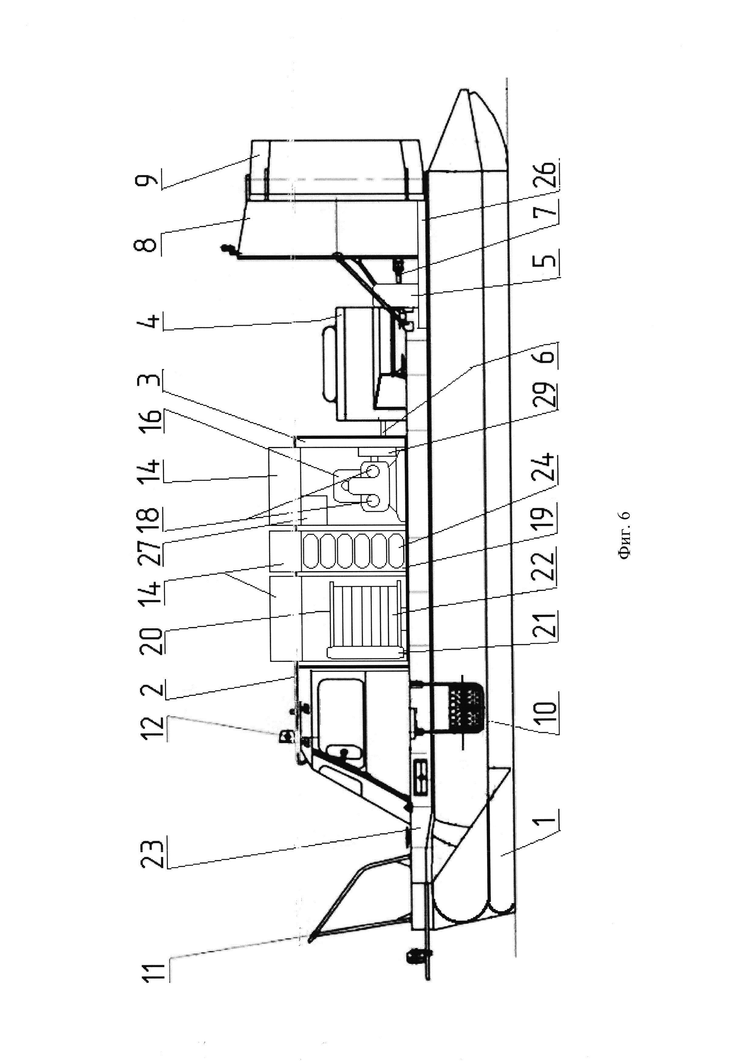
Полезная модель относится к техническим средствам службы горючего, в частности к перекачивающим станциям горючего, которые предназначены для перекачки жидких нефтепродуктов в больших объемах, в том числе, из железнодорожных цистерн. Известны перекачивающие станции горючего ПСГ-75, ПСГ-160 и ПСГ-240, смонтированные на автомобильных базовых шасси и содержащие кабину, кузов, двигатель внутреннего сгорания, коробку отбора мощности, насос перекачки, технологический трубопровод и фильтр. Кузов перекачивающих станций служит для укладки комплекта бензостойких рукавов и запасных частей. В данных перекачивающих станциях горючего насос перекачки жестко закреплен на кронштейне автомобильного базового шасси. («Технические средства службы горючего». Учебник - Л.: ВАТТ, 1980 г.) [1], (Перекачивающая станция горючего ПСГ-160. - М.: Внешторгиздат, 1982 г.) [2], (Руководство по эксплуатации, ремонту и хранению технических средств службы горючего. - М.: Воениздат, 1982 г.) [3], («Эксплуатация средств перекачки, заправки и транспортирования ракетного топлива и горючего». Учебник - М.: Воениздат, 1983 г.) [4], (Технические средства тылового обеспечения. - М.: Воениздат, 2003 г.) [5]. Вышеописанные конструкции имеют общий недостаток, связанный с тем, что они не предназначены для использования в регионах с постоянным высоким снежным покровом ввиду того, что технологическое оборудование смонтировано на автомобильном базовом шасси. Наиболее близкими прототипами являются перекачивающая станция горючего для особых климатических условий (Патент РФ RU №221098 U1 «Перекачивающая станция горючего для особых климатических условий») [6], содержащая кабину и кузов, размещенные на базовом шасси, имеющем лыжи и опорные катки, на которые одета гусеничная лента, а также силовую установку, трансмиссию. При этом насос перекачки высокой производительности и органы управления насосом зафиксированы внутри кузова на базовом шасси, предназначенном для передвижения в регионах с высоким снежным покровом. И перекачивающая станция горючего для особых климатических условий (Патент РФ RU №224533 U1 «Перекачивающая станция горючего для особых климатических условий») [7], которая содержит кузов, силовую установку, трансмиссию, насос перекачки высокой производительности и рычаги управления насосом. При этом насос перекачки высокой производительности и рычаги управления насосом жестко зафиксированы внутри кузова гусеничного плавающего снегоболотоходного базового шасси, предназначенного для движения по снежной целине в условиях зимнего бездорожья, в том числе в сложных метеорологических условиях. Существенными недостатками наиболее близких прототипов являются то, что их не везде можно использовать при передвижении по маршруту в условиях зимнего бездорожья, имеющему также реки, на которых происходит ледостав и ледоход, в том числе в сложных метеорологических условиях, в перегрузочный район для перекачки горюче-смазочных материалов из железнодорожных цистерн в наливной транспорт или в резервуары полевого склада горючего, расположенного на местности с постоянным снежным покровом. Так перекачивающая станция горючего на снегоходном базовом шасси при перемещении может попасть в полынью или трещину. При этом, если вода попадет внутрь двигателя или внутрь электронных блоков некоторых узлов, выполнение поставленной задачи по перемещению в перегрузочный район и перекачке горюче-смазочных материалов ставится под угрозу, а предстоящий ремонт может оказаться достаточно дорогостоящим. А перекачивающая станция горючего для особых климатических условий, которая имеет гусеничное плавающее снегоболотоходное базовое шасси УЗОЛА ЗВМ-2411, относящееся к классу базовых шасси особо высокой проходимости, невозможно использовать во время ледохода, так как она может получить серьезные повреждения, после чего затонуть. Также вышеописанные близкие прототипы невозможно использовать при вынужденной беспричальной отгрузки горюче-смазочных материалов с морских или речных танкеров (в том числе сопровождаемых судами ледокольного класса) в наливной транспорт или в резервуары полевого склада горючего. Эти недостатки существенно влияют на весь комплекс мероприятий, связанный с эксплуатацией перекачивающих станций горючего в регионах с постоянным снежным покровом, имеющих реки, в том числе полноводные. Техническая задача полезной модели заключается в обеспечении возможности передвигаться в перегрузочный район в условиях зимнего бездорожья по маршруту, который имеет, в том числе реки, на которых происходит ледостав или ледоход и отсутствуют мосты (переправы), к тому же в сложных метеорологических условиях, и осуществлять перекачку горюче-смазочных материалов из железнодорожных цистерн в наливной транспорт или в резервуары полевого склада горючего, а также осуществлять беспричальную отгрузку горюче-смазочных материалов с морских или речных танкеров (в том числе сопровождаемых судами ледокольного класса) в наливной транспорт или в резервуары полевого склада горючего, при отсутствии причальных сооружений на берегу или при невозможности подхода танкера (ввиду его большой осадки) к береговому причалу. Техническая задача достигается при использовании амфибийной перекачивающей станции горючего на воздушной подушке, содержащей платформу, гибкое ограждение, ходовую рубку, силовую установку, раздаточную коробку, вентиляторы, кузов, барабан большого размера, насос высокой производительности, органы управления насосом и маршевый винт, имеющий лопасти и закрытый кожухом. Техническая задача решена за счет того, что амфибийная перекачивающая станция горючего на воздушной подушке имеет силовую установку, кузов, внутри которого жестко зафиксированы насос с всасывающими и напорными патрубками, приборный щиток, рычаги управления. При этом кузов и силовая установка жестко зафиксированы на платформе, на которой также зафиксирован маршевый винт, имеющий лопасти и закрытый кожухом, ходовая рубка, барабан, выполненный с возможностью вращения вокруг своей оси в горизонтальной плоскости и с возможностью наматывания гибкого резинотканевого трубопровода, при этом на платформе зафиксированы лестницы, поручень, и ролик, гибкое ограждение и вентиляторы, выполненные с возможностью нагнетать воздух в гибкое ограждение, при этом насос соединен с раздаточной коробкой карданными валами привода насоса через дисковую муфту сцепления с возможностью получения крутящего момента от силовой установки. Амфибийная перекачивающая станция горючего на воздушной подушке поясняется фиг. 1, фиг. 2, фиг. 3, фиг. 4, фиг. 5, фиг. 6, фиг. 7 и фиг. 8. На фиг. 1 представлена амфибийная перекачивающая станция горючего на воздушной подушке вид сбоку, где обозначено: поз. 1 - гибкое ограждение; поз. 2 - ходовая руби а; поз. 3 - кузов; поз. 4 - силовая установка; поз. 5 - раздаточная коробка; поз. 6 - карданный вал привода насоса; поз. 7 - вал; поз. 8 - кожух; поз. 9 - руль; поз. 10 - лестница; поз. 11 - поручень; поз. 12 - фара; поз. 14 - капот; поз. 23 - платформа; поз. 25 - крестовина. На фиг. 2 представлена амфибийная перекачивающая станция горючего на воздушной подушке вид спереди, где обозначено: поз. 1 - гибкое ограждение; поз. 2 - ходовая рубка; поз. 3 - кузов; поз. 8 - кожух; поз. 10 - лестница; поз. 11 - поручень; поз. 12 - фара; поз. 13 - лопасть; поз. 23 - платформа. На фиг. 3 представлена амфибийная перекачивающая станция горючего на воздушной подушке вид сзади, где обозначено: поз. 1 - гибкое ограждение; поз. 3 - кузов; поз. 8 - кожух; поз. 9 - руль; поз. 10 - лестница; поз. 13 - лопасть; поз. 23 - платформа; фиг. 30 - маршевый винт. На фиг. 4 представлена амфибийная перекачивающая станция горючего на воздушной подушке вид сверху, где обозначено: поз. 1 - гибкое ограждение; поз. 2 - ходовая рубка; поз. 3 - кузов; поз. 4 - силовая установка; поз. 5 - раздаточная коробка; поз. 6 - карданный вал привода насоса; поз. 7 - вал; поз. 8 - кожух; поз. 9 - руль; поз. 10 - лестница; поз. 11 - поручень; поз. 12 - фара; поз. 15 - вентилятор; поз. 21 - ролик; поз. 23 - платформа; поз. 25 - крестовина; поз. 26 - глушитель. На фиг. 5 представлена амфибийная перекачивающая станция горючего на воздушной подушке вид справа по ходу движения, капоты открыты, где обозначено: поз. 1 - гибкое ограждение; поз. 2 - ходовая рубка; поз. 3 - кузов; поз. 4 - силовая установка; поз. 5 - раздаточная коробка; поз. 6 - карданный вал привода насоса; поз. 7 - вал; поз. 8 - кожух; поз. 9 - руль; поз. 10 - лестница; поз. 11 - поручень; поз. 12 - фара; поз. 14 - капот; поз. 16 - насос высокой производительности; поз. 17 - напорные патрубки; поз. 19 - место для хранения резинотканевых рукавов; поз. 20 - барабан; поз. 22 - гибкий резинотканевый трубопровод; поз. 23 - платформа; поз. 24 - резинотканевый рукав; поз. 25 - крестовина; позю 27 - приборный щиток; поз. 28 - рычаги управления; поз. 29 - дисковая муфта сцепления. На фиг. 6 представлена амфибийная перекачивающая станция горючего на воздушной подушке вид слева по ходу движения, капоты открыты, где обозначено: поз. 1 - гибкое ограждение; поз. 2 - ходовая рубка; поз. 3 - кузов; поз. 4 - силовая установка; поз. 5 - раздаточная коробка; поз. 6 - карданный вал привода насоса; поз. 7 - вал; поз. 8 - кожух; поз. 9 - руль; поз. 10 - лестница; поз. 11 - поручень; поз. 12 - фара; поз. 14 - капот; поз. 16 - насос высокой производительности; поз. 18 - всасывающие патрубки; поз. 19 - место для хранения резинотканевых рукавов; поз. 20 - барабан; поз. 21 - ролик; поз. 22 - гибкий резинотканевый трубопровод; поз. 23 - платформа; поз. 24 - резинотканевый рукав; поз. 26 - глушитель; поз. 27 - приборный щиток; поз. 29 - дисковая муфта сцепления. На фиг. 7 представлена амфибийная перекачивающая станция горючего на воздушной подушке вид сверху, кузов в разрезе, где обозначено: поз. 1 - гибкое ограждение; поз. 2 - ходовая рубка; поз. 3 - кузов; поз. 4 - силовая установка; поз. 5 - раздаточная коробка; поз. 6 - карданный вал привода насоса; поз. 7 - вал; поз. 8 - кожух; поз. 9 - руль; поз. 10 - лестница; поз. 11 - поручень; поз. 12 - фара; поз. 15 - вентилятор; поз. 16 - насос высокой производительности; поз. 17 - напорные патрубки; поз. 18 - всасывающие патрубки; поз. 19 - место для хранения резинотканевых рукавов; поз. 20 - барабан; поз. 21 - ролик; поз. 23 - платформа; поз. 24 - резинотканевый рукав; поз. 25 - крестовина; поз. 26 - глушитель; поз. 27 - приборный щиток; поз. 28 - рычаги управления; поз. 29 - дисковая муфта сцепления. На фиг. 8 представлен процесс разматывания гибкого резинотканевого трубопровода, зафиксированного к речному или морскому танкеру в процессе движения амфибийной перекачивающей станции горючего на воздушной подушке вид сверху, кузов в разрезе, где обозначено: поз. 1 - гибкое ограждение; поз. 2 - ходовая рубка; поз. 3 - кузов; поз. 4 - силовая установка; поз. 5 -раздаточная коробка; поз. 6 - карданный вал привода насоса; поз. 7 - вал; поз. 8 - кожух; поз. 9 - руль; поз. 10 - лестница; поз. 11 - поручень; поз. 12 - фара; поз. 15 - вентилятор; поз. 16 - насос высокой производительности; поз. 17 - напорные патрубки; поз. 18 - всасывающие патрубки; поз. 19 - место для хранения резинотканевых рукавов; поз. 20 - барабан; поз. 21 - ролик; поз. 22 - гибкий резинотканевый трубопровод; поз. 23 - платформа; поз. 24 - резинотканевый рукав; поз. 25 - крестовина; поз. 26 - глушитель; поз. 27 - приборный щиток; поз. 28 - рычаги управления; поз. 29 - дисковая муфта сцепления. Амфибийная перекачивающая станция горючего на воздушной подушке содержит платформу (23) на которой сверху зафиксированы: ходовая рубка (2), кузов (3) с капотами (14), силовая установка (4), глушитель (26), раздаточная коробка (5), лестницы (1С), поручень (11), вентиляторы (15), ролик (21) и кожух (8) с рулями (9), внутри которого вращаются лопасти (13) маршевого винта (30). Внутри кузов (3) разделен на три отсека, в первом (ближнем к силовой установке (4)) зафиксированы дисковая муфта сцепления (29), насос высокой производительности (16) с напорными патрубками (17) и всасывающими патрубками (18), приборный щиток (27) и рычаги управления (28). Средний отсек является местом для хранения резинотканевых рукавов (19), внутри которого на стеллажах размещаются резинотканевые рукава (24). В третьем отсеке (ближе к ходовой рубке (2)) зафиксирован барабан (20), выполненный с возможностью вращения вокруг своей оси в горизонтальной плоскости, на который наматывается гибкий резинотканевый трубопровод (22). Насос высокой производительности (16) соединен с раздаточной коробкой (5) карданными валами привода насоса (6) через дисковую муфту сцепления (29). На ходовой рубке (2) зафиксированы фары (12). В задней части платформы (23) амфибийной перекачивающей станции горючего на воздушной подушке за силовой установкой (4) размещен кожух (8) внутри которого вращаются лопасти (13) маршевого винта (30), а сзади на кожухе (8) зафиксированы рули (9). Воздушная подушка - это слой сжатого воздуха под платформой (23) данной перекачивающей станции горючего, приподнимающий ее над поверхностью воды или земли. Отсутствие трения о поверхность позволяет снизить сопротивление движению. От высоты подъема зависит способность амфибийной перекачивающей станции горючего на воздушной подушке форсировать различные препятствия на суше, волны на воде, проходя над ними и реки на которых происходит ледостав и ледоход и отсутствуют мосты (переправы) («Судно на воздушной подушке» [Электронный ресурс]: https://ru.wikipedia.org/wiki/судно_на_воздушной_подушке) [8]. Воздушная подушка данной перекачивающей станции горючего образуется камерным способом, при котором воздух, нагнетаемый вентиляторами (15) под куполообразное днище, которое накрыто гибким ограждением (1), свободно вытекает по его периметру, и чем больше подача воздуха, тем выше поднимается данная перекачивающая станция горючего. Амфибийная перекачивающая станция горючего на воздушной подушке может скользить по воде, снегу, льду, сильно заболоченной местности, используя тяговые способности вращающихся на большой скорости лопастей (13) маршевого винта (30). При этом водитель включает раздаточную коробку (5) в положение, при котором крутящий момент передается от силовой установки (4) на маршевый винт (30) через вал (7). Рули (9), установленные на кожухе (8) кормовой части, поворачиваясь позволяют толкать вышеописанную перекачивающую станцию горючего в нужную сторону. Предлагается, что экипаж амфибийной перекачивающей станции горючего на воздушной подушке будет составлять два человека, водитель и оператор насосной установки. Амфибийная перекачивающая станция горючего на воздушной подушке работает следующим образом: при получении сигнала о необходимости произвести перекачку жидких нефтепродуктов в указанном перегрузочном районе, амфибийная перекачивающая станция горючего на воздушной подушке выдвигается по кратчайшему маршруту, на местности, имеющей постоянный высокий снежный покров, в том числе по маршруту, имеющему реки, на которых происходит ледостав или ледоход и отсутствуют мосты (переправы), даже в сложных метеорологических условиях. Предполагается, что данная перекачивающая станция горючего передвигаясь к назначенному перегрузочному району, по вышеуказанному маршруту затрачивает наименьшее время в пути. При том, что прототипные перекачивающие станции горючего, в отличие от вышеупомянутой не могут передвигаться и достичь назначенного места выполнения задачи в кратчайшие сроки без изменения (удлинения) маршрута передвижения, если на реках происходит ледостав и ледоход. Далее после подъезда к железнодорожной цистерне в назначенном перегрузочном районе оператор насосной установки открывает капоты (14) кузова (3) данной перекачивающей станций горючего. Далее насос высокой производительности (16) подсоединяется через резинотканевый рукав (24) к железнодорожной цистерне, при этом железнодорожная цистерна через резинотканевый рукав (24) подсоединяется к всасывающим патрубкам (18) насоса высокой производительности (16), а с другой стороны вышеуказанной перекачивающей станции горючего резинотканевый рукав (24) подсоединяется к напорным патрубкам (17) этого насоса (16) для перекачки горюче-смазочных материалов в наливной транспорт или в резервуары полевого склада горючего. После чего водитель, переключая раздаточную коробку (5) переводит крутящий момент, передаваемый от силовой установки (4) на вал (7) маршевого винта (30), на дисковую муфту сцепления (29) через карданные валы привода насоса (6). После чего крутящий момент начинает передаваться от силовой установки (4) через карданные валы приводи насоса (6), при этом между карданными валами привода насоса (6) расположены крестовины (25), которые помогают сопрягать данные вращающиеся валы (6) под углом друг к другу. При помощи крестовин (25) обеспечивается эффективная работа вышеописанных карданных валов (6) привода насоса высокой производительности (16), расположенных под углом. После чего оператор насосной установки при помощи одного из рычагов управления (28) включает дисковую муфту сцепления (29), что приводит в рабочее состояние наос высокой производительности (16). Затем он контролирует основные показатели работоспособности данного насоса (16) с помощью приборного щитка (27), а при помощи рычагов управления (28) регулирует показатели работоспособности насоса высокой производительности (16). После перекачки жидких горюче-смазочных материалов от всасывающих (18) и напорных (17) патрубков насоса высокой производительности (16) отсоединяются резинотканевые рукава (24) и укладываются на штатное место их хранения (19) внутри кузова (3). После чего амфибийная перекачивающая станция горючего на воздушной подушке перемещается в другой перегрузочный район или к месту стоянки. В случае необходимости произвести отгрузку горюче-смазочных материалов из речного или морского танкера беспричальным способом амфибийная перекачивающая станция горючего перемещается к речному (морскому) танкеру по водной поверхности (либо по льду, при этом танкер с большой долей вероятности сопровождается судном ледокольного класса, а вышеописанная перекачивающая станция горючего может подойти к танкеру даже по расколотому льду). Оператор насосной установки, придерживаясь за поручень (11), перемещается по платформе (23) из ходовой рубки (2) к кузову (3). Открывает капот (14), за которым находится барабан (20) с намотанным гибким резинотканевым трубопроводом (22). Затем он берет конец гибкого резинотканевого трубопровода (22) и подает его на танкер для последующего его подключения к патрубку танкера, а гибкий резинотканевый трубопровод (22) закладывается за ролик (21) для того, чтобы при отплытии от танкера гибкий резинотканевый трубопровод (22) не повредился при разматывании по инерции или не повредил какое-либо навесное оборудование данной перекачивающей станции горючего. При отплытии от танкера амфибийной перекачивающей станции горючего на воздушной подушке гибкий резинотканевый трубопровод (22) разматывается с барабана (20) по инерции (см. фигура 8) и остается на льду (либо поверхности воды). При выходе данной перекачивающей станции горючего на берег другой конец гибкого резинотканевого трубопровода (22) подсоединяется к всасывающим патрубкам (18) насоса высокой производительности (16), а с другой стороны вышеуказанной перекачивающей станции горючего резинотканевый рукав (24) подсоединяется к напорным патрубкам (17) этого насоса (16) для перекачки горюче-смазочных материалов из танкера в наливной транспорт или в резервуары полевого склада горючего. После перекачки жидких горюче-смазочных материалов от напорных патрубков (17) насоса высокой производительности (16) отсоединяются резинотканевые рукава (24) и укладываются на штатное место их хранения (19) внутри кузова (3), а от всасывающих патрубков (18) отсоединяется конец гибкого резинотканевого трубопровода (22) и наматывается на барабан (20). При этом барабан (20) для укладки гибкого резинотканевого трубопровода (22) имеет электропривод, который получает питание от генератора силовой установки (4) и вращается, наматывая гибкий резинотканевый трубопровод (22) при перемещении амфибийной перекачивающей станции горючего на воздушной подушке обратно к танкеру для отсоединения другого конца гибкого резинотканевого трубопровода (22) от патрубка танкера. В качестве насоса высокой производительности (16) предлагается использовать как вариант центробежный насос ЦН-500/65. Фара (12), зафиксированная на ходовой рубке (2), предназначена для дополнительного освещения местности перед амфибийной перекачивающей станцией горючего на воздушной подушке при перемещении в темное время суток. Лестницы (10) необходимы для подъема с поверхности льда или земли на платформу (23) амфибийной перекачивающей станции горючего на воздушной подушке. Сборка амфибийной перекачивающей станции горючего на воздушной подушке предусматривает предварительную установку и жесткую фиксацию кузова (3) сверху центральной части платформы (23). Затем внутри кузова (3) в первый отсек (ближний к силовой установке (4)) устанавливаются насос высокой производительности (16), приборный щиток (27), рычаги управления (28) и дисковая муфта сцепления (29). В среднем отсеке фиксируются стеллажи для хранения резинотканевых рукавов (24), а в третьем отсеке (ближе к ходовой рубке (2)) устанавливается барабан (20), выполненный с возможностью вращения вокруг своей оси в горизонтальной плоскости, на который наматывается гибкий резинотканевый трубопровод (22). Затем на платформу (23), устанавливается и жестко фиксируется ходовая рубка (2), поручень (11), лестницы (10), ролик (21), силовая установка (4), глушитель (26), раздаточная коробка (5), вентиляторы (15) и лопасти (13) маршевого винта (30), который закрывается кожухом (8), имеющим рули (9). Таким образом, представленная амфибийная перекачивающая станция горючего на воздушной подушке имеет сравнительно простую и надежную конструкцию, обладает новизной и новыми техническими характеристиками и существенно отличается от прототипов обеспечивая возможность передвигаться в перегрузочный район в условиях зимнего бездорожья по маршруту, имеющему, в том числе реки, на которых происходит ледостав или ледоход и отсутствуют мосты (переправы), к тому же в сложных метеорологических условиях, и осуществлять перекачку горюче-смазочных материалов из железнодорожных цистерн в наливной транспорт или в резервуары полевого склада горючего, а также осуществлять беспричальную отгрузку горюче-смазочных материалов из морских или речных танкеров (в том числе сопровождаемых судами ледокольного класса) в наливной транспорт или в резервуары полевого склада горючего, при отсутствии причальных сооружений на берегу или при невозможности подхода танкера (ввиду его большой осадки) к береговому причалу. Данная амфибийная перекачивающая станция горючего на воздушной подушке может применяться в тыловых подразделениях Министерства обороны или других силовых структур в полевых условиях на местности с постоянным высоким снежным покровом, при передвижении по маршруту, имеющему, в том числе реки, на которых может происходить ледостав или ледоход и отсутствуют мосты (переправы) для перекачки горючего-смазочных материалов в перегрузочном районе из железнодорожных цистерн в наличный транспорт или в резервуары полевого склада горючего или для беспричальной отгрузки горюче-смазочных материалов из речных или морских танкеров также в наливной транспорт или резервуары полевого склада горючего, в том числе в сложных метеорологических условиях. Список использованной литературы: 1. Технические средства службы горючего. Учебник - Л.: ВАТТ, 1980 г.; 2. Перекачивающая станция горючего ПСГ-160. - М.: Внешторгиздат, 1982 г.; 3. Руководство по эксплуатации, ремонту и хранению технических средств службы горючего. - М.: Воениздат, 1982 г.; 4. Эксплуатация средств перекачки, заправки и транспортирования ракетного топлива и горючего. Учебник - М.: Воениздат, 1983 г.; 5. Технические средства тылового обеспечения. - М.: Воениздат, 2003 г.; 6. Патент РФ RU №221098 U1 «Перекачивающая станция горючего для особых климатических условий»; 7. Патент РФ RU № 224533 U1 «Перекачивающая станция горючего для особых климатических условий»; 8. «Судно на воздушной подушке» [Электронный ресурс]: https://ru.wikipedia.org/wiki/Судно_на_воздушной_подушке.