Полезная модель относится к транспортному машиностроению, является продукцией двойного назначения, предназначена для перевозки нефтепродуктов и групповой заправки с одной установки от двух до шести единиц специальной техники в полевых условиях. Для групповой заправки техники топливом: а) применены два раздаточных поста с правой и с левой стороны по ходу движения транспортного шасси, соединенные рукавами с напорно-регулирующей аппаратурой насосного блока автоцистерны; б) размещены сменные переносные емкости с горюче-смазочными материалами для автономного обслуживания малогабаритной техники. Машина оборудуется эффективными средствами пассивной защиты от пуле-взрывного поражения, а именно навесными броневыми листами по бокам резервуара автоцистерны и моторного отсека транспортного шасси с кабиной, броневым колпаком с противодроновой решеткой над кабиной транспортного шасси с экипажем и технологической секцией управления заправкой техники. Топливозаправщик хорошо маскируется каркасным тентом под грузовую военную машину и при движении на местности скрыт от визуальной идентификации в качестве огнеопасного транспортного средства.
Топливозаправщик для групповой заправки техники, включающий колесное транспортное шасси повышенной проходимости, установленный на шасси резервуар автоцистерны, оборудованный сигнально-регулирующей аппаратурой в смотровых горловинах; съемные листы броневого укрытия по периметру боковой поверхности резервуара автоцистерны, дверей кабины и капота над моторным отсеком, закрепленные шпильками на резервуаре автоцистерны и на кабине транспортного шасси; съемные листы броневого укрытия лобовых стекол и окон на дверях кабины транспортного шасси, прикрепленные к каркасу кабины на откидных петлях; противодроновый броневой колпак над кабиной с металлической решеткой защиты кабины сверху; средства пожаротушения и защиту от статического электричества, тентовое укрытие резервуара автоцистерны на съемном металлическом каркасе, отличающийся тем, что на раме транспортного шасси сверху между кабиной и резервуаром автоцистерны смонтирован металлический ящик технологического блока управления раздачей топлива, разделенный внутренней перегородкой на две секции; в секции слева смонтировано оборудование управления напорно-раздаточной аппаратурой, включающее напорный трубопровод насоса автоцистерны, кран переключения потоков топлива между заправочными постами, фильтры тонкой очистки и счетчики расхода топлива, пускорегулирующую автоматику и сигнализаторы с дежурным освещением; в секции справа организованы стеллажи для переносных канистр с ГСМ; левая и правая секции оборудованы боковыми дверями на петлях с установленными на них уплотнениями и металлическими фиксаторами в положениях открыто-заперто, под секциями с обоих сторон прикреплены опорные площадки обслуживания в противоскользящем исполнении; под левой секцией сбоку на раме транспортного шасси болтами с гайками прикреплен боковой ящик левого заправочного поста, под правой секцией сбоку на раме транспортного шасси болтами с гайками прикреплен боковой ящик правого заправочного поста; внутри бокового ящика левого и правого заправочных постов установлены однотипные напорные трубопроводы с краном отсечки топлива, барабаны с намоткой раздаточного рукава, топливозаправочные пистолеты в транспортном положении; боковые ящики левого и правого заправочных постов оборудованы откидывающимися вниз крышками с установленными на них уплотнениями и металлическими фиксаторами положения открыто-заперто.
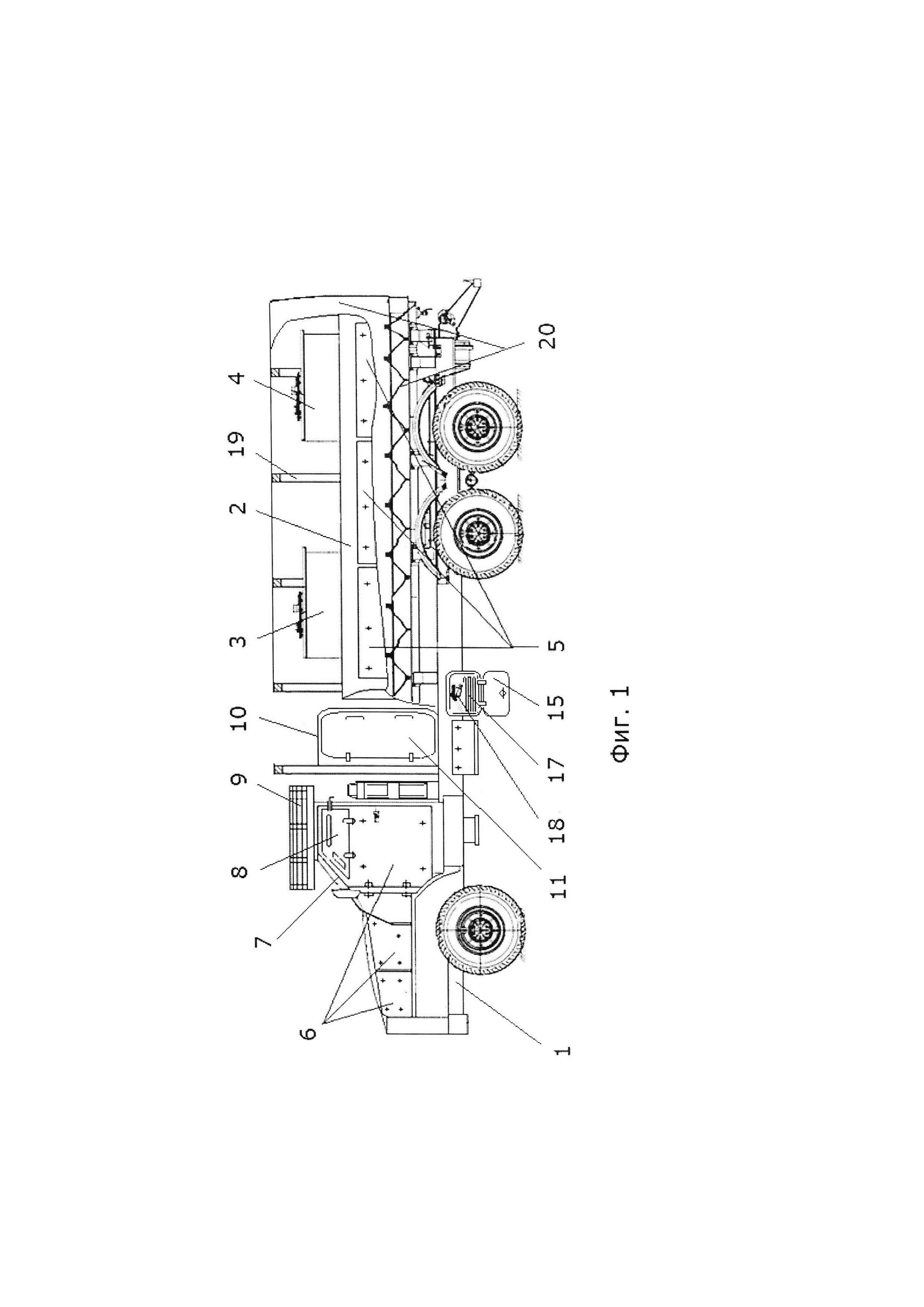
Полезная модель относится к транспортному машиностроению, является продукцией двойного назначения, предназначена для перевозки нефтепродуктов и групповой заправки с одной установки от двух до шести единиц специальной техники в полевых условиях. Для групповой заправки техники топливом на топливозаправщике: а) установлены два раздаточных поста с правой и левой стороны по ходу движения шасси транспортного средства, соединенные рукавами с напорно-регулирующей аппаратурой насосного блока автоцистерны; б) применены сменные переносные емкости с горюче-смазочными материалами для автономного обслуживания малогабаритной техники. Машина оборудуется эффективными средствами пассивной защиты от пуле-взрывного поражения, а именно, навесными броневыми листами по бокам резервуара автоцистерны и моторного отсека транспортного шасси с кабиной, броневым колпаком с противодроновой решеткой над кабиной транспортного шасси с экипажем и технологической секцией управления заправкой техники. Топливозаправщик маскируется каркасным тентом под грузовую военную машину и при движении в колонне скрыт от визуальной идентификации в качестве огнеопасного транспортного средства. Целью настоящей полезной модели является достижение технического результата по снижению вероятности обнаружения и поражения топливозаправщика и обслуживаемой им техники на стоянке за счет двукратного сокращения продолжительности заправочных процедур в условиях специальных операций. Техническая задача решается путем оборудования автоцистерны для специальных операций (см. Авторское свидетельство № 226 725 U1; В60Р 3/24, В60Р 7/02, F41H 3/00; 14.03.2024) и автотопливозаправщика с противодроновой защитой (см. Авторское свидетельство № 229 610 U1; В60Р 3/22, В60Р 7/02, F41H 5/013, F41H 7/02; 28.05.2024) двумя заправочными постами для заправки группы больших боевых машин в условиях специальных операциях, а также оборотными - сменными переносными емкостями с горюче-смазочными материалами для малогабаритной техники. Технический результат достигается за счет того, что на базе транспортной автоцистерны для специальных операций изготавливается топливозаправщик для групповой заправки техники, включающий колесное транспортное шасси, установленный на шасси резервуар автоцистерны, оборудованный сигнально-регулирующей аппаратурой в смотровых горловинах; съемные листы броневого укрытия по периметру боковой поверхности резервуара автоцистерны, дверей кабины и капота над моторным отсеком, закрепленные шпильками на резервуаре автоцистерны и на кабине транспортного шасси; съемные листы броневого укрытия лобовых стекол и окон на дверях кабины транспортного шасси, прикрепленные к каркасу кабины на откидных петлях; противодроновый броневой колпак над кабиной с металлической решеткой защиты кабины сверху; средства пожаротушения и защиту от статического электричества, тентовое укрытие резервуара автоцистерны на съемном металлическом каркасе, отличающийся тем, что на раме транспортного шасси сверху между кабиной и резервуаром автоцистерны смонтирован металлический ящик технологического блока управления раздачей топлива, разделенный внутренней перегородкой на две секции: в секции слева смонтировано оборудование управления напорно-раздаточной аппаратурой, включающее напорный трубопровод насоса автоцистерны, кран переключения потоков топлива между заправочными постами, фильтры тонкой очистки и счетчики расхода топлива, пускорегулирующую автоматику и сигнализаторы с дежурным освещением; в секции справа организованы стеллажи для переносных канистр; левая и правая секции оборудованы боковыми дверями на петлях с установленными на них уплотнениями и металлическими фиксаторами положения открыто-заперто, для обслуживания оборудования под секциями с обеих сторон прикреплены опорные площадки в противоскользящем исполнении; под левой секцией сбоку на раме транспортного шасси болтами с гайками прикреплен боковой ящик левого заправочного поста, под правой секцией сбоку на раме транспортного шасси болтами с гайками прикреплен боковой ящик правого заправочного поста; внутри бокового ящика левого и правого заправочных постов установлены однотипные напорные трубопроводы с краном отсечки топлива, барабаны с намоткой раздаточного рукава, топливозаправочные пистолеты в транспортном положении; боковые ящики левого и правого заправочных постов оборудованы откидывающимися вниз крышками с установленными на них уплотнениями и металлическими фиксаторами положения открыто-заперто. Полезная модель поясняется графическими материалами: фиг. 1 - вид топливозаправщика для группой заправки техники с левой стороны по ходу транспортного шасси; фиг. 2 - вид топливозаправщика для группой заправки техники с правой стороны по ходу транспортного шасси; фиг. 3-5 - практические виды топливозаправщика для группой заправки техники: 1 - колесное транспортное шасси повышенной проходимости; 2 - резервуар автоцистерны; 3, 4 - смотровые горловины, оборудованные сигнально-регулирующей аппаратурой; 5 - съемные листы броневого укрытия боковой поверхности резервуара автоцистерны; 6 - съемные листы броневого укрытия дверей кабины и капота над моторным отсеком; 7 - съемные листы броневого укрытия лобовых стекол; 8 - съемные листы броневого укрытия окон кабины; 9 - противодроновый броневой колпак с металлической решеткой защиты кабины сверху; 10 - технологический ящик металлический, двухсекционный; 11 - слева секция управления оборудованием напорно-раздаточной аппаратуры; 12 - справа секция стеллажей для перевозки горюче-смазочных материалов в переносных канистрах; 13 - переносная канистра (образец); 14 - опорная площадка; 15 - боковой ящик левого заправочного поста; 16 - боковой ящик правого заправочного поста; 17 - барабан с намоткой топливораздаточного рукава, 18 - топливозаправочный пистолет; 19 - дуга каркаса тентового укрытия над резервуаром автоцистерны; 20 - тентовое укрытие над резервуаром автоцистерны; 21 - секция тентового укрытия над технологическим ящиком блока управления раздачей топлива; 22 - заземление автоцистерны; 23 - типовой топливораздаточный рукав с топливозаправочным пистолетом; 24 - развернутый рукав левого заправочного поста на автоцистерне для специальных операций; 25 - развернутый рукав правого заправочного поста на автотопливозаправщике с противодроновой защитой. Полезная модель изготовлена на машиностроительном предприятии, специализирующемся в производстве автоспецтехники хозяйственного назначения. На шасси колесного транспортного средства 1 в капотном исполнении установлен надрамник с ложементами. К ложементам прикреплен стяжными лентами герметичный металлический резервуар автоцистерны 2 с приварными смотровыми горловинами 3, 4. На горловинах смонтирована сигнально-регулирующая аппаратура внутреннего давления в резервуаре автоцистерны и защитные короба вокруг смотровых горловин. По бокам резервуара автоцистерны 2 установлены съемные листы 5 броневого укрытия резервуара автоцистерны и фиксируются на шпильках с зазором над поверхностью резервуара гайками с пружинными шайбами. На капот моторного отсека и к дверям кабины гайками на шпильках прикреплены съемные листы 6 броневого укрытия дверей кабины и капота. Листы 7 броневого укрытия лобовых стекол кабины и остекления 8 на дверях кабины транспортного шасси изготовлены со смотровыми щелями для визуального контроля обстановки экипажем и крепятся к каркасу кабины на откидных петлях. Сверху на кабине транспортного шасси смонтирован противодроновый броневой колпак 9 с металлической решеткой защиты кабины сверху от FPV-снарядов. Металлическая решетка над противодроновым колпаком надежно прикрывает проекции зон, где размещается экипаж, возимый ими боекомплект и технологическое оборудование за кабиной транспортного шасси. Между кабиной и резервуаром автоцистерны на раме транспортного шасси сверху смонтирован технологический металлический ящик 10 блока управления раздачей топлива. Ящик 10 разделен внутренней перегородкой на две секции. Слева оборудована секция 11 управления напорно-раздаточным оборудованием, включающая: напорный трубопровод от насоса автоцистерны, кран переключения потоков топлива между заправочными постами, фильтры тонкой очистки и счетчики расхода топлива, а также пускорегулирующую автоматику и сигнализаторы режимов работы с дежурным освещением. Справа оборудована секция 12 стеллажей для перевозки горюче-смазочных материалов в переносных канистрах. На фиг. 2 приведен образец 13 канистры для возимого объема горюче-смазочных материалов. Левая 11 и правая 12 секции оборудованы боковыми дверями на петлях с установленными на них уплотнениями и металлическими фиксаторами положения открыто-заперто. Для обслуживания оборудования под секциями с обеих сторон прикреплены опорные площадки 14 в противоскользящем исполнении. Под левой секцией сбоку на раме транспортного шасси болтами с гайками прикреплен боковой ящик 15 левого заправочного поста, под правой секцией сбоку на раме транспортного шасси болтами с гайками прикреплен боковой ящик правого заправочного поста 16. Боковые ящики левого и правого заправочных постов конструктивно подобны. В них установлены однотипные напорные трубопроводы с ручным краном отсечки топлива между напорным трубопроводом от насоса и топливным баком заправленной техники, барабаны 17 с намоткой раздаточного рукава, топливозаправочные пистолеты 18 в транспортном положении. Боковые ящики левого 15 и правого 16 заправочных постов оборудованы откидывающимися вниз крышками с установленными на них уплотнениями и металлическими фиксаторами дверей в положениях открыто-заперто. На ложементах подрамника под резервуаром цистерны приварены цилиндрические опоры, в которых устанавливаются и фиксируются дуги 19 каркаса тентового укрытия топливозаправщика. На каркас 19 сверху и вдоль боковых сторон резервуара автоцистерны растягивается брезентовый тент. Тент скрепляется с угловыми стойками каркаса и фиксируется шнуровкой по нижнему периметру укрытия. Тент укрытия составной, включает: а) сплошное брезентовое полотно 20 над резервуаром автоцистерны крепится горизонтальной шнуровкой нижнего края полотна к раме каркаса укрытия; б) участок брезентового полотна 21 над технологическим ящиком управления заправкой, закрепляемый шнуровкой на передних стойках каркаса тентового укрытия. Топливозаправщик групповой заправки техники оборудован средствами пожаротушения по международным стандартам и в соответствии с требованиями Министерства обороны. На топливозаправщике установлено устройство 22 защиты автоцистерны (тип УЗА) от статического электричества. Топливозаправщик для групповой заправки техники предназначен для заправки техники одним видом топлива. Технология наполнения резервуара автоцистерны 2 топливом аналогична с автотопливозаправщиками обычного исполнения. Операция наполнения нижняя, в случае опасности поражения может завершаться экипажем под защитой противодронового укрытия. Экипаж топливозаправщика для групповой заправки техники может управлять наполнением и топливозаправочными операциями с земли или с подножки кабины транспортного шасси, находясь под защитой броневого колпака с противодроновой решеткой. Для заправки в полевых условиях топливозаправщик для групповой заправки техники устанавливается на ровной опорной поверхности. На автоцистерну 2 накладывается заземление 22 для съема статического электричества. Дозированная выдача нефтепродуктов производится без специальной подготовки, не расчехляя тент укрытия. Командир группы заправляемой техники назначает расстановку машин с левой и с правой стороны от заправочных постов 15, 16 с минимально возможным расстоянием между топливными баками в группе. Экипаж топливозаправщика разматывает топливораздаточные рукава 23 и с заправочными пистолетами 18 передает механикам первых заправляемых в группе машин (см. фиг. 3, 4). По окончании заполнения топливных баков своих машин механики передают заправочные пистолеты следующим экипажам, перемещая следом топливозаправочные рукава. Переносные объемы ГСМ в канистрах предаются в группу обслуживания малогабаритной военной техники по процедурам, определенным старшим командиром и, как правило, в обмен на возвратную тару или возимый ЗИП. В походном положении топливозаправщик для групповой заправки техники маскируется под грузовую военную машину и при движении в колонне визуально не обнаруживает себя как огнеопасное транспортное средство (см. фиг. 5). При огневом воздействии диверсионно-разведывательных групп и обстрелах на марше экипаж закрывает световые проемы откидными листами броневого укрытия стекол кабины и продолжает движение, контролируя через смотровые щели обстановку, и выполняет указания вышестоящего командира. Первые топливозаправщики для групповой заправки техники были изготовлены и опробованы в полевых условиях на автомобильном шасси повышенной проходимости капотного Урал и бескапотного КАМАЗ типа. Например, на фиг. 4 показаны автоцистерна для специальных операций с левым 24 и автотопливозаправщик с противодроновой защитой с правым 25 развернутыми навстречу друг-другу заправочными рукавами. Испытания подтвердили ключевое преимущество топливозаправщика для групповой заправки техники, а именно, двукратное сокращение времени заправочных процедур за счет одномоментной заправки двух единиц техники и сокращения потерь времени на размотку-смотку топливозаправочных рукавов. В боевых условиях сокращение заправочных процедур снижает вероятность обнаружения и поражения техники при обслуживании. Топливозаправщик для групповой заправки техники может быть изготовлен на машиностроительных заводах, специализирующихся на производстве надстроек на транспортном шасси, где эту машину возможно сделать по чертежам, качественно, с минимальными трудовыми и денежными затратами. Ремонт и замена элементов топливозаправщика для групповой заправки техники может производиться: а) в полевых условиях по документации производителя, б) ремонтными службами по восстановлению боевой техники по образцам, в) в механических мастерских на гражданских предприятиях при наличии подготовленных специалистов.