Полезная модель относится к устройствам для размещения, хранения, зарядки и распределения, т.е. получения индивидуального доступа к пользовательским устройствам, предпочтительно – к устройствам мобильной связи, с целью, например, их тестирования. Шкаф для хранения, зарядки и распределения пользовательских устройств обеспечивает приём от пользователей, удалённое конфигурирование, учёт, хранение и выдачу мобильных устройств пользователям, включая планирование и контроль оборота мобильных устройств, дистанционное обслуживание аккумуляторов, идентификацию пользователей, выдачу мобильных устройств пользователям и приём их от пользователей. Шкаф содержит служебный модуль, содержащий основной компьютер, вспомогательный компьютер, сенсорный экран с пользовательским интерфейсом, устройство идентификации пользователя и блок питания, и по меньшей мере одну ячейку, выполненную с возможностью хранения, зарядки и распределения пользовательского устройства, содержащую контроллер ячейки, причём контроллер ячейки имеет два выхода для подключения устройства, одним из выходов является USB Type-C, а другим - USB Type-A, а шина USB выполнена с возможностью автоматической коммутации между основным компьютером, вспомогательным компьютером, а также сетевым адаптером с целью предоставления доступа к сети для удалённого управления устройством, находящимся в ячейке; при этом по меньшей мере одна ячейка выполнена с подключёнными к микроконтроллеру индивидуальной электромеханической защёлкой-замком ячейки, датчиком температуры, выполненным с возможностью осуществлять контроль температуры внутри ячейки, и вентилятором, обеспечивающим активное охлаждение внутри ячейки.
1. Шкаф для хранения, зарядки и распределения пользовательских устройств, содержащий служебный модуль, содержащий основной компьютер, осуществляющий управление зарядкой, коммутацией и распределением устройств, вспомогательный компьютер, осуществляющий управление зарядкой, коммутацией и распределением устройств, управляющихся операционной системой, отличной от операционной системы основного компьютера, сенсорный экран с пользовательским интерфейсом, устройство идентификации пользователя и блок питания; и по меньшей мере одну ячейку, выполненную с возможностью хранения, зарядки и распределения пользовательского устройства, содержащую контроллер ячейки, причём контроллер ячейки имеет первый выход и второй выход для подключения устройства, и выполненный с возможностью автоматической коммутации между основным компьютером, вспомогательным компьютером, а также сетевым адаптером с целью предоставления доступа к сети для удалённого управления устройством, находящимся в ячейке; при этом по меньшей мере одна ячейка выполнена с подключёнными к контроллеру ячейки индивидуальной электромеханической защёлкой-замком ячейки, датчиком температуры и вентилятором; причём по меньшей мере одна ячейка подключена к основному и/или к вспомогательному компьютеру с помощью USB-хаба, причём USB-хаб связывает между собой основной и/или вспомогательный компьютер и контроллер ячейки по отдельному интерфейсу. 2. Шкаф по п. 1, в котором по меньшей мере одна ячейка выполнена с возможностью хранения, зарядки и распределения смартфона, тогда как другая ячейка выполнена с возможностью хранения, зарядки и распределения ноутбука, а ещё одна ячейка выполнена с возможностью хранения, зарядки и распределения электронного изделия нестандартных габаритов. 3. Шкаф по п. 1 или 2, в котором основной компьютер работает на базе операционной системы Linux и обеспечивает удалённый доступ к устройствам на базе Windows и Android, тогда как вспомогательный компьютер обеспечивает удалённый доступ к устройствам на базе операционной системы iOS. 4. Шкаф по п. 3, в котором вспомогательный компьютер выполнен в виде четырёх компьютеров Mac mini. 5. Шкаф по любому из пп. 2-4, в котором по меньшей мере одна ячейка оснащена светодиодным источником света, выполненным с возможностью свечения разными цветами, а дверца упомянутой по меньшей мере одной ячейки выполнена с возможностью пропускать свет. 6. Шкаф по п. 5, в котором после идентификации пользователя, та ячейка или ячейки, в которых хранятся пользовательские устройства, к которым разрешён доступ данному пользователю, начинают светиться одним светом, тогда как та ячейка или ячейки, в которых хранятся пользовательские устройства, к которым не разрешён доступ данному пользователю, начинают светиться другим светом либо не светятся вовсе. 7. Шкаф по любому из пп. 1-6, в котором в период длительного неиспользования пользовательских устройств при условии полного заряда их аккумуляторов, режим зарядки пользовательских устройств выключается, а сами пользовательские устройства отключаются от цепей питания. 8. Шкаф по п.1, в котором первым выходом является USB Type-C, а вторым выходом является USB Type-A. 9. Шкаф по п.1, в котором управление ячейкой осуществляется основным и/или вспомогательным компьютером через интерфейс USB Type-C. 10. Шкаф по любому из пп. 1-9, в котором устройство идентификации пользователя представляет собой устройство считывания персонального пропуска, основанное на технологии, выбранной из группы, состоящей из RFID, 1Wire, NFC, Bluetooth, Wi-Fi. 11. Шкаф по любому из пп. 1-10, в котором сетевой адаптер выполнен в виде сетевого Ethernet-адаптера.
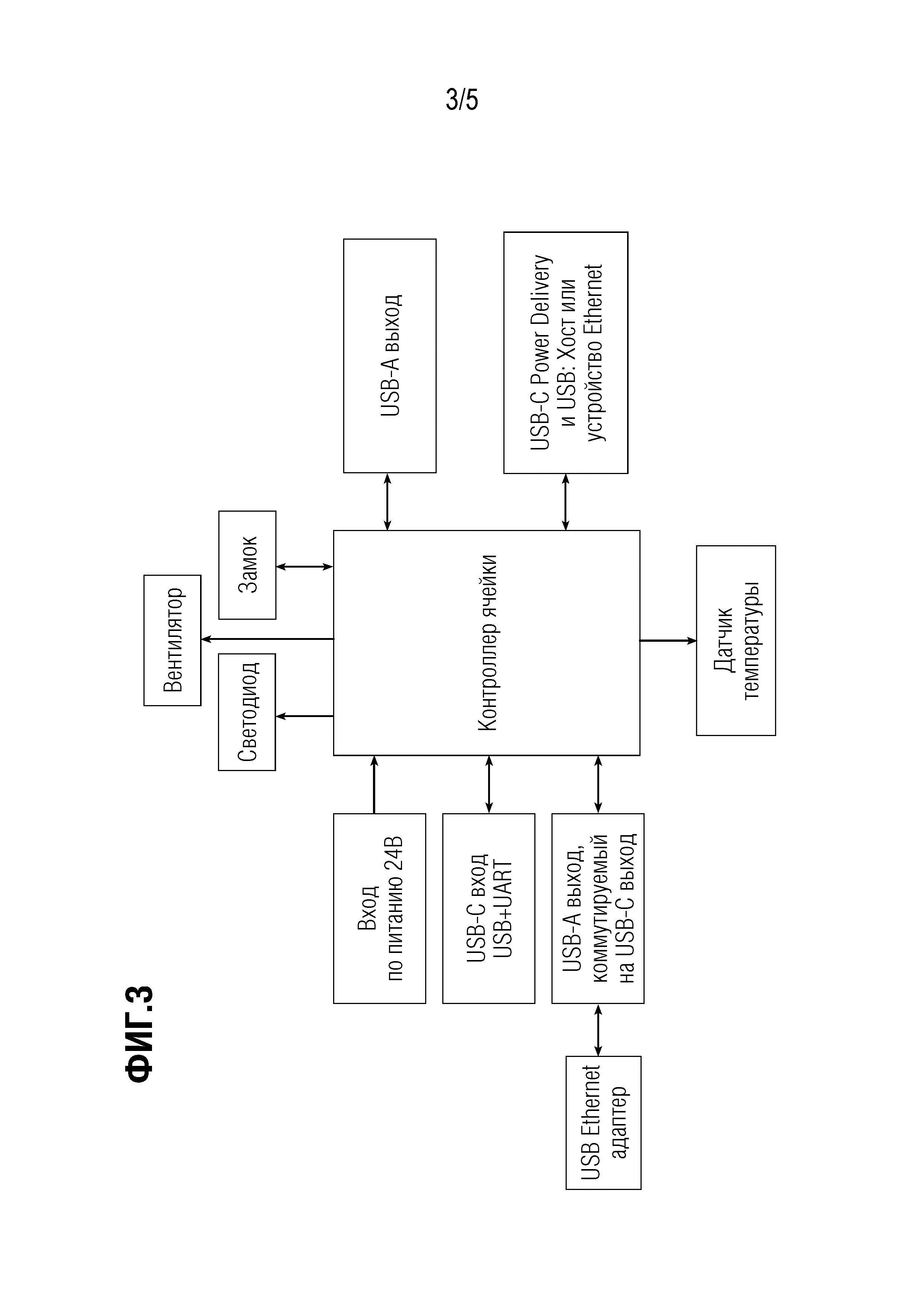
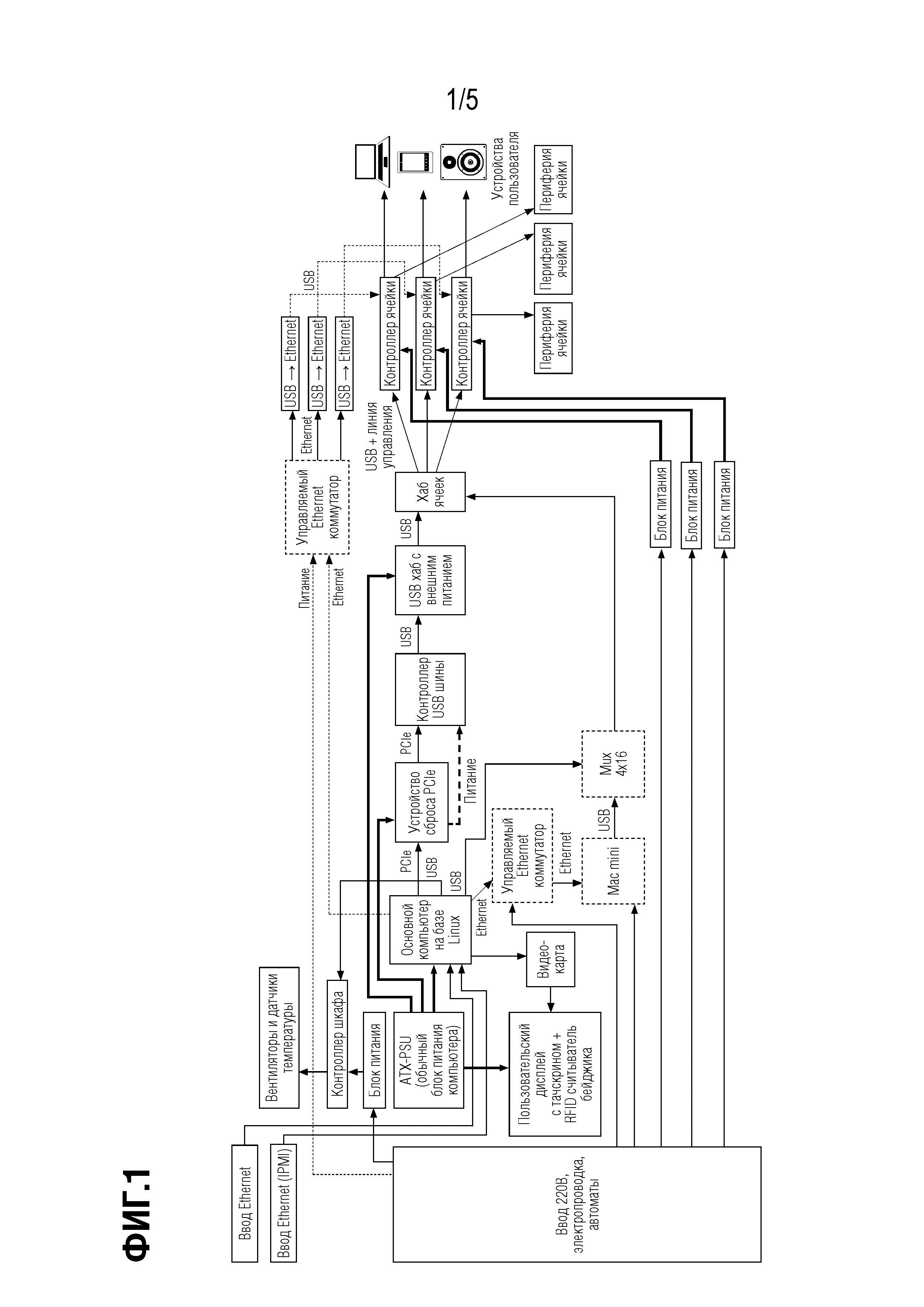
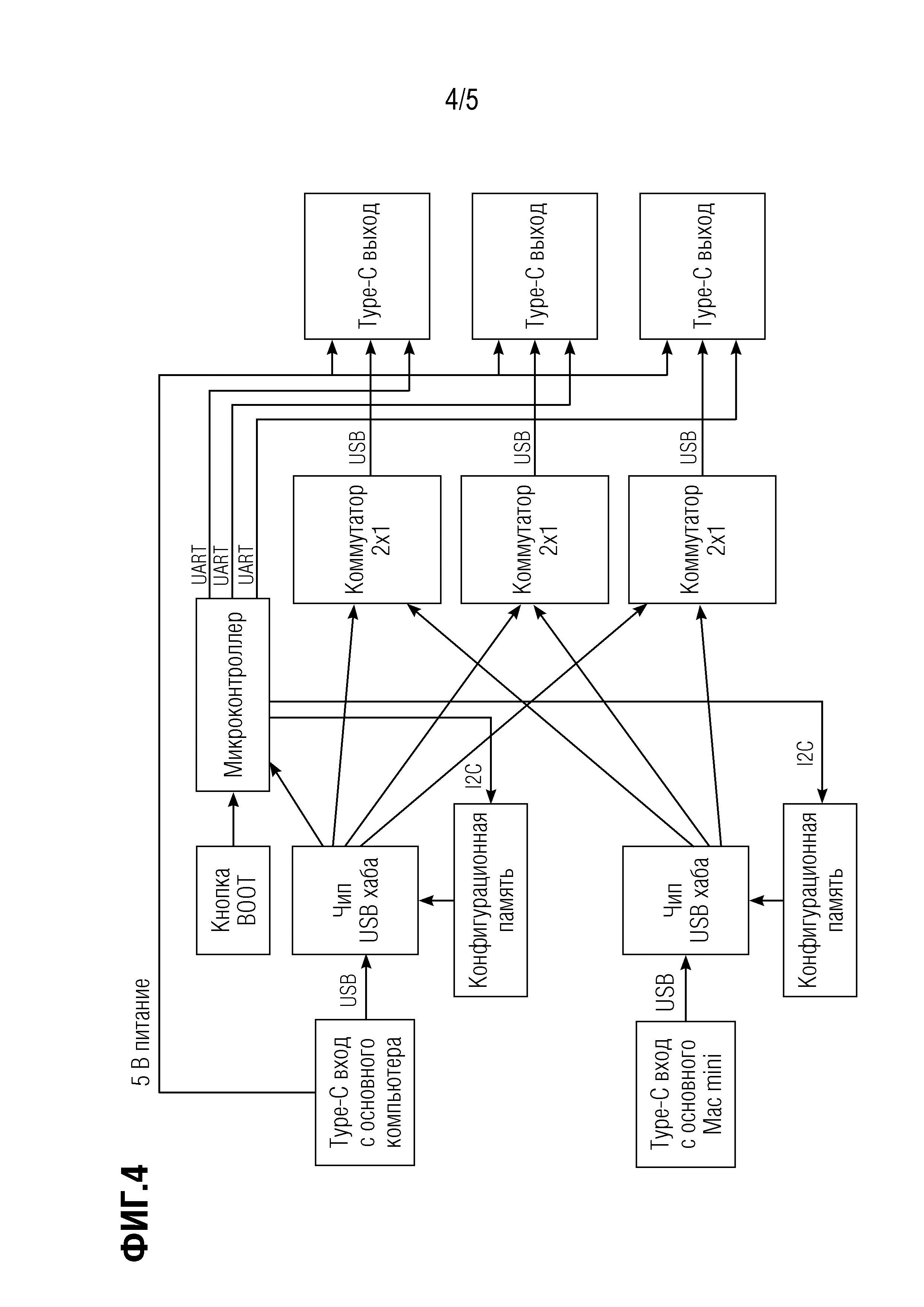
Область техники Полезная модель относится к устройствам для размещёния, хранения, зарядки и распределения, т.е. получения индивидуального доступа к пользовательским устройствам, предпочтительно – к устройствам мобильной связи, с целью, например, их тестирования. При этом возникает практическая задача, заключающаяся в том, что разработчики мобильных приложений нуждаются в большом парке устройств (например, телефонов, планшетов) для тестирования мобильных приложений на различных устройствах от разных производителей и разных поколений. При этом часто требуется «живое» тестирование пользовательских устройств для проверки, например, отзывчивости кнопок в новой версии приложения, скорости работы и отзывчивости экрана, и т.д., т.е. для проведения практического тестирования реальных пользовательских устройств. Уровень техники Из уровня техники известен документ US 2013252577 A1, в котором описана CHARGING STATION FOR MOBILE ELECTRONIC DEVICES AND AN ASSOCIATED SYSTEM AND METHOD (ЗАРЯДНАЯ СТАНЦИЯ ДЛЯ МОБИЛЬНЫХ ЭЛЕКТРОННЫХ УСТРОЙСТВ И СООТВЕТСТВУЮЩИЕ СИСТЕМА И СПОСОБ), опубл. 26.09.2013. Техническое решение, раскрытое в данном документе, относится к зарядной станции для избирательной зарядки мобильных электронных устройств, таких как мобильные телефоны. Зарядная станция включает в себя множество запираемых корпусов, каждый из которых имеет соответствующий зарядный терминал, устройство ввода, предназначенное для приёма идентификатора мобильного абонента, и модуль связи, выполненный с возможностью связи с сервером удалённой авторизации. Зарядная станция дополнительно включает в себя модуль управления, выполненный с возможностью формирования и отправки через модуль связи запроса, включающего идентификатор мобильного абонента, на сервер удалённой авторизации. Также из уровня техники известен документ US 2017256119 A1, в котором описан INTERACTIVE KIOSK FOR MOBILE ELECTRONICS (ИНТЕРАКТИВНЫЙ КИОСК ДЛЯ МОБИЛЬНОЙ ЭЛЕКТРОНИКИ), опубл. 07.09.2017. Данный документ раскрывает киоск для продажи и реверсной продажи мобильных электронных устройств. Данное техническое решение относится к системам, устройствам и способам продажи мобильных электронных устройств. Более конкретно, варианты осуществления технического решения включают системы, устройства и способы для автоматизации и интеграции оценки, оценки, обмена и продажи мобильных электронных устройств. Киоск включает в себя корпус, который определяет внутреннее отделение, предназначенное для хранения мобильных устройств для целей торговли. Корпус включает в себя переднюю панель, а пользовательский интерфейс расположен на передней панели. Киоск включает в себя отсек для продажи и отсек для хранения, предназначенный для приёма мобильных устройств от пользователей. Киоск включает в себя диагностические кабели, доступные в отсеке для хранения. Киоск включает в себя вычислительное устройство, имеющее элемент связи, сконфигурированный для связи с по меньшей мере одним сервером оператора связи для активации и/или деактивации услуг. Наиболее близким аналогом для данного технического решения является международная патентная заявка WO 2023/159194 A2, SYSTEM AND METHOD FOR PROVIDING INTERCONNECTED AND SECURE MOBILE DEVICE CHARGING STATIONS (СИСТЕМА И СПОСОБ ОБЕСПЕЧЕНИЯ ВЗАИМОСВЯЗАННЫХ И БЕЗОПАСНЫХ ЗАРЯДНЫХ СТАНЦИЙ МОБИЛЬНЫХ УСТРОЙСТВ), опубл. 24.08.2023. В этом документе описана логика зарядки мобильных устройств, таких как мобильные телефоны, планшеты, и т.д., где станция зарядки устройств содержит множество корпусов для хранения, а контроллер может быть сконфигурирован для блокировки и управления множеством ячеек. Такая станция может включать в себя локальный контроллер, устройство идентификации RFID для проверки подлинности и идентификации множества пользователей и множество разъёмов USB-C. Тем не менее, данное техническое решение обладает рядом недостатков: отсутствием возможности как индивидуального доступа к ячейке, так и контроля температуры; недостатками компоновки контролеров ячеек, подключения к сетевой карте, блока питания и хаба ячеек. Кроме того, для данного технического решения характерна ограниченность используемых устройств, и необходимость расширения их ассортимента до практически любого коммутируемого устройства. Технический результат Технический результат, на достижение которого направлена предлагаемая полезная модель, заключается в расширении арсенала технических средств для зарядки и коммутации пользовательских устройств и доступа к ним. Сущность полезной модели Согласно основному варианту осуществления настоящей полезной модели предлагается шкаф для хранения, зарядки и распределения пользовательских устройств, содержащий служебный модуль, содержащий основной компьютер, осуществляющий управление зарядкой, коммутацией и распределением устройств, вспомогательный компьютер, осуществляющий управление зарядкой, коммутацией и распределением устройств, управляющихся операционной системой, отличной от операционной системы основного компьютера, сенсорный экран с пользовательским интерфейсом, устройство идентификации пользователя и блок питания; по меньшей мере одну ячейку, выполненную с возможностью хранения, зарядки и распределения пользовательского устройства, содержащую контроллер ячейки, причём контроллер ячейки имеет первый выход и второй выход для подключения устройства, и выполненный с возможностью автоматической коммутации между основным компьютером, вспомогательным компьютером, а также сетевым адаптером с целью предоставления доступа к сети для удалённого управления устройством, находящимся в ячейке; при этом по меньшей мере одна ячейка выполнена с подключёнными к контроллеру ячейки индивидуальной электромеханической защёлкой-замком ячейки, датчиком температуры, и вентилятором; причём по меньшей мере одна ячейка подключена к основному и/или к вспомогательному компьютеру с помощью USB-хаба, причём USB-хаб связывает между собой основной и/или вспомогательный компьютер и контроллер ячейки по отдельному интерфейсу. В дополнительном варианте осуществления шкафа по меньшей мере одна ячейка выполнена с возможностью хранения, зарядки и распределения смартфона, тогда как другая ячейка выполнена с возможностью хранения, зарядки и распределения ноутбука, а ещё одна ячейка выполнена с возможностью хранения, зарядки и распределения электронного изделия нестандартных габаритов. В другом дополнительном варианте осуществления шкафа основной компьютер работает на базе операционной системы Linux, и обеспечивает удалённый доступ к устройствам на базе Windows и Android, тогда как вспомогательный компьютер обеспечивает удалённый доступ к устройствам на базе операционной системы iOS. В ещё одном дополнительном варианте осуществления шкафа вспомогательный компьютер выполнен в виде четырёх компьютеров Mac mini. В ещё одном дополнительном варианте осуществления шкафа по меньшей мере одна ячейка оснащена светодиодным источником света, выполненным с возможностью свечения разными цветами, а дверца упомянутой по меньшей мере одной ячейки выполнена с возможностью пропускать свет. В другом дополнительном варианте осуществления шкафа после идентификации пользователя, та ячейка или ячейки, в которых хранятся пользовательские устройства, к которым разрешён доступ данному пользователю, начинают светиться одним светом, тогда как та ячейка или ячейки, в которых хранятся пользовательские устройства, к которым не разрешён доступ данному пользователю, начинают светиться другим светом, либо не светятся вовсе. В ещё одном дополнительном варианте осуществления шкафа в период длительного неиспользования пользовательских устройств при условии полного заряда их аккумуляторов, режим зарядки пользовательских устройств выключается, а сами пользовательские устройства отключаются от цепей питания. В ещё одном дополнительном варианте осуществления шкафа первым выходом является USB Type-C, а вторым выходом является USB Type-A. В ещё одном дополнительном варианте осуществления шкафа управление ячейкой осуществляется основным и/или вспомогательным компьютером через интерфейс USB Type-C. В другом дополнительном варианте осуществления шкафа устройство идентификации пользователя представляет собой устройство считывания персонального пропуска, основанное на технологии, выбранной из группы, состоящей из RFID, 1Wire, NFC, Bluetooth, Wi-Fi. В ещё одном дополнительном варианте осуществления шкафа сетевой адаптер выполнен в виде сетевого Ethernet-адаптера. Краткое описание чертежей На фиг. 1 представлена общая схема коммутации заявленного шкафа для зарядки, хранения и распределения пользовательских устройств. На фиг. 2 представлена более подробная схема коммутации заявленного шкафа для зарядки, хранения и распределения пользовательских устройств с разделением различные модули. На фиг. 3 представлена схема универсальной платы ячейки. На фиг. 4 представлена схема коммутации USB-хаба ячеек. На фиг. 5 представлена схема коммутации компьютеров MUX 4x16. Подробное описание полезной модели Далее описываются конкретные варианты осуществления предложенной полезной модели со ссылкой на прилагаемые чертежи. На фиг. 1 представлена общая схема коммутации заявленного шкафа для зарядки, хранения и распределения пользовательских устройств, который представляет собой модульный шкаф для хранения, зарядки и управления устройствами, содержащий несколько ячеек и включающий в себя следующие компоненты. Шина питания 220В с соответствующей проводкой и электрикой. Вводы Ethernet и Ethernet IPMI (IPMI сокращение от англ. Intelligent Platform Management Interface - интеллектуальный интерфейс управления платформой), подключенные к основному компьютеру на базе Linux, к которому также подключён обычный компьютерный блок питания ATX-PSU, запитываемый от шины питания 220В, от которой также запитывается блок питания LRS-15-24, питающий в свою очередь контроллер шкафа, а также вентиляторы и датчики температуры. Контроллер шкафа имеет следующие функции: измеряет температуру в ячейках служебного модуля; управляет вентиляторами (3 штуки) в ячейках служебного модуля; осуществляет включение и сброс основного компьютера, причём может это осуществить самостоятельно по команде в случае необходимости Контроллер шкафа питается от независимого блока питания, как правило, применяется блок питания LRS-15-24. Пользовательский дисплей шкафа с сенсорным экраном предназначен для ввода команд пользователя и оснащён устройством идентификации пользователя с целью его идентификации и контроля доступа пользователей к шкафу и его содержимому. Устройство идентификации пользователя может быть выполнено в виде, например, считывателя для считывания персонального пропуска пользователя или устройства для идентификации пользователя иными средствами. Например, идентификация пользователей считывателем может выполняться с использованием персональных пропусков на основе технологий 1Wire, RFID, NFC, Bluetooth, Wi-Fi и т.п. Персональные пропуска могут быть выполнены в виде брелоков или в виде программного компонента в составе персонального или личного мобильного устройства пользователя. Идентификация пользователей может также выполняться с использованием биометрических датчиков, например, дактилоскопических, офтальмологических, генетических и т.п. считывателей, систем распознавания лица, голоса и т.п. Возможно также использование ввода ключевых кодов с клавиатуры любого вида, например сенсорной клавиатуры на сенсорном экране. К пользовательскому дисплею шкафа подключена видеокарта, управляемая основным компьютером на базе Linux. Также основной компьютер на базе Linux управляет Ethernet-коммутатором, запитываемым от шины питания 220В и обеспечивающим передачу сигналов Ethernet для четырёх компьютеров Mac mini, выполняющих функцию вспомогательного компьютера, выходы которых по шине USB соединены с матричным коммутатором компьютеров MUX 4x16, который также соединён с основным компьютером на базе Linux по другим шинам USB. Для использования именно четырёх компьютеров Mac mini имеются две причины. Первая причина состоит в том, что один компьютер Mac mini может обслуживать только одно устройство одновременно. поскольку согласно настоящему решению в коммутатор компьютеров MUX 4x16 от каждого компьютера Mac mini идёт только один USB провод. Вторая причина состоит в том, что шкаф может иметь до 48 ячеек, хаб ячеек обслуживает 3 ячейки, таким образом получаем 16 USB шин. Однако иметь в шкафу 16 компьютеров Mac mini экономически неоправданно. В этой связи наличие в шкафу 4 компьютеров Mac mini представляется неким компромиссом без потери функциональности. И в таком случае они смогут обеспечить доступ до четырёх устройств под управлением операционной системы IOS одновременно. Кроме того, следует отметить, что чипы USB-хабов чаще всего производятся в 4-х портовом исполнении, что облегчает конструирование шкафа, охарактеризованного в настоящей заявке. Также основной компьютер на базе Linux управляет по шине PCIe (сокращение от англ. Peripheral Component Interconnect Express, PCI Express) контроллером USB шины через устройство сброса PCIe. Через устройство сброса PCIe к основному компьютеру подключаются USB контроллеры. Устройство кратковременно отключает линии данных и питание USB контроллера в случае аппаратного сбоя. К устройству сброса PCIe подводится кабель с сигналом управления от платы контроллера шкафа, причём, как правило, кабель представляет собой кабель с 2-х контактным разъёмом типа JST с шагом 2,54 мм. Контроллер USB шины связан при помощи шины USB с USB-хабом с внешним питанием, запитываемым от блока питания ATX-PSU, который также запитывает и устройство сброса PCIe, а также запитывает и контроллер USB шины, а также компоненты основного компьютера. USB-хаб с внешним питанием представляет собой счетверённый USB-хаб, который имеет на себе 4 Type-C USB-входа и 8 Type-C USB-выходов, а так же вход питания с разъёмом как у PCIe карт расширения. Максимальная ёмкость шкафа составляет 48 пользовательских устройств. На эти устройства планируется выделить 8 USB-шин. Каждый хаб ячеек содержит только 3 выхода, соответственно 48/3 = 16 хабов. USB контроллеры имеют 4 порта, контроллеров всего 2, что даёт только 8 портов. Для того чтобы подключить все хабы в шкафу ёмкостью в 48 устройств нужно 16 портов. Для решения данной проблемы и предусмотрен комбинированный активный USB-хаб (далее USB-хаб с внешним питанием или счетверённый хаб), в котором физически реализовано 4 независимых USB-хаба, а также дополнительный вторичный источник питания 5В. Хаб ячеек связан с помощью USB Type-C кабелей с USB-хабом с внешним питанием и с выходом матричного коммутатора компьютеров MUX 4x16, причём USB-шина до устройства (в зависимости от его типа) может быть переключена между разными компьютерами (основной компьютер на базе Linux и компьютеры Mac mini, выполняющие функцию вспомогательного компьютера). Переключение между этими компьютерами происходит на данном USB-хабе. USB-хаб не требует подведения питания. На вход USB-хаба поступает два Type-C кабеля: USB-шина с матричного коммутатора компьютеров MUX 4x16 от компьютеров Mac mini, выполняющих функцию вспомогательного компьютера; USB-шина с USB контроллера основного компьютера (либо с его USB-хаба с внешним питанием — в зависимости от топологии шкафа). Переключение между основным компьютером на базе Linux и компьютерами Mac mini, выполняющими функцию вспомогательного компьютера, происходит посредством коммутации нижестоящих (downstream) портов чипов USB-хабов на плате. Как правило, хаб ячеек имеет три выхода и два входа, причём первый вход подключается к счетверённому хабу, а второй вход к матричному коммутатору компьютеров MUX 4x16. Перед установкой в шкаф, хабу ячеек, а также матричному коммутатору компьютеров MUX 4х16 и контроллеру шкафа необходимо загрузить прошивку. Микроконтроллер может быть прошит как через автономный программатор SWD (от английского «Serial Wire Debug»), так и через протокол USB-DFU (сокращение от английского «Universal Serial Bus Device Firmware Upgrade» — обновление микропрограммы устройства по универсальной последовательной шине), который активируется удержанием кнопки загрузки (BOOT) в момент подключения к компьютеру. На фиг. 2 представлена более подробная схема коммутации заявленного шкафа для зарядки, хранения и распределения пользовательских устройств с разделением на различные модули. Как показано на фиг. 2, шкаф в целом состоит из служебного модуля, ячеек для хранения, зарядки и распределения пользовательских устройств, в частности - ячеек для смартфонов, ячейки для ноутбуков и ячейки для электронных изделий нестандартных габаритов, таких как, например, умные колонки. При этом под распределением пользовательских устройств понимается выборочное предоставление пользователям доступа к пользовательским устройствам с протоколированием того, какой конкретно пользователь, на какую дату и в какое время осуществил доступ к тому или иному пользовательскому устройству. Под доступом к пользовательскому устройству понимается срабатывание замка на ячейке для открывания дверцы ячейки пользователю, которому разрешён доступ к данному устройству, осуществляемого после его идентификации и предоставление данному пользователю возможности забрать данное персональное устройство из ячейки. Для предоставления пользователям доступа к пользовательским устройствам пользователь подходит к шкафу и выполняет процедуру идентификации пользователя. В зависимости от конфигурации шкафа, процедура идентификации пользователя может включать в себя, в частности, прикладывание персонального RFID пропуска, например корпоративного бейджа, поддерживающего беспроводной обмен информацией, например, по технологии RFID (англ. Radio Frequency IDentification, радиочастотная идентификация). Кроме того, идентификация пользователей может выполняться с использованием персональных пропусков на основе технологий 1Wire, NFC, Bluetooth, Wi-Fi и т.п. Персональные пропуска могут быть выполнены в виде брелоков или в виде программного компонента в составе персонального или личного мобильного устройства пользователя. Идентификация пользователей также может выполняться с использованием биометрических датчиков, например, дактилоскопических, офтальмологических, генетических и т.п. считывателей, систем распознавания лица, голоса и т.п. Возможно также использование ввода ключевых кодов с клавиатуры любого вида, например сенсорной клавиатуры на сенсорном экране. В случае совпадения идентификатора пользователя в команде, полученной локальным вычислительным устройством, с идентификатором пользователя, определённым в результате процедуры идентификации пользователя и при наличии в шкафу мобильного устройства, соответствующего идентификатору мобильного устройства в команде, полученной локальным вычислительным устройством, устройство контроля доступа разрешает доступ пользователю внутрь шкафа, например, контроллер доступа выдает команду замку двери шкафа на открывание. В одном из вариантов осуществления после осуществления идентификации пользователя, например после считывания персонального RFID пропуска пользователя, те ячейки, в которых хранятся пользовательские устройства, к которым разрешён доступ данному пользователю, начинают светиться, постоянно или прерывисто, одним светом, например, зелёным, тогда как те ячейки, в которых хранятся пользовательские устройства, к которым не разрешён доступ данному пользователю, начинают светиться, постоянно или прерывисто, другим светом, например, красным, либо не светятся вовсе. Для обеспечения возможности свечения ячеек, в по меньшей мере некоторые из ячеек может быть установлен светодиодный источник света, предпочтительно источник света типа «умный светодиод», встроенный в электрический соединитель интерфейса USB, и выполненный с возможностью свечения, постоянно или прерывисто, разными цветами. При этом дверца по меньшей мере одной из ячеек выполнена с возможностью пропускать свет, например, за счёт того, что она выполнена, частично или полностью, из светопрозрачного материала. В служебном модуле содержится основной компьютер, работающий под управлением Linux, который как правило размещается в средней ячейке служебного модуля. Основной компьютер может состоять, в качестве неограничивающего примера, из следующих компонентов: материнская плата SuperMicro X12STL-F; процессор Intel Xeon E 2314 OEM; оперативная память Kingston KSM32ES8/8MR (2 шт); процессорный кулер Intel E97378-001 (E41759); SSD-накопитель Gigabyte GP-GSM2NE3256GNTD; видеоадаптер Sinotex Radeon R5 230 Ninja 2G; USB-контроллер PEXUSB3S44V (2 шт); сетевой адаптер TP-LINK TG-3468; блок питания БП FSP HEXA+ PRO 400W [PPA4006700]; PCIe-x4-удлинитель; PCIe-x16-удлинитель; устройство сброса PCIe-x4 (2 шт). Основной компьютер должен быть собран на отдельном каркасе, который можно будет легко извлечь из ячейки в порядке обслуживания или ремонта. В качестве каркаса может выступать как уникальная конструкция, так и какой-либо готовый или частично готовый корпус, который впишется в ячейку шкафа. Однако, готовое решение потребует доработки, потому что высота установки PCI-плат будет нестандартной. Все платы расширения (PCIe) содержатся на одном каркасе с основным компьютером. Их подключение к материнской плате осуществляется через индивидуальные переходные платы. В случае с USB-контроллерами, используется переходная плата со встроенным устройством сброса PCIe, остальные - через простые удлинители (видеоадаптер подключается через удлинитель x16, сетевой контроллер — через удлинитель x4). Форм-фактор материнской платы SuperMicro X12STL-F представляет собой Micro-ATX (244x244 мм). В любом модуле, кроме служебного, в каждой ячейке пользователю по умолчанию доступны два кабеля. Возможное сочетание кабелей: Type-C + microUSB Type-C + Lightning В случае ячейки для ноутбука или ячейки для электронного изделия нестандартных габаритов возможно проведение какого-либо дополнительного кабеля, определяемого конфигурацией и функциональными особенностями электронного изделия нестандартных габаритов. Необходимо предусмотреть вывод кабелей из служебной полости в ячейку. Под служебной полостью понимается полость внутри любой ячейки для ноутбука, или для смартфона, или для изделия нестандартных габаритов, причём служебная полость закрыта и образуется предпочтительно в правой части ячейки. Внутри неё размещается замок и плата контроллера ячейки. Служебная полость занимает ячейку на всю глубину и высоту ячейки. Всё, что находится вне служебной полости ячейки, является пространством, доступным пользователю шкафа и предназначено для размещения там пользовательского устройства. Кабели должны иметь достаточную длину для того, чтобы пользователю было удобно подключать его к устройству, при этом важно, чтобы кабель по умолчанию был направлен внутрь (т.е. вглубь) ячейки. Такое направление не позволит кабелю в расслабленном состоянии самостоятельно сдвинуться к дверце ячейки. Так он не будет выпадать из ячейки и не будет возможна ситуация, когда пользователь случайно зажмёт кабель дверцей ячейки. В таком случае ячейку возможно не получится закрыть, а если получится, то есть риск того, что открыть её механизмом замка будет уже невозможно вследствие заклинивания. Таким образом, нужно предусмотреть крепёжную деталь, которая будет направлять кабель вглубь ячейки. Крепёжной деталью может являться угловая направляющая, в которой фиксируется кабель, при этом он направлен внутрь ячейки. Вокруг кабеля может быть накручена пружина для предотвращения его выпадения из ячейки. Блоки питания плат ячеек размещёны внутри модулей, ячейки которых получают от них питание. В связи с фиг. 2 следует отметить следующие детали коммутации заявленного шкафа: на вход контроллера ячейки приходит сигнал USB с хаба ячеек (а этот usb может приходить как от компьютеров Mac mini, выполняющих функцию вспомогательного компьютера, так и от основного компьютера под управлением Linux — это зависит от того, какой режим работы выбран в данный момент, но по умолчанию он скоммутирован на основной компьютер под управлением Linux); приходящий по шине USB-сигнал на вход контроллера ячейки может быть выведен на выход Type-C или Type-A; выход Type-C также может быть скоммутирован на дополнительный порт Type-A 3.0 (который недоступен пользователю, в него можно подключать сетевую карту для обеспечения возможности раздачи изолированной локальной сети устройствам. Например, это нужно для обеспечения удалённого доступа к ноутбукам); если выход Type-C на дополнительный порт Type-A 3.0 скоммутируется - устройство больше не будет видно для основного компьютера, но это не важно с точки зрения эксплуатации шкафа пользователем, поскольку устройство при этом всё также заряжается; управление тем, что и куда коммутировать осуществляет основной компьютер под управлением Linux; команды на ячейку транслируются напрямую через USB-хаб ячеек; по умолчанию, контроллер ячейки коммутирует свой USB-вход на Type-A выход; если устройство подключили к Type-C, контроллер ячейки автоматически переключает свой USB-вход на выход Type-C; определение факта USB подключения и идентификация устройств производится основным компьютером; идентификация устройств производится по шине USB-дескрипторами, представляющими собой структуру данных, описывающую USB-устройство, в частности, полем SerialNumber, в которое производитель обычно записывает уникальный текстовый идентификатор устройства в текстовом виде, например, XY123456. Кроме того, разъём Type-C дополнительно: работает как простая док-станция для ноутбука; в автономном режиме (сам по себе контроллер ячейки без участия компьютера и иных частей шкафа) договаривается с устройством по PD-протоколу о том, какой профиль электропитания нужно активировать; если основной компьютер отправит запрос (команду) контроллеру ячейки на смену режима коммутации с USB на Type-A 3.0 (на сетевую карту), то контроллер ячейки по PD протоколу сообщит о том, что изменился идентификатор PD Data Role (роль устройства передачи данных подключенного устройства). Следует отметить, что по умолчанию, подключаемые устройства работают в режиме «USB-устройство»; по протоколу Power Delivery контроллер ячейки может инициировать смену роли данных устройства на режим «USB-хост-контроллер», тогда устройство позволит подключить к себе сетевую карту. Таким образом, ячейка становится USB-устройством с точки зрения данных, но всё ещё остаётся источником питания для пользовательского устройства. В отношении питания контроллера ячейки ему нужно два типа питания: от входа USB-C (т.е. от хаба ячеек), от которого запитывается вся низковольтная-слаботочная часть контроллера ячейки - 5 В до 1 А; от разъёма клеммника, от которого запитывается схема управления замком, схема питания вентилятора, а также вторичный источник питания, который питает Type-C и Type-A выходы - вход 24 В, до 5,5 А долговременно, 7 А кратковременно. На фиг. 3 представлена схема универсальной платы ячейки. В заявленном шкафу важно, что каждое пользовательское устройство имеет USB подключение к основному компьютеру, или к вспомогательному компьютеру в зависимости от типа устройства. Следует отметить, что вспомогательный компьютер предназначен для осуществления удалённого доступа к устройствам, управляющимся операционной системой, отличной от операционной системы основного компьютера. В предпочтительном варианте осуществления, основной компьютер работает на базе операционной системы Linux, и обеспечивает удалённый доступ к устройствам на базе Windows и Android, тогда как вспомогательный компьютер обеспечивает удалённый доступ к устройствам на базе операционной системы iOS. Переключение между основным и вспомогательным компьютерами осуществляется схемой коммутации. Следовательно, каждая ячейка может переключаться между основным и вспомогательным компьютерами. Также отдельные ячейки (для ноутбуков) должны получить ещё один канал в коммутации: переключение на USB-Ethernet адаптер для подключения проводной сети. С таким сложным подключением сократить количество кабелей можно только отдельными небольшими электронными модулями, установленными на каждую ячейку. Также каждый контроллер ячейки управляет замком, который служит для запирания и отпирания ячейки, в которую должно быть помещено устройство или из которой может быть изъято устройство пользователем, которому разрешён доступ к данному устройству, и считывать состояние замка согласно показаниям датчика закрытия дверцы. Следует отметить, что датчик температуры нужен для того, чтобы контролировать температуру в ячейке и выдавать на контроллер ячейки данные о температуре в данной ячейке. Датчик температуры устанавливается в верхнюю часть каждой ячейки. Он может быть закреплён на стенке служебной полости ячейки изнутри, но таким образом, чтобы он выступал из стенки ячейки внутрь ее. Вентилятор нужен для отвода тепла из ячейки, причём скорость его вращения регулируется контроллером ячейки на основании показаний датчика температуры. Вентилятор работает на выдув и устанавливается на внешней стороне задней стенки шкафа. Работоспособность и скорость вращения вентилятора определяются по колебанию рабочего тока вентилятора контроллером ячейки. Предпочтительно, ячейки для смартфонов оснащаются вентиляторами 40×40 мм, ячейки для электронного изделия нестандартных габаритов, ноутбуков и служебный модуль - оснащаются вентиляторами 80×80 мм. Примерами используемых моделей вентиляторов из представленных на рынке являются SF4010SM12 для размера 40×40 и SF8015SM12 для размера 80×80. Для простоты сборки и сокращения количества кабелей каждая ячейка подключается в зависимости от конфигурации следующими кабелями: кабелем питания (24 В) двумя кабелями USB с выходом Type-C кабелем Ethernet (только в случае ячейки для ноутбуков). В предпочтительной реализации плата ячейки является универсальной и подходит как для смартфонов, так и для ноутбуков. Как показано на Фиг. 3, плата ячейки имеет следующие подключения к контроллеру ячейки: USB-C Power Delivery (PD) зарядка устройств до 25 Вт и до 100 Вт, предпочтительно 100 Вт или 65 Вт при 20В или 15 Вт при 5B; USB Type-A-выход, коммутируемый на USB Type-C вход; USB Type-C-выход, коммутируемый на USB Type-C вход; USB Type-A для коммутации подключаемого к нему устройства на USB Type-C выход (например, сетевого контроллера); контроллер замка и датчика закрытия дверцы; разъём для подключения “умного” светодиода, предпочтительно по типу WS2812; разъём для подключения датчика температуры; USB Type-C дополнительный разъём для возможных модификаций (UART + 24 В). Также предложенная плата ячейки упрощает сборку и эксплуатацию шкафа. В частности, разъём Type-C позволит пользователю не думать о том, какой стороной подключить пользовательское устройство. При этом при сборке шкафа следует обратить внимание на полярность питания платы ячейки. Кроме того, упрощению сборки и эксплуатации шкафа способствует USB-хаб ячейки, поскольку он представляет собой не только USB-хаб с коммутацией между основным компьютером и одним из компьютеров Mac mini, выполняющих функцию вспомогательного компьютера, но и хаб-контроллер линии связи между основным компьютером и подключёнными к нему ячейками. Каждый модуль ячейки имеет на себе микроконтроллер, который получает команды от USB-хаба через неиспользуемую линию кабеля Type-C, поскольку внутри Type-C кабеля также передаются сигналы управления по неиспользуемой в нашем случае CC линии. Физически туда запускается полудуплексный однопроводный сигнал по протоколу UART (англ. Universal asynchronous receiver/transmitter, универсальный асинхронный приемопередатчик). Этот сигнал нужен для того чтобы основной компьютер через USB-хаб мог общаться с ячейкой. Это нужно для осуществления следующих задач: разблокировка замка/чтение датчика защёлки замка; переключение USB-шины на тот кабель, к которому подключено устройство; управление питанием устройств (для их отключения в период неиспользования, например); переключение режима работы Type-C порта ячейки для ноутбуков (оно подключит к ноутбуку сетевую карту); чтение температуры внутри ячейки, проверка работоспособности вентилятора, управление им (в случае ячейки для ноутбуков); возможно в каждой ячейке разместить RFID "коврик" для беспроводного определения и распознавания устройств - через этот канал связи станет возможным производить чтение данных с устройств. Следует отметить, что предусмотрен режим отключения устройств, хранящихся в ячейке, в период их длительного (более нескольких часов) неиспользования. Данный режим нужен по нижеследующим причинам. Охарактеризованный в данном документе шкаф для хранения, зарядки и распределения пользовательских устройств должен работать с максимальным количеством разнообразных устройств, при этом не все устройства умеют ограничивать уровень заряда, до которого нужно заряжать аккумулятор. Если аккумулятор постоянно находится в режиме зарядки и уровень заряда, а значит и напряжение на нём, поддерживается максимальным, то это способствует преждевременному выходу аккумулятора из строя. В шкафу для хранения и распределения пользовательских устройств важно сохранить максимальное количество разнообразных устройств (а значит и их аккумуляторов) в работоспособном состоянии, причём следует учитывать, что многие из хранящихся в шкафу устройств, уже имеют износ аккумулятора. И в случае постоянного их пребывания в режиме зарядки возможны такие разрушительные эффекты как вздутие аккумуляторов, их возгорание и даже взрывы, что может привести к выходу из строя всего шкафа или по меньшей мере отдельных его ячеек, приводя к разрушению корпуса шкафа, обрыву шлейфов, ведущих к устройству, растрескиванию стекла дверцы ячейки. Для предотвращения вышеописанных негативных явлений предусмотрена возможность того, чтобы в период длительного неиспользования устройств при условии полного заряда их аккумуляторов, режим зарядки пользовательских устройств выключается, а сами пользовательские устройства отключались от цепей питания с целью сокращения длительности нахождения аккумуляторов устройств в полностью заряженном состоянии и при этом в режиме зарядки, что позволит по меньшей мере отсрочить или замедлить преждевременный выход аккумуляторов устройств из строя и снизить вероятность возникновения вышеозначенных разрушительных последствий. Контроллер ячейки самостоятельно определяет тип подключаемого устройства. По умолчанию плата ячейки подаёт питание на разъём USB Type-A, при этом не подаёт питание на разъём USB Type-C, но осуществляет его мониторинг на предмет подключения к нему устройства. Помимо зарядки и хранения устройств, шкаф предоставляет удалённый доступ ко всем устройствам. Всего в шкафу предусмотрено три разных способа предоставления удалённого доступа, причём способ зависит от типа устройства. Для смартфонов на платформе Android требуется подключение к основному компьютеру, для смартфонов Apple требуется подключение к компьютеру Apple. Для ноутбуков требуется предоставить сетевой интерфейс - ноутбуки подключаются одним кабелем, как и смартфоны: USB-C, однако для устаревших моделей возможно будут предусмотрены дополнительные RJ45 кабели. На фиг. 4 представлена подробная схема коммутации USB-хаба ячеек. В связи с фиг. 4 следует отметить следующие детали коммутации USB-хаба ячеек: в USB-хабе ячеек используются два входа и три выхода Type-C; USB-хаб ячеек состоит из двух независимых USB-хабов, но выполненных на одной плате: первый USB-хаб всегда подключён входом Type-C к основному компьютеру; второй USB-хаб всегда подключён входом Type-C к Mac mini (говоря точнее, он соединён с матричным коммутатором компьютеров MUX 4x16, который в свою очередь подключён к Mac mini); оба чипа USB-хаба физически имеют четыре выхода, но на четвёртом выходе USB-хаба (который подключён к основному компьютеру) подключён микроконтроллер; четвёртый порт USB-хаба (который подключ1н к Mac mini) не используется; наружу выведены три выхода с каждого чипа USB-хаба, которые пропускаются через коммутатор 2×1, причём выход можно скоммутировать на хаб основного компьютера либо на хаб вспомогательного компьютера Mac mini. USB-хаб ячеек также содержит микроконтроллер, который подключён к одному из портов чипа USB-хаба, который подключается к основному компьютеру; при включении проверяет факт целостности конфигурационной прошивки чипов USB-хабов (прошивка хранится во внешних чипах EEPROM); если прошивка отличается от эталона (он хранится в памяти микроконтроллера) — микроконтроллер производит перепрошивку чипа памяти USB-хаба; в случае неудачи перепрошивки чипа памяти USB-хаба работает в режиме по умолчанию, но это замедлит скорость зарядки для не Type-C устройств, извещает об этом основной компьютер, чтобы сформировался условный сигнал о неисправности; ретранслирует команды от основного компьютера в контроллеры ячеек, причём в какую ячейку отправить команду - зависит от того, какой физический порт будет указан в команде; может обновлять свою прошивку, а также конфигурационные прошивки чипов EEPROM-хабов. Ячейки получают команды по альтернативному каналу связи (не через линии USB, но через USB-C-кабель). С конструктивной точки зрения заявленный шкаф для хранения, зарядки и распределения пользовательских устройств представляет собой модульный шкаф, состоящий из служебного модуля и ячеек для хранения устройств, причём ячейки выполнены с возможностью хранения, зарядки и распределения смартфонов, ноутбуков и электронных изделий нестандартных габаритов. Ячейки взаимозаменяемы между собой и имеют общие внешние габариты, способ крепления и полости, где размещаются замки. В предпочтительном, но не ограничивающем варианте осуществления, количество ячеек в шкафу может быть следующим: для электронных изделий нестандартных габаритов - 3 ячейки, для ноутбуков - 6 ячеек, для смартфонов - 12. Служебный модуль может быть выполнен на базе модуля, предназначенного для хранения электронных изделий нестандартных габаритов, и аналогичным образом, служебный модуль может содержать три ячейки. В одной ячейке служебного модуля может быть размещён основной компьютер, сенсорный экран с пользовательским интерфейсом, устройство идентификации пользователя, например устройство чтения персонального 1Wire, RFID, NFC, Bluetooth, Wi-Fi пропуска, и блок питания. В этой же ячейке могут быть размещены USB контроллеры, выполненные в виде PCIe-карт расширения. В другой ячейке предусмотрена возможность установки четырёх компьютеров Mac mini, выполняющих функцию вспомогательного компьютера. Помимо четырёх компьютеров Mac mini, в этой ячейке могут быть размещены USB коммутаторы, предпочтительно по 4 штуки на каждый вспомогательный компьютер. В третьей ячейке служебного модуля могут быть размещены входные автоматы, коммутация электрики, предпочтительно, блоки питания, а также управляемый Ethernet-коммутатор. На фиг. 5 представлена схема коммутации компьютеров MUX 4x16. Как показано на фиг. 5, сигнал с матричного коммутатора компьютеров MUX 4x16 по другим шинам USB поступает на вход USB-хаба ячеек. Каждый USB вход матричного коммутатора компьютеров MUX 4x16 подключается к каждому из компьютеров Mac mini одним USB кабелем. На матричном коммутаторе компьютеров MUX 4x16 также присутствует отдельный USB вход, который подключён к основному компьютеру на базе Linux. Через этот отдельный USB вход коммутатор компьютеров MUX 4x16 получает команды управления от основного компьютера. Все шестнадцать USB выходов коммутатора компьютеров MUX 4x16 подключаются к каждому хабу ячеек (аналогично подключению хабов ячеек к USB-хабам с внешним питанием). Следует отметить, что коммутатор компьютеров MUX 4x16 не требует подведения внешнего питания. Коммутатор компьютеров MUX 4x16 может получать питание от любого USB входа, в том числе одновременно. В отношении внутреннего устройства следует отметить, что HUBA, HUBB, HUBC, HUBD представляют собой USB-хабы, на каждый из которых заводится сигнал с USB входов (кроме USB входа команд управления). Каждый USB-хаб разветвляет шину с одного входа на четыре выхода. Таким образом, получается шестнадцать шин, которые должны иметь возможность коммутации на каждый из произвольных USB-выходов коммутатора компьютеров MUX 4x16. Далее, с целью простоты трассировки печатной платы коммутатора компьютеров MUX 4x16, на каждую из 16 шин USB подключаются ещё по одному 4-портовому USB-хабу. В этом промежутке получается 64 шины USB. Далее из 64 USB-шин выбираются по 4 шины USB и группируются. Шины выбираются так, чтобы каждая из шин по иерархии подключалась соответственно к HUBA, HUBB, HUBC, HUBD. Каждая группировка шин (16 штук по 4) поступает на каждый пассивный коммутатор MUX, имеющий один выход. Выход каждого коммутатора MUX подключается к каждому USB выходу коммутатора компьютеров MUX 4x16. В совокупности, такая схема подключения позволяет скоммутировать любой выход коммутатора компьютеров MUX 4x16 на любой его вход (за вычетом USB входа команд управления). Размещённый на коммутаторе компьютеров MUX 4x16 микроконтроллер по команде от основного компьютера управляет пассивными коммутаторами MUX через сдвиговые регистры. Сдвиговые регистры применены для упрощения трассировки платы и служат для подачи управляющих сигналов на пассивный коммутатор MUX. Каждый USB-хаб требует подключения кварцевого резонатора или внешнего генератора тактовой частоты для обеспечения его работы. В порядке сокращения площади печатной платы, в конкретной реализации все USB-хабы тактируются от одного тактового генератора. Следует отметить, что в приведённом выше описании отражены лишь те блоки, которые наиболее существенны для достижения цели полезной модели. Специалисту в данной области техники будет понятно, что для функционирования описанной полезной модели следует выполнить и другие необходимые действия, например, подключение оборудования, его инициализацию, запуск соответствующего программного обеспечения, передачу и приём команд и подтверждений, обмен служебными данными, синхронизацию и т.п., описание которых опущено для краткости изложения. Устройства и их части, упомянутые в описании и чертежах, относятся к одному или нескольким определённым вариантам реализации полезной модели, если они упоминаются со ссылкой на числовое позиционное обозначение, или ко всем вариантам реализации полезной модели, в которых возможно их применение, если они упоминаются без ссылки на числовое позиционное обозначение. Устройства и их части, упомянутые в описании, чертежах и формуле полезной модели, представляют собой программно-аппаратные средства, при этом аппаратные части одних устройств могут отличаться, частично совпадать или полностью совпадать с аппаратными частями других устройств, если иное не указано в явном виде. Аппаратные части устройств могут располагаться в различных частях других устройств, если иное не указано в явном виде. Программные части могут быть реализованы в виде программного кода, содержащегося в запоминающем устройстве. Признаки данной полезной модели могут сочетаться в различных вариантах реализации полезной модели, если они не противоречат друг другу. Описанные выше варианты реализации полезной модели приведены исключительно с иллюстративной целью и не предназначены для ограничения объёма настоящей полезной модели, определяемого формулой полезной модели. Все разумные модификации, модернизации и эквивалентные замены в составе, конструкции и принципе действия настоящей полезной модели, выполненные в пределах её сущности, входят в объем данной полезной модели. В приведённых выше примерах практической реализации полезной модели проиллюстрировано применение полезной модели в компании-разработчике программного обеспечения. Тем не менее, принципы полезной модели могут с успехом применяться и в других областях, где требуется оптимизация оборота электронных устройств управляемой конфигурации. На плате хаба ячеек размещено два независимых USB-хаба. С платы хаба ячеек выходят три Type-C кабеля USB-шины, которые подключаются к платам контроллеров ячеек, каждый из которых получает питание от своего блока питания LRS – 150 -24, которые в свою очередь запитываются от шины питания 220В. Шина питания 220В также запитывает управляемый Ethernet коммутатор, который через преобразователи Ethernet-USB подаёт сигналы на контроллеры ячеек. Данные сигналы необходимы для обеспечения возможности раздачи изолированной локальной сети устройствам, например, это нужно для обеспечения удалённого доступа к ноутбукам. В свою очередь пользовательские устройства подключаются к контроллерам ячеек как информационными входами/выходами, так и входами питания по шинам USB. Также к каждому из контроллеров ячеек подключена своя периферия ячейки, а именно - вентилятор, датчик температуры, замок, датчик открытия дверцы, «умный светодиод», коммутаторы USB. Следует отметить, что термин «умный светодиод» характеризует современное интегрированное решение для цветного освещения и индикации, отличающееся от обычного индикаторного светодиода сочетанием в себе тр х цветовых каналов и интегральной схемы для управления и установки цвета посредством передачи цифрового кода в виде последовательности битов, кодированных длительностью подачи высокого логического уровня на информационный вход этой интегральной схемы.