Изобретение
относится к области измерительной техники. В изобретении одновременно облучают не менее двух исследуемых объектов, идентичных по химическому составу и физическим свойствам и помещенных в
термостатирующую среду. Варьируют частоту фононной моды путем изменения угла облучения, устанавливают равенство плотностей энергий тепловых фононов в высоко- и низкотемпературных объектах и вычисляют
искомое значение постоянной Больцмана. Технический результат - снижение относительной погрешности определения постоянной Больцмана и достижение высокой технологичности процесса измерения. 2 ил., 1
табл.
Способ определения
постоянной Больцмана путем измерения физических величин, характеризующих энергетическое состояние вещества исследуемых объектов, функционально связанных между собой и с названной постоянной
математическим уравнением, из которого вычисляют указанную постоянную, отличающийся тем, что помещают в термостатирующую среду не менее двух исследуемых объектов, идентичных по химическому составу и
физическим свойствам, выполненных из акустооптического материала, например, из плавленого кварца, причем один объект помещают в среду с низкими криогенными температурами, а другой - с более высокими
температурами, затем одновременно облучают названные объекты монохроматическим лазерным излучением с длиной волны, равной, например, длине волны, находящейся в ультрафиолетовой части оптического
спектра, для возбуждения в них фононов с частотой νs, далее добиваются равенства энергий hνSH и kHТH в объекте, находящемся при низкой
температуре, где νSH - частота фононной моды в элементе при низкой температуре; kH - известное значение постоянной Больцмана; ТH, k - известное значение низкой температуры; h, Дж·с - постоянная Планка, для чего варьируют частоту νSH путем изменения угла
облучения θНобъекта, находящегося при низкой температуре, при этом названную частоту измеряют с помощью спектрометра, выполняют условие неравенства энергий для объекта, находящегося
при высокой температуре hνSB<<kHTB, где νSB - частота фононной моды в объекте, находящемся при высокой
температуре; Тв, k - известное значение высокой температуры, варьируя частоту νSB изменением угла облучения θВ объекта, находящегося при высокой температуре, далее устанавливают равенство плотностей энергий тепловых фононов EH·dνSH и EB·dνSB, где ЕH и ЕB - кинетическая энергия фононов в объектах, находящихся при низкой и высокой температурах соответственно; dνSH и dνSB - полоса частот колебаний фононов в объектах при низких и высоких температурах соответственно, для чего варьируют
частоту νSB путем изменения угла θВ объекта, находящегося при высокой температуре, и одновременно контролируют достижение названного равенства выполнением
соотношения νSB/νSH=ISB·ΛH/ISH·ΛB, где ISH и ISB - интенсивности колебаний фононов в объектах при низких и высоких температурах соответственно; ΛH и ΛB - длины
волн колебаний фононов в объектах, путем изменения интенсивности ISH и/или ISB колебаний фононов в объектах с помощью поляризатора, после чего с помощью
спектрометра измеряют частоты νSB и νSH, длины волн ΛB и ΛH, и по формуле вычисляют искомое значение постоянной Больцмана kB.
Изобретение относится к области измерительной техники и может быть
использовано для прецизионных измерений абсолютной температуры в исследованиях процесса образования внутриводного льда в морской воде, для вычисления термодинамических потенциалов, характеризующих
процесс электропроводности морской воды, для уточнения значений реперных точек Международной практической температурной шкалы. Известен способ определения постоянной Больцмана (см.
А.Кук. Метрология и фундаментальные константы. Сб. статей «Квантовая метрология и фундаментальные константы» / Под ред. Р.Н.Фаустова и В.П.Шелеста. Пер. с англ. М.: Мир, 1981. С.106), основанный на
применении закона газового состояния, выраженного уравнением: где Р, Н/м2
- давление газа внутри сосуда; V, м3 - объем газа; Т, К - абсолютная температура газа; R, Дж·моль-1·К-1
- универсальная газовая постоянная. По измеренным значениям величин Р, V и Т вычисляют универсальную газовую постоянную R. Искомое значение постоянной Больцмана k получают делением
величины R на число Авогадро N0, т.е. k=R/N0. Для осуществления способа используют газовый термометр (см., например, Э.Мейсон, Т.Сперлинг. Вириальное уравнение
состояния. М.: Мир, 1972. С.83), который включает в себя стеклянный сосуд с постоянным известным объемом V, заполненный газом, и ртутный манометр, соединенный с сосудом с помощью трубки. Сосуд
помещают в термостат при температуре 273,16 К и манометром измеряют давление Р в нем. К недостаткам описанного способа следует отнести возникновение ошибок измерения за счет отклонения
поведения газа, в котором производят измерения, от идеального, а также возникновения трудностей при измерении температуры в больших объемах газа. Известен также способ определения
постоянной Больцмана (см. А.Н.Матвеев. Молекулярная физика. М.: Высшая школа, 1987. С.89), основанный на вычислении названной постоянной из уравнения Больцмана, описывающего распределение частиц
(атомов, молекул) по энергиям. Для осуществления способа используют лабораторную установку, включающую в себя стеклянную кювету с исследуемой смесью, микроскоп с глубиной резкости
10-6 м, аналитические весы для взвешивания частиц и пикнометр для определения плотности жидкости. Измерения производят в слое толщиной 10-4 м. Для
экспериментального определения постоянной Больцмана по этому способу в сосуд с жидкостью помещают шарики (частицы) диаметром, приблизительно равным 10-6 м, изготовленные из смолы
гуммигутового дерева, измеряют независимыми способами: общее количество частиц А в системе, плотность частиц ρ, кг/м3; плотность жидкости ρж, причем жидкость
выбирают такой, чтобы ее плотность была несколько меньшей плотности частиц; объем ν, м3, занимаемый всеми частицами, находящимися на высоте Н в жидкости; количество частиц ni, находящихся на высоте Н и имеющих энергию mi·g·H, где mi - масса частиц, находящихся на высоте Н; g - ускорение силы тяжести,
абсолютную температуру Т, K исследуемой смеси, и по формуле, представляющей собой распределение Больцмана где ν·(ρ-ρж)=mi, k=1,380662(44)·10-23 Дж·К - постоянная
Больцмана; k Т, Дж·K-1 - энергия теплового движения частиц, вычисляют искомую величину k. К недостаткам описанного способа следует
отнести трудоемкость процесса счета частиц, осуществляемого визуально с помощью микроскопа, а также низкую точность определения высоты слоя, в котором подсчитывают частицы (относительная погрешность
порядка 10-2), вносящую преобладающую составляющую в погрешность измерения. Известен способ определения постоянной Больцмана (см. Т.Куин. Температура. М.: Мир, 1985. С.27),
основанный на применении закона Стефана-Больцмана, описывающего зависимость полной энергии теплового излучения Е(Т), испускаемого черным телом, от его температуры Т, математически выраженного как: где E(Т), Дж - полная энергия теплового излучения, испускаемого черным телом; с, м/с - скорость света; h=6,626176 (38)·10-34 - постоянная Планка; T, K - абсолютная температура излучающего тела и связывающего названные
физические величины с постоянной Больцмана. Анализ отобранной в процессе поиска информации показал, что указанный выше аналог является наиболее близким по технической сущности и
достигаемому результату к заявляемому способу и может быть принят за его прототип. Для осуществления способа используют устройство, включающее в себя источник и приемник теплового
излучения, устройство питания источника излучения, амперметр и вольтметр для измерения тока и напряжения питания источника излучения, фокусирующую линзу, измеритель фототока приемника излучения,
проградуированный в градусах Кельвина. Способ включает следующие операции: подают питание на источник излучения, в качестве которого может быть использована, например, специальная лампа
накаливания с нитью накала из вольфрама; измеряют падение напряжения U на ней и ток I через упомянутую нить, т.е. потребляемую электрическую мощность, пропорциональную полной энергии теплового
излучения, испускаемого черным телом в соответствие с формулой (4) где S, мм2 - известная площадь излучающей поверхности нити; σ=5,67032(71)·10-8 Вт·м-2·К-4, Дж - постоянная
Стефана-Больцмана. В качестве приемника излучения используют оптический пирометр. По шкале пирометра, проградуированной в градусах Кельвина, определяют значение абсолютной температуры Т
излучающего тела. По формуле (4) вычисляют значение полной энергии теплового излучения и по полученным значениям величин T и E(Т) по формуле (3) вычисляют постоянную Больцмана k.
Недостатком рассмотренного способа является необходимость учета в формуле (3) геометрического фактора, обусловленного невозможностью экспериментального измерения излучения нечерного тела, испускаемого
полусферой, что вносит значительную погрешность при определении постоянной Больцмана. Заявляемый способ основан на использовании известного в физике явления - рассеяния фотонов (квантов
электромагнитной энергии) на фононах (квантах акустической энергии) или тепловых колебаниях плотности вещества на, так называемом, рассеянии Мандельштам-Бриллюэна, а также на использовании того
известного в физике факта, что зависимости плотности энергии как электромагнитного излучения, так и акустического от частоты подчиняются закону распределения Планка плотности энергии электромагнитного
излучения по частотам, имеющего вид: где Е·dν, Дж/м3
- плотность энергии электромагнитного излучения; ν, Гц - частота кванта электромагнитного излучения и связывающего плотность энергии с частотой излучения и
постоянной Больцмана. Заявляемый способ позволяет получить новый по сравнению с прототипом технический результат, заключающийся в снижении относительной погрешности определения
постоянной Больцмана и достижении высокой технологичности процесса измерения. Достигаемый результат обусловлен тем, что процесс определения названной постоянной связан с измерением частоты, наиболее
точно измеряемой в настоящее время и технологичной физической величины, что соответствует одной из задач фундаментальной метрологии - связать измерения фундаментальных констант с измерением частоты.
Как показали расчеты, относительная погрешность определения постоянной Больцмана по предлагаемому способу не превышает величины 6·10-7, т.е. примерно на два порядка ниже наиболее
точно измеренного ее значения - 2,5·10-5. Сущность предлагаемого способа заключается в том, что в нем, так же, как и в прототипе, осуществляют измерение физических
величин, характеризующих энергетическое состояние вещества исследуемого объекта, связанных между собой и с постоянной Больцмана математическим уравнением, из которого определяют искомое значение
постоянной Больцмана. Но, в отличие от прототипа, в предлагаемом способе: одновременно облучают не менее двух исследуемых объектов, идентичных по химическому составу и
физическим свойствам, и помещают их в термостатирующую среду с заданной постоянной температурой, причем один объект помещают в среду с низкими криогенными температурами, а другой - более высокими, выполняют условие равенства hνsн=kнTн в низкотемпературном объекте, где hνsн - энергия фонона (кванта акустической
энергии); kнТн - средняя кинетическая энергия теплового движения фононов; νs - частота фонона; индекс «н» означает
принадлежность физической величины низкотемпературному объекту, для чего в нем варьируют частоту νSH возбужденной фононной моды путем изменения угла облучения θн упомянутого объекта, при достижении названного равенства с помощью спектрометра измеряют названную частоту, выполняют условие неравенства энергий для
высокотемпературного объекта hνsв<<кнТв,где индекс «в» означает принадлежность физической величины высокотемпературному объекту,
варьируя частоту νsв изменением угла облучения θв названного объекта, при выполнении упомянутого неравенства измеряют частоту νsв с
помощью спектрометра, устанавливают равенство плотностей энергий тепловых фононов Ен·dνsн=Eв·dνsв в высоко- и
низкотемпературных объектах, при всех выполненных, вышеперечисленных условиях, по формуле, приведенной ниже вычисляют искомое значение постоянной Больцмана где Λн и Λв - длины волн колебаний фононов в соответствующих
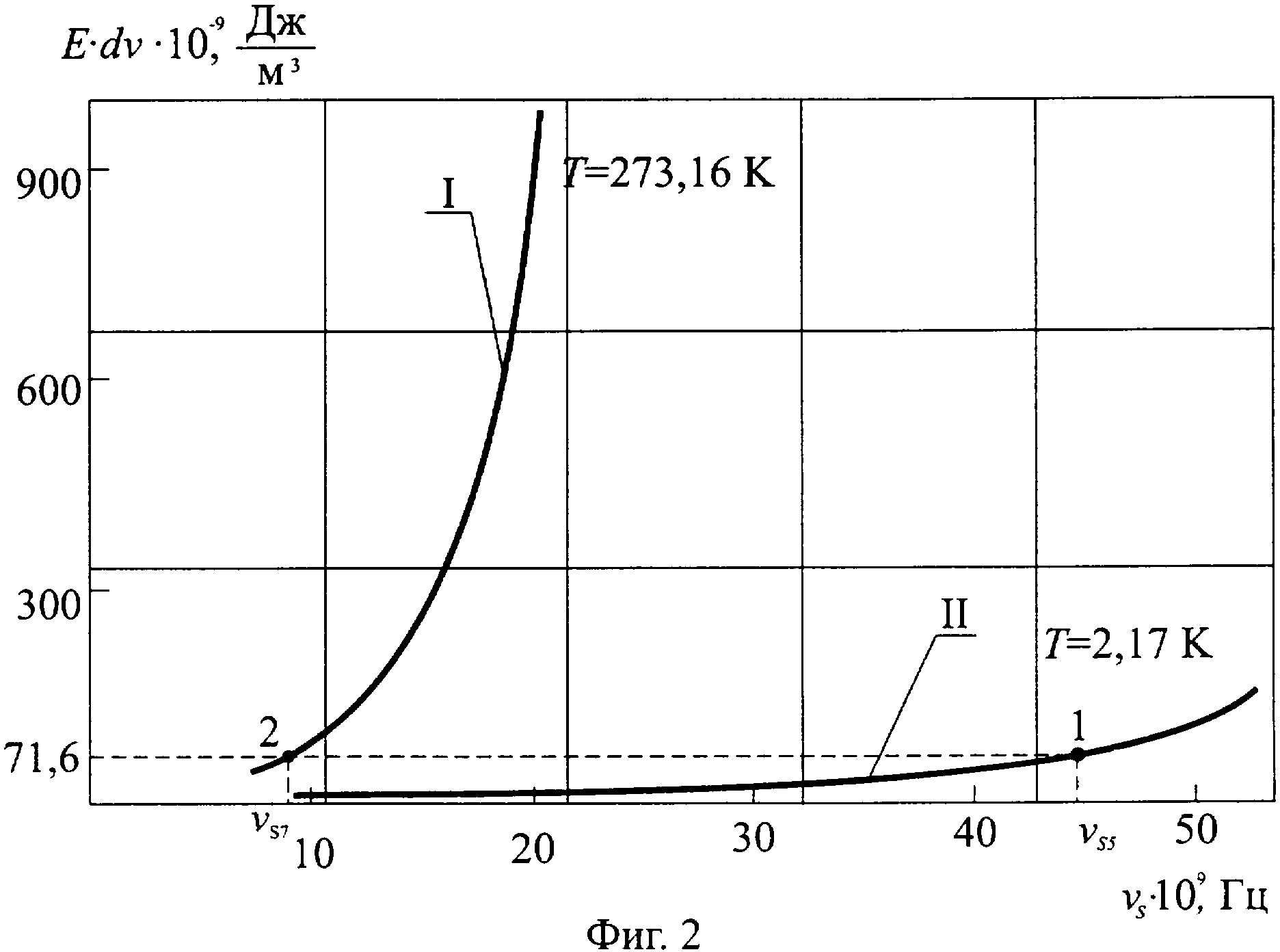
объектах. Сущность изобретения поясняется чертежом, где на фиг.1 изображена функциональная схема устройства, реализующего способ, на фиг.2 представлены
графики зависимости плотности энергии фононного шума от частоты. Устройство (фиг.1) содержит: лазер 1, полупрозрачное зеркало 2, зеркало 3, поляризатор 4, исследуемые объекты 5 и 7,
выполненные из акустооптического материала, например из плавленного кварца, криостат 6, термостат 8, фокусирующие линзы 9 и 10, фотоумножитель 11 и электронный спектрометр 12.
Предлагаемый способ осуществляют в следующей последовательности: измерительные элементы 5 и 7 помещают в термостатирующую среду при постоянной, но различной температуре, например при температуре
фазовых равновесий в т.н. реперных точках, которые служат опорными температурными точками Международной практической температурной шкалы МГГТШ - 68. Измерительный объект 5 помещают в криостат 6 при
низкой - криогенной температуре, например при температуре λ - точки гелия3Не, т.е. при Т5=2,17 К, а измерительный элемент 7 - в термостат 8 при температуре тройной точки
воды T7=273,16 К. Монохроматическое излучение лазера 1, например, в ультрафиолетовой (УФ) части оптического спектра, прошедшее через объекты 5 и 7 и рассеянное на тепловых
фононах их вещества, фокусируют линзами 9 и 10 на фотоумножитель 11. Электрический сигнал с фотоумножителя 11 подают на электронный спектрометр 12. В спектре флуктуации фототока
фотоумножителя 11 присутствуют разностные частоты νs5 и νs7, представляющие собой частоты тепловых фононов в веществе исследуемых объектов при температурах Т5 и Т7, соответственно. В объекте 5 возбуждают фононную моду с частотой νs5, удовлетворяющей равенству hνs5=k5Т5 (точка 1 фиг.2), где hνs5 - энергия фонона (кванта акустической энергии); k5Т5 - средняя кинетическая энергия теплового движения фононов. Указанную
частоту устанавливают изменением угла в 5 облучения элемента 5 при повороте лазера 1 относительно точки облучения O1. Величину k5 принимают равной известному,
наиболее точно измеренному, значению - 1380662·10-23 Дж·K-1 (см. Квантовая метрология и фундаментальные константы/ Под ред. д-ра физ.-мат наук Р.Н.Фаустова - и чл.
корр АНУССР В.П.Шелеста. Пер. с англ. М.: Мир, 1981. С.401). В элементе 7 возбуждают одну из фононных мод с частотой νs7, удовлетворяющей неравенству hνs7<<k5T7. В данном примере этому условию удовлетворяют все частоты νs - значения аргумента функции Es·dνs
=f(νs), представленной кривой I на фиг.2 При выполненных двух вышеупомянутых условий устанавливают равенство плотностей энергии тепловых фононов в объектах 5 и 7 Es5·dνs5=Es7·dνs7. где Es5 и Es7, Дж - кинетическая энергия фононов в объектах 5 и 7; dνs5 и dνs7, Гц - полоса частот фононов в объектах 5 и 7, для чего варьируют частоту νs7 изменением угла облучения θ7
объекта 7, при этом для изменения названного угла зеркало 3 перемещают по дуге и/или вращают вокруг оси нормальной к плоскости рисунка (фиг.1). Достижение приведенного выше равенства
контролируют выполнением соотношения νs7/νs5=Is7·Λ5/ΛIs5·Λ7, где Is5, Is7 и Λ5, Λ7 - интенсивности и длины волн колебаний фононов соответственно в объектах 5 и 7, путем изменения
интенсивности Is5 и/или Is7 при повороте поляризатора 4. Интенсивности Is5 и Is7, частоты νs7 и νs5 и
длины волн Λ5 и Λ7 колебаний фононов измеряют электронным спектрометром 12. При выполненных трех условиях: hνs5=k5T5,
hνs7<<k5T7 и Es5·dνs5=Es7·dνs7 решают систему двух уравнений относительно
k7, представляющих собой уравнение Планка, записанное как распределение плотности энергии фононов по частотам в исследуемых объектах 5 и 7 где Es5
·dνs5 и Es7·dνs7, Дж/м3 - плотность энергии теплового фононного шума; Сs, м/с - скорость
распространения фононов - скорость звука в измерительных элементах; множитель «12» обусловлен тем, что возможны три направления поляризации фонона, далее производят необходимые
подстановки и преобразования с учетом соотношений: Cs=Λ Ω/2π, Ω2π·νs и где Ω, Гц - угловая частота фонона; Λ, м - длина волны колебаний фононов; λл, м - длина волны лазерного излучения; Θ°- угол облучения объекта, и по формуле (6) вычисляют искомое значение постоянной Больцмана k7 Далее для получения более точного значения искомой постоянной процедуру повторяют, при этом вычисленное значение постоянной Больцмана k7 используют в качестве известного, для
чего: устанавливают для объекта 5 равенство hνs5(1)=k5(1)T5, где k5(1) равно вычисленному значению k7, a νs5(1) - новое значение фононной моды в веществе объекта 5, удовлетворяющее данному равенству,
затем возбуждают в объекте 7 фононную моду с частотой Vs7(1), удовлетворяющую неравенству hνs7(1)<<
k7T7, устанавливают равенство плотностей энергии тепловых фононов в объектах 5 и 7 при выполненных двух вышеупомянутых условий Es5(1)
·dνs5(1)=Es7(1)·dνs7(1), где Es5(1) и
Es7(1) - новые значения кинетической энергии тепловых фононов, соответствующие значению постоянной Больцмана k7(1) и по
формуле (6), подставляя соответствующие значения вычисляют более точное значение
постоянной Больцмана k7(1). Для проверки возможности промышленной применимости предлагаемого изобретения было произведено определение постоянной Больцмана
расчетным путем. Результаты расчета позволяют отнести способ к решениям, соответствующим указанному критерию. Пример. Для приводимого примера были приняты следующие
исходные данные: в качестве вещества, из которого выполнены исследуемые объекты 5 и 7, выбран плавленый кварц, в качестве источника излучения фотонов - лазер с длиной волны в ультрафиолетовой (УФ)
части оптического спектра λл=2·10-7 м. При этом температура термостагирующей жидкости Т7 в термостате 8 принимается равной 273,16 К, а Т5 в
криостате 6 - 2,17 К. Для объектов 5 и 7 по формулам (7а) и (7б) вычисляют значения Es·dνs=f(νs,θ) плотности энергии от
частоты фононов и угла облучения при Е=Const. Результаты вычислений приведены в таблице 1. По данным таблицы строят зависимости Es·dνs=f(νs,θ) (фиг.2), с помощью которых определяют значение частот νs фононных мод в
зависимости от угла облучения при постоянной температуре. Далее выполняют условие равенства энергий hνsн=kнTн в объекте при низкой температуре.
В примере - на кривой II определяют место положения точки 1, для чего из условия hνs5=k5T5 определяют значение частоты νs5 фононной моды которому соответствует угол облучения объекта, находящийся между 50 и 60 градусами
(табл.1 строки 13 и 14). Значение постоянной Больцмана в этом случае принимают известным, равным наиболее точно измеренному значению k5=1380662·10-23 Дж·К-1. Выполняют условие неравенства hνsв<<kнTв для объекта, находящегося при высокой температуре. В примере при максимальной
частоте фононов νs7≈20·109 Гц, а значит и для всех частот в диапазоне от 0 до 20·109 Гц (см. фиг.2, кривая 1) названное неравенство
выполняется. Действительно: 6,626176·10-34<<1,38662·10-23·273,16. Устанавливают равенство плотностей энергий
тепловых фононов Es7·dνs7=Es5·dνs5, для чего в примере определяют положение точки 2 на кривой I, в которой выполняется названное
равенство, а ее проекция на ось абсцисс дает значение частоты фононной моды νs7=9,412 Гц. Упомянутая точка находится на пересечении кривой 1 с прямой, параллельной оси абсцисс,
проходящей через точку 1 на кривой II. Точка пересечения названной прямой с осью ординат дает значение плотности энергии колебаний фононных мод объектов 7 и 5, удовлетворяющее
установленному равенству. По найденным значениям Λ7, Λ5, νs7, νs5, dνs5, dνs7
и значениям постоянных величин T5, Т7 и k5, пользуясь формулой (6), вычисляют искомую постоянную k7: Относительная погрешность определения постоянной Больцмана по заявляемому способу определялась анализом уравнения (6), из
которого следует: где длину волны (измеряют типовым прецизионным спектрометром
с относительной погрешностью порядка 10-7. Поскольку относительная погрешность измерения частот νs7 и νs5 имеет порядок 10-10,
т.е. на три порядка ниже относительной погрешности определения длины волны фононов и является величиной пренебрежимо малой, относительная погрешность определения постоянной Больцмана равна При необходимости получения более точного значения постоянной Больцмана расчет
повторяют, при этом вычисленное значение постоянной k7 используют в качестве известного.