Изобретение относится к области механизации сельского хозяйства, в частности к внесению жидких средств химизации в почву. Устройство включает рабочие органы, равномерно
распределенные вдоль широкозахватной штанги и представляющие собой индивидуальные дозаторы компонентов жидких удобрений, выполненные в виде цилиндров со свободно перемещающимися в них поршнями, мерные
объемы которых соединены с всасывающими входами инжекционных распылительных форсунок. Каждый из дозаторов оборудован собственным регулятором доз, подключенным к управляющему компьютеру. Способ
заключается в том, что отдельно для каждого элементарного участка поля предварительно формируют локальными дозаторами рабочих органов заданные дозы отдельных компонентов агрохимикатов и вносят их
отдельными импульсами расхода удобрений, одновременно смешивая их между собой импульсами расхода сжатого воздуха, распыляющего смесь удобрений на элементарных участках. Изобретение позволяет
дифференцированно вносить удобрения, обеспечивать заданную дозу смеси компонентов для каждого элементарного участка поля при одновременном снижении сложности устройства. 2 н.п. ф-лы, 3 ил.
1. Устройство дифференцированного внесения жидких минеральных удобрений, включающее гидрорезервуар для
удобрений или других агрохимикатов с числом рабочих отсеков, равным числу смешиваемых компонентов, широкозахватную штангу для распределения удобрений, рабочие органы, закрепленные на штанге, в виде
инжекционных форсунок с регулируемым рабочим сечением для изменения расхода удобрений через каждую форсунку в зависимости от потребной дозы на каждом элементарном участке поля, пневмосистему с
гидропневмоавтоматикой с возможностью управления от общего прибора управления, позволяющего автоматически обеспечивать заданные технологические режимы внесения удобрений при переходе с одного
элементарного участка обрабатываемого поля на другой, отличающееся тем, что рабочие органы устройства содержат индивидуальные объемные дозаторы смешиваемых компонентов, оборудованные собственными
регуляторами доз, при этом общий прибор управления выполнен в виде бортового компьютера, а дозаторы выполнены в виде цилиндров со свободно перемещающимися в них поршнями, которые разделяют объемы
цилиндров на мерные и силовые, при этом мерные объемы цилиндров подключены через первые управляемые запорные клапаны к питательным трубопроводам смешиваемых компонентов удобрений, которые соединены с
нагнетательными патрубками насосов переменной подачи, и через вторые управляемые запорные клапаны подключены к всасывающим входам инжекционных форсунок, силовые объемы цилиндров подключены к
дополнительным напорным трубопроводам компонентов удобрений, которые подключены к первым выходам управляемых трехходовых перепускных клапанов, вторые выходы которых соединены с входными горловинами
отсеков гидрозервуара для удобрений, выходные горловины которых соединены с всасывающими патрубками насосов переменной подачи, нагнетательные патрубки которых соединены байпасными линиями с входами
трехходовых перепускных клапанов, исполнительные механизмы первых управляемых запорных клапанов подключены к выходам регуляторов доз, ко входам которых подключены датчики положения поршней дозаторов и
задающие выходы бортового компьютера, пневмовходы инжекционных форсунок соединены с пневмопроводом, который соединен через управляемый запорный клапан с пневмосистемой, причем исполнительные механизмы
управляемых клапанов инжекционных форсунок, трехходовых клапанов и запорного клапана пневмопровода подключены к управляющему выходу бортового компьютера.
2. Способ дифференцированного внесения жидких минеральных удобрений, включающий операции по формированию дозы агрохимикатов и распределению ее вдоль широкозахватной штанги путем автоматического
регулирования расхода рабочих органов, равномерно расположенных вдоль распределительной штанги, в зависимости от потребной дозы на каждом элементарном участке поля, при этом регулирование расхода
осуществляется пневмосистемой с гидропневмоавтоматикой с возможностью управления от общего прибора управления, позволяющего автоматически обеспечивать заданные технологические режимы внесения
удобрений, отличающийся тем, что отдельно для каждого элементарного участка поля предварительно формируют локальными дозаторами рабочих органов заданные дозы отдельных компонентов агрохимикатов и
вносят их отдельными импульсами расхода удобрений, одновременно смешивая их между собой импульсами расхода сжатого воздуха, распыляющего смесь удобрений на элементарных участках, при этом величину
импульса расхода сжатого воздуха по объему устанавливают равной 10-12 общим дозам смешиваемых компонентов удобрений, причем длительность импульсов расхода удобрений выбирают равной 0,08-0,1 величины
интервала времени прохождения машиной длины элементарного участка, а в остальную часть этого времени формируют дозы отдельных компонентов удобрений.
Изобретение относится к области механизации
сельского хозяйства, в частности к машинам и способам внесения жидких средств химизации в почву. Известны способ внесения удобрений в почву, в основе которого лежит получение цифровой
почвенной карты участков поля агроценозов, различающихся по типу почвы, содержанию питательных элементов, урожайности сельскохозяйственных культур и устройство для дифференцированного внесения
удобрений в соответствии с потребностями в питательных веществах каждого отдельного участка поля, содержащая емкости твердых минеральных удобрений и ядохимикатов, компьютер с навигационным
оборудованием, распределяющие, подающие и дозирующие устройства, последние в процессе работы изменяют состав и дозу удобрений в каждый данный момент времени под программируемый урожай (Заявка США N
85850358.4, МПК А01С 17/00, 1985 г., описание Европейскому патенту ЕР 0181308 A1 "Способ и устройство для внесения удобрений", МПК А01В 79/00, А01С 17/00, 1986 г.). Данный способ и
устройство позволяют вносить основную дозу минеральных удобрений, используя единственный узел устройства, состоящий из насоса с гидроприводом и подающего трубопровода, и посредством которого
осуществляется дозированная подача химикатов сразу на всю зону обслуживания. Такой способ и конструкция машины не пригодны для дифференцированного внесения жидких минеральных удобрений, так как при
внесении твердых туков с изменением их дозы от максимальных до минимальных значений резко меняется неравномерность распределения удобрений на рабочей ширине захвата, вследствие чего необходимо
постоянно менять величину перекрытия смежных проходов машины в соответствии с изменением дозы удобрений, что практически неосуществимо. Подача твердых туков на транспортерную ленту на разном
расстоянии от места их схода с нее, далее на центробежный диск и отдельно жидких химикатов не обеспечивает заданного технологического качества смешивания исходных компонентов. Дифференцированное
внесение удобрений предполагает внесение на каждый элементарный участок поля различных по составу и величине дозы удобрений. При полном заполнении всех бункеров машины часть из них может быть не
выработана, при заполнении их в соответствии с картой обрабатываемого поля часть из них может быть заполнена не полностью, что в том и в другом вариантах снижает производительность машины. Указанные
недостатки не позволяют осуществить все требования дифференцированного внесения удобрений. Известно устройство для дифференцированного внесения агрохимикатов в почву, включающее
спутниковую глобальную позиционную систему с приемниками, расположенными как на стационарной станции, так и на мобильном техническом средстве, которые показывают горизонтальные координаты положения
агрегата в поле, с размещенными на нем компьютером и устройством контроля и управления широкозахватной штангой с форсунками, распределяющими жидкие химикаты, емкостью для химикатов, насосом, связанным
посредством трубопроводной, запорной и регулирующей технологической арматурой с рабочими органами-форсунками, обеспечивающими в совокупности точную дозу химиката на каждом участке поля в соответствии
с программой обработки поля (Variable Rate Technology, A State of the Art Review "Технология переменных норм" - материалы ИНТЕРНЕТ, сайт - www.precisionag.org/html/chl2.html). Данное
устройство не обеспечивает заданное распределение удобрения на элементарных участках вдоль широкозахватной штанги, так как оно выполнено без устройства регулирования дозы и расхода на каждой форсунке,
что требует постоянного подбора как их рабочего сечения, так и шага расстановки на штанге при изменении дозы внесения и регулирования перепада давления перед форсункой для сохранения требуемого
характера распределения и заданного допуска на перекрытие зон распределения удобрений от смежных форсунок, а штанга не обеспечивает автоматическое регулирование шага расстановки форсунок при
неизменной ширине захвата и изменение длины факела распыла удобрений. Кроме того, данное устройство позволяет осуществлять внесение только одного вида удобрений, и для внесения других компонентов
требуются дополнительные проходы машины, что снижает производительность технологической операции и равномерность внесения питательных веществ на каждом малом участке поля. Указанные недостатки не
позволяют эффективно осуществлять дифференцированное внесение удобрений данным устройством. Известно более совершенное устройство для дифференцированного внесения удобрений, наиболее
близкое к предложенному по своей технической сущности и достигаемому результату, содержащее гидропневморезервуар, разделенный на отсеки для разных по составу удобрений эластичными перегородками и
снабженный отсеком для нагнетания сжатого воздуха с возможностью осевого перемещения эластичных перегородок с равномерной концентрацией напряжений по всему периметру перегородок и полным
использованием грузоподъемности машины, штангу в виде системы шарнирных параллелограммов, способных по заданной программе обработки поля автоматически сжиматься, растягиваться и поворачиваться вокруг
своей оси без изменения рабочей ширины захвата машины с обеспечением заданного распределения доз удобрений по всей площади обрабатываемого поля, рабочие органы, распределяющие удобрения,
- дефлекторные форсунки с автоматическим изменением расхода удобрений через каждую форсунку в зависимости от потребной дозы на каждом элементарном участке поля, перемешивающее устройство в виде
комбинации реактивной и механических мешалок, обеспечивающее заданное технологическое качество перемешивания различных по составу удобрений и микроэлементов. Наряду с обычной гидравлической системой
машина снабжена пневмосистемой для подачи удобрений к дозаторам, а также гидропневмоавтоматикой, управляемой от прибора управления и позволяющей автоматически обеспечивать заданные технологические
режимы внесения удобрений при переходе с одного элементарного участка обрабатываемого поля на другой (Патент Российской Федерации №2149532, А01С 17/00, дата начала действия 1998.09.23 - прототип
устройства). Недостатки данного устройства: невысокая точность дозирования удобрений на каждом элементарном участке поля, что обусловлено отсутсвием обратной связи по фактической
величине дозы, а регулирование ее величины путем изменения проходного сечения форсунок и регулирования гидропневматических дозаторов не обеспечивает заданной точности в силу нестабильности
гидравлических характеристик каналов распределения удобрений и реологических свойств смесей удобрений; устройству свойственны и ошибки в распределении удобрений по поверхности элементарных участков,
связанные с изменением характеристик факела распыления удобрений форсунками при изменении расхода удобрений, компенсация этих изменений за счет растягивания и разворота шарнирных параллелограммов
штанги, на которой установлены форсунки, не обеспечивает заданной точности поверхностного распределения удобрений, в силу неточного знания фактических характеристик распыления удобрений,
дополнительным недостатком устройства является его высокая сложность. Кроме того, данное устройство не позволяет осуществить дифференциацию смесей компонентов питательных элементов на локальных
участках, так как оборудовано одним общим смесителем компонентов. Указанные недостатки не позволяют эффективно осуществлять дифференцированное внесение смесей компонент удобрений данным устройством и
затрудняют его промышленное освоение. Известен способ дифференцированного внесения минеральных удобрений путем регулирования ширины захвата шарнирной штанги с размещенными на ней
распылителями агрохимикатов, позволяющей устанавливать заданное перекрытие смежных эпюр распределения (Заявка Франции N 2254176, кл. А01С 23/00, 1973 г.). Недостаток такого способа
- постоянное изменение ширины захвата при изменении эпюры распределения химикатов для сохранения заданного качества внесения на рабочей ширине захвата, при этом изменение ширины захвата делает
невозможным точное совмещение смежных проходов машин - удобрителей при обратных проходах и, как следствие, не обеспечивает заданной равномерности распределения агрохимикатов по всей площади
обрабатываемого поля при их дифференцированном внесении. Известен более совершенный способ, включающий в себя определение географических координат машины посредством спутниковой
глобальной позиционной системы с приемниками, расположенными как на стационарной станции, так и на мобильном техническом средстве, которые показывают горизонтальные координаты положения машины в поле
с размещенными на ней компьютером и устройством контроля и управления, формирование доз удобрений единым смесительным узлом и распределения удобрений по элементарным участкам широкозахватной штангой с
форсунками, распределяющими жидкие химикаты, обеспечивающими в совокупности точную дозу химиката на каждом участке поля в соответствии с программой обработки поля (Variable Rate Technology, A State of
the Art Review "Технология переменных норм" - материалы ИНТЕРНЕТ, сайт - www.precisionag.org/html/ch12.html). Недостатки данного способа: отсутствие возможности локального регулирования
расхода на каждой форсунке, что требует постоянного подбора как их проходного диаметра, так и шага расстановки на штанге при изменении дозы внесения и соответственно перепада давления перед форсункой
для сохранения требуемого характера распределения и заданного допуска на перекрытие эпюр распределения от смежных форсунок; распределение удобрений широкозахватной штангой не обеспечивает
автоматическое регулирование шага расстановки форсунок при неизменной ширине захвата и изменение длины факела распыла удобрений, а также не обеспечивает возможность локального изменения соотношения
компонентов удобрений. Указанные недостатки не позволяют эффективно осуществлять дифференцированное внесение удобрений. Более совершенным является способ, в котором для
дифференцированного внесения многокомпонентных удобрений используют единый смесительный узел и распределительные штанги в виде системы шарнирных параллелограммов, что позволяет по заданной программе
обработки поля автоматически сжимать, растягивать и поворачивать штанги вокруг своей оси без изменения рабочей ширины захвата машины с обеспечением заданной равномерности распределения удобрений по
всей площади обрабатываемого поля; при этом расход удобрений через дозирующие органы, рабочие органы осуществляют автоматически. При этом наряду с обычной гидравлической системой для подачи удобрений
к дозаторам, в способе используют гидропневмоавтоматику, управляемую от прибора управления и позволяющую автоматически обеспечивать заданные технологические режимы внесения удобрений при переходе с
одного элементарного участка обрабатываемого поля на другой (патент РФ №2149532, А01С 17/00 от 27.05.2000 г. - прототип способа). Недостатки данного способа: невысокая точность
дозирования удобрений на отдельных элементарных участках поля, что связано с отсутствием информации о фактической величине дозы, а регулирование ее величины путем изменения проходного сечения рабочих
органов не обеспечивает заданной точности в силу нестабильности гидравлических характеристик каналов распределения удобрений и реологических свойств смесей удобрений; способу свойственны и ошибки в
распределении удобрений по поверхности элементарных участков, обусловленные тем, что для дискретной разбивки поля на элементарные участки изменение заданных значений доз удобрений должно производиться
ступенчатым образом, а фактически дозирование осуществляют непрерывно по поверхности поля, в силу наличия единого смесительно-дозирующего узла; способ не позволяет варьировать соотношение между
отдельными компонентами сразу для каждого элементарного участка, попадающего в зону захвата распределительной штанги. Заявляемое устройство решает задачу повышения точности
дифференцированного внесения жидких минеральных удобрений, состоящих из нескольких смешиваемых компонентов, по всей площади обрабатываемого поля с заданной дозой и качеством распределения удобрений на
каждом элементарном участке при одновременном упрощении ее конструкции. Заявляемое устройство дифференцированного внесения жидких минеральных удобрений, как и прототип, включает
гидрорезервуар для удобрений или других агрохимикатов с числом рабочих отсеков, равным числу смешиваемых компонентов, широкозахватную штангу для распределения удобрений, рабочие органы, закрепленные
на штанге, в виде инжекционных форсунок с регулируемым рабочим сечением для изменения расхода удобрений через каждую форсунку в зависимости от потребной дозы на каждом элементарном участке поля,
пневмосистему с гидропневмоавтоматикой, с возможностью управления от общего прибора управления, позволяющего автоматически обеспечить заданные технологические режимы внесения удобрений при переходе с
одного элементарного участка обрабатываемого поля на другой. Заявляемое устройство отличается от прототипа тем, что рабочие органы устройства содержат индивидуальные объемные дозаторы
смешиваемых компонентов, оборудованные собственными регуляторами доз, при этом общий прибор управления выполнен в виде бортового компьютера, а дозаторы выполнены в виде цилиндров со свободно
перемещающимися в них поршнями, которые разделяют объемы цилиндров на мерные и силовые, при этом мерные объемы цилиндров подключены через первые управляемые запорные клапаны к питательным
трубопроводам смешиваемых компонентов удобрений, которые соединены с нагнетательными патрубками насосов переменной подачи, и через вторые управляемые запорные клапаны подключены к всасывающим входам
инжекционных форсунок, силовые объемы цилиндров подключены к дополнительным напорным трубопроводам компонентов удобрений, которые подключены к первым выходам управляемых трехходовых перепускных
клапанов, вторые выходы которых соединены с входными горловинами отсеков гидрорезервуара для удобрений, выходные горловины которых соединены с всасывающими патрубками насосов переменной подачи,
нагнетательные патрубки которых соединены байпасными линиями с входами трехходовых перепускных клапанов, исполнительные механизмы первых управляемых запорных клапанов подключены к выходам регуляторов
доз, к входам которых подключены датчики положения поршней дозаторов и задающие выходы бортового компьютера, пневмовходы инжекционных форсунок соединены с пневмопроводом, который соединен через
управляемый запорный клапан с пневмосистемой, причем исполнительные механизмы управляемых клапанов инжекционных форсунок, трехходовых клапанов и запорного клапана пневмопровода подключены к
управляющему выходу бортового компьютера. Достигаемое от использования изобретения повышение точности дифференцированного внесения жидких минеральных удобрений по всей площади
обрабатываемого поля с заданными соотношениями смешиваемых компонентов и дозами, с требуемой равномерностью распределения удобрений на каждом элементарном участке поля обеспечивается введением
индивидуальных дозаторов компонентов на каждой форсунке, выполненных в виде поршневых пар с мерными объемами, величины которых отслеживается датчиками и регуляторами положения. При этом стабильно
высокое качество внесения удобрений, независимо от доз, обеспечивается тем, что в инжекционной форсунке в моменты времени распыления дозы удобрений поддерживается постоянный расход воздуха, величину
которого устанавливают равной 10-12 суммарным дозам удобрений, что обеспечивает стабильность факела распыления жидких удобрений, независимо от размеров доз. Такое исполнение рабочих органов устройства
позволяет реализовать импульсный режим дозирования, с фиксированной дозой внесения на каждом элементарном участке, размер которого не превышает размер факела распыления форсунки.
Упрощение конструкции устройства достигается тем, что для привода индивидуальных дозаторов форсунок в качестве рабочей жидкости используются сами минеральные удобрения, для чего, кроме питательных
трубопроводов, соединенных через запорные клапаны с мерными объемами поршневых пар дозаторов, силовые полости дозаторов соединены через дополнительные напорные трубопроводы с трехходовыми перепускными
клапанами, входы которых соединены с подающими насосами переменной подачи, а выходы с силовыми трубопроводами и соответствующими секциями резервуара с минеральными удобрениями. Это позволяет за счет
одновременных переключений трехходовых и запорных клапанов формировать заданные соотношения смешиваемых компонент и дозы удобрений и последующие перестановочные усилия для выпуска доз к распылительным
форсункам. Приведенные существенные отличия устройства обозначают новую последовательность операций, что является предметом другого объекта изобретения, непосредственно вытекающего из
первого, - способа дифференцированного внесения жидких минеральных удобрений и других агрохимикатов. Заявляемый способ дифференцированного внесения жидких минеральных удобрений решает
задачу повышения точности дифференцированного внесения жидких минеральных удобрений по всей площади обрабатываемого поля с заданными соотношениями компонентов, дозой и равномерностью распределения
удобрений на каждом элементарном участке поля. Заявляемый способ дифференцированного внесения жидких минеральных удобрений, как и прототип, включает в себя операции по формированию дозы
агрохимикатов и распределению ее вдоль широкозахватной штанги путем автоматического регулирования расхода рабочих органов, равномерно расположенных вдоль распределительной штанги в зависимости от
потребной дозы на каждом элементарном участке поля, при этом регулирование расхода осуществляется пневмосистемой с гидропневмоавтоматикой, с возможностью управления от общего прибора управления,
позволяющего автоматически обеспечить заданные технологические режимы внесения удобрений. Заявляемый способ отличается от прототипа тем, что отдельно для каждого элементарного участка
поля предварительно формируют локальными дозаторами рабочих органов заданные дозы отдельных компонентов агрохимикатов и вносят их отдельными импульсами расхода удобрений, одновременно смешивая их
между собой импульсами расхода сжатого воздуха, распыляющего смесь удобрений на элементарных участках, при этом величину импульса расхода сжатого воздуха по объему устанавливают равной 10-12 общих доз
смешиваемых компонентов удобрений, причем длительность импульсов расхода удобрений выбирают равной 0,08-0,1 величины интервала времени прохождения машиной длины элементарного участка, а в остальную
часть этого времени формируют дозы отдельных компонентов удобрений. Предварительное формирование локальными дозаторами рабочих органов доз отдельных компонентов удобрений позволяет
одновременно обеспечить требуемое для каждого отдельного элементарного участка соотношение компонентов и общую дозу удобрений, а смешивание их между собой непосредственно при внесении импульсами
расхода удобрений и сжатого воздуха, при котором величину импульса расхода сжатого воздуха выбирают равной 10-12 общих доз удобрений позволяет обеспечить высокую точность и равномерность внесения на
каждом элементарном участке. Выбор длительности импульсов расхода внесения доз удобрений, равной 0,08-0,1 от общего интервала прохождения устройством длины элементарного участка, позволяет исключить
явление перекрытия факелов распыла удобрений на соседних элементарных участках, независимо от контролируемой скорости движения машины. На чертеже фиг. 1 представлена продольная схема
агрегатирования устройства с трактором; на фиг.2 - схема поперечная - схема агрегатирования устройства с трактором; на фиг. 3 - принципиальная технологическая схема устройства, на которой выделен один
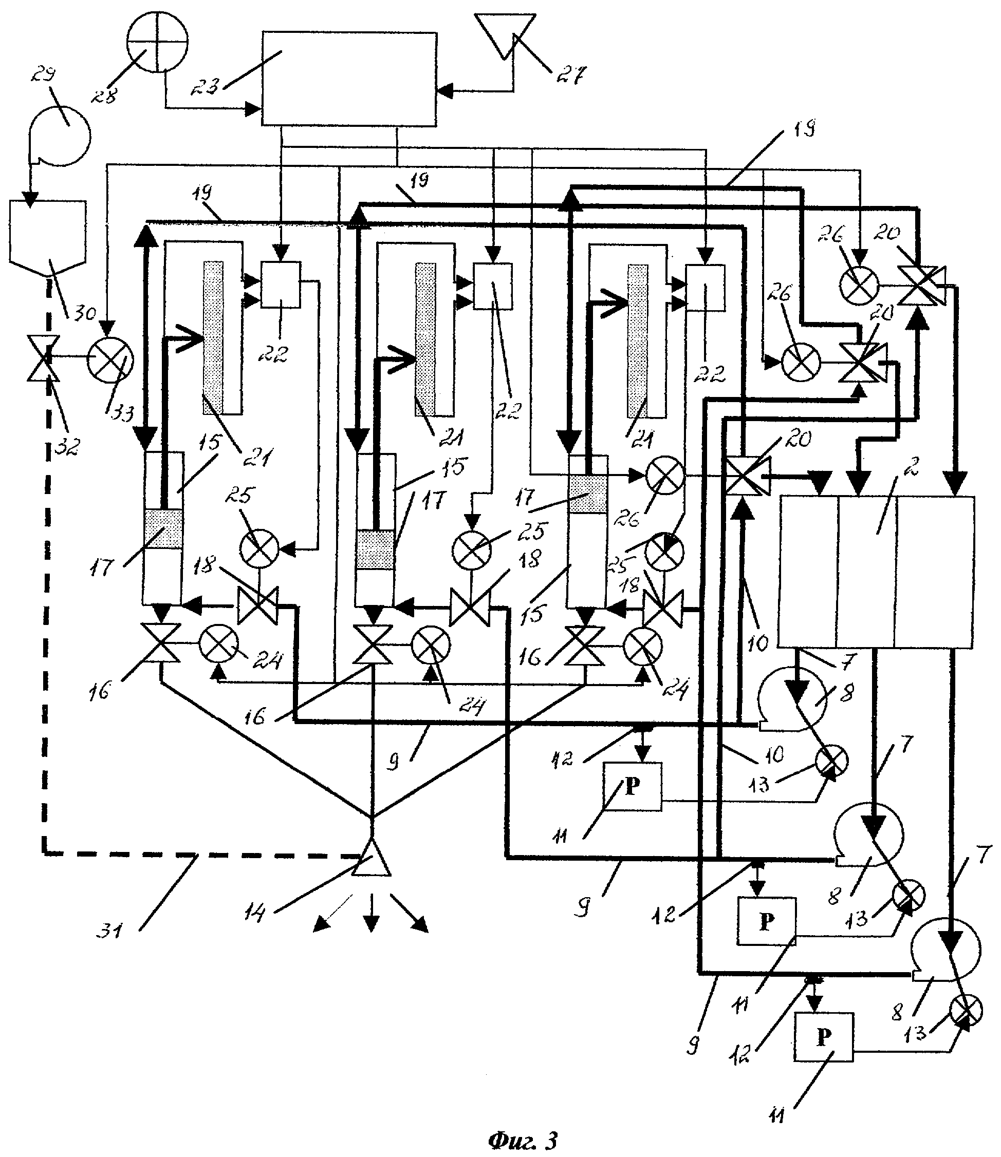
рабочий орган со всеми элементами системы управления. Устройство является прицепным и агрегатируется с трактором 1 (фиг.1, 2). Оно содержит гидрорезервуар 2 с жидкими минеральными
удобрениями или другими агрохимикатами. Гидрорезервуар 2 закреплен на раме 3, оборудованной ходовыми колесами 4. В торцевой части рамы 3 закреплена широкозахватная штанга для распределения удобрений 5,
вдоль которой через равные промежутки установлены рабочие органы 6. Гидрорезервуар 2 разделен на несколько отсеков по числу смешиваемых питательных компонентов (на представленной схеме - на три
отсека). Каждый из отсеков резервуара 2 посредством трубопроводов 7 (фиг.3) соединен с всасывающим входом насоса переменной подачи 8. Напорные патрубки насосов 8 соединены с питательными
трубопроводами 9 и байпасными линиями 10. Насосы 8 оборудованы регуляторами давления 11, к входам которых подключены датчики давления 12, установленные на питательных трубопроводах 9, а к выходу
- исполнительные приводы 13 насосов 8. Каждый рабочий орган по внесению удобрений 6 состоит из инжекционных форсунок 14 и объемных дозаторов 15, число которых на каждую форсунку равно числу
смешиваемых компонент. Всасывающие входы инжекционных форсунок 14 через вторые запорные клапаны 16 соединены с мерными объемами дозаторов 15, выполненных в виде цилиндров со свободно перемещающимися
поршнями 17, разделяющими пространство цилиндров на мерные и силовые объемы. Мерные объемы дозаторов 15 соединены через первые запорные клапаны 18 с питательными трубопроводами 9. Силовые объемы
дозаторов 15 соединены с дополнительными напорными трубопроводами 19, соединенными с первыми выходами трехходовых перепускных клапанов 20. Вторые выходы трехходовых клапанов 20 соединены с входными
горловинами соответствующих отсеков гидрорезервуара 2, а входы - с байпасными линиями 10. Поршни 17 дозаторов 15 оборудованы датчиками положения 21, подключенными к входам регуляторов доз 22. Входы
регуляторов доз 22 соединены с задающими выходами общего управляющего прибора 23, в качестве которого используется бортовой компьютер. Управляющие выходы бортового компьютера 23 соединены с
исполнительными механизмами 24 запорных клапанов 16 форсунок 14, исполнительными механизмами 25 запорных клапанов 18 на питательных трубопроводах 9, и с исполнительными механизмами 26 трехходовых
перепускных клапанов 20. К сигнальным входам бортового компьютера подключены датчик пространственных координат 27 (приемник спутниковой глобальной позиционной системы) и датчик скорости перемещения
машины 28. Машина оборудована пневмосистемой, содержащей компрессор 29, воздушный ресивер 30, соединенный пневмопроводом 31 через запорный клапан 32 с пневмовходами инжекционных форсунок 14.
Исполнительный механизм 33 запорного клапана 32 подключен к управляющему выходу бортового компьютера 23. Устройство для дифференцированного внесения жидких минеральных удобрений
работает следующим образом. Все сельскохозяйственное поле с культурой, для которой должно осуществляться внесение удобрений или проводиться обработка другими агрохимикатами,
предварительно разбивается через промежутки δx, δy на множество элементарных участков, каждый из которых имеет пространственную координату (x, y). Для каждого элементарного участка
предварительно, исходя из состояния культуры, рассчитываются дозы внесения жидких удобрений или других агрохимикатов с заданной концентрацией раствора всех необходимых компонентов. Программа доз
внесения по всем элементарным участкам D(x, y) заносится в бортовой компьютер 23 машины. В начальный момент времени, когда машина находится в точке поля с произвольной пространственной координате поля
{x, y)0 и с ориентацией распределительной штанги 5, например, вдоль оси x, то по координатам машины определяют координаты всех элементарных участков, попадающих в зону захвата штанги 5
машины (x, y)i = (x0±i·δx,y0); Заявляемый способ дифференцированного внесения удобрений реализуется
следующим образом. Для реализации способа для каждого элементарного участка с пространственными координатами x, y предварительно формируют базу заданных доз компонентов удобрений Dj(x, y), где , где i - номера рабочих
органов 6, установленных на штанге 5 через равные промежутки δx. Для указанных координат элементарных участков бортовым компьютером 23 в соответствии с программой внесения удобрений
вырабатываются задания на соотношения между компонентами и величины доз на указанных элементарных участках D(x, y)i, которые поступают в форме задающих сигналов на входы регуляторов доз 22.
На момент формирования задания на величины доз компонент работают насосы переменной подачи 8, а все запорные клапаны 16, 18 и 32 находятся в закрытом состоянии, а трехходовые перепускные клапаны 20
перекрывают входы, связанные с байпасными трубопроводами 10 и открывают входы, связанные с напорными трубопроводами 19, обеспечивая снижение в них давления до атмосферного уровня за счет сброса
рабочей жидкости в отсеки гидрорезервуара 2. В момент подачи сигналов заданий с выходов бортового компьютера 23, поршни 17 дозаторов 15 находятся в крайнем нижнем положении, при котором мерные объемы
дозаторов, равны нулю, что соответствует нулевому уровню сигналов и датчиков положения 21. Это приводит к появлению на выходе регуляторов доз 22 управляющих сигналов, которые поступают на
исполнительные механизмы 25, которые открывают клапаны 18 на питательной линии 9. За счет рабочего давления жидких удобрений в мерных объемах каждого дозатора, происходит перемещение поршней 17 и
датчиков 21 до того положения, пока не установится объем доз, равных заданным значениям, что соответствует нулевым сигналам на выходах регуляторов 22 и закрытию запорных клапанов 18. При этом
постоянство скорости перемещения поршней 17 обеспечивается стабилизацией рабочего давления в питательной линии 9 регулятором 11, управляющем подачей насоса 8 по сигналу датчика давления 12. В связи с
тем, что в начальной координате поля машина не движется и сигнал датчика скорости 28 отсутствует, то сразу за закрытием клапанов 18, с выхода бортового компьютера 23 подается управляющий сигнал на
исполнительные механизмы 24 клапанов 16 на форсунках 14 и на исполнительные механизмы 26 трехходовых клапанов 20 и 33 клапана 32 пневмосистемы. При этом одновременно открываются клапаны 16 на
форсунках 14 и клапан 32 на пневмопроводе 31, а трехходовые клапаны 20 открывают входы, связанные с байпасными линиями 10 и перекрывают входы, связанные с отсеками гидрорезервуара 2. Это приводит к
тому, что в напорных трубопроводах 19 устанавливается рабочее давление, а в мерных объемах дозаторов 15 давление наоборот снижается до атмосферного уровня, и за счет этой разности давлений происходит
перемещение поршней 17 дозаторов и выпуск доз удобрений во всасывающие входы инжекционных форсунок 14. Одновременно на пневмовходы форсунок 14 по пневмопроводу 31 подается сжатый воздух, который
осуществляет распыление жидких удобрений со стабильным факелом распыления, не зависящим от величин доз. Это достигается тем, что расход сжатого воздуха на пневмовходах инжекционных форсунок 14
превышает в 10-12 раз расход смеси удобрений и параметры факела распыления определяются в основном расходом сжатого воздуха. При отработке заданных доз всеми дозаторами, датчики положения 21 находятся
в нижнем положении, что соответствует нулевому уровню сигналов на всех регуляторах доз 22 и началу движения трактора 1. При движении устройства вдоль оси y, при фиксированной координате x0,
датчиком 28 измеряется скорость движения, сигнал которого ν поступает на вход бортового компьютера 23, где для принятого интервала пространственной дискретизации поля δy вычисляется
величина интервала времени, в течение которого устройство проходит уже обработанный участок поля δt=δy/ν и выходит на новый участок с координатами (х0, y+δy). В
течение 0,9-ой доли этого интервала времени одновременно осуществляется подготовка следующей технологической операции. Для указанных новых координат элементарных участков бортовым компьютером 23 в
соответствии с программой внесения удобрений вырабатываются задания на величины доз на указанных элементарных участках D(x, y)i+1, которые поступают в форме задающих сигналов на входы
регуляторов доз 22, и весь цикл формирования и исполнения доз повторяется по всей ширине захвата штанги 5 устройства. При прохождении устройства всей длины гона поля вдоль координаты y происходит его
разворот в противоположном направлении с одновременным смещением вдоль оси x рабочей зоны на величину захвата, и все операции для каждого элементарного участка вдоль оси у повторяются по всей длине
гона. При этом новые координаты после маневра устройства определяются датчиком пространственных координат 27.
- индексы компонент удобрений, смешиваемых при внесении. Эту базу данных заносят в бортовой
компьютер 23 и информацию о дозах считывают при движении машины по полю по сигналам о пространственных координатах x, y, формируемых датчиком 27 системы глобального позиционирования. При движении
устройства по полю и сигналу V датчика скорости 28 определяют интервал времени прохождения длины δx каждого элементарного участка, на которые предварительно разделяют всю площадь поля Т=δ
x/V. По этой величине определяют допустимый интервал формирования рабочих доз удобрений Т1=0,9Т и сопряженный ему допустимый интервал времени внесения удобрений на элементарном участке
Т2=Т-T1. За время интервала формирования Т1 считывают информацию из базы данных Dj(x, y) и формируют задания регуляторам доз 22, которые отрабатываются
дозаторами 15. В результате выполнения этих технологических операций к моменту времени T1 все дозаторы 15 подготавливают к формированию рабочего импульса внесения компонентов удобрений. По
истечении момента времени Т1, в течение интервала Т2=Т-Т1 в форсунках 14 производят смешивание доз всех компонентов удобрений со сжатым воздухом пневмосистемы 31 и
внесение этой смеси на элементарном участке. При этом величины импульсов объемного расхода сжатого воздуха на каждой форсунке 14 устанавливают равной 10-12 общих доз смешиваемых компонент удобрений.
Это обеспечивает стабильное распыление смеси удобрений по площади элементарного участка при изменениях размеров доз при переходах от одного элементарного участка к другому, когда все операции по
внесению повторяются.