патент
№ RU 231891
МПК E01D4/00

Арочная железобетонная конструкция с предварительным напряжением без сцепления с бетоном

Авторы:
Тряхов Сергей Валериевич
Номер заявки
2024116756
Дата подачи заявки
18.06.2024
Опубликовано
17.02.2025
Страна
RU
Как управлять
интеллектуальной собственностью
Чертежи 
11
Реферат

[50]

Полезная модель относится к строительству, а именно к арочным железобетонным конструкциям с преднапряжением без сцепления с бетоном, и может быть использована для переходов через небольшие водные преграды в виде ручьев и небольших речек. Арочная железобетонная конструкция с предварительным напряжением без сцепления с бетоном, содержащая основное тело, выполненное из монолитного бетона, имеющее тавровую симметричную форму сечения, рабочую арматуру, выполненную из отдельных радиусных гнутых стержней периодического профиля, стальные арматурные канаты - моностренды, покрытые непрерывной полимерной оболочкой с прослойкой из антикоррозионного состава, которые используют в качестве верхнего и нижнего армирования, и расположенные в продольном направлении, вспомогательную арматуру, выполненную из отдельных гнутых стержней периодического профиля, вспомогательную арматуру, выполненную из хомутов периодического профиля, опорные закладные детали, установленные в основании формы опалубки, верхние и нижние торцевые закладные детали, расположенные на стальных арматурных канатах - монострендах, причем цанги расположены на торцах арочной железобетонной конструкции, упираясь в закладные детали. Технический результат при использовании заявленного решения заключается в повышении долговечности арочной железобетонной конструкции с предварительным напряжением без сцепления с бетоном за счет возможности донатяжения канатной арматуры при потере при эксплуатации части прочности от релаксации, а также объединения подобных изделий в один элемент для использования как для пешеходной зоны, так и для проезда автомобильного транспорта. 7 з.п. ф-лы, 11 ил.

Формула изобретения

1. Арочная железобетонная конструкция с предварительным напряжением без сцепления с бетоном, содержащая основное тело (1), выполненное из монолитного бетона, имеющее тавровую симметричную форму сечения, рабочую арматуру, выполненную из отдельных радиусных гнутых стержней периодического профиля (5), стальные арматурные канаты - моностренды, покрытые непрерывной полимерной оболочкой с прослойкой из антикоррозионного состава, которые используют в качестве верхнего и нижнего армирования, и расположенные в продольном направлении (6-9), вспомогательную арматуру, выполненную из отдельных гнутых стержней периодического профиля (10), вспомогательную арматуру, выполненную из хомутов периодического профиля (11), опорные закладные детали (12), верхние (14) и нижние (13) торцевые закладные детали, расположенные на стальных арматурных канатах - монострендах (6-9), причем цанги (15) расположены на торцах арочной железобетонной конструкции, упираясь в закладные детали (13, 14).

2. Арочная железобетонная конструкция с преднапряжением без сцепления с бетоном по п.1, отличающаяся тем, что дополнительно содержит ограждения (17) в виде фибробетонных навесных самонесущих панелей, или перил из алюминия, или ограждения, выполненные из стальных, оцинкованных, нержавеющих или кованых элементов.

3. Арочная железобетонная конструкция с преднапряжением без сцепления с бетоном по п.1, отличающаяся тем, что дополнительно содержит одиночные железобетонные ступени (16) с антискользящим износостойким, композитным покрытием (18), имеющим в составе кварцевый песок сухой окатанный, предпочтительной фракции 0,8-1,2 мм, распределенный на предварительно нанесенную на основание одно или двухкомпонентную полиуретановую грунт-эмаль.

4. Арочная железобетонная конструкция с преднапряжением без сцепления с бетоном по п.1, отличающаяся тем, что дополнительно содержит одиночные железобетонные ступени (16) с антискользящим покрытием (18) в виде фрезерованных продольных проточек, выполненных в заводских условиях.

5. Арочная железобетонная конструкция с преднапряжением без сцепления с бетоном по п.1, отличающаяся тем, что дополнительно содержит одиночные железобетонные ступени с антискользящей полимерной композицией на основе эпоксидных, полиуретановых и метилакриллатных составов.

6. Арочная железобетонная конструкция с преднапряжением без сцепления с бетоном по п.1, отличающаяся тем, что дополнительно содержит одиночные железобетонные ступени (16) с антискользящими вставками из инкрустированных в бетон на этапе формовки ребристыми полиуретановыми полосами.

7. Арочная железобетонная конструкция с преднапряжением без сцепления с бетоном по п.1, отличающаяся тем, что длина одной конструкции составляет от 12 000 до 24 000 мм, а ширина от 1500 до 3000 мм.

8. Арочная железобетонная конструкция с преднапряжением без сцепления с бетоном по любому из пп.3-6, отличающаяся тем, что в качестве ступеней (16) использованы как одиночные пустотелые, так и полнотелые лестничные ступени.

Описание

[1]

Область техники, к которой относится полезная модель

[2]

Полезная модель относится к строительству, а именно к арочным железобетонным конструкциям с преднапряжением без сцепления с бетоном, и может быть использована для переходов через небольшие водные преграды в виде ручьев и небольших речек.

[3]

Уровень техники

[4]

Первый предварительно напряженный бетонный мост был построен в 1938 году, согласно планам Фрейсина в Oelde на автостраду из Дортмунда в Ганновер. Особенностью системы предварительного напряжения без сцепления с бетоном является отсутствие процесса инъектирования, так как в качестве напрягаемых арматурных элементов, работающих без сцепления с бетоном, применяются стальные проволочные канаты в оболочке («моностренд») с двойной антикоррозионной защитой в виде пластичной смазки и пластмассовой трубки. Смазка способствует уменьшению сил трения при натяжении каната, а пластмассовая трубка позволяет производить натяжение армоканата после бетонирования и набора бетоном проектной прочности. Канат в оболочке не соприкасается с бетоном в течении всего срока эксплуатации.

[5]

В строительстве чаще всего используют арки с затяжкой на опорах и арки с затяжкой выше опор, арки переменного сечения. Чаще используется предварительное напряжение без сцепления с бетоном, выполняемое непосредственно перед монтажом конструкции, так как арки собираются или заливаются из монолита на строительной площадке. Самым сложным при работе с арочными конструкциями является размещение предварительно напряженной арматуры по дуге, так как канатную арматуру необходимо разместить строго по эпюре момента в продольном направлении. По статической схеме, арочные мосты разделяются на:

[6]

1. Распорные арочные мосты;

[7]

2. Арочные системы с затяжками (безраспорные).

[8]

Известен мост однопролетный металлический балочный (Мучной мост в Санкт-Петербурге). Пролетное строение состоит из двух стальных двутавровых балок высотой в замках 0,8 м. Расстояния в осях главных балок - 2,26 м. Верхние и нижние пояса балок очерчены по циркульным кривым разных радиусов, что дает увеличение высоты балок у опор до 1,26 м. Монтажные стыки главных балок сварные и на высокопрочных болтах. Расчетный пролет - 20,2 м. Устои монолитные железобетонные на свайном основании из буроинъекционных свай. Длина моста (по задним граням устоев) составляет 22,0 м, ширина - 2,3 м. Мост предназначен для пешеходного движения и прокладки труб теплотрассы. Прохожая часть представляет собой съемные металлические панели, состоящие из металлических листов толщиной 12 мм, подкрепленных продольными и поперечными ребрами жесткости. Покрытие прохожей части моста - тонкослойное полимерное. Перильное ограждение металлическое сварное, простого рисунка. По фасадам главных балок устроен металлический карниз.

[9]

Недостатками известного решения является то, что он металлический и в процессе его эксплуатации необходим уход поверхностного слоя металла с необходимостью покраски и т.д.

[10]

Известен мост однопролетный арочный со сплошным железобетонным бесшарнирным сводом (Эрмитажный мост в Санкт-Петербурге). Устои моста из бутовой кладки на свайном основании, облицованы гранитом. Толщина железобетонного свода в замке - 25 см, у пят - 45 см; размеры свода эллиптической формы в свету составляют 9,73 м, при стреле подъема его внутреннего очертания 3 м. Фасады облицованы гранитом с рустовым камнем в замке. Длина моста составляет 12,2 м (24,8 м по задним граням устоев), ширина - 15,2 м (16,5 м по карнизам). Мост предназначен для движения автотранспорта и пешеходов. Проезжая часть моста включает в себя две полосы для движения автотранспорта. Покрытие проезжей части - асфальтобетон, на тротуарах уложены гранитные плиты. Тротуары отделены от проезжей части гранитным поребриком. В качестве ограждений использованы глухие гранитные парапеты. Тротуары моста и набережных сопряжены ступенями.

[11]

Недостатками известного решения является то, что облицовка моста, а также ограждение проезжей части выполнено из гранита, в результате чего имеет большую массу.

[12]

Известен мост однопролетный железобетонный арочный (Балтийский мост в Санкт-Петербурге). Пролетное строение представляет собой двухшарнирную арку. В поперечном сечении установлены две монолитные железобетонные арки Г-образного сечения, с расстоянием в осях 3,8 м. Сверху между арками уложены сборные железобетонные плиты прохожей части. Кроме того, по длине арки объединены поперечными диафрагмами, одновременно служащими для поддержания двух теплопроводных труб диаметром 82 см. Высота арки в замке 1,04 м, в пяте - 3,20 м. Устои моста монолитные железобетонные, на свайном деревянном основании. Фасады арок и устои облицованы розовым гранитом. Расчетный пролет - 21,5 м. Длина моста по задним стенкам устоев составляет 22,80 м, по оси перил набережной - 33,0 м, ширина - 4,5 м.

[13]

Данный мост предназначен для пешеходного движения. Покрытие прохожей части - асфальтобетон.

[14]

Раскрытие полезной модели

[15]

Технический результат, при использовании заявленного решения, заключается в повышении долговечности арочной железобетонной конструкции с предварительным напряжением без сцепления с бетоном, за счет возможности донатяжения канатной арматуры при потере при эксплуатации части прочности от релаксации, а также объединения подобных изделий в один элемент для использования как для пешеходной зоны, так и для проезда автомобильного транспорта.

[16]

Технический результат достигается тем, что арочная железобетонная конструкция с предварительным напряжением без сцепления с бетоном содержит основное тело, выполненное из монолитного бетона, имеющее тавровую симметричную форму сечения, рабочую арматуру, выполненную из отдельных радиусных гнутых стержней периодического профиля, стальные арматурные канаты - моностренды, покрытые непрерывной полимерной оболочкой с прослойкой из антикоррозионного состава, которые используют в качестве верхнего и нижнего армирования, и расположенные в продольном направлении, вспомогательную арматуру, выполненную из отдельных гнутых стержней периодического профиля, вспомогательную арматуру, выполненную из хомутов периодического профиля, опорные закладные детали, установленные в основании формы опалубки, верхние и нижние торцевые закладные детали, расположенные на стальных арматурных канатах - монострендах, причем цанги, расположены на торцах арочной железобетонной конструкции, упираясь в закладные детали. Конструкция с преднапряжением без сцепления с бетоном может дополнительно содержать ограждения в виде фибробетонных навесных самонесущих панелей, перил из алюминия, или ограждения, выполненные из стальных, оцинкованных, нержавеющих или кованых элементов. Арочная железобетонная конструкция с преднапряжением без сцепления с бетоном может дополнительно содержать одиночные железобетонные ступени с антискользящим покрытием, износостойким, композитным покрытием, имеющим в составе кварцевый песок сухой окатанный, предпочтительной фракции 0,8-1,2 мм, распределенный на предварительно нанесенную на основание одно или двухкомпонентную полиуретановую грунт-эмаль. Арочная железобетонная конструкция дополнительно может содержать одиночные железобетонные ступени с антискользящим покрытием в виде фрезерованных продольных проточек, выполненных в заводских условиях. Арочная железобетонная конструкция может дополнительно содержать одиночные железобетонные ступени с антискользящей полимерной композицией на основе эпоксидных, полиуретановых и метилакриллатных составов. Арочная железобетонная конструкция может дополнительно содержать одиночные железобетонные ступени с антискользящими вставками из инкрустированных в бетон на этапе формовки ребристыми полиуретановыми полосами. Арочная железобетонная конструкция с преднапряжением без сцепления с бетоном имеет возможность объединения, по меньшей мере, двух арочных железобетонных конструкций в группы по ширине. В арочной железобетонной конструкции с преднапряжением без сцепления с бетоном длина одной конструкции составляет от 12 000 до 24 000 мм, а ширина от 1500 до 3000 мм. Арочная железобетонная конструкция с преднапряжением без сцепления с бетоном имеет возможность объединения трех и более элементов для возможности эксплуатации моста как для пешеходов, так и для проезда автомобильного транспорта в прямом и встречном направлениях. В качестве ступеней могут быть использованы как одиночные пустотелые, так и полнотелые лестничные ступени.

[17]

Краткое описание чертежей

[18]

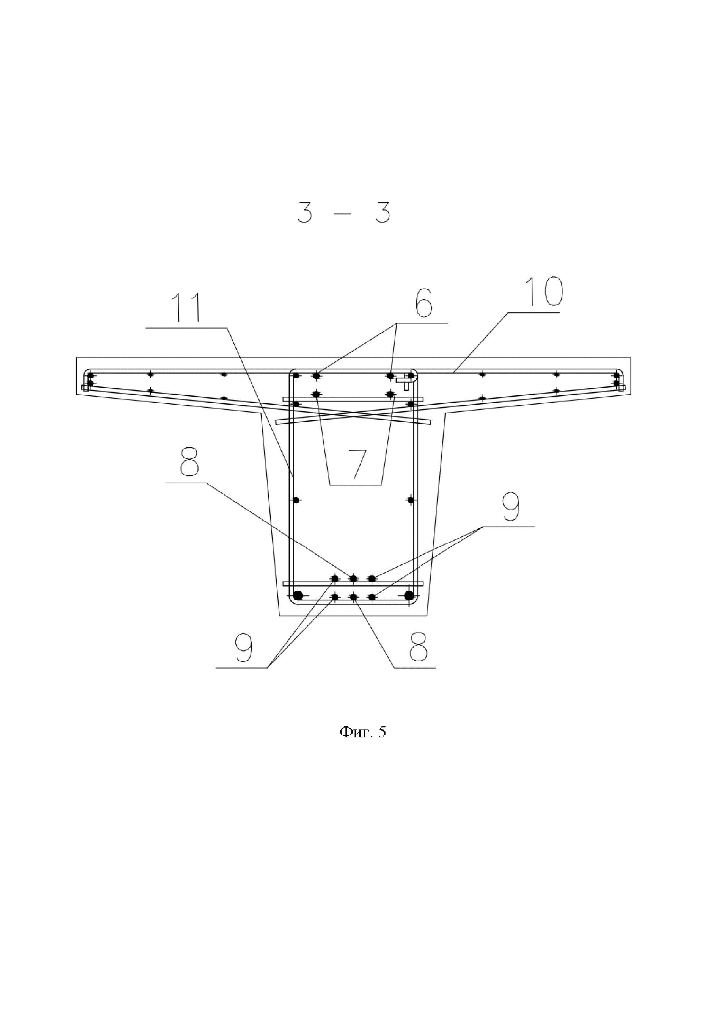
На фиг. 1 показана схема нагружения арочной железобетонной конструкции, на фиг. 2-6 представлен продольный и поперечный разрезы арматурного каркаса арочной железобетонной конструкции, на фиг. 7 представлен вид арочной железобетонной конструкции, вид с торца, на фиг. 8 представлена визуализация арочной железобетонной конструкции после выемки из опалубки, с установленными на нее лестничными ступенями и ограждениями, через сварку с закладными деталями (закладные детали условно не показаны), на фиг. 9 представлена визуализация арочных железобетонных конструкций, объединенных в группу, на фиг. 10 представлена визуализация арочной железобетонной конструкции, на фиг. 11 - показана фотография испытаний нагружением арочной железобетонной конструкции, где:

[19]

1 - основное тело арочной железобетонной конструкции,

[20]

2 - фундаментные блоки строительные, с помощью которых производят нагружение арочной железобетонной конструкции,

[21]

3 - фундаментные блоки строительные, устанавливаемые по бокам от арочной железобетонной конструкции в качестве страховки от опрокидывания при проведении испытаний нагружением,

[22]

4 - металлические косынки,

[23]

5 - рабочая арматура, выполненная из отдельных радиусных гнутых стержней периодического профиля,

[24]

6-9 - рабочая арматура, выполненная из стальных арматурных высокопрочных канатов - монострендов, покрытых непрерывной полимерной оболочкой с прослойкой из антикоррозионного состава,

[25]

10 - вспомогательная арматура, выполненная из отдельных гнутых стержней периодического профиля,

[26]

11 - вспомогательная арматура, выполненная из хомутов периодического профиля,

[27]

12 - опорные закладные детали,

[28]

13 - нижние торцевые закладные детали,

[29]

14 - верхние торцевые закладные детали,

[30]

15 - цанги,

[31]

16 - железобетонные ступени,

[32]

17 - ограждения,

[33]

18 - антискользящее покрытие.

[34]

Осуществление полезной модели

[35]

Заявленное техническое решение заключается в следующем. Арочная железобетонная конструкция с предварительным напряжением без сцепления с бетоном состоит из основного тела 1, выполненного из монолитного бетона предпочтительно класса не ниже В40, морозостойкость не ниже F2200, водонепроницаемость не ниже W8, имеет тавровую симметричную форму сечения, причем используют преднапряжение, при котором в конструкции применяют в верхней и нижней частях в качестве верхней и нижней рабочей арматуры стальные арматурные канаты - моностренды 6-9, покрытые непрерывной полимерной оболочкой с прослойкой из антикоррозионного состава (согласно расчету) по СТО 71915393-ТУ100-2010 совместно с набором цанг 15, которые подразделяются на пассивные и активные цанги. Раскладку стальных арматурных канатов - монострендов 6-9 выполняют строго по эпюре момента в продольном направлении. Передача усилий от стальных арматурных канатов - монострендов 6-9 на бетон осуществляется через установленные на торцах конструкции активные и пассивные цанги 15, которые упираются в закладные детали 13, 14, заанкеренные в торцевой части конструкции. Пассивная цанга 15 фиксирует концы стальных арматурных канатов - монострендов 6-9 на торце конструкции и не дает им продернуться при работе с предварительным натяжением, а активная цанга 15 закрепляет стальные арматурные канаты - монострендов 6-9 после натяжения. После натяжения в затвердевшем бетоне стальные арматурные канаты - моностренды 6-9 остаются в полимерной оболочке, которая изолирует стальные арматурные канаты - моностренды 6-9 от воздействия щелочной среды бетона в период эксплуатации арочной железобетонной конструкции. Цанги 15 устанавливают с обеих сторон арочной железобетонной конструкции и конструктивно они расположены вне основного тела 1 арочной железобетонной конструкции, а именно - снаружи, так как упираются во внешнюю часть закладных деталей 13, 14, установленных по торцам основного тела 1 арочной железобетонной конструкции. Верхние и нижние торцевые закладные детали 13, 14, в которые упираются цанги 15, одеты на стальные арматурные канаты - моностренды 6-9, при этом стальные арматурные канаты - моностренды 6-9 пропускают через сквозные отверстия в закладных деталях 13, 14. Арочная железобетонная конструкция дополнительно может содержать ограждения 17 в виде фибробетонных навесных самонесущих панелей, или перил из алюминия, а также ограждения, выполненные из кованых элементов. Арочная железобетонная конструкция имеет возможность объединения, по меньшей мере, двух арочных железобетонных конструкций в группы по ширине, например: одна конструкция с полнотелыми или пустотелыми железобетонными ступенями 16 в количестве, соответствующем проекту с антискользящим покрытием 18.

[36]

Пример 1. Три арочных железобетонных конструкции объединяют в группу по ширине, для организации пешеходной зоны.

[37]

Пример 2. Две арочных железобетонных конструкции объединяют в группу по ширине, при этом по одной арочной железобетонной конструкции организовывают пешеходное движение, а по второй арочной железобетонной конструкции возможно движение на средствах индивидуальной мобильности, как с ограждением 17, для деления потоков, так и без него.

[38]

Пример 3. Четыре и более арочных железобетонных конструкции объединяют в группу по ширине, при этом по одной арочной железобетонной конструкции, расположенной по бокам возможна организация пешеходного движения или движение на средствах индивидуальной мобильности с установкой ограждений 17 для безопасности движения, а по остальным установленным арочным железобетонным конструкциям возможно одно или многополосное передвижение автомобильного транспорта с нанесением горизонтальной разметки движения в пределах полос.

[39]

Длина арочной железобетонной конструкции предпочтительно составляет от 8000 мм до 36 000 мм, а ширина от 1500 до 3000 мм.

[40]

Способ изготовления заявленного технического решения заключается в изготовлении отдельных индивидуальных элементов будущей формы опалубки из листового материала, на станке с Числовым программным управлением (ЧПУ) с их последующим объединением в форму опалубки. На фиг. 2-6 представлено армирование арочной железобетонной конструкции, где в процессе изготовления объемного арматурного каркаса последовательно распределяют на стойке-кондукторе вспомогательную арматуру, выполненную из отдельных гнутых стержней 10, а также из хомутов периодического профиля 11, далее, подвязывают рабочую арматуру, выполненную из отдельных радиусных гнутых стержней 5 периодического профиля. Далее производят укладку объемного арматурного каркаса с помощью кранового оборудования и набора грузозахватных приспособлений в подготовленную и смазанную форму опалубки, выставляют в основании формы опорные закладные детали 12, торцевые верхние 14 и нижние 13 закладные детали, в которые после набора бетоном соответствующей прочности будут упираться цанги 15, держащие в натянутом состоянии предварительно напряженные стальные арматурные канаты - моностренды 6-9 и петли, необходимые как для выемки основного тела 1 арочной железобетонной конструкции из формы опалубки, так и для транспортировки и монтажа. Далее осуществляют протяжку стальных арматурных канатов 6-9, покрытых непрерывной полимерной оболочкой с прослойкой из антикоррозионного состава в проектное положение через торцевые борта формы с позиционированием в объеме изделия строго по эпюре момента в продольном направлении, согласно требованиям проекта. Бетонирование монолитной арочной железобетонной конструкции осуществляют путем укладки бетонной смеси в подготовленную форму с принятым техническими службами армированием.

[41]

После достижения распалубочной прочности и разрешения на съем производится выемка основного тела 1 арочной железобетонной конструкции из формы опалубки. Далее производят установку цанг 15 на торцах арочной железобетонной конструкции, после чего с помощью оборудования для одиночного натяжения выполняют преднапряжение без сцепления с бетоном с передачей расчетного усилия обжатия на торцевые части изделия с находящимися на них закладными деталями 13 и 14 и фиксируют цангами 15. Цанги 15 могут быть любого производителя и должны позволять работать с преднапряженной арматурой. Натяжение стальных арматурных канатов - монострендов 6-9 выполняют в шахматном порядке от краев к середине и от верхнего ряда к нижнему. В заявленной арочной железобетонной конструкции растянута зона не только снизу, но и сверху.

[42]

Получают арочную железобетонную конструкцию длиной от 8000 мм до 36 000 мм, шириной от 1500 до 3000 мм, высотой от 1500 мм (в нижней точке арочной железобетонной конструкции). Срок эксплуатации составляет не менее 30 лет. Несущая способность арочной железобетонной конструкции составляет 20 тонн, что подтверждено натурными испытаниями на фиг. 1, при которых арочную железобетонную конструкцию устанавливают с помощью мостового крана и набора грузозахватных приспособлений на фундаментные блоки строительные 3 для проведения испытаний нагружением, нагружают фундаментными блоками строительными 2, с помощью которых производят нагружение арочной железобетонной конструкции, при этом крайние фундаментные блоки строительные 2 поддерживаются с помощью металлических косынок 4, закрепленных на верхних торцевых закладных деталях 14.

[43]

По сравнению с известными решениями заявленная полезная модель позволяет:

[44]

1) снизить общую массу,

[45]

2) повысить сейсмостойкость,

[46]

3) повысить прочность,

[47]

4) снизить расход бетона и ненапрягаемой арматуры,

[48]

5) снизить прогибы железобетонной конструкции в течение срока эксплуатации,

[49]

6) повысить долговечность и надежность арочной железобетонной конструкции с преднапряжением без сцепления с бетоном, которую возможно объединять в группы по ширине. Защитная антикоррозионная оболочка каната семипроволочного арматурного позволяет повысить долговечность конструкции за счет отсутствия коррозии.

Как компенсировать расходы
на инновационную разработку
Похожие патенты