Полезная модель относится к области электротехники, а именно к конструктивному исполнению магнитной системы ротора с инкорпорированными постоянными магнитами быстроходной обратимой электромашины. Сущность технического решения заключается в использовании постоянных магнитов, которые имеют прямоугольную форму одинаковой намагниченности и под магнитами, размещенными по наружной поверхности ротора, находятся V-образно расположенные постоянные магниты также прямоугольной формы одинаковой намагниченности. Оптимизация магнитной системы с обеспечением синусоидального магнитного поля высокой напряженности достигается применением V-образного расположения постоянных магнитов по наружной окружности пластин, применении торцевых выемок пазов в пластинах ротора с реализацией синусоидального потокосцепления в зазоре. Технический результат предлагаемого решения заключается в обеспечении быстроходности и обратимости электромашины за счет повышения синусоидального магнитного поля высокой напряженности.
Магнитная система ротора, содержащая более чем две пластины магнитопроводящей стали с полюсами, образованными постоянными магнитами, находящимися внутри пакета пластин, под магнитами выполнены воздушные полости, а на внутреннем диаметре ротора имеется хотя бы один выступ для соединения с валом ротора, отличающаяся тем, что постоянные магниты на наружной поверхности ротора имеют прямоугольную форму одинаковой диаметральной N-S или S-N намагниченности и под магнитами, размещенными по наружной поверхности ротора, находятся V-образно расположенные постоянные магниты также прямоугольной формы диаметральной N-S или S-N намагниченности, причем пазы в пластинах магнитопроводящей стали для размещения постоянных магнитов выполняются с торцевыми выемками, которые для размещенных на наружной поверхности ротора постоянных магнитов имеют симметричную треугольную форму, а для V-образно расположенных постоянных магнитов имеют несимметричную форму в виде полуокружности со стороны магнита, расположенной ближе к окружности ротора, и клювообразную форму со стороны магнита, расположенную ближе к оси ротора.
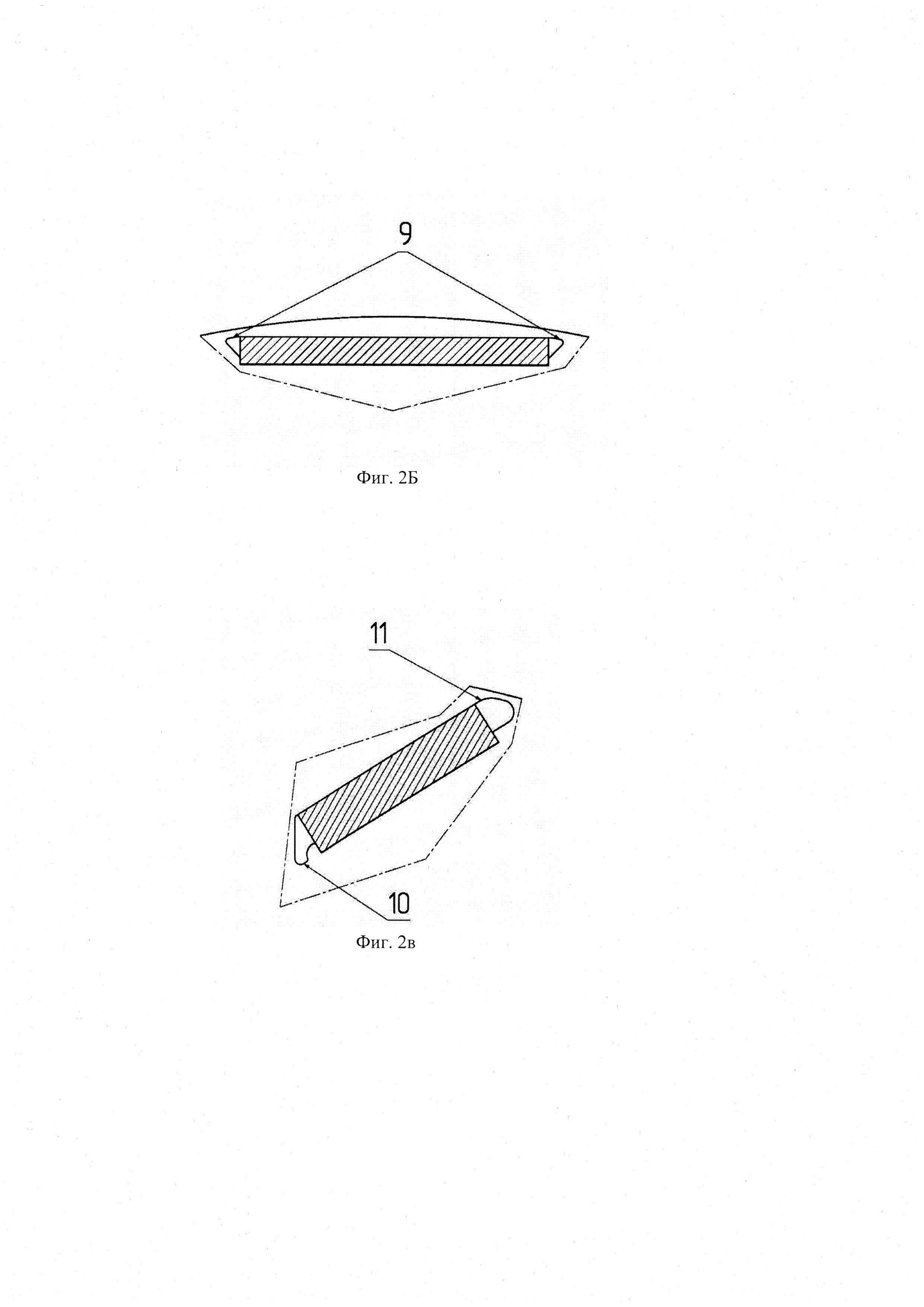
Полезная модель относится к области электротехники, а именно к конструктивному исполнению магнитной системы ротора с инкорпорированными постоянными магнитами быстроходной обратимой электромашины. Такие обратимые электромашины относятся к классу синхронных электромашин и различаются: с поверхностной установкой постоянных магнитов на ротор и с инкорпорированной (внутренней) установкой постоянных магнитов в ротор. Последний вариант наиболее предпочтителен для быстроходных обратимых электромашин, обеспечивая улучшенную динамическую прочность конструкции. Быстроходные электромашины работают с частотой вращения свыше 6 тыс. об/мин и позволяют существенно снизить их массогабаритные размеры, удешевив производство при повышении надежности и энергоэффективности. Обратимые электромашины позволяют работать как в режиме генератора, так и в режиме двигателя, что недоступно традиционным электромашинам при отсутствии постоянных магнитов. Разработка обратимых электромашин позволяет унифицировать и удешевить производство, расширив диапазон применения типовых решений. Кроме того, различают конструкции роторов: с радиальным, тангенциальным магнитным полем, а также с V-образным расположением постоянных магнитов. Оптимизировать конструкцию роторов обратимых электромашин нереально, т.к. в режиме генератора необходимо обеспечить наибольшую мощность за счет снижения потерь, а в режиме двигателя необходимо реализовать наибольший момент вращения. Синхронные обратимые электромашины с инкорпорированными постоянными магнитами используют как активную, так и реактивную часть магнитного поля для образования наибольшего момента вращения и имеют соотношение результирующих значений индуктивности по осям d и q равным от 1 до 8. Такая конструкция ротора оптимальна как при использовании в пределах номинальных значений скорости вращения ротора, так и при их повышенных значениях (в режиме ослабления поля). Важной задачей при разработке таких электромашин является обеспечение синусоидального магнитного поля высокой напряженности в воздушном зазоре между ротором и статором и между постоянными магнитами ротора и концентрической обмоткой статора. Наибольшая плотность силовых линий магнитного поля в воздушном зазоре обеспечивает наибольшую напряженность (индукцию), а отсутствие излома или нарушение гладкости силовых линий в зазоре и роторе обеспечивает синусоидальность магнитного поля сетевой частоты. Технической задачей полезной модели является реализация магнитной системы ротора с инкорпорированными постоянными магнитами быстроходной обратимой электромашины, которая оптимизирует магнитную систему ротора с обеспечением синусоидального магнитного поля высокой напряженности. Известно техническое решение по патенту US 2005/0001503 А1, МПК 02K 21/12 от 06.01.2005 «Ротор для электрической машины», в котором ротор представляет цилиндрический сердечник с центральным отверстием, а постоянные магниты встроены в сердечник ротора и выдвигаются по сути, как спицы, через сердечник ротора, причем выбранные соседние постоянные магниты соединены, по крайней мере, с одним вспомогательным магнитом на их радиальных внутренних концах. Указанное техническое решение не обеспечивает синусоидального магнитного поля высокой напряженности. Известно техническое решение по патенту RU 2406209, МПК H02K 1/27, H02K 15/03 от 10.12.2010 «Ротор на постоянных магнитах», которое касается особенностей выполнения ротора на постоянных магнитах для электродвигателя с постоянными магнитами во внутренней части ротора, расположенными параллельно оси вращения ротора и в области радиально внешних продольных кромок постоянных магнитов на внешнем периметре ротора с открытыми наружу пазами. Пазы проходят наклонно или с изгибом к продольным кромкам смежных постоянных магнитов в направлении периметра или, по меньшей мере, один раз пересекают. Пазы на внешней стороне ротора в направлении периметра имеют меньшую ширину, чем в лежащей радиально ближе к центру области паза, и форма поперечного сечения паза по длине ротора постоянна. Указанное решение не касается обеспечения наибольшего синусоидального магнитного поля высокой напряженности. Наиболее близким техническим решением к предлагаемой полезной модели, которое принимается в качестве прототипа, является «Магнитная система ротора», RU 119185 U1, МПК H02K 21/00 от 10.08.2012, в которой магнитная система ротора, содержащая более чем две пластины магнитопроводящей стали с полюсами, образованными постоянными магнитами дуговой формы с радиальной или диаметральной намагниченностью N-S и S-N, находящимися внутри пакета пластин, содержит под магнитами воздушные полости, а на внутреннем диаметре ротора имеется хотя бы один выступ для соединения с валом ротора. Указанное решение не обеспечивает синусоидального магнитного поля высокой напряженности за счет применения дуговой формы постоянных магнитов с разной намагниченностью. Техническое решение поставленной задачи достигается выполнением следующей конструкции ротора. Магнитная система ротора, содержащая более чем две пластины магнитопроводящей стали с полюсами, образованными постоянными магнитами, находящимися внутри пакета пластин, под магнитами выполнены воздушные полости, а на внутреннем диаметре ротора имеется хотя бы один выступ для соединения с валом ротора, отличающаяся тем, что постоянные магниты на наружной поверхности ротора имеют прямоугольную форму одинаковой диаметральной N-S или S-N намагниченности и под магнитами, размещенными по наружной поверхности ротора, находятся V-образно расположенные постоянные магниты также прямоугольной формы диаметральной N-S или S-N намагниченности, причем пазы в пластинах магнитопроводящей стали для размещения постоянных магнитов выполняются с торцевыми выемками, которые для размещенных на наружной поверхности ротора постоянных магнитов имеют симметричную треугольную форму, а для V-образно расположенных постоянных магнитов имеют несимметричную форму в виде полуокружности со стороны магнита, расположенной ближе к окружности ротора, и клювообразную форму со стороны магнита, расположенную ближе к оси ротора. Сущность технического решения поясняется с помощью чертежей: фиг. 1 - схематичный вид пластины ротора с реализацией пазов под постоянные магниты, фиг. 1а - фрагмент пластины ротора с выделением торцевых выемок в пазах под постоянные магниты, фиг. 2 - конструкция магнитной системы ротора с размещением унифицированных постоянных магнитов прямоугольной формы типов 1 и 2, фиг. 2а - фрагмент конструкции магнитной системы ротора с размещением двух типов унифицированных постоянных магнитов типа 1 и 2, фиг. 2б - фрагменты выемок в торцах пластины под магниты типа 1, фиг. 2в - фрагмент выемок в торцах пластины под магниты типа 2, фиг. 3 - компьютерное распределение силовых линий магнитного поля в пространстве ротор-воздушный зазор-статор с концентрическими обмотками и значения индукции магнитного поля по элементам магнитной системы, фиг. 3а - фрагмент компьютерного распределения силовых линий магнитного поля, уровни намагничивания между V-образно расположенными постоянными магнитами ротора и концентрической обмоткой статора, а также значения намагничивания элементов. На чертежах приняты обозначения: 1 - пластина ротора, 2 - отверстия в пластине ротора под воздушные полости, 3 - пазы под постоянные магниты, 4 - прорези под нижние выемки магнитов типа 2, 5 - прорези под верхние выемки магнитов типа 1 и 2, 6 - магнитная система в виде набора размещенных в пазах пластины V-образных сборок постоянных магнитов, 7 - магнит типа 1, 8 - магнит типа 2, 9 - форма треугольных выемок в торцах пластины под магниты типа 1, 10 - форма нижних клювообразных выемок в торцах пластины под магниты типа 2, 11 - форма верхних в виде полуокружности выемок в торцах пластины под магниты типа 2. На фиг. 1 показан схематичный вид пластины ротора 1 с реализацией пазов под постоянные магниты, причем отверстия 2 в пластине ротора под воздушные полости предназначены для облегчения ротора. На фиг. 1a показан фрагмент пластины ротора с выделением торцевых выемок в пазах 3 под постоянные магниты, причем предусмотрены прорези 4 под нижние выемки магнитов типа 2, прорези 5 под верхние выемки магнитов соответственно типов 1 и 2. Форма указанных выемок подобрана таким образом, чтобы сгладить трапецеидальную форму потокосцепления в зазоре электрической машины, придав ему синусоидальную форму магнитного поля высокой напряженности. На фиг. 2 показана конструкция магнитной системы с размещением унифицированных постоянных магнитов прямоугольной формы по наружной стороне пластины ротора. Магнитная система 6 представляет набор размещенных в пазах пластины V-образных сборок постоянных магнитов типов 1 и 2, расположение и форма которых обеспечивает наибольшую напряженность (индукцию) магнитного поля. На фиг. 2а показан фрагмент конструкции магнитной системы ротора с размещением двух типов унифицированных постоянных магнитов, соответственно 7 - магнит типа 1, 8 - магнит типа 2, и двух типов воздушных полостей для облегчения ротора. На фиг. 2б показан фрагменты треугольных выемок 9 в торцах пластины под магниты типа 1. На фиг. 2в показан фрагмент выемок в торцах пластины под магниты типа 2, причем 10 соответствует нижним клювообразным выемкам, 11 соответствует верхним выемкам в виде полуокружности. На фиг. 3 приведено компьютерное распределение силовых линий магнитного поля в пространстве ротор-воздушный зазор-статор с концентрическими обмотками, а также значения индукции магнитного поля по элементам магнитной системы. Видно, что концентрация силовых линий наивысшая в воздушном зазоре (показана темным цветом), благодаря чему обеспечивается наибольшая напряженность (индукция) магнитного поля. На фиг. 3а приведен фрагмент компьютерного распределения силовых линий магнитного поля, а также уровни намагничивания между V-образно расположенными постоянными магнитами ротора и концентрической обмоткой статора. Справа показаны значения намагничивания элементов. Воздушный зазор выделен жирной линией и в нем обеспечивается наибольшая индукция магнитного поля, выделенная темным цветом, концентрация которого подтверждает высокую индукцию в зазоре, а гладкие силовые линии без изломов обеспечивают синусоидальность магнитного поля. Анализ приведенных чертежей и компьютерного распределения силовых линий магнитного поля подтверждает выполнение технического решения в части повышения напряженности (индукции) магнитного поля. Из фрагмента фиг. 3а видно, что закругленные торцевые выемки паза пластины у наружной окружности ротора концентрируют наибольшее потокосцепление, сглаживая его трапецеидальную форму, присущую межзубцовому магнитному полю электромашины. Магнитная система ротора работает следующим образом. На концентрические обмотки статора подается переменное напряжение, под действием которого в этих обмотках начинает протекать переменный ток. С ростом тока повышается индукция магнитного поля в воздушном зазоре между ротором и статором. С ростом индукции магнитного поля пропорционально ей растет сила притяжения ближайшего к обмотке статора угла V-образной сборки постоянных магнитов ротора, которая преодолевает момент трения вала электромашины в подшипниках. Под действием этой силы притяжения ротор поворачивается и вступает в работу другая сборка магнитов, сцепленная с другой обмоткой статора, обеспечивая непрерывное вращение. С ростом напряжения до номинального значения ток обмотки статора и индукция магнитного поля также достигают номинальных значений и номинальных оборотов вращения. Для быстроходных машин диапазон номинальных оборотов составляет от 10 тыс. об/мин до 100 тыс. об/мин (например, для центрифуг), а для космоса до 300 тыс. об/мин и ограничен только типом подшипников и сопротивлением среды. Реверс электромашины осуществляется изменением фазы приложенного напряжения. Изменение скорости вращения осуществляется изменением частоты подводимого к статорной обмотке напряжения, которое снимается с выхода частотно-регулируемого преобразователя. Технический результат предлагаемого решения заключается в обеспечении быстроходности и обратимости электромашины за счет обеспечения синусоидального магнитного поля высокой напряженности. Анализ заявленного технического решения на соответствие условиям патентоспособности показал, что указанные в формуле признаки являются существенными и взаимосвязаны между собой с образованием устойчивой совокупности неизвестной на дату приоритета из уровня техники необходимых признаков, достаточной для получения требуемого синергетического (сверхсуммарного) технического результата. Таким образом, вышеизложенные сведения свидетельствуют о выполнении при использовании заявленного технического решения следующей совокупности условий: объект, воплощающий заявленное техническое решение, при его осуществлении предназначен для реализации магнитной системы ротора быстроходных обратимых электромашин широкого назначения; для заявленного объекта в том виде, как он охарактеризован в формуле, подтверждена возможность его осуществления с помощью вышеописанных в заявке или известных из уровня техники на дату приоритета средств и методов; объект, воплощающий заявленное техническое решение, при его осуществлении, способен обеспечить достижение усматриваемого заявителем технического результата. Следовательно, заявленный объект соответствует требованиям условий патентоспособности «новизна» и «промышленная применимость» по действующему законодательству.