патент
№ RU 2305275
МПК G01N23/04

ЧУВСТВИТЕЛЬНЫЙ ЭЛЕМЕНТ ЛОТОВЫХ УРОВНЕМЕРОВ

Авторы:
Козлов Максим Петрович
Номер заявки
2004106808/28
Дата подачи заявки
09.03.2004
Опубликовано
27.08.2007
Страна
RU
Как управлять
интеллектуальной собственностью
Чертежи 
7
Реферат

[31]

Изобретение относится к устройствам для измерения уровня сыпучих материалов. Сущность: полый корпус чувствительного элемента лотовых уровнемеров, внутри которого расположен груз, выполнен в виде телескопического стакана, состоящего из секций с отверстием для троса, соединенного с грузом, с обеспечением постепенного уменьшения веса, действующего на трос по мере касания секций поверхности материала. Секции телескопического стакана выполнены цилиндрической или конической формы. Груз чувствительного элемента может быть выполнен в виде одной секции телескопического стакана. Телескопический стакан выполнен с возрастающей или уменьшающейся к периферии высотой секций. По крайней мере, в одной из секций телескопического стакана, предпочтительно в периферийной, нижний торец выполнен заостренным. Нижние торцы секций телескопического стакана выполнены с утолщением. Технический результат: повышение точности измерения уровня за счет исключения провисания троса и уменьшения степени погружения чувствительного элемента в сыпучий материал в положении измерения уровня. 7 з.п. ф-лы, 8 ил.

Формула изобретения

1. Чувствительный элемент лотовых уровнемеров, содержащий полый корпус, внутри которого расположен груз, отличающийся тем, что корпус выполнен в виде телескопического стакана, состоящего из секций с отверстием для троса, соединенного с грузом, с обеспечением постепенного уменьшения веса, действующего на трос по мере касания секций поверхности материала.

2. Чувствительный элемент лотовых уровнемеров по п.1, отличающийся тем, что груз выполнен в виде одной секции телескопического стакана.

3. Чувствительный элемент лотовых уровнемеров по п.2, отличающийся тем, что телескопический стакан выполнен с возрастающей к периферии высотой секций.

4. Чувствительный элемент лотовых уровнемеров по п.2, отличающийся тем, что телескопический стакан выполнен с уменьшающейся к периферии высотой секций.

5. Чувствительный элемент лотовых уровнемеров по п.2, отличающийся тем, что секции телескопического стакана выполнены цилиндрической формы.

6. Чувствительный элемент лотовых уровнемеров по п.2, отличающийся тем, что секции стакана выполнены конической формы.

7. Чувствительный элемент лотовых уровнемеров по п.3, отличающийся тем, что нижние торцы секций телескопического стакана выполнены заостренными.

8. Чувствительный элемент лотовых уровнемеров по п.4, отличающийся тем, что нижние торцы секций телескопического стакана выполнены с утолщением.

Описание

[1]

Изобретение относится к устройствам для измерения уровня сыпучих материалов.

[2]

Известны метод и система измерения уровня материала в контейнере (патент США №5533392, МПК G01F 23/00, опубл. 1996.07.09), заключающиеся в том, что чувствительный элемент на тросе, связанный через блок с редуктором электродвигателя перемещают вниз до регистрации момента касания чувствительного элемента поверхности материала, а искомый уровень материала в контейнере определяют путем подсчета количества импульсов с генератора импульсов за полное время опускания и подъема чувствительного элемента. В этой системе применены различные конструкции чувствительного элемента, которые являются поплавками для различных типов сред. Однако их конструкция не исключает явления провисания троса в момент касания чувствительным элементом поверхности продукта, что приводит к увеличению основной погрешности при измерении уровня сыпучих материалов.

[3]

Провисание троса возникает из-за инерции системы «двигатель - барабан - трос - чувствительный элемент», которая приводит к тому, что при касании чувствительным элементом поверхности материала барабан с тросом некоторое время (0,1...1 с) продолжает вращаться, а это приводит к тому, что ток в обмотке двигателя при касании чувствительным элементом поверхности продукта падает до нуля с некоторой задержкой. Таким образом, степень провисания троса определяется моментом инерции системы «двигатель - барабан - трос - чувствительный элемент».

[4]

Уменьшить провисание троса можно снижением массы чувствительного элемента. Однако для преодоления электродинамического сопротивления двигателя при опускании вниз чувствительного элемента необходимо, чтобы он имел значительную массу. Кроме того, в результат измерения уровня вносится дополнительная погрешность из-за частичного погружения чувствительного элемента в сыпучий материал в момент касания поверхности материала, обусловленная значительной массой чувствительного элемента, особенно при небольшой удельной плотности сыпучего материала.

[5]

Для уменьшения инерции системы «барабан - трос - чувствительный элемент» можно использовать чувствительный элемент лотовых уровнемеров, содержащий полый корпус, выполненный в виде эластичного мешка, концы которого закреплены на стержне, введенном в его полость и установленном вертикально, а в качестве балластного груза используется контролируемый материал, заполняющий 75% объема корпуса (прототип, АС №1620854, МПК G01F 23/76, 23/56, опубл. 15.01.91). Данная конструкция позволяет опускаться чувствительному элементу на поверхность материала постепенно с изменением формы эластичного мешка. Однако при каждом опускании чувствительный элемент будет останавливаться на различных точках уровня, так как эластичная форма мешка приводит к неоднородному распределению балластного груза при касании чувствительным элементом поверхности сыпучего материала.

[6]

Задача, на решение которой направлено изобретение, заключается в повышении точности измерения уровня за счет исключения провисания троса и уменьшения степени погружения чувствительного элемента в сыпучий материал в положении измерения уровня.

[7]

Поставленная задача решается тем, что в чувствительном элементе лотовых уровнемеров, содержащем полый корпус, внутри которого расположен груз, корпус выполнен в виде телескопического стакана, состоящего из секций с отверстием для троса, соединенного с грузом, с обеспечением постепенного уменьшения веса, действующего на трос по мере касания секций поверхности материала.

[8]

Телескопический стакан выполнен с возрастающей или уменьшающейся к периферии высотой секции.

[9]

Секции телескопического стакана выполнены цилиндрической или конической формы.

[10]

Нижние торцы секций телескопического стакана с возрастающей к периферии высотой секций выполнены заостренными.

[11]

Нижние торцы секций телескопического стакана с уменьшающейся к периферии высотой секций выполнены с утолщением.

[12]

Вариант изготовления простого чувствительного элемента, состоящего из двух цилиндрических секций, для измерения уровня сыпучего материала показан на фиг.1. На фиг.2 изображен чувствительный элемент, состоящий из двух цилиндрических секций, в положении касания периферийной секцией сыпучего материала. На фиг.3 изображен чувствительный элемент, состоящий из двух цилиндрических секций, в положении измерения уровня сыпучего материала. На фиг.4 изображен вариант чувствительного элемента, состоящего из четырех цилиндрических секций с возрастающей к периферии высотой. На фиг.5 изображен этот же чувствительный элемент в положении измерения уровня сыпучего материала. На фиг.6 изображен вариант чувствительного элемента, состоящего из четырех цилиндрических секций с уменьшающейся к периферии высотой, нижние торцы которых выполнены с утолщением. На фиг.7 изображен этот же чувствительный элемент в положении измерения уровня сыпучего материала. На фиг.8 изображен вариант чувствительного элемента, состоящего из двух секций конической формы.

[13]

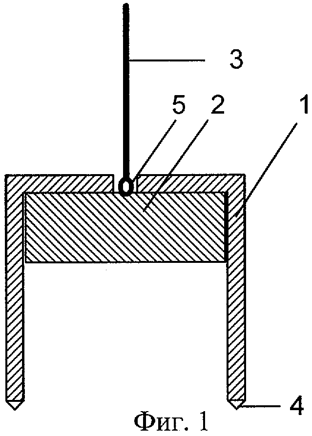
Чувствительный элемент на фиг.1 состоит из телескопического стакана, который имеет полую секцию 1 цилиндрической формы и секцию 2 в форме цилиндра. Секция 1 имеет отверстие для троса 3, который соединен с секцией 2. Диаметр секции 2 меньше внутреннего диаметра секции 1. Высота секции 2 меньше высоты секции 1, соответственно ее масса меньше массы секции 1. Нижний торец 4 периферийной секции 1 выполнен заостренным. Трос 3 закрепляется в центре верхнего торца секции 2 с помощью ушка 5.

[14]

Чувствительный элемент на фиг.4 состоит из телескопического стакана, который имеет секции цилиндрической формы 1, 6, 7 и секцию 2 в форме цилиндра. Секции 1, 6, 7 имеют отверстие для троса 3, который соединен с секцией 2. Высоты секций увеличиваются к периферии. Нижний торец 4 периферийной секции 1 выполнен заостренным. Трос 3 закрепляется в центре верхнего торца секции 2 с помощью ушка 5.

[15]

Чувствительный элемент на фиг.6 состоит из телескопического стакана, который имеет секции цилиндрической формы 1, 2, 6, 7. В подвешенном состоянии полые цилиндрические секции 1, 2, 6, 7 телескопического стакана зацеплены друг за друга (см. фиг.6) и крепятся на тросе с помощью ушка 5. Секции 1, 6, 7 имеют отверстия, которые позволяют секциям соосно перемещаться относительно друг друга. Высоты секций 1, 6, 7 уменьшаются к периферии. Нижние торцы секций 1, 6, 7 выполнены с утолщением.

[16]

Чувствительный элемент на фиг.8 состоит из телескопического стакана, который имеет полую секцию 1 конической формы и секцию 2 в виде конуса.

[17]

Чувствительный элемент в лотовых уровнемерах работает следующим образом.

[18]

В исходном положении секция 1 подвешена на секции 2, и на трос 3 действует полный вес телескопического стакана (см. фиг.1).

[19]

Чувствительный элемент опускается вниз до момента касания секцией 1 сыпучего материала. Нижний торец 4 секции 1 частично погружается в материал и останавливается, а секция 2 продолжает движение вниз внутри секции 1 за счет инерции системы «барабан - трос - чувствительный элемент» (см. фиг.2). При этом на трос действует только вес секции 2, а скорость вращения барабана постепенно уменьшается.

[20]

В момент касания поверхности материала секцией 2 (см. фиг.3) скорость вращения барабана минимальна, соответственно минимален момент инерции системы «барабан - трос - чувствительный элемент».

[21]

При полной остановке секции 2 происходит измерение уровня сыпучего материала и дальнейшее переключение уровнемера на подъем чувствительного элемента. При подъеме секция 2 «подхватывает» секцию 1 и система возвращается в исходное состояние.

[22]

При опускании чувствительного элемента на поверхность материала вес, действующий на трос, уменьшается постепенно, по мере касания секций поверхности материала. Этим достигается снижение скорости вращения барабана, а следовательно, снижение момента инерции системы «барабан - трос - чувствительный элемент» непосредственно у поверхности материала, и уменьшается степень погружения чувствительного элемента в сыпучий материал, что приводит к увеличению точности измерения уровня.

[23]

Нижний торец 4 секции 1 телескопического стакана выполняется заостренным для того, чтобы при опускании чувствительного элемента периферийная секция углубилась в материал и была исключена возможность опрокидывания чувствительного элемента.

[24]

Для чувствительного элемента данной конструкции необходимым условием является возрастающая к периферии высота секций.

[25]

Чем больше секций имеет телескопический стакан, тем равномернее уменьшается вес чувствительного элемента, действующий на трос при последовательном касании секций телескопического стакана сыпучего материала и, следовательно, тем медленнее приближается к поверхности материала секция стакана, выполняющая функцию чувствительного груза.

[26]

Чувствительный элемент, состоящий из четырех секций в подвешенном и опущенном состоянии, показан на фиг.4 и 5 соответственно, принцип действия которого аналогичен приведенному выше.

[27]

Для измерения уровня материала, который имеет очень малую плотность, нижние торцы секций телескопического стакана необходимо выполнять с утолщением, что исключает возможность значительного погружения чувствительного элемента в материал.

[28]

Для обеспечения условия устойчивости чувствительного элемента его высоту в положении измерения уровня целесообразно выполнять небольшой. Чувствительный элемент, удовлетворяющий этому требованию, показан на фиг.6 и 7 соответственно в исходном положении и положении измерения уровня. Для чувствительного элемента данной конструкции необходимым условием являются уменьшающиеся к периферии высоты секций для исключения заклинивания секций телескопического стакана при его подъеме с поверхности материала.

[29]

При измерении уровня мелкодисперсного материала используют чувствительный элемент, состоящий из телескопического стакана конической формы, как показано на фиг.8.

[30]

Использование предложенных чувствительных элементов в лотовых уровнемерах позволит повысить точность измерения уровня за счет исключения провисания троса и уменьшения степени погружения чувствительного элемента в сыпучий материал в положении измерения уровня.

Как компенсировать расходы
на инновационную разработку
Похожие патенты