Полезная модель относится к полевым техническим средствам продовольственной службы, а именно к техническим средствам приготовления и транспортирования пищи, предназначенным для приготовления горячей пищи мобильным группам людей, действующим в отрыве от основных сил в полевых условиях. Технической задачей полезной модели является повышение живучести экипажа и технологического оборудования при передвижении по указанному маршруту и приготовлении пищи мобильным группам людей, действующим в отрыве от основных сил, в полевых условиях в районах ведения боевых действий. Техническая задача достигается использованием легкобронированной полевой кухни, имеющей легкобронированный корпус, легкобронированный кузов, силовую установку, трансмиссию, ходовую часть, тепловой блок, а также технологическое оборудование, которое жестко зафиксировано внутри легкобронированного кузова данной полевой кухни. Техническая задача решена за счет того, что легкобронированная полевая кухня содержит легкобронированный корпус, легкобронированный кузов, силовую установку, трансмиссию, ходовую часть, тепловой блок и технологическое оборудование. При этом технологическое оборудование размещается внутри теплового блока и включает в себя пищеварочные котлы для приготовления блюд, водонагреватель и автономную встроенную топливную систему. При этом тепловой блок, защитные крышки и технологическое оборудование жестко зафиксированы внутри легкобронированного кузова, размещенного на шасси многоцелевого тягача на гусеничном ходу, используемого в качестве легкобронированной полевой кухни.
Легкобронированная полевая кухня, содержащая легкобронированный корпус, легкобронированный кузов, силовую установку, трансмиссию, ходовую часть, тепловой блок и технологическое оборудование, размещенное внутри теплового блока и включающее в себя пищеварочные котлы для приготовления блюд, водонагреватель и автономную встроенную топливную систему, отличающаяся тем, что тепловой блок, защитные крышки и технологическое оборудование жестко зафиксированы внутри легкобронированного кузова, размещенного на шасси многоцелевого тягача на гусеничном ходу, используемого в качестве легкобронированной полевой кухни.
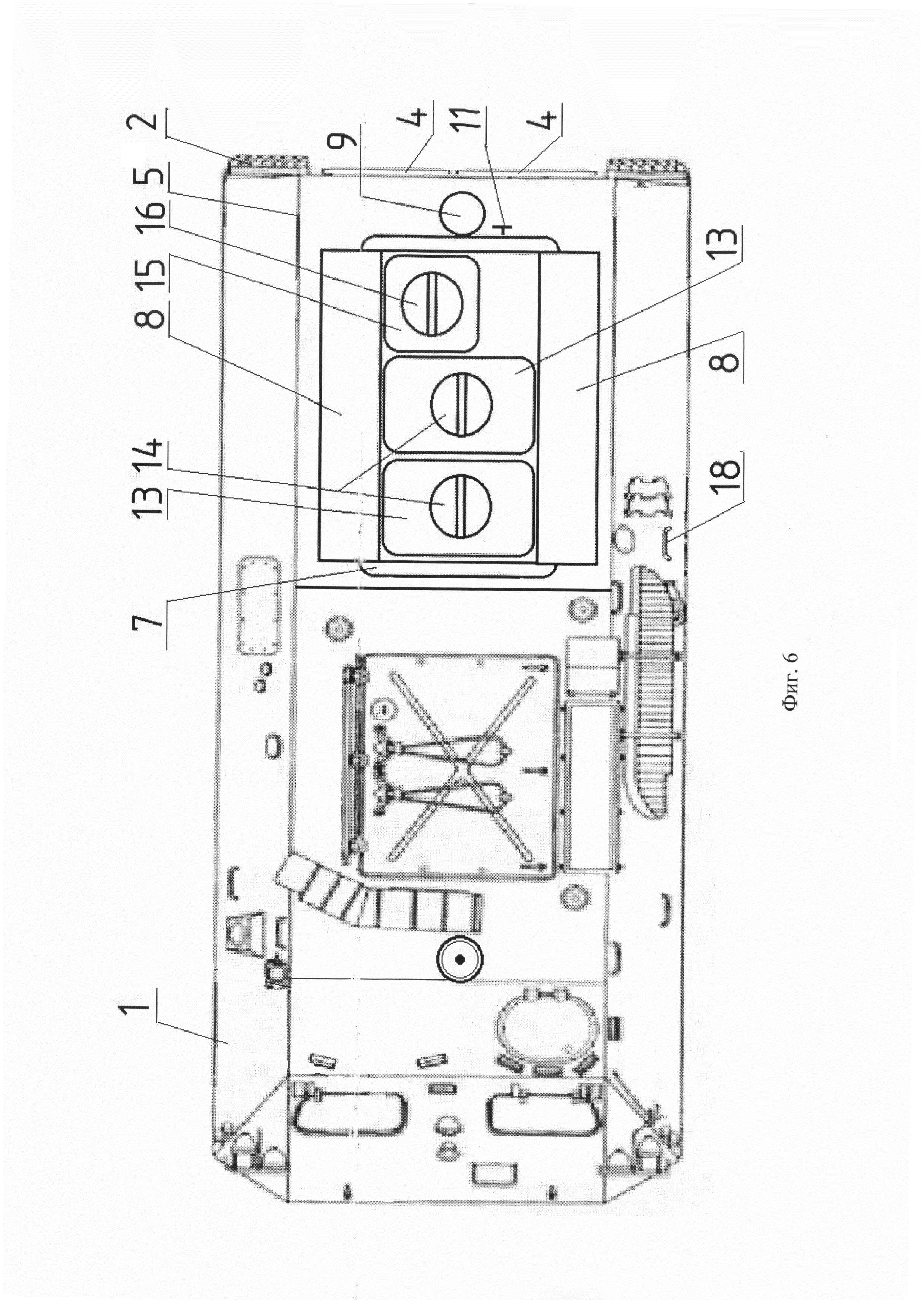
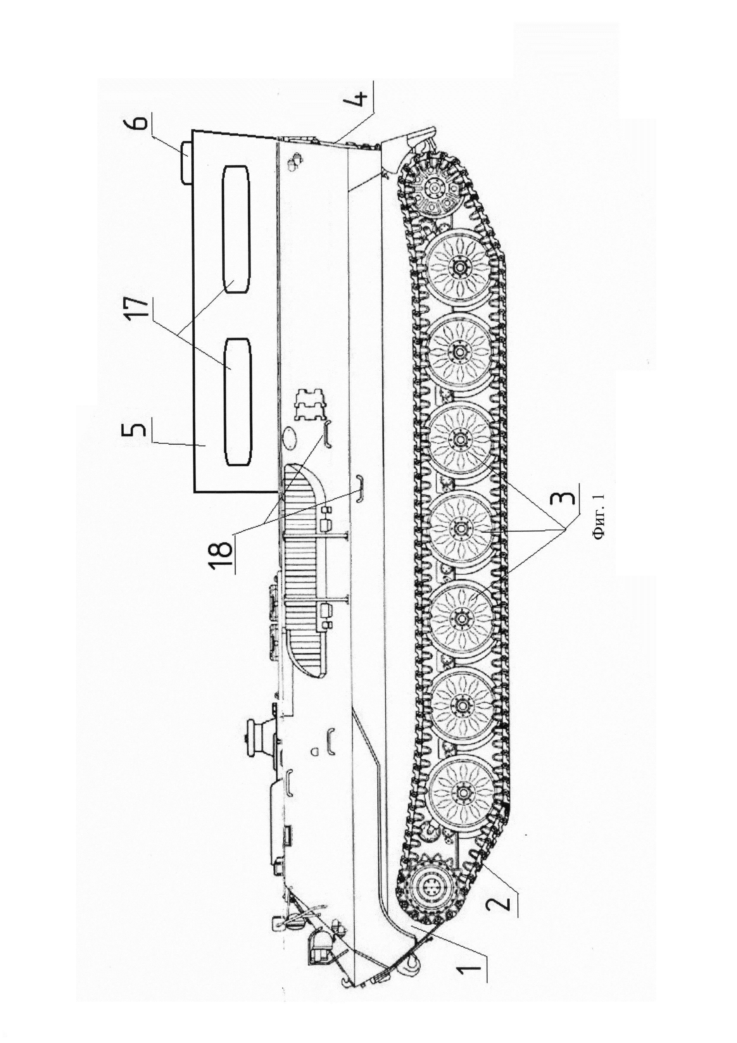
Полезная модель относится к полевым техническим средствам продовольственной службы, а именно к техническим средствам приготовления и транспортирования пищи, предназначенным для приготовления горячей пищи мобильным группам людей, действующим в отрыве от основных сил в полевых условиях. Известны полевые переносные кухни КП-30 и МК-30, предназначенные для приготовления пищи из двух горячих блюд и кипятка для чая (кофе или какао) состоящие из теплового блока, дымовой трубы, пищеварочных котлов, топливной системы с форсунками и водонагревателя. (Технические средства тылового обеспечения: Справочник - Москва: Воениздат, 2003 г.) [1], (Технические средства продовольственной службы: Учебно-методическое пособие - СПб.: ВАМТО, 2021 г.) [2], (Справочник по технике продовольственной службы - Москва: Военное издательство Министерства Обороны СССР, 1978 г.) [3], (Эксплуатация технических средств приготовления и транспортирования пищи в полевых условиях: Руководство - Москва: Военное издательство Министерства Обороны СССР, 1980 г.) [4]. Тепловые блоки установлены на салазки, а по бокам имеются поручни или ручки для переноски данных кухонь. Вышеописанные конструкции имеют общие недостатки, выраженные в том, что при смене личным составом мобильной группы, действующей в отрыве от основных сил, района выполнения задачи помимо личных вещей и индивидуального снаряжения личному составу приходится переносить вручную данные кухни, отвлекая на данное мероприятие как минимум четыре человека. Либо для перевозки кухни необходимо предусмотреть свободное место в кузове грузового автомобиля, при этом данные кухни не имеют никакой защиты и в случае применения противником по ним стрелкового оружия они могут получить значительное повреждение. Наиболее близкими прототипами являются прицепные кухни КП-125М и КП-130 [1, 2, 3, 4] предназначенные для приготовления и транспортирования горячей пищи из трех блюд и кипятка в полевых условиях. Оборудование данных кухонь смонтировано на одноосном кухонном прицепе и состоит из теплового блока, топливной системы и вспомогательного оборудования. При этом рама прицепа имеет форму вилки и сварена из труб, внутренняя полость которых используется как дополнительная емкость для горючего. В тепловой блок входят очаг с обратным газоходом, четыре взаимозаменяемых котла, жарочный шкаф и водонагреватель. Наиболее близкие прототипы также имеют аналогичный недостаток, выраженный в том, что они не имеют никакой защиты и в случае применения противником по ним стрелкового оружия они могут получить значительное повреждение. Технической задачей полезной модели является повышение живучести экипажа и технологического оборудования полевой кухни при передвижении по указанному маршруту и приготовлении пищи мобильным группам людей, действующим в отрыве о? основных сил, в полевых условиях в районах ведения боевых действий. Техническая задача достигается использованием легкобронированной полевой кухни, имеющей легкобронированный корпус, легкобронированный кузов, силовую установку, трансмиссию, ходовую часть, тепловой блок в котором установлено технологическое оборудование. При этом тепловой блок с технологическим оборудованием жестко зафиксированы внутри легкобронированного кузова данной полевой кухни. Техническая задача решена за счет того, что легкобронированная полевая кухня содержит легкобронированный корпус, легкобронированный кузов, силовую установку, трансмиссию, ходовую часть, тепловой блок и технологическое оборудование. Технологическое оборудование размещается внутри теплового блока и включает в себя пищеварочные котлы для приготовления блюд, водонагреватель и автономную встроенную топливную систему. При этом тепловой блок, защитные крышки и технологическое оборудование жестко зафиксированы внутри легкобронированного кузова, размещенного на шасси многоцелевого тягача на гусеничном ходу, используемого в качестве легкобронированной полевой кухни. Легкобронированная полевая кухня поясняется фиг. 1, фиг. 2, фиг. 3, фиг. 4, фиг. 5 и фиг. 6. На фиг. 1 представлена легкобронированная полевая кухня вид сбоку, где обозначено: поз. 1 - легкобронированный корпус; поз. 2 - гусеничная лента; поз. 3 - опорный каток; поз. 4 - задняя дверь; поз. 5 - легкобронированный кузов; поз. 6 - люк; поз. 17 - бронированное стекло; поз. 18 - рукоять. На фиг. 2 представлена легкобронированная полевая кухня вид сверху, где обозначено: поз. 1 - легкобронированный корпус; поз. 2 - гусеничная лента; поз. 4 - задняя дверь; поз. 5 - легкобронированный кузов; поз. 6 - люк; поз. 18 - рукоять. На фиг. 3 представлена легкобронированная полевая кухня вид сзади, где обозначено: поз. 1 - легкобронированный корпус; поз. 2 - гусеничная лента; поз. 4 - задняя дверь; поз. 5 - легкобронированный кузов; поз. 6 - люк. На фиг. 4 представлена легкобронированная полевая кухня в походном положении вид сверху, легкобронированный кузов в разрезе, где обозначено: поз. 1 - легкобронированный корпус; поз. 2 - гусеничная лента; поз. 4 - задняя дверь; поз. 5 - легкобронированный кузов; поз. 7 - тепловой блок; поз. 8 - защитная крышка; поз. 9 - патрубок дымовой трубы; поз. 11 - форсунка; поз. 18 - рукоять. На фиг. 5 представлена легкобронированная полевая кухня в рабочем положении вид сзади, задние двери открыты, где обозначено: поз. 1 - легкобронированный корпус; поз. 2 - гусеничная лента; поз. 4 - задняя дверь; поз. 5 - легкобронированный кузов; поз. 6 - люк; поз. 7 - тепловой блок; поз. 8 - защитная крышка; поз. 9 - патрубок дымовой трубы; поз. 10 - горловина; поз. 11 - форсунка; поз. 12 - дымовая труба. На фиг. 6 представлена легкобронированная полевая кухня в рабочем положении вид сверху, легкобронированный кузов в разрезе, защитные крышки открыты, где обозначено: поз. 1 - легкобронированный корпус; поз. 2 - гусеничная лента; поз. 4 - задняя дверь; поз. 5 - легкобронированный кузов; поз. 7 - тепловой блок; поз. 8 - защитная крышка; поз. 9 - патрубок дымовой трубы; поз. 1 - форсунка; поз. 13 - пищеварочный котел; поз. 14 - крышка пищеварочного котла; поз. 15 - водонагреватель; поз. 16 - крышка водонагревателя; поз. 18 - рукоять. В качестве шасси предлагается использовать многоцелевое легкобронированное гусеничное шасси, как вариант МТЛБу, у которого имеется легкобронированный корпус (1), легкобронированный кузов (5), гусеничный движитель, трансмиссия и ходовая часть. При этом ходовая часть содержит индивидуальную торсионную подвеску с гидроамортизаторами, установленными на передние и задние опорные катки (3), на которые одета гусеничная лента (2) («Легкое многоцелевое гусеничное шасси МТЛБу. Техническое описание». - М.: Воениздат, 1985 г.) [5]. Легкобронированная полевая кухня содержит легкобронированный корпус (1), в задней части которого расположен легкобронированный кузов (5), имеющий задние двери (4), бронированные стекла (17) и люк (6). В задней части легкобронированного корпуса (1) внутри легкобронированного кузова (5) за задними дверями (4) зафиксирован тепловой блок (7) полевой кухни. Внутри легкобронированный кузов (5) обтянут облицовкой из тонколистовой стали. Пол легкобронированного кузова (5) обшит оцинкованной сталью. Основой легкобронированной кухни является тепловой блок (7). Продукты сгорания топлива, проходя по газоходу, обогревают вставленные в тепловой блок (7) пищеварочные котлы (13) для блюд, водонагреватель (15) и удаляются из теплового блока кухни через дымовую трубу (12) посредством естественной тяги. Дымовая труба (12) является съемной и крепится к корпусу теплового блока (7), вставляясь в патрубок (9). Тепловой блок (7) сверху имеет окна, в которые вставляются пищеварочные котлы (13), сверху которых зафиксированы крышки (14) и водонагреватель (15), сверху которого также имеется крышка (16). Пищеварочные котлы (13) имеют прямоугольную форму с округленными углами. Водонагреватель (15) имеет квадратную форму с округленными углами. Топливная система встроенная, все элементы топливной системы смонтированы внутри теплового блока (7). Топливный бак вмонтирован в каркас теплового блока (7) и представляет собой прямоугольную с закругленными углами емкость и оборудован горловиной (10) для заливки горючего. Горловина (10) кухни устроена таким образом, чтобы при заправке бак наполнялся топливом не более чем 4/5 вместимости, для того чтобы с помощью ручного насоса можно было накачать туда воздух. Защитные крышки (8) прикреплены к тепловому блоку (7) с помощью рояльных петель. В открытом положении защитные крышки (8) опираются на внешние стенки теплового блока (7) и могут быть использованы как ванна для мытья посуды или как сосуд для промежуточного хранения при обработке продуктов. В качестве форсунки (11) легкобронированной полевой кухни предлагается использовать, как вариант, форсунку ФК-01. Предлагается, что экипаж легкобронированной полевой кухни будет составлять два человека, механик-водитель и повар. Легкобронированная полевая кухня работает следующим образом: перед началом приготовления пищи механику-водителю необходимо найти более-менее ровную поверхность земли. Далее повару необходимо выполнить работы по переводу вышеуказанной полевой кухни из походного положения в рабочее, произвести контрольный осмотр всех составных элементов данной кухни и установить дымовую трубу (12) в вертикальное положение в патрубок (9), предварительно открыв люк (6). Для удобства подъема на крышу легкобронированного кузова (5) и спуска с него сбоку легкобронированного корпуса (4) зафиксирована рукоять (18). После чего пищеварочные котлы (13) и водонагреватель (15) необходимо наполнить водой. Далее произвести холодную обработку продуктов (мойку, чистку и резку овощей, разделку мясных и рыбных продуктов, подготовку для варки круп и т.д.). В топливной системе кухни создать давление с помощью ручного насоса (как вариант, в пределах 0,05 МПа). В корытце форсунки (11) уложить немного ветоши и наполнить корытце жидким топливом, в количестве необходимом для смачивания ветоши. После чего открыть вентиль форсунки (11) настолько, чтобы струя топлива была не сильной и попадала на стенку диффузора, а оттуда стекала в корытце, после чего вентиль форсунки (11) закрыть и поджечь ветошь. Через 3-4 минуты горения добавить немного топлива повторным открытием вентиля форсунки (11), затем его опять закрыть. Через 10-12 минут вентиль приоткрыть, после чего горящее топливо должно сопровождаться равномерным небольшим гулом без срывов. Режим максимальной производительности форсунки (11) соответствует полностью открытому вентилю. Затем в пищеварочные котлы (13) через открытые крышки (14) необходимо заложить продукты для приготовления необходимых блюд при обеспечении личного состава мобильной группы, действующей в отрыве от основных сил горячим питанием. После чего приготовить пищу. При этом, в теплое время года можно открыть бронированный стекла (17) для того чтобы создать естественное проветривание внутри легкобронированного кузова (5). В это время механик-водитель может проводить техническое обслуживание основных узлов и агрегатов и ходовой части данной полевой кухни. Легкобронированный корпус (1) и легкобронированный кузов (5) МТЛБу выполнены из броневых стальных плит небольшой толщины, что обеспечивает защиту водителя и технологического оборудования полевой кухни от применения противником стрелкового оружия [5]. Сборка легкобронированной полевой кухни предусматривает изготовление легкобронированного корпуса (1) и легкобронированного кузова (5) и фиксацию их на гусеничное базовое шасси. Затем производится облицовка внутренней поверхности легкобронированного кузова (5) тонколистовой сталью. Пол этого кузова (5) обшивается оцинкованной сталью. После чего внутри легкобронированного кузова (5) устанавливается и жестко фиксируется тепловой блок (7) полевой кухни. Таким образом, представленная легкобронированная полевая кухня имеет относительно простую и надежную конструкцию, обладает новизной и новыми техническими характеристиками, и существенно отличается от прототипов значительно повышая живучесть экипажа и технологического оборудования при передвижении по указанному маршруту и приготовлении пищи мобильным группам людей, действующим в отрыве от основных сил, в полевых условиях в районах ведения боевых действий, даже в случае соприкосновения с противником и применением им стрелкового оружия. Данная легкобронированная полевая кухня может быть использована в тыловых подразделениях Вооруженных сил Российской Федерации или других силовых структур в районах ведения боевых действий. Список используемых источников: 1. Технические средства тылового обеспечения: Справочник - Москва: Воениздат, 2003 г.; 2. Технические средства продовольственной службы: Учебно-методическое пособие - СПб.: ВАМТО, 2021 г.; 3. Справочник по технике продовольственной службы - Москва: Военное издательство Министерства Обороны СССР, 1978 г.; 4. Эксплуатация технических средств приготовления и транспортирования пищи в полевых условиях: Руководство - Москва: Военное издательство Министерства Обороны СССР, 1980 г.; 5. «Легкое многоцелевое гусеничное шасси МТЛБу. Техническое описание». - М.: Воениздат, 1985 г.