патент
№ RU 2300005
МПК F02K7/04

ПУЛЬСИРУЮЩИЙ ВОЗДУШНО-РЕАКТИВНЫЙ ДВИГАТЕЛЬ

Авторы:
Мигалин Кирилл Константинович
Правообладатель:
Все (3)
Номер заявки
2005125690/06
Дата подачи заявки
12.08.2005
Опубликовано
27.05.2007
Страна
RU
Как управлять
интеллектуальной собственностью
Реферат

[30]

Пульсирующий воздушно-реактивный двигатель содержит, в частности, цилиндрическую камеру сгорания, резонаторную трубу, впускные патрубки, форсунку и запальную свечу. Впускные патрубки на цилиндрической камере сгорания размещены оппозитно. Подача топлива осуществляется через вихревую предкамеру во фронтовой части камеры сгорания. Изобретение повышает термодинамический КПД путем увеличения амплитуды пульсации давления. 1 ил.

Формула изобретения

Пульсирующий воздушно-реактивный двигатель (ПуВРД), содержащий, в частности, цилиндрическую камеру сгорания, резонаторную трубу, впускные патрубки, форсунку и запальную свечу, отличающийся тем, что впускные патрубки на цилиндрической камере сгорания размещены оппозитно, а подача топлива осуществляется через вихревую предкамеру во фронтовой части камеры сгорания.

Описание

[1]

Изобретение относится к технике, преимущественно военной, а именно к двигателям летательных аппаратов, и может быть использовано, вероятнее всего, в качестве двигателя небольших беспилотных летательных аппаратов, таких как зенитные, авиационные и тактические ракеты, беспилотные разведчики, летающие мишени и т.п., а также в качестве сбрасываемых дополнительных двигателей.

[2]

Известен пульсирующий воздушно-реактивный двигатель (далее ПуВРД) немецкой крылатой ракеты времен Второй мировой войны Фау-1 (см. Г.Б.Синярев, М.В.Добровольский. Жидкостные ракетные двигатели. - Оборонгиз, 1957, с.19, 20). Он представляет собой открытый с обоих торцов канал круглого поперечного сечения, включающий последовательно расположенные входной диффузор, клапанную решетку, камеру сгорания и выходное устройство, состоящее из конфузора и выхлопной трубы, а также систему топливоподачи и систему зажигания с электрозапалом, установленным в камере сгорания. В общем случае входное и выходное устройства двигателя могут иметь форму, отличную от прототипа, поэтому в дальнейшем будем называть их принятыми терминами - воздухозаборник и сопло.

[3]

Клапанная решетка представляет собой конструкцию из несущих элементов - поперечных стержней, подвижных элементов - плоских упругих пластин постоянной толщины, прикрепленных к боковым граням стержней попарно параллельно друг другу на расстоянии, равном толщине стержня, и опорных проставок, размещенных посредине между парами пластин параллельно им. В каждой паре между пластинами имеется глухой зазор, обращенный назад. Пластины и проставки образуют продольные каналы для прохода воздуха.

[4]

Набегающий на двигатель поток проходит через воздухозаборник и клапанную решетку в камеру сгорания. Туда же подается легкоиспаряющееся топливо, после чего топливовоздушная смесь воспламеняется искрой электрозапала. Быстро расширяющиеся во все стороны продукты сгорания, попадая в глухой зазор между пластинами, тормозятся, в результате чего давление там возрастает. Это вызывает изгиб пластин в стороны до контакта с опорными проставками или боковыми стенками. Воздушные каналы клапанной решетки оказываются перекрытыми. Продукты сгорания истекают через сопло в атмосферу, а их давление на закрытую клапанную решетку создает импульс тяги двигателя.

[5]

После падения давления пластины клапанной решетки под действием своей упругости, а также разрежения, создаваемого в камере инерцией истекающих газов, возвращаются в исходное положение. В камеру поступает очередная порция воздуха, и цикл повторяется.

[6]

Клапанная решетка служит основным, но не единственным элементом узла, создающего тягу пульсирующего двигателя и включающего также боковые стенки, детали крепления и др. Кроме того, функцию создания тяги в таком двигателе могут выполнять и другие устройства. Поэтому в дальнейшем будем пользоваться общим термином "тяговый узел" (как часть двигателя) и конкретным - клапанная решетка тягового узла.

[7]

Достоинствами ПуВРД с механическими клапанными решетками являются простота и дешевизна, небольшой вес, надежность. Их недостаток - плохие тяговые характеристики, а именно низкая удельная и лобовая тяга, высокий удельный расход топлива, импульсный характер тяги, но главное - низкий ресурс клапанов.

[8]

Также известны конструкции ПуВРД, использующие аэродинамические клапаны (Нестационарное распространение пламени./Под ред. Дж.Г.Маркштейна, М.: Мир, 1968, с.401-407). Кроме того, ПуВРД, в которых осуществлена замена механических клапанов на аэродинамические, описаны в патентах США №2796735, 1957; №2796734, 1957; №2746529, 1956; №2822037, 1958; 2812635, 1957.

[9]

К недостаткам таких ПуВРД следует отнести низкую амплитуду пульсаций давления и, соответственно, низкий термодинамический КПД (коэффициент полезного действия).

[10]

Повысить удельную и лобовую тягу и снизить удельный расход топлива можно путем увеличения амплитуды пульсаций давления, которое достигается путем увеличения скорости сгорания топливо-воздушной смеси в камере сгорания ПуВРД. Увеличение же амплитуды пульсаций приводит к росту термодинамического КПД и, соответственно, к снижению удельного расхода топлива.

[11]

Техническим результатом изобретения является повышение термодинамического КПД путем увеличения амплитуды пульсаций давления.

[12]

Поставленная техническая задача решается за счет интенсификации процесса массопереноса в камере сгорания, приводящего к росту скорости квазидетонационного горения и соответствующих изменений конструкции ПуВРД и его тягового узла. При этом, под "квазидетонационном" горением подразумевается горение с повышенными скоростями продвижения фронта пламени, составляющем в случае ПуВРД 10-20 м/с. Организация такого режима горения происходит за счет интенсивного массопереноса в камере сгорания. Скорость фронта пламени пропорциональна скорости массопереноса.

[13]

Указанный технический результат при осуществлении изобретения достигается тем, что в известном ПуВРД, содержащем, в частности, цилиндрическую камеру сгорания, резонаторную трубу, впускные патрубки, форсунку и запальную свечу, впускные патрубки на цилиндрической камере сгорания размещены оппозитно, а подача топлива осуществляется через вихревую предкамеру во фронтовой части камеры сгорания.

[14]

Сравнение научно-технической и патентной документации на дату приоритета в основной и смежной рубриках МКИ показывает, что совокупность существенных признаков заявленного решения ранее не была известна, следовательно, оно соответствует условию патентоспособности "новизна".

[15]

Анализ известных технических решений в данной области техники показал, что предложенное устройство имеет признаки, которые отсутствуют в известных технических решениях, а использование их в заявленной совокупности признаков дает возможность получить новый технический результат, следовательно, предложенное техническое решение имеет изобретательский уровень по сравнению с существующим уровнем техники.

[16]

Предложенное техническое решение промышленно применимо, т.к. может быть изготовлено промышленным способом, работоспособно, осуществимо и воспроизводимо, следовательно, соответствует условию патентоспособности "промышленная применимость".

[17]

Другие особенности и преимущества заявляемого изобретения станут понятны из следующего детального описания, приведенного исключительно в форме не ограничивающего примера и со ссылкой на прилагаемый чертеж, иллюстрирующий предпочтительный вариант реализации, на котором показана схема педлагаемого ПуВРД.

[18]

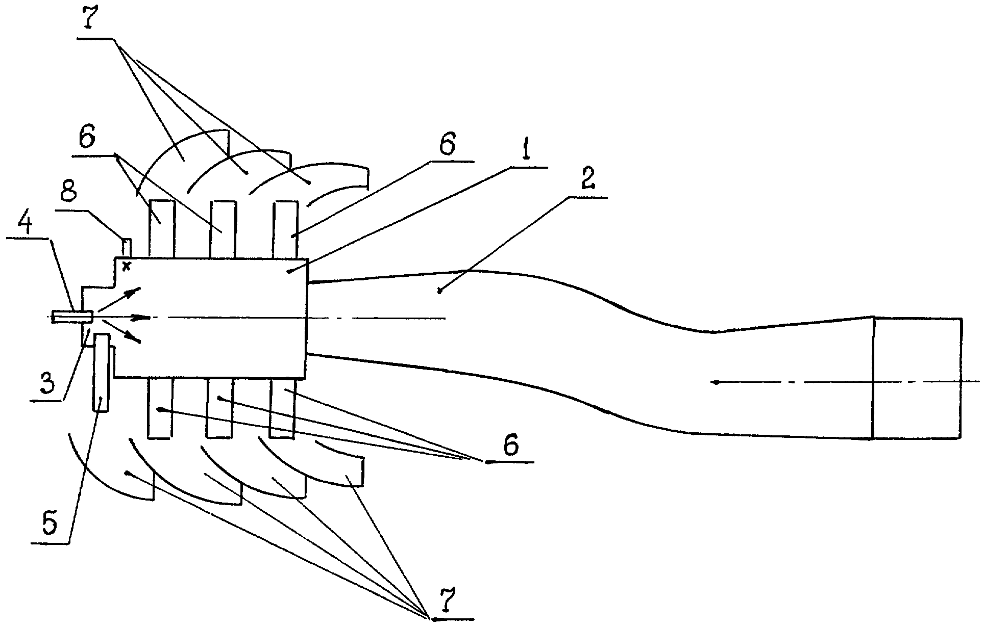
Позициями на чертеже показаны:

[19]

1 - камера сгорания,

[20]

2 - резонаторная труба,

[21]

3 - вихревая предкамера,

[22]

4 - форсунка,

[23]

5 - впускной патрубок вихревой предкамеры,

[24]

6 - впускные патрубки ПуВРД,

[25]

7 - направляющие аппараты,

[26]

8 - запальная свеча.

[27]

ПуВРД, представленный на чертеже, содержит камеру сгорания 1 с жестко закрепленной к нему резонаторной трубой 2. Во фронтовой части камеры сгорания 1 выполнены цилиндрическая вихревая предкамера 3 с топливной форсункой 4. Тангенциально к стенке предкамеры 3 установлен впускной патрубок 5 вихревой предкамеры. На стенке камеры сгорания 1 оппозитно выполнены впускные патрубки 6 ПуВРД, на выходе из которых установлены направляющие аппараты 7. На стенке камеры сгорания 1 закреплена запальная свеча 8.

[28]

Внутри камеры сгорания 1 при срабатывании запальной свечи 8 происходит взрывное (квазидетонационное) воспламенение топливо-воздушной смеси. При этом одновременно происходит выброс газа через резонаторную трубу 2 и впускные патрубки 5, 6, в направляющие аппараты 7, где он поворачивает на 90° для создания реактивной тяги в одном направлении с резонаторной трубой 2. Далее по мере продвижения волны давления по резонаторной трубе 2 в камере сгорания 1 создается разрежение и происходит впуск воздуха через впускные патрубки 5 и 6, а из резонаторной трубы 2 входят высокотемпературные продукты сгорания. Оппозитно направленные впускные патрубки 6 формируют встречные струи атмосферного воздуха, которые соударяясь в среде высокотемпературных продуктов сгорания, вошедших из резонатора 2, обеспечивают высокий уровень турбулентного массопереноса и, соответственно, высокую "квазидетонационную" скорость сгорания, приводящую к росту максимального давления цикла и, соответственно, термодинамического КПД. Вихревая предкамера 3 осуществляет предварительную газификацию жидкого топлива, необходимую для протекания процесса горения с высокой скоростью, и образование прецессирующей зоны обратных токов, имеющей резонансную частоту, совпадающую с частотой пульсаций ПуВРД в диапазоне 150-200 Гц.

[29]

Разумеется, изобретение не ограничивается описанным примером его осуществления, показанным на прилагаемом чертеже. Остаются возможными изменения различных элементов либо замена их технически эквивалентными, не выходящие за пределы объема настоящего изобретения

Как компенсировать расходы
на инновационную разработку
Похожие патенты