патент
№ RU 229
МПК A63H33/08

Детский строительный конструктор

Авторы:
Тришкин Сергей Алексеевич
Номер заявки
5049708/12
Дата подачи заявки
26.06.1993
Опубликовано
16.01.1995
Страна
RU
Как управлять
интеллектуальной собственностью
Чертежи 
6
Реферат

1. Детский строительный конструктор, включающий новые и дополнительные строительные блоки, каждый из которых имеет полый корпус с дном и открытой противоположной стороной с крепежными элементами, размещенными на внешней стороне дна корпуса, и средствами зажима крепежных элементов внутри корпуса, причем базовые строительные блоки имеют по четыре боковых стенки и выполнены в виде прямоугольного параллелепипеда, отличающийся тем, что каждый дополнительный строительный блок представляет собой состоящую из двух частей симметричную призму, четыре боковых стенки которой попарно взаимно параллельны и расположены напротив друг друга по разные стороны от плоскости симметрии под углами 60° к ней, а боковые стенки, не пересекающиеся с плоскостью симметрии, имеют длину, равную длине 1 малой стороны параллелепипеда, образованного стенками базового строительного блока.2. Конструктор по п.1, отличающийся тем, что две боковые стенки призмы, расположенные под углами 60° к плоскости симметрии по разные стороны от нее и пересекающиеся с ней, имеют длину, равную указанной величине 1.3. Конструктор по пп. 1 и 2, отличающийся тем, что по крайней мере некоторые дополнительные строительные блоки содержат боковую стенку, перпендикулярную дну корпуса, пересекающуюся с плоскостью симметрии призмы под углом 90° и с двумя боковыми стенками, расположенными под углом 60° к плоскости симметрии.4. Конструктор по пп. 1-3, отличающийся тем, что он дополнительно содержит вспомогательные строительные блоки, каждый из которых имеет полый корпус с дном и открытой противоположной стороной с Крепежными элементами, расположенными на внешней стороне дна

Формула изобретения

1. Детский строительный конструктор, включающий новые и дополнительные строительные блоки, каждый из которых имеет полый корпус с дном и открытой противоположной стороной с крепежными элементами, размещенными на внешней стороне дна корпуса, и средствами зажима крепежных элементов внутри корпуса, причем базовые строительные блоки имеют по четыре боковых стенки и выполнены в виде прямоугольного параллелепипеда, отличающийся тем, что каждый дополнительный строительный блок представляет собой состоящую из двух частей симметричную призму, четыре боковых стенки которой попарно взаимно параллельны и расположены напротив друг друга по разные стороны от плоскости симметрии под углами 60° к ней, а боковые стенки, не пересекающиеся с плоскостью симметрии, имеют длину, равную длине 1 малой стороны параллелепипеда, образованного стенками базового строительного блока.

2. Конструктор по п.1, отличающийся тем, что две боковые стенки призмы, расположенные под углами 60° к плоскости симметрии по разные стороны от нее и пересекающиеся с ней, имеют длину, равную указанной величине 1.

3. Конструктор по пп. 1 и 2, отличающийся тем, что по крайней мере некоторые дополнительные строительные блоки содержат боковую стенку, перпендикулярную дну корпуса, пересекающуюся с плоскостью симметрии призмы под углом 90° и с двумя боковыми стенками, расположенными под углом 60° к плоскости симметрии.

4. Конструктор по пп. 1-3, отличающийся тем, что он дополнительно содержит вспомогательные строительные блоки, каждый из которых имеет полый корпус с дном и открытой противоположной стороной с Крепежными элементами, расположенными на внешней стороне дна корпуса, и средствами зажима этих элементов внутри корпуса, при этом вспомогательные строительные блоки содержат по крайней мере по четыре боковые стенки, перпендикулярные дну корпуса и образующих симметричную призму, две боковые стенки которой пересекаются с плоскостью симметрии под углами 60°, а две другие образуют с плоскостью симметрии углы 30°.

Описание

[1]

ДЕТСКИЙ СТРОИТЕЛЬНЫЙ КОНСТРУКТОР

[2]

Изобретение относится к детскому конструктору, который может использоваться для построения различных архитектурных конструкций,

[3]

Известен детский строительный конструктор, состоящий из набора строительных блоков, каждый из которых содержит пол1.ый корпус с дном и открытой противоположной стороной с крепёжными элементами, размещенными на внешней стороне дна корпуса, и средствами зажима крепежных элементов внутри корпуса для соедения с такими же блоками (патент США № 3005282, НКИ 446-128, опубл. 24.10.61 г.). Строительные блоки имеют по четыре боковых стороны и выполнены в виде прямоугольного параллелепипеда. Этот конструктор используется для моделирования различных архитектурных конструкций , но не позволяет строить стеновые конструкции под углами, отличными от QO.

[4]

Известен также детсиий конструктор, содержащий набор строительных блоков в виде шестигранной призмы, все боковые грани которой пересекаются под углами 120° (патент США № 3487579, НКИ 446-128, опубл. 6.01.70 г.). Принцип соединения этих блоков такой же, как и в описанном выше конструкторе.

[5]

Данный конструктор позволяет создавать геометрические конструкции под углами, отличными от 90°, но не позволяет макетирон вать архитектурные конструкции, т.к. входящие в него строительные блоки не стыкуются с блоками прямоугольной формы, без которых невозможно макетировать упомянутые конструкции.

[6]

содержит полый корпус с дном и открытой противоположной стороной с крепёжньили элементами, размещенными на внешней стороне дна корпуса , и средствами зажима крепёжных элементов внутри корпуса (патент СЖ № 3034254, БКИ 446-128, опубл. 15.05.62 г.). Базовые блоки имеют по четыре боковых стенки и выполнены в виде пртю; тольного параллелепипеда, а дополнительные блоки имеют три боковых стенки, перпендикулярных дну корпуса, и четвертую боковую стенку, образ ггющуто с дном корпуса угол, превъшающий 90°. Дополнительные блоки используются,в основном, для формирования крыш- при построении дома. Однако данный констр ктор имеет также ограниченные возможности , в частности, он не позволяет строить стеновые конструкции под углами, отличными от 90°.

[7]

В основу данного изобретения поставлена задача создания конструктора , позволяющего строить стеновые конструкции под углами, отличньми от 90°, и макетировать различные архитект фные сооружения . Эта задача решается выполнением дополнительных блоков определенной формь, а именно, они содержат по шесть боковых стенок, перпендикулярных дну корпуса и образующих сшметричную призму, четыре боковых стенки которой попарно взаимно параллельны и расположены напротив друг друга по разные стороны от плоскости симметрии призмы под углами 60° к ней, а каждая из оставшихся двух стенок перпендикулярна примыкающЕш к ней боковьм стенкам, причем длина двух боковых стенок, расположенных под углами 60° к плоскости симметрии по разные стороны от нее, и двух примыкающих к Hmvi

[8]

боковых стенок равна длине малой стороны параллелепипеда, образованного стенками базового строительного блока. По крайней мере, некоторые из дополнительных строительных блоков могут содержать седьмую боковую стенку, перпендикулярную дну корпуса, пересекающуюся с плоскостью сшлметрии призмы под углом 90° и с

[9]

боковьми стенками, расположенными под углом 60° к плоскости симметрии . Длина седьмой боковой стенки в оптимальном варианте варыанФ@ также равна длине zf малой стороны указанного параллелепипеда. Такое выполнение дополнительных строительных блоков позволяет разнообразить формы собираемых из них конструкций.

[10]

Конструктор может содержать также вспомогательные строительные блоки с польм корпусом, крепежными элементами, расположенны1 щ на внешней стороне дна корпуса, и средствами для зажима крепежных элементов внутри корпуса. Вспомогательные блоки содержат по четьфе боковых стенки, перпендикулярных дну корпуса и образующх сим1у1етричную призму, две боковые стенки которой пересекаются под зглом 60° и имеют длину - , а две другие пересекаются под углом 120°. Вспомогательные блоки в сочетании с базовыми и дополнительными строительньми блоками расширяют возможности макетирования различных архитектурных сооружений, например, позволяют строить башни.

[11]

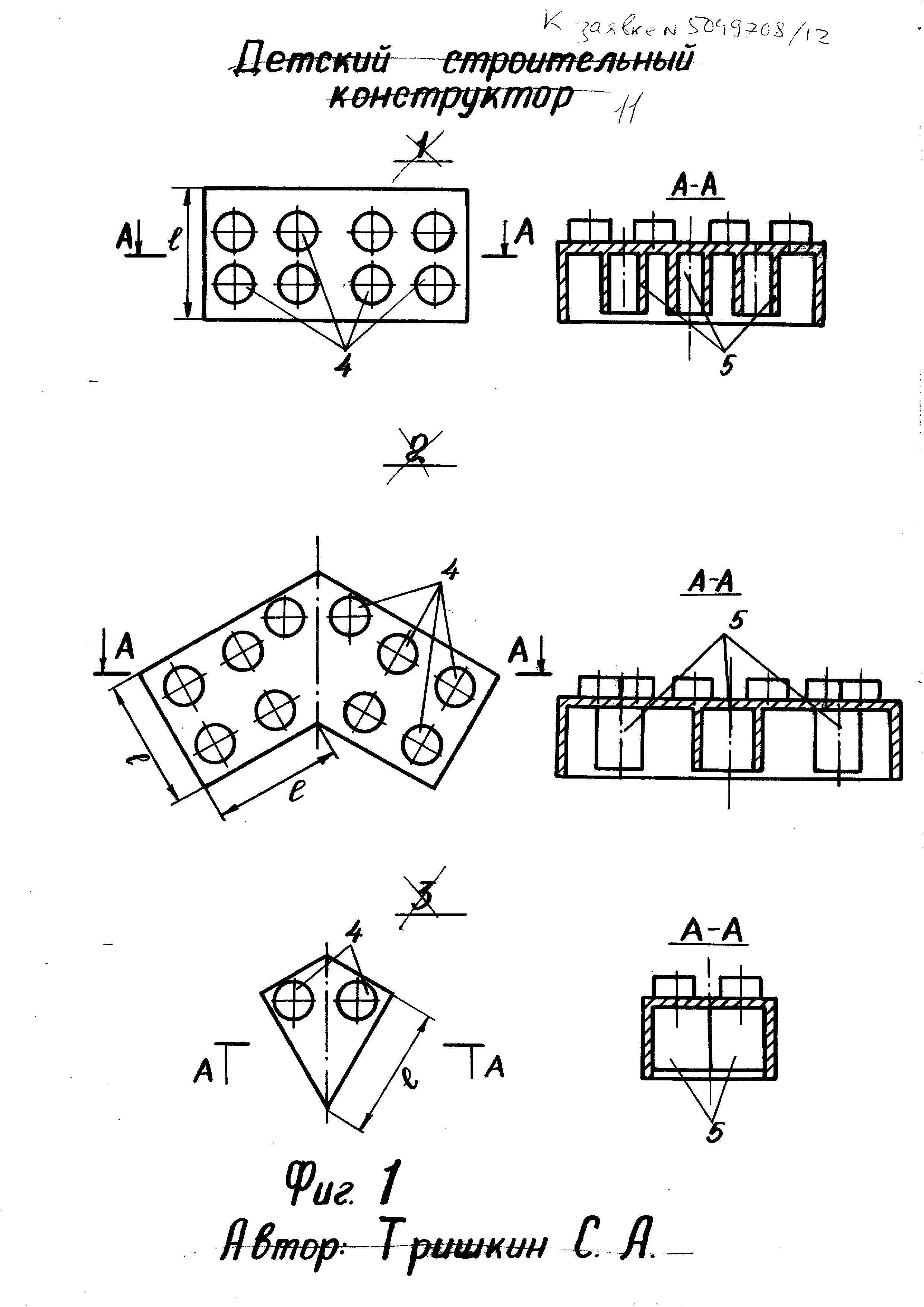
Изобретение поясняется фигурами 1-6. На фиг.1 приведены три разновидности строительных блоков предложенного конструтора (вид сверху и разрезы), на фиг.2 и 3 показаны конструкции двух вариантов выполнения дополнительных строительных блоков (вид сверху и снизу), на фиг.4 показана конструкция вспомогательного строительного блока (вид сверху и снизу), на фиг,5 и б показаны в изометрии две конструкции , которые могут быть собраны из блоков констр тстора.

[12]

Предложенный конструктор содержит базовые дополнительные 2 строительные блоки (фигЛ), а также может содержать вспомогательные строительные блоки 3. Все блоки имеют полый корпус с дном и противоположной открытой стороной. На внешней стороне дна корпуса размеь с щены крепежные элементы 4, а внутри корпуса - средства 5 зажиьга крепежных элементов. Крепежные элементы 4 могут иметь любую известную конструкцию и шлеть вид, например, цилиндрических цапф , как

[13]

показано на фиг.1. Средства 5 зажима крепежных элементов также могут быть выполнены любой известной формы, например, в виде втулок, выступов и пазов. Расстояние между центрами соседних крепёжны): элементов и соответствующих средств для их крепления одинаковы во всех строительных блоках. Базовые блоки I (фиг.1) содержат по четыре боковых стенки иймеют вид прямоугольного параллелепипеда с поперечным сечением в виде прямоугольника или квадрата. Крепежные элементы 4 расположены рядами, параллельными боковьм стенкам базового блока. Дополнительные строительные блоки 2 содержат по шесть боковых стенок, перпендикулярных дну корн пуса и образующих сшлметричную призму. Четыре боковые стенки призмы попарно б и 7 (фиг.2), 8 и 9 взаимно параллельны и расположены напротив друг друга по разные стороны от плоскости симметрии , проходящей через прямую 00, перпендикулярно плоскости чертежа, под углаьли 60° к этой плоскости. Боковая стенка 10 перпендикулярна примыкающим к ней стенкам 6,7, а боковая стенка II перпендикулярна примыкающим к ней стенкам 8,9. Длина боковых стенок 7 и 9 и примыкающих к ним стенок 10 и II равна длине малой стороны параллелепипеда, образованного стенкакш базового строительного блока I (фиг.1), что позволяет ос дцествлять стыковку дополнительных блоков с базовыми под взашушо перпендикулярными направлениями. Крепёжные элементы 4 расположены рядами, параллельньми боковьм стенкам. Дополнительный строительньй блок, показанный на фиг.З, отличается от описанного выше тем, что он дополнительно содержит седьмую боковую стенку 12, перпендикулярную дну корпуса, пересекающуюся с плоскостью симметрии призмы под углом 90° и с боковыми стенками 6 и 8. Желательно, чтобы длина этой стенки 12 была, равна указанной вьше длине V- .

[14]

Вспомогательный строительный блок (фиг.4) содержит четыре боковых стенки 13, 14, 15 и 16, перпендикулярных дну корпуса и образующих сиь/шетричную призму. Стенки 13 и 14 пересекаются под углом 120°, а стенки 15 и 16 пересекаются под углом бО и имеют длину г , равную длине малой стороны параллелепипеда, образованного стенками базового блока. Плоскость сиьшетрии призмы проходит через нинии пересечения указанных стенок.

[15]

Дополнительные строительные блоки 2 в сочетании с базовымблоками I позволяют собирать стеновые констрз сции с j/глами, отличными от 90. Пример такой конструкции показан на фиг.5. Использование вспомогательных строительных блоков 3 в сочетании с базовыми I и дополнительньвли 2 блоками расширяют возможности макетирования различных архитектурных сооружений. На фиг.б показан пример сборки башни с использованием базовых I, дополнительных 2 и вспомогательных 3 строительных блоков. Используя дополнительные блоки 2, показанные на фиг.З, можно несколько ввдоизменить внешний вид собираемых конструкций. Кроме показанных на фиг.5 и б конструкций предложенный конструктор позволяет макетировать множество реально существующих архитектурных сооружений, а также собирать различные абстрактные фигуры.

[16]

ttiMuJduMiii 1/.,,-.,- / л N

[17]

Заявитель: . (Тришкин С.А.)

[18]

Как компенсировать расходы
на инновационную разработку
Похожие патенты