патент
№ RU 2299292
МПК E02B8/08
Номер заявки
2005115695/03
Дата подачи заявки
23.05.2005
Опубликовано
20.05.2007
Страна
RU
Как управлять
интеллектуальной собственностью
Чертежи 
5
Реферат

[43]

Изобретение относится к гидротехническому строительству, а именно к рыбозащитным устройствам в составе водозаборных сооружений, и предназначено для защиты молоди рыб от попадания в водозаборные сооружения. Рыбозащитное устройство включает всасывающую трубу с вертикальным входным патрубком, размещенным соосно внутри заглушенного сверху водонепроницаемого цилиндра, систему для предварительного отвода молоди рыбы, состоящую из перфорированного трубопровода, соединенного с компрессором, расположенного на дне водоема с внешней стороны от водонепроницаемого цилиндра и выполненного в виде замкнутого кольца, размещенного соосно всасывающей трубе, водоприемное отверстие, сформированное нижней кромкой водонепроницаемого цилиндра и внешней поверхностью трубы входного патрубка, рыбозадерживающий экран и струевой потокообразователь, расположенные горизонтально в параллельных плоскостях соосно друг другу и всасывающей трубе. Рыбозадерживающий экран выполнен в виде круга, диаметр которого больше диаметра водонепроницаемого цилиндра, и размещен выше заглушенной торцевой части водонепроницаемого цилиндра. Струевой потокообразователь выполнен в виде сегнерова колеса, соединен подводящим трубопроводом с напорной линией насоса и расположен между рыбозадерживающим экраном и поверхностью воды. Изобретение создает в зоне влияния водозаборного оголовка гидравлические условия, обеспечивающие эффективную защиту молоди рыб от попадания в водозабор путем формирования рыбомусороотводного потока вращающимся струевым потокообразователем. 4 з.п. ф-лы, 6 ил.

Формула изобретения

1. Рыбозащитное устройство зонтичного типа, включающее всасывающую трубу с вертикальным входным патрубком, размещенным внутри заглушенного сверху водонепроницаемого цилиндра соосно ему, систему для предварительного отвода молоди рыбы, состоящую из перфорированного трубопровода, соединенного с компрессором, при этом перфорированный трубопровод расположен на дне водоема с внешней стороны от водонепроницаемого цилиндра и выполнен в виде замкнутого кольца, размещенного соосно всасывающей трубе, водоприемное отверстие, сформированное нижней кромкой водонепроницаемого цилиндра и внешней поверхностью трубы входного патрубка, отличающееся тем, что оно снабжено рыбозадерживающим экраном и струевым потокообразователем, расположенными горизонтально в параллельных плоскостях соосно друг другу и всасывающей трубе, при этом рыбозадерживающий экран выполнен в виде круга, диаметр которого больше диаметра водонепроницаемого цилиндра, и размещен выше заглушенной торцевой части водонепроницаемого цилиндра, а струевой потокообразователь выполнен в виде сегнерова колеса, соединен подводящим трубопроводом с напорной линией насоса и расположен между рыбозадерживающим экраном и поверхностью воды.

2. Устройство по п.1, отличающееся тем, что с внешней стороны перфорированного трубопровода соосно ему расположен донный порог.

3. Устройство по п.1, отличающееся тем, что нижняя торцевая часть водонепроницаемого цилиндра с внешней его стороны выполнена с козырьком, кольцевой в плане формы.

4. Устройство по п.3, отличающееся тем, что поверхность козырька выполнена перфорированной.

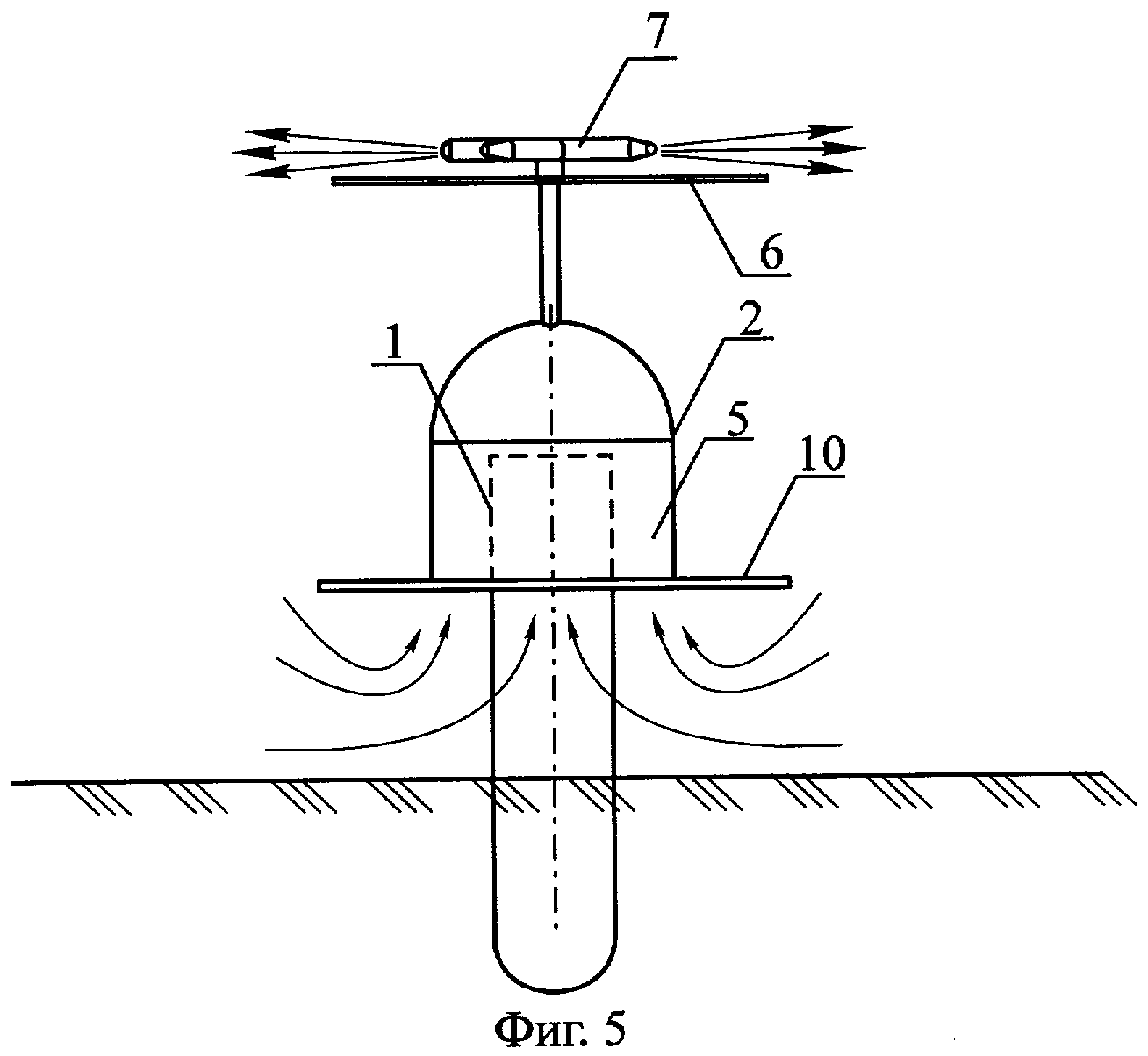
5. Устройство по п.1 или 2, отличающееся тем, что заглушенная торцевая часть водонепроницаемого цилиндра выполнена в виде полусферы.

Описание

[1]

Изобретение относится к гидротехническому строительству, а именно к рыбозащитным устройствам и сооружениям, устраиваемых в составе водозаборных сооружений, и предназначено для защиты молоди рыб от попадания в водозаборные сооружения.

[2]

Известно рыбозащитное устройство [1], включающее всасывающий оголовок, заглубленный под уровень воды в водоеме, систему отпугивания молоди рыбы, элементы которой установлены по внешнему периметру оголовка, включающую средства для создания акустических, электрических сигналов и формирования воздушно-пузырьковой завесы, при этом указанные средства размещены рядами с чередованием видов средств, воздействующих на молодь рыбы, с образованием между рядами зон для свободного плавания рыб.

[3]

Недостатком данного устройства является сложность его конструкции.

[4]

Известно рыбозащитное устройство [2], включающее всасывающую трубу с вертикальным входным патрубком, размещенным внутри заглушенного сверху водонепроницаемого цилиндра, соосно ему трубопровод, соединенный с компрессором, водоприемное отверстие, сформированное нижней кромкой водонепроницаемого цилиндра и внешней поверхностью трубы входного патрубка.

[5]

Недостатком данного оголовка является низкая эффективность отвода молоди рыб, а также сложность конструкции оголовка.

[6]

Наиболее близким по технической сущности и достигаемому результату является рыбозащитное устройство [3], включающее всасывающую трубу с вертикальным входным патрубком, размещенным внутри заглушенного сверху водонепроницаемого цилиндра, соосно ему систему для предварительного отвода молоди рыбы, состоящую из перфорированного трубопровода, соединенного с компрессором, при этом перфорированный трубопровод расположен на дне водоема с внешней стороны от водонепроницаемого цилиндра и выполнен в виде замкнутого кольца, размещенного соосно всасывающей трубе, водоприемное отверстие, сформированное нижней кромкой водонепроницаемого цилиндра и внешней поверхностью трубы входного патрубка.

[7]

Недостатком данного устройства является низкая эффективность рыбозащиты.

[8]

Целью изобретения является создание эффективных гидравлических условий в зоне влияния водозаборного оголовка, необходимых и достаточных для эффективной защиты молоди рыб от попадания в водозабор.

[9]

Сущность изобретения заключается в следующем.

[10]

По п.1 формулы изобретения. Выполнение устройства с рыбозадерживающим экраном позволяет создать в поверхностном горизонте водоема рыбоотводящую зону, которая отсечена от зоны активного водозабора.

[11]

Размещение струевого потокообразователя, расположенного в горизонтальной плоскости и в плоскости, параллельной рыбозадерживающему экрану, позволяет сформировать активный рыбоотводящий поток по всему периметру рыбозадерживающего экрана. Выполнение струевого потокообразователя в виде сегнерова колеса, соединенного подводящим трубопроводом с напорной линией насоса, позволяет создать гидравлические струи, активно отводящие молодь рыбы, поднятую в поверхностные слои под флотационным воздействием воздушно-пузырьковой завесы за пределы зоны влияния водозабора и за внешний периметр действия воздушно-пузырьковой завесы. Благодаря наличию струереактивной тяги и компоновке сегнерова колеса струевой потокообразователь вращается относительно вертикальной оси и обеспечивает формирование рыбомусороотводного потока в диапазоне 360 градусов.

[12]

Расположение рыбозадерживающего экрана и струевого потокообразователя, расположенных горизонтально в параллельных плоскостях, соосно друг другу и всасывающей трубе позволяет организовать эффективный отвод молоди рыбы из поверхностных горизонтов за пределы зоны влияния зонтичного оголовка.

[13]

Выполнение рыбозадерживающего экрана в виде круга, диаметр которого больше диаметра водонепроницаемого цилиндра и размещен выше заглушенной торцевой части водонепроницаемого цилиндра, в полной степени соответствует общей компоновке рыбозащитного устройства.

[14]

По п.2 формулы изобретения. Выполнение с внешней стороны перфорированного трубопровода соосно ему донного порога, позволяет воспрепятствовать проникновению молоди рыбы и донных наносов из придонных горизонтов в зону воздействия факела воздушно-пузырьковой завесы.

[15]

По п.3 формулы изобретения. Выполнение нижней торцевой части водонепроницаемого цилиндра с внешней его стороны с козырьком кольцевой в плане формы позволяет оптимизировать как границы факела всасывания, так и величину градиентов скоростей, образуемых в непосредственной близости от водоприемного отверстия, сформированного нижней кромкой водонепроницаемого цилиндра и внешней поверхностью трубы вертикального входного патрубка.

[16]

По п.4 формулы изобретения. Вариант, когда поверхность козырька выполнена перфорированной, позволяет сгладить градиенты фильтрационных скоростей, образуемых в непосредственной близости от водоприемного отверстия и козырька.

[17]

По п.5 формулы изобретения. Вариант, когда заглушенная часть водонепроницаемого цилиндра выполнена в виде полусферы, является частным конструктивным решением и улучшает условия для потока, вовлекаемого в зону влияния всасывающего факела.

[18]

Решение поставленной задачи достигается путем создания новой конструкции рыбозащитного устройства. Графический материал, иллюстрирующий предлагаемое рыбозащитное устройство, представлен на следующих фигурах:

[19]

фиг.1 - рыбозащитное устройство, план;

[20]

фиг.2 - разрез А-А на фиг.1;

[21]

фиг.3 - рыбозащитное устройство, продольный разрез, вариант с кольцевым козырьком;

[22]

фиг.4 - вид Б на фиг.2;

[23]

фиг.5 - вариант рыбозащитного устройства, заглушенная часть водонепроницаемого цилиндра выполнена в виде полусферы;

[24]

фиг.6 - вариант рыбозащитного устройства, поверхность козырька выполнена перфорированной.

[25]

Рыбозащитное устройство включает всасывающую трубу с вертикальным входным патрубком 1, размещенным внутри заглушенного сверху водонепроницаемого цилиндра 2, соосно ему систему для предварительного отвода молоди рыбы, состоящую из перфорированного трубопровода 3, соединенного с компрессором 4, при этом перфорированный трубопровод 3 расположен на дне водоема с внешней стороны от водонепроницаемого цилиндра 2 и выполнен в виде замкнутого кольца, размещенного соосно всасывающей трубе, водоприемное отверстие 5, сформированное нижней кромкой водонепроницаемого цилиндра 2 и внешней поверхностью трубы входного патрубка 1.

[26]

Устройство снабжено рыбозадерживающим экраном 6 и струевым потокообразователем 7, расположенных горизонтально в параллельных плоскостях соосно друг другу и всасывающей трубе, при этом рыбозадерживающий экран 6 выполнен в виде круга, диаметр которого больше диаметра водонепроницаемого цилиндра 2 и размещен выше заглушенной торцевой части водонепроницаемого цилиндра 2, а струевой потокообразователь 7 выполнен в виде сегнерова колеса, соединен подводящим трубопроводом 8 с напорной линией насоса и расположен между рыбозадерживающим экраном 6 и поверхностью воды.

[27]

Кроме того, с внешней стороны перфорированного трубопровода 3 соосно ему может быть расположен донный порог 9.

[28]

Помимо того, нижняя торцевая часть водонепроницаемого цилиндра 2, с внешней его стороны, может быть выполнена с козырьком 10 кольцевой в плане формы.

[29]

Кроме того, поверхность козырька 10 может быть выполнена перфорированной.

[30]

Помимо того, заглушенная часть водонепроницаемого цилиндра 2 может быть выполнена в виде полусферы.

[31]

Рыбозащитное устройство работает следующим образом.

[32]

Расход воды, очищенный от влекомого мусора и молоди рыбы, через водоприемное отверстие 5 и далее, по внутреннему пространству водонепроницаемого цилиндра 2 во входной патрубок 1, поступает к потребителю. Благодаря подаче сжатого воздуха от компрессора 4 в кольцевой перфорированный трубопровод 3 вокруг входного патрубка 1 и водонепроницаемого цилиндра 2 формируется воздушно-пузырьковая завеса, которая способствует активному подъему молоди рыбы и влекомого мусора в поверхностные горизонты водоема (фиг.2), где они концентрируются. Для предотвращения попадания молоди рыбы во внутреннее пространство, образованное кольцевым перфорированным трубопроводом 3, устройство снабжено рыбозадерживающим экраном 6 (фиг.2 и 3), что позволяет создать в поверхностном горизонте водоема рыбоотводящую зону, которая отсечена от зоны активного водозабора. Отвод молоди рыбы с поверхности рыбозадерживающего экрана 6 осуществляется гидравлическими струями, формируемыми струевым потокообразователем 7, расположенным в горизонтальной плоскости и в плоскости, параллельной рыбозадерживающему экрану 6, что позволяет сформировать активный рыбоотводящий поток по всему периметру рыбозадерживающего экрана 6. Выполнение струевого потокообразователя 7 в виде сегнерова колеса (фиг.4), соединенного подводящим трубопроводом 8 с напорной линией насоса (не показано), позволяет создать гидравлические струи активно отводящие молодь рыбы, поднятую в поверхностные слои под флотационным воздействием воздушно-пузырьковой завесы, за пределы зоны влияния водозабора и за внешний периметр действия воздушно-пузырьковой завесы. Благодаря наличию струереактивной тяги и компоновке сегнерова колеса струевой потокообразователь 7 постоянно вращается относительно вертикальной оси и обеспечивает формирование рыбомусороотводного потока в диапазоне 360 градусов.

[33]

Выполнение рыбозадерживающего экрана 6 в виде круга, диаметр которого больше диаметра водонепроницаемого цилиндра 2, и размещение его выше заглушенной торцевой части водонепроницаемого цилиндра 2, в полной степени соответствует общей компоновке рыбозащитного устройства.

[34]

Возможен вариант работы, когда устройство снабжено с внешней стороны перфорированного трубопровода 3 соосно ему донным порогом 9 (фиг.2 и 3), что позволяет воспрепятствовать проникновению молоди рыбы и донных наносов из придонных горизонтов в зону воздействия факела воздушно-пузырьковой завесы.

[35]

Возможен вариант выполнения нижней торцевой части водонепроницаемого цилиндра 2 с внешней его стороны с козырьком 10 кольцевой в плане формы (фиг.3 и 5), что позволяет оптимизировать как границы факела всасывания, так и величину градиентов скоростей, образуемых в непосредственной близости от водоприемного отверстия 5, сформированного нижней кромкой водонепроницаемого цилиндра 2 и внешней поверхностью трубы вертикального входного патрубка 1.

[36]

Возможен вариант работы устройства, когда поверхность козырька 10 выполнена перфорированной (фиг.6), что позволяет сгладить градиенты фильтрационных скоростей, образуемых в непосредственной близости от водоприемного отверстия 5 и козырька 10.

[37]

Возможен вариант работы устройства, когда заглушенная часть водонепроницаемого цилиндра 2 выполнена в виде полусферы (фиг.5), что является частным конструктивным решением и улучшает условия для потока, вовлекаемого в зону влияния всасывающего факела, формируемого водоприемным отверстием 5.

[38]

Предлагаемое изобретение имеет простую конструкцию, что позволяет упростить компоновку рыбозащитного устройства, повысить надежность его работы и эффективность защиты молоди рыб от попадания в водозабор. Кроме того, за счет комплексного подхода к проектированию устройства удалось повысить эффективность рыбозащиты.

[39]

Источники информации

[40]

1. А.С. СССР №480382 (SU). "Способ отпугивания рыб", МПК А01К 61/00, А01К 79/00. Авторы: Протасов В.Р., Поддубный А.Г., Пятницкий И.И., Лапкин В.В., Сумарокова И.Н. Опубл. 15.08.75, БИ №30.

[41]

2. А.С. СССР №1381235 (SU). "Рыбозащитное устройство зонтичного типа". МПК Е02В 8/08, Е02В 9/04. Авторы: Лев М.И., Никитин В.А., Босая Н.В. Опубл. 15.03.88, БИ №10, 1988.

[42]

3. Патент Японии №61-254712 (JP). "Preventer against incoming of jellyfish". МПК Е02В 9/04. Автор: Kondo Isamu. Опубл. 12.11.86, фиг.4а, б.

Как компенсировать расходы
на инновационную разработку
Похожие патенты