Полезная модель относится к области защиты бронированных транспортных средств с башней и шасси с задним расположением моторно-трансмиссионного отделения от атакующих средств поражения, например, гранат РПГ, ПТАБ, РКГ-3, ручных гранат Ф-1, в том числе доставляемых на дронах-камикадзе. Бронированное транспортное средство с башней и шасси с задним расположением моторно-трансмиссионного отделения выполнено с обеспечением защиты его кормовой части, оснащено дополнительной защитой, содержащей прочные гибкие упругие щитки, принимающие при установке форму с покатой наружной поверхностью, при этом нижняя часть щитков свободно свисает. Щитки жестко закреплены крайней верхней частью в верхней кормовой части башни с обеспечением ее беспрепятственного вращения, с перекрытием большей части кормовой проекции башни и большей части проекции моторно-трансмиссионного отделения в плане, не перекрытой башней, находящейся в положении прямо по курсу, с обеспечением отскока сбрасываемого на них средства поражения массой до трех килограммов. Обеспечивается повышение защищенности кормовой части транспортного средства от атакующих средств поражения без ограничения поворота его башни. 9 з.п. ф-лы, 6 ил.
1. Бронированное транспортное средство с башней и шасси с задним расположением моторно-трансмиссионного отделения, оснащённое дополнительной защитой от атакующих средств поражения, содержащей прочные гибкие упругие щитки, расположенные с перекрытием защищаемой зоны транспортного средства и обеспечением на удалении от основной брони транспортного средства подрыва кумулятивного средства поражения, жёстко закреплённые на башне с обеспечением её беспрепятственного вращения крайней верхней частью и принимающие при установке форму с покатой наружной поверхностью, при этом нижняя часть щитков свободно свисает, отличающееся тем, что выполнено с обеспечением защиты его кормовой части, при этом щитки установлены в верхней кормовой части башни с перекрытием большей части кормовой проекции башни и большей части проекции моторно-трансмиссионного отделения в плане, не перекрытой башней, находящейся в положении прямо по курсу, с обеспечением отскока сбрасываемого на них средства поражения массой до трёх килограммов. 2. Бронированное транспортное средство с башней и шасси с задним расположением моторно-трансмиссионного отделения, оснащенное дополнительной защитой от атакующих средств поражения, по п. 1, отличающееся тем, что щитки установлены с перекрытием зоны шасси, открываемой при повороте башни, по меньшей мере, на угол 30°. 3. Бронированное транспортное средство с башней и шасси с задним расположением моторно-трансмиссионного отделения, оснащённое дополнительной защитой от атакующих средств поражения, по любому из пп. 1, 2, отличающееся тем, что щиток представляет собой резинотканевую пластину толщиной от 5 до 20 мм. 4. Бронированное транспортное средство с башней и шасси с задним расположением моторно-трансмиссионного отделения, оснащённое дополнительной защитой от атакующих средств поражения, по любому из пп. 1, 2, отличающееся тем, что щиток представляет собой полиуретановую пластину толщиной от 5 до 20 мм. 5. Бронированное транспортное средство с башней и шасси с задним расположением моторно-трансмиссионного отделения, оснащённое дополнительной защитой от атакующих средств поражения, по любому из пп. 1, 2, отличающееся тем, что щиток закреплён с отступом от его верхнего края в продольном направлении указанного щитка. 6. Бронированное транспортное средство с башней и шасси с задним расположением моторно-трансмиссионного отделения, оснащённое дополнительной защитой от атакующих средств поражения, по любому из пп. 1, 2, отличающееся тем, что щитки расположены на разных уровнях по высоте и с перекрытием в плане смежных щитков. 7. Бронированное транспортное средство с башней и шасси с задним расположением моторно-трансмиссионного отделения, оснащённое дополнительной защитой от атакующих средств поражения, по любому из пп. 1, 2, отличающееся тем, что форма щитка по высоте формируется консольной подпоркой, дополнительно установленной под ним у его верхней части. 8. Бронированное транспортное средство с башней и шасси с задним расположением моторно-трансмиссионного отделения, оснащённое дополнительной защитой от атакующих средств поражения, по п. 7, отличающееся тем, что подпорка выполнена в виде пластины из пружинной стали, зафиксированной в креплениях соответствующего щитка. 9. Бронированное транспортное средство с башней и шасси с задним расположением моторно-трансмиссионного отделения, оснащённое дополнительной защитой от атакующих средств поражения, по любому из пп. 1, 2, отличающееся тем, что щитки выполнены с обеспечением скрытия источников инфракрасного излучения в защищаемой зоне. 10. Бронированное транспортное средство с башней и шасси с задним расположением моторно-трансмиссионного отделения, оснащённое дополнительной защитой от атакующих средств поражения по любому из пп. 1, 2, отличающееся тем, что щитки выполнены с обеспечением скрытия радиолокационного излучения в защищаемой зоне.
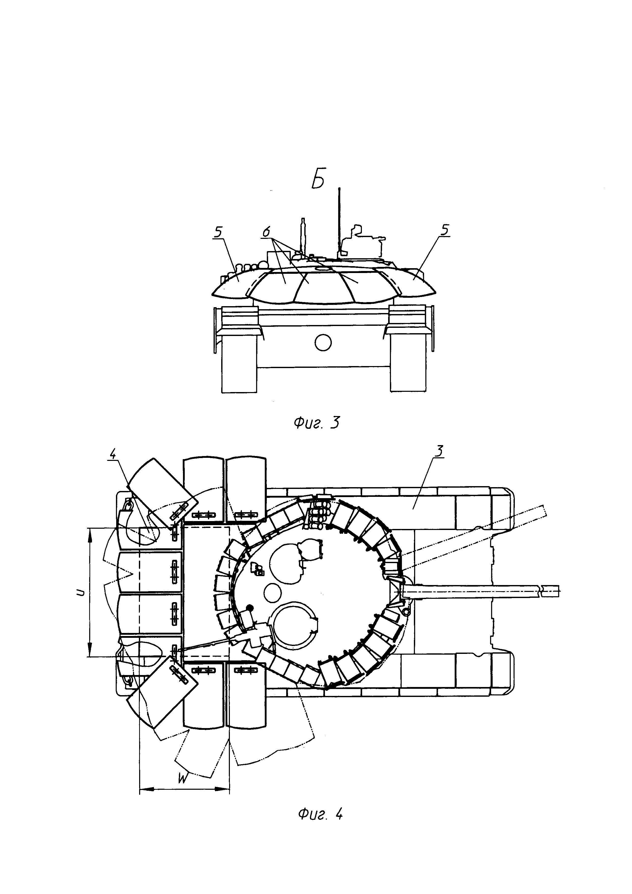
Полезная модель относится к бронированным транспортным средствам (далее - ТС) с башней и шасси с задним расположением моторно-трансмиссионного отделения (далее - МТО), оснащённым дополнительной защитой, обеспечивающей или подрыв подлетающего кумулятивного боеприпаса на расстоянии от ТС при атаке в горизонте и сверху, в том числе на дронах-камикадзе типа FPV-дронов (позволяющих оператору наблюдать за полётом), или отскок падающих сверху на защиту боеприпасов (взрывных устройств со взрывателями немгновенного действия) за пределы проекции МТО или шасси. Заявляемое устройство может быть использовано при модернизации танков для защиты проекции МТО в плане, большей или всей части кормовой проекций башни с обеспечением её беспрепятственного поворота на 360°, в том числе, в комплексе с другими видами дополнительной защиты, такими как «антидроновые» козырьки с ЭДЗ; сетки с бойками; решётчатые экраны для оптимизации защиты ТС от различных СП в определённых зонах ТС. Средства дополнительной защиты - резинотканевые экраны и тонкие металлические листы для преждевременного взведения кумулятивных зарядов (ослабления кумулятивной струи) на корпусах шасси и башнях ТС используются давно [Встречная атака: активная танковая броня. Оружие. Бронетехника. [Электронный ресурс]. URL: https://www.techinsider.ru/weapon/10527-vstrechnaya-ataka-aktivnaya-tankovaya-bronya/ опубл.: 03.10.2023 (дата обращения: 01.06.2024)]. Прототипом заявляемой полезной модели является танк Т-72Б с гибкими резинотканевыми экранами (в заявляемой полезной модели - щитки), защищающими зону стыка башни и корпуса шасси [Е. Чистяков, Д. Купрюнин, М. Алексеев, А. Кимаев. Эффективность дополнительной защиты военной техники//Техника и вооружение вчера, сегодня, завтра. - 2017. - № 2. - С. 11]. В различных вариантах выполнения известной защиты экраны могут: свисать практически до крыши корпуса шасси ТС; устанавливаться с промежутками между смежными экранами; устанавливаться внахлёст; содержать закреплённые на их нижней части элементы динамической защиты «Контакт». Общими существенными признаками известной защиты с заявляемой полезной моделью являются: - наличие прочных гибких упругих щитков, закреплённых на башне, на расстоянии от основной брони ТС; - расположение щитков с перекрытием защищаемой зоны ТС (в аналогах - зоны стыка башни и корпуса шасси, а в заявляемой полезной модели - кормовой части ТС) с обеспечением на удалении от основной брони ТС подрыва кумулятивного СП; - жёсткое крепление щитков крайней верхней частью на башне с обеспечением её беспрепятственного вращения; - покатая наружная поверхность щитков; - свободно свисающая нижняя часть щитков. Недостатки: - отсутствие защиты ТС от действия СП с верхней полусферы по кормовой части танка, как от кумулятивных боеприпасов, так и взрывных устройств, сбрасываемых с коптеров; наличие незащищённых зон у башни; - подрыв СП на малом удалении от башни (по сравнению с заявляемой полезной моделью, где точка подрыва вынесена в горизонтальном направлении на значительно большее расстояние от башни, порядка 1/3 длины МТО). Задачи полезной модели: - усиление защиты кормовой части башни при горизонтальном обстреле кумулятивными СП (гранатами РПГ); - усиление защиты МТО со стороны верхней полусферы от кумулятивных СП на дронах-камикадзе (гранаты РПГ, ПТАБ, РКГ-3) и сбрасываемых с дронов взрывных устройств массой до трёх килограммов, например, ручных гранат Ф-1, РКГ-3 и т.п.; - обеспечение перекрытия открываемых при повороте башни зон шасси под башней, которые в положении башни прямо по курсу были ей перекрыты; - обеспечение живучести защиты при встрече с жёстким препятствием при движении ТС в стеснённых условиях; - уменьшение радиолокационной и инфракрасной заметности зоны МТО (в т.ч. при повороте башни). Технические результаты полезной модели: - повышение защиты ранее уязвимых зон ТС от сбрасываемых сверху СП массой до трёх килограммов (взрывных устройств со взрывателями немгновенного действия: самодельных взрывных устройств, ручных гранат) за счёт их отскока от щитков за пределы защищаемой зоны ТС; при этом даже при повороте башни, по меньшей мере, на угол 30° в любую сторону от исходного положения (т.е. в сторону правого или левого борта от положения прямо по курсу), большая часть зон шасси под башней, открываемых при её повороте, остаётся перекрытой щитками; - снятие ограничений при повороте башни за счёт применения гибких и упругих щитков в верхней кормовой части башни (в этом случае щитки, выступающие за габарит шасси при круговом повороте башни, не срывает в стеснённых условиях препятствиями (деревья, здания, и т.п.), и их защитные свойства сохраняются); - обеспечение защиты от самоприцеливающихся кумулятивных боевых элементов (обусловленное уменьшением вероятности обнаружения цели и срабатывания по ней) за счёт обеспечения возможности экранирования щитками зон шасси от инфракрасного и радиолокационного излучений. Указанные технические результаты в своей совокупности обеспечивают получение общего технического результата - повышение защищённости кормовой части бронированного ТС от атакующих СП без ограничения поворота его башни. Для достижения технического результата бронированное транспортное средство с башней и шасси с задним расположением моторно-трансмиссионного отделения, оснащённое дополнительной защитой от атакующих средств поражения, содержащей прочные гибкие упругие щитки, расположенные с перекрытием защищаемой зоны транспортного средства и обеспечением на удалении от основной брони транспортного средства подрыва кумулятивного средства поражения, жёстко закреплённые на башне с обеспечением её беспрепятственного вращения крайней верхней частью и принимающие при установке форму с покатой наружной поверхностью, при этом нижняя часть щитков свободно свисает, согласно полезной модели выполнено с обеспечением защиты его кормовой части, при этом щитки установлены в верхней кормовой части башни с перекрытием большей части кормовой проекции башни и большей части проекции моторно-трансмиссионного отделения в плане, не перекрытой башней, находящейся в положении прямо по курсу, с обеспечением отскока сбрасываемого на них средства поражения массой до трёх килограммов. Кроме того, щитки могут быть установлены с перекрытием зоны шасси, открываемой при повороте башни, по меньшей мере, на угол 30° (для обеспечения защиты МТО при угле её безопасного поворота на 30°, т.е. когда обеспечивается защита танка спереди). Кроме того, щиток может представлять собой резинотканевую пластину общей толщиной от 5 до 20 мм. Кроме того, щиток может представлять собой полиуретановую пластину толщиной от 5 до 20 мм. Кроме того, щиток может быть закреплён с отступом от его верхнего края в продольном направлении указанного щитка. Кроме того, щитки могут быть расположены на разных уровнях по высоте и с перекрытием в плане смежных щитков. Кроме того, форма щитка может формироваться консольной подпоркой, дополнительно установленной под ним у его верхней части (для обеспечения необходимого вылета). При этом подпорка может быть выполнена в виде пластины из пружинной стали, зафиксированной в креплениях соответствующего щитка (для обеспечения необходимой упругости щитков и живучести конструкции). Кроме того, щитки могут быть выполнены с обеспечением скрытия источников инфракрасного излучения в защищаемой зоне. Кроме того, щитки могут быть выполнены с обеспечением скрытия источников радиолокационного излучения в защищаемой зоне. Сущность полезной модели поясняется чертежами: - на фиг. 1 изображён танк с дополнительной защитой (вид сбоку) и траектории возможных средств поражения; - на фиг. 2 изображён вид A фиг. 1; - на фиг. 3 изображён вид Б фиг. 1; - на фиг. 4 изображён вариант дополнительной защиты (при наличии оборудования на кормовой части башни); - на фиг. 5 изображён разрез В-В фиг. 2 - вариант установки щитка с консольной подпоркой под ним у его верхней части; - на фиг. 6 изображён разрез В-В фиг. 2 - вариант установки щитка с консольной подпоркой и с отступом от его верхнего края. Бронированное транспортное средство 1 (фиг. 1, 2) с башней 2 и шасси 3 с задним расположением МТО 4 (шириной U и длиной W) оснащено в кормовой части дополнительной защитой, содержащей жёстко закреплённые в верхней кормовой части башни 2 своей крайней верхней частью прочные гибкие упругие щитки 5, 6 (в конкретном примере - пять щитков: два крайних щитка 5, расположенные выше трёх средних щитков 6, выполненных каждый в виде резинотканевой пластины, например, трапециевидной формы с закруглёнными нижними краями, установленные с перекрытием большей части кормовой проекции башни 2 (фиг. 3) и большей части проекции МТО 4 в плане, не перекрытой башней (фиг. 2, 4), находящейся в положении прямо по курсу, с обеспечением отскока сбрасываемого на щитки СП массой до трёх килограммов (за счёт упругих свойств щитков и их покатой наружной поверхности). В конкретном примере (фиг. 2) башней перекрыта незначительная часть проекции МТО 4 в плане, но в некоторых конструкциях ТС (фиг. 4) башней может быть перекрыта значительная часть проекции МТО в плане, например, различным оборудованием, закреплённым на башне (ящиками для запасных частей, корзинами для имущества, бронированными отсеками для дополнительного боекомплекта и т.п.), которое может выполнять роль защиты, однако, при повороте башни такая защита смещается, и прикрытые до этого зоны МТО, становятся открытыми для атак СП сверху. В заявляемой полезной модели обеспечивается перекрытие щитками большей части проекции МТО 4 в плане, в том числе при повёрнутой башне (фиг. 2, 4). Щитки 5, 6 закреплены, преимущественно, таким образом, чтобы СП не могли проскочить к защищаемой зоне ТС (т.е. либо сработать преждевременно (кумулятивные СП), не достигая ТС, либо отскочить за пределы ТС (например, ручные гранаты)). Щитки 5, 6 закреплены с обеспечением беспрепятственного вращения башни 2. За счёт своей гибкости щитки при установке принимают форму с покатой наружной поверхностью, при этом нижние части щитков 5, 6 свободно свисают, образуя свободное пространство между ними и защищаемой зоной ТС. При этом такое расположение щитков обеспечивает большие расстояния а, b (фиг. 1) по сравнению с прототипом. Дополнительная защита всегда находится в положении, готовом к боевому применению. При взаимодействии с препятствиями щитки за счёт упругости восстанавливают исходное положение, сохраняя свою защитную функцию. Крепления 7 щитков 6 в конкретном примере выполнено в виде нескольких однообразно расположенных пазов, как на «подвесе мебельном» с креплением болтами (без их выкручивания, с ослаблением затяжки при снятии щитков) (фиг. 2, 5, 6). Не исключено выполнение креплений иным образом. Подпорка 8 (фиг. 5, 6) установлена под щитком 6 толщиной с (фиг. 5) у его верхней части. Щиток установлен с отступом T (фиг. 6) от его верхнего края, с перекрытием зоны Q. Работа устройства. При горизонтальном обстреле щитки 6 на расстоянии б от башни ТС инициируют подрыв кумулятивного СП и уменьшают пробивную способность кумулятивной струи. Преимущественно, в установленном положении продольный размер щитков в плане составляет не менее 1/3 длины проекции МТО, что обеспечивает расстояние b не менее 600 мм. При обстреле МТО с верхней полусферы щитки 6 на расстоянии а от МТО инициируют подрыв кумулятивного СП и уменьшают пробивную способность кумулятивной струи. При сбросе на МТО взрывных устройств со взрывателем немгновенного действия, щитки упруго деформируются и отбрасывают взрывные устройства за пределы МТО. При сбросе на МТО взрывных устройств со взрывателем мгновенного действия щитки на расстоянии h от крыши МТО ТС инициируют подрыв СП и уменьшают осколочно-фугасное действие на ТС. Установка щитков в верхней кормовой части башни позволяет повысить защищённость боковой части башни, расположенной ниже соответствующего щитка, за счёт выноса точки подрыва кумулятивного СП от боковой части башни и МТО, а также позволяет перекрыть нагретую зону ТС для возможности обдува пространства под щитками атмосферным воздухом при движении ТС, за счёт чего щитки меньше нагреваются от теплового излучения МТО, уменьшая тем самым заметность ТС. Установка щитков с перекрытием большей части проекции МТО в плане и перекрытием большей части кормовой проекции башни позволяет повысить защищённость: сверху - МТО, сбоку - кормовой части башни, за счёт выноса точки подрыва СП от МТО и от башни соответственно (a, б на фиг. 1). Обеспечение отскока сбрасываемого на щитки СП, типа ручных гранат Ф-1, за пределы проекции МТО или шасси ТС, позволяет исключить подрыв СП на МТО. Резинотканевая пластина общей толщиной с (фиг. 5) от 5 до 20 мм обеспечивает упругость щитков. Полиуретановая пластина общей толщиной от 5 до 20 мм обеспечивает упругость щитков, обладает большим диапазоном физико-механических свойств, может иметь цвет ТС. В частном случае (фиг. 6), при невозможности размещения крепления над защищаемой зоной (например, из-за наличия решётчатых экранов, образующих зазор Q с башней 2), чтобы обеспечить перекрытие МТО сверху, щиток 6 может быть закреплён у его верхней части с отступом T от его верхнего края, что позволит расширить возможность применения защиты (например, открытый участок защищаемой зоны ТС будет перекрыт частью щитка длиной T для исключения пролёта СП). Для обеспечения перекрытия защищаемой зоны в плане без пролёта СП в щель между щитками, когда по конструктивным ограничениям невозможно обеспечить смыкание щитков, их располагают внахлёст, на разных уровнях по высоте (с обеспечением перекрытия кормовой проекции башни, фиг. 3). При значительной длине щитка 6 (более 600 мм, для ещё большего удаления точки подрыва от ТС, без увеличения толщины и жёсткости щитка, перекрытия защищаемых зон), его форма по высоте, формируется консольной подпоркой 8, дополнительно установленной под ним у его верхней части (фиг. 5, 6). Щитки выполняют с обеспечением скрытия источников инфракрасного и радиолокационного излучения в защищаемой зоне. Например, с нанесением теплоизолирующих покрытий, закреплением на них радиопоглощающего материала «Накидка». Таким образом, использование полезной модели позволит повысить защищённость кормовой части бронированного ТС, содержащего башню и шасси с задним расположением МТО от атакующих СП, в том числе доставляемых к ТС дронами. Натурные испытания подтвердили эффективность заявленного устройства.