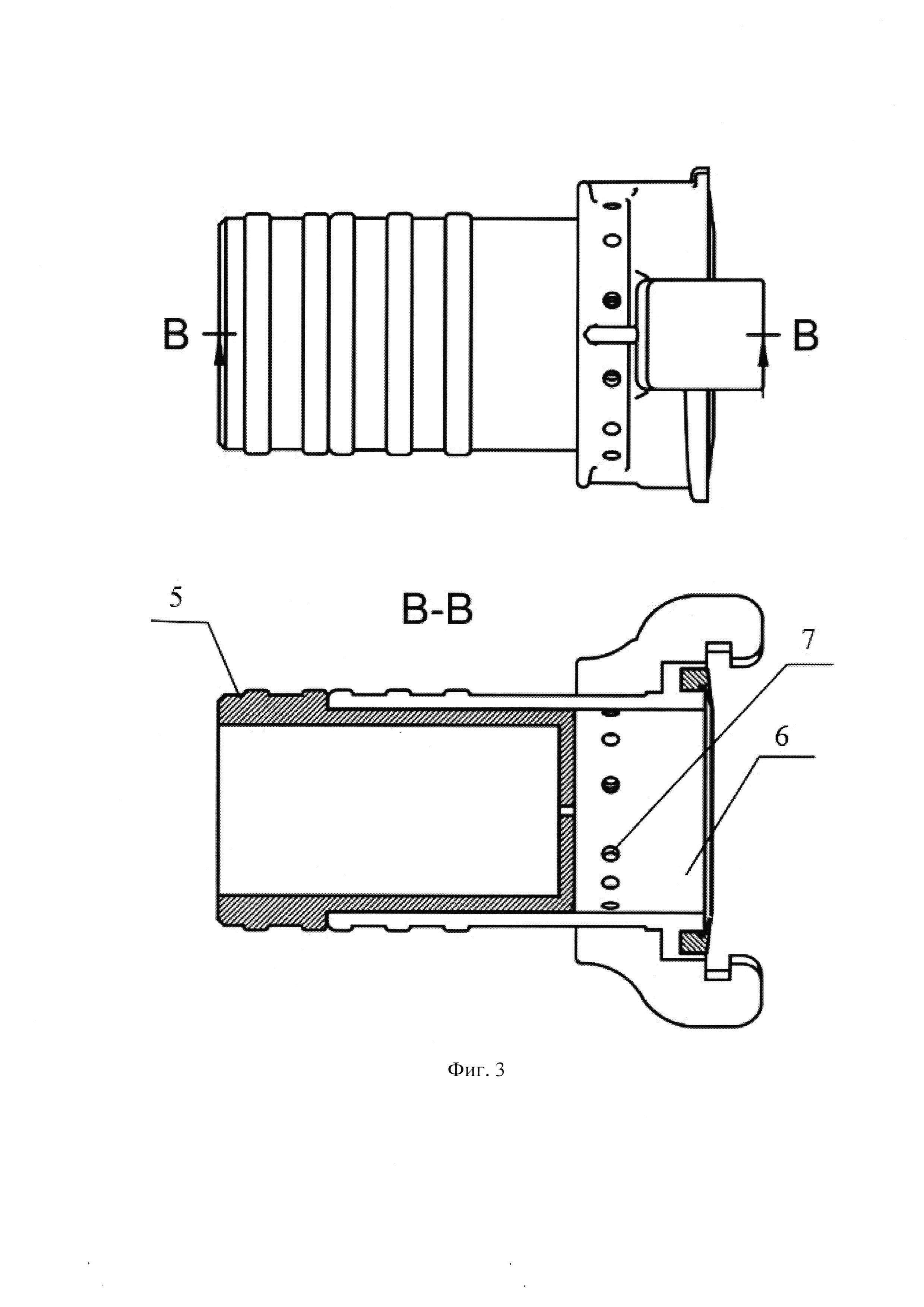
Полезная модель относится к техническим средствам в области противопожарной техники и предназначена для сокращения времени приведения в работоспособное состояние пожарных гидрантов или рукавов, внутри которых под действием низких температур окружающей среды и технической неисправности герметичности клапана гидранта образуются ледяные пробки, блокирующие свободное прохождение воды. Работа полезной модели реализуется следующим образом: к пожарному гидранту с ледяной пробкой во внутренней полости или пожарному рукаву с ледяной пробкой в полугайке на свободном конце подсоединяется заявленный размораживатель, далее через напорный рукав (3) в сторону гидранта или рукава с ледяной пробкой подается вода под давлением, например, от пожарного автомобиля. За счет высокого давления и положительной температуры воды, тонкие струи воды через отверстия цилиндрической вставки (5) растопляют ледяную пробку до соединения с незамерзшей полостью гидранта или рукава. Излишки воды удаляются через отверстия (7), выполненные в полугайке (6). Для защиты от разбрызгивания применяется защитный чехол (фиг. 5), выполненный из плотной ткани, например из пожарного рукава. Полезная модель представляет собой устройство, состоящее из полугайки (1), рукавной напорной головки (2), рукава напорного (3), навязки соединительных головок (4), цилиндрической вставки (5) с отверстиями, полугайки (6) с отверстиями (7) для удаления излишней воды.
1. Устройство для размораживания пожарных гидрантов или пожарных рукавов, состоящее из полугайки (1), рукавной напорной головки (2), рукава напорного (3), навязки соединительных головок (4), цилиндрической вставки (5) с отверстиями, полугайки (6) с отверстиями (7) для удаления излишней воды. 2. Устройство по п. 1, отличающееся тем, что при размораживании, для устранения разбрызгивания излишков воды под напором, устанавливается защитный чехол на полугайку (6) с отверстиями (7).
Полезная модель относится к техническим средствам в области противопожарной техники и предназначена для сокращения времени приведения в работоспособное состояние пожарных гидрантов или рукавов, внутри которых под действием низких температур окружающей среды и технической неисправности герметичности клапана гидранта образуются ледяные пробки, блокирующие свободное прохождение воды. В технической документации заводов-изготовителей не содержится каких-либо конкретных рекомендаций по их размораживанию (Формуляры Типсы). Предлагаются общеизвестные способы и технические решения использования рукавов и гидрантов при отрицательных температурах («Руководство по организации материально-технического обеспечения Министерства Российской Федерации по делам гражданской обороны, чрезвычайным ситуациям и ликвидации последствий стихийных бедствий». Приложение №43 «Порядок эксплуатации пожарных рукавов», утверждено приказом МЧС России от 01.10.2020 №737). Руководством предписывается: «После окончания тушения пожара необходимо воду немедленно слить из напорных рукавов. Вмерзшие в лед напорные рукава следует отогреть паром, горячим воздухом или применять компресс из кошмы, смачиваемой горячей водой. Замерзшие рукава или участки рукавов можно поднести к выхлопной трубе пожарного автомобиля, в целях отогрева отработавшими газами, как рукавов, так и соединений соединительных головок. Перед складированием напорных рукавов, места сгибов необходимо оттаять. В случае сплошного промерзания напорных рукавов, сборку их проводить без сгибов и переломов, при этом перевозку их надо производить на грузовых автомобилях с прицепами или другим способом, не допуская механических повреждений, укладывая напорные рукава во всю длину. При тушении пожаров в условиях низких температур необходимо использовать рекомендации заводов-изготовителей напорных рукавов. Все перечисленные способы носят общий характер без конкретизации каким образом и с помощью каких технических средств или мобильной техники подавать горячий пар или воздух, тем более при тушении пожаров в удаленной местности с плохим состоянием дорог. Использование горячего пара или воздуха предусматривает отогрев внешней поверхности рукава, но не обеспечивается удаление из него воды. Использование горячего пара приводит к осаждению капель воды на поверхность рукава, которые могут замерзнуть после прекращения подачи пара. Компресс из кошмы обеспечивает локальный отогрев рукава». Кроме общеизвестных способов препятствования замерзания воды в рукавах и гидрантах, существует множество различных технических решений и способов. Известны следующие решения: изобретение «Способ восстановления работоспособности замерзшего пожарного гидранта после консервации и устройство для его осуществления» [Способ восстановления работоспособности замерзшего пожарного гидранта после консервации и устройство для его осуществления, заявка: (21)4603426, (22)1988.11.09 (19)SU (11)1740014 (13)А1 (МПК А62С 2/00 2006.1)], полезная модель «Устройство для отогрева подземного пожарного гидранта» [Устройство для отогрева подземного пожарного гидранта (21)2020142318, (22)2020.12.22 (19)RU (11)204366 (13)U1 (МПК А62С 35/20 2006.1)], Полезная модель «Пожарный рукав теплосберегающий» [Пожарный рукав теплосберегающий, заявка (21) 2012135895/12, (22)2012.08.22 (19)RU (11)123676 (13)U1 (МПК А62С 33/00 2006.1)], изобретение «Устройство для удаления жидкости из трубопроводов» [Устройство для удаления жидкости из трубопроводов, заявка: (21)3484596, (22) 1982.08.03 (19)SU (11)1079216 (13)А1 (МПК A01G 25/00 2006.1)], изобретение «Устройство для тушения пожара перегретой водой» [Устройство для тушения пожара перегретой водой, заявка: (21)5067910/12, (22)1992.10.06 (19)RU (11)2030194 (13)С1 (МПК А62С 33/00 2006.1)], Изобретение «Устройство для отогрева замерзших соединений пожарных рукавов» [Устройство для отогрева замерзших соединений пожарных рукавов, заявка: (21)2907814, (22)1980.04.09 (19)SU (11)895453 (13)А1 (МПК А62С 33/00 2006.1)], изобретение «Способ отогрева напорных рукавов больших диаметров при отрицательных температурах с одновременным удалением из них остаточной воды» [Способ отогрева напорных рукавов больших диаметров при отрицательных температурах с одновременным удалением из них остаточной воды, заявка (21)2021118981, (22)2021.06.28 (19)RU (11)2778842 (13)С1 (МПК А62С 33/00 2022.02)]. Наиболее близкий аналог к представленной полезной модели из перечисленных технических решений и способов [Способ отогрева напорных рукавов больших диаметров при отрицательных температурах с одновременным удалением из них остаточной воды, заявка (21)2021118981, (22)2021.06.28 (19)RU (11)2778842 (13)С1 (МПК А62С 33/00 2022.02)]. Указанный способ отогрева напорных рукавов с одновременным удалением из них остаточной воды, отличается тем, что предлагается механическое вытеснение остаточной воды посредством применения пыжа, цилиндрической формы, выполненный в виде конуса, пирамиды, полусферы или эллипсоида с помещением внутрь автономным источником тепла в виде мягкой упаковки с наполнителем, выделяющим тепло при запуске химической реакции. При использовании прототипа возникают дополнительные материальные затраты на приобретение пыжа с автономным источником тепла, невысокая скорость отогрева и приведения рукава в рабочее состояние. Техническим результатом заявленной полезной модели является оперативное (быстрое) восстановление работоспособности рукава или гидранта, приведение в рабочее состояние при пониженных температурах окружающей среды. Указанный технический результат достигается путем применения заявленной полезной модели (фиг.1), которая состоит из следующих элементов: полугайка (1), рукавная напорная головка (2), (для примера взята рукавная головка на 80 мм «ГР Богданова»), рукав напорный (3), навязка соединительных головок (4), цилиндрическая вставка (5) с отверстиями, полугайка (6) с отверстиями (7) для удаления излишней воды. Работа заявленного устройства реализуется следующим образом: к гидранту с ледяной пробкой во внутренней полости подсоединяется заявленный размораживатель, далее через напорный рукав (3) в сторону гидранта или рукава с ледяной пробкой подается вода под давлением, например, от пожарного автомобиля. За счет высокого давления и положительной температуры воды, тонкие струи воды через отверстия цилиндрической вставки (5) растопляют ледяную пробку до соединения с незамерзшей полостью гидранта или рукава. Излишки воды удаляются через отверстия (7), выполненные в полугайке (6). Для защиты от разбрызгивания применяется защитный чехол (фиг. 5), выполненный из плотной ткани, например, из пожарного рукава. Диаметр отверстий в цилиндрической вставке (5) лежит в диапазоне от 2 до 10 мм, их размер и количество не оказывает существенного влияния на применимость заявленного устройства. Для примера (фиг. 6) в цилиндрической вставке выполнено 5 отверстий диаметром по 3 мм. Практическое применение показало высокую эффективность применения заявленной модели при размораживании гидрантов и пожарных рукавов в зимний период. Новизна полезной модели обусловлена тем, что размораживание пожарных гидрантов или рукавов позволяет осуществлять оперативное восстановление работоспособности пожарного оборудования при помощи напора воды, например, от пожарного автомобиля. Подписи к фигурам Фиг. 1 - 3D - проекция полезной модели; Фиг. 2 - Чертеж цилиндрической вставки; Фиг. 3 - Чертеж полугайки с отверстиями; Фиг. 4 - Чертеж полезной модели размораживателя в сборе; Фиг.5 - Фото полезной модели размораживателя, подключенного к пожарному автомобилю. Фиг. 6 - Фото цилиндрической вставки; Фиг. 7 - Фото применения размораживателя на пожарном гидранте.