Полезная модель относится к техническим средствам службы горючего, а именно к техническим средствам подвоза и заправки горючим, которые оборудованы цистерной для транспортирования горючего и технологическим оборудованием для заправки им стационарных агрегатов и технических средств потребителей. Техническая задача полезной модели заключается в обеспечении возможности передвигаться в условиях зимнего бездорожья по маршруту, имеющему, в том числе реки, на которых происходит ледостав или ледоход и отсутствуют мосты (переправы), к тому же в сложных метеорологических условиях и осуществлять транспортировку и заправку горючим технических средств малых мобильных групп, действующих в отрыве от основных сил в полевых условиях на местности с постоянным высоким снежным покровом. Техническая задача достигается при использовании амфибийного топливозаправщика на воздушной подушке, содержащего платформу, гибкое ограждение, ходовую рубку, силовую установку, раздаточную коробку, маршевый винт, вентиляторы, технологическое оборудование и цистерну, изготовленную из листовой стали, и имеющую горловину с крышкой горловины и механическим дыхательным клапаном. Техническая задача решена за счет того, что амфибийный топливозаправщик на воздушной подушке имеет платформу, гибкое ограждение, ходовую рубку, силовую установку, раздаточную коробку, маршевый винт, цистерну, которая содержит горловину с крышкой и механическим дыхательным клапаном, и технологическое оборудование, включающее в себя насос, фильтр, счетчик, раздаточный рукав, заправочный пистолет и трубопровод. При этом цистерна и технологическое оборудование жестко зафиксированы на платформе, содержащей ходовую рубку, гибкое ограждение и вентиляторы, которые нагнетают воздух в гибкое ограждение, а трубопроводом жестко последовательно соединены цистерна, насос, счетчик, фильтр и раздаточный рукав, выполненный с возможностью наматываться на барабан.
Амфибийный топливозаправщик на воздушной подушке содержащий платформу, гибкое ограждение, ходовую рубку, силовую установку, раздаточную коробку, маршевый винт, цистерну, которая имеет горловину с крышкой и механическим дыхательным клапаном, а также технологическое оборудование, включающее в себя насос, фильтр, счетчик, раздаточный рукав, заправочный пистолет, трубопровод, отличающийся тем, что цистерна и технологическое оборудование жестко зафиксированы в центральной части сверху платформы, на которой также установлены ходовая рубка, поручень, гибкое ограждение и вентиляторы, которые нагнетают воздух в гибкое ограждение, а трубопроводом жестко последовательно соединены цистерна, насос, счетчик, фильтр и раздаточный рукав, выполненный с возможностью наматываться на барабан.
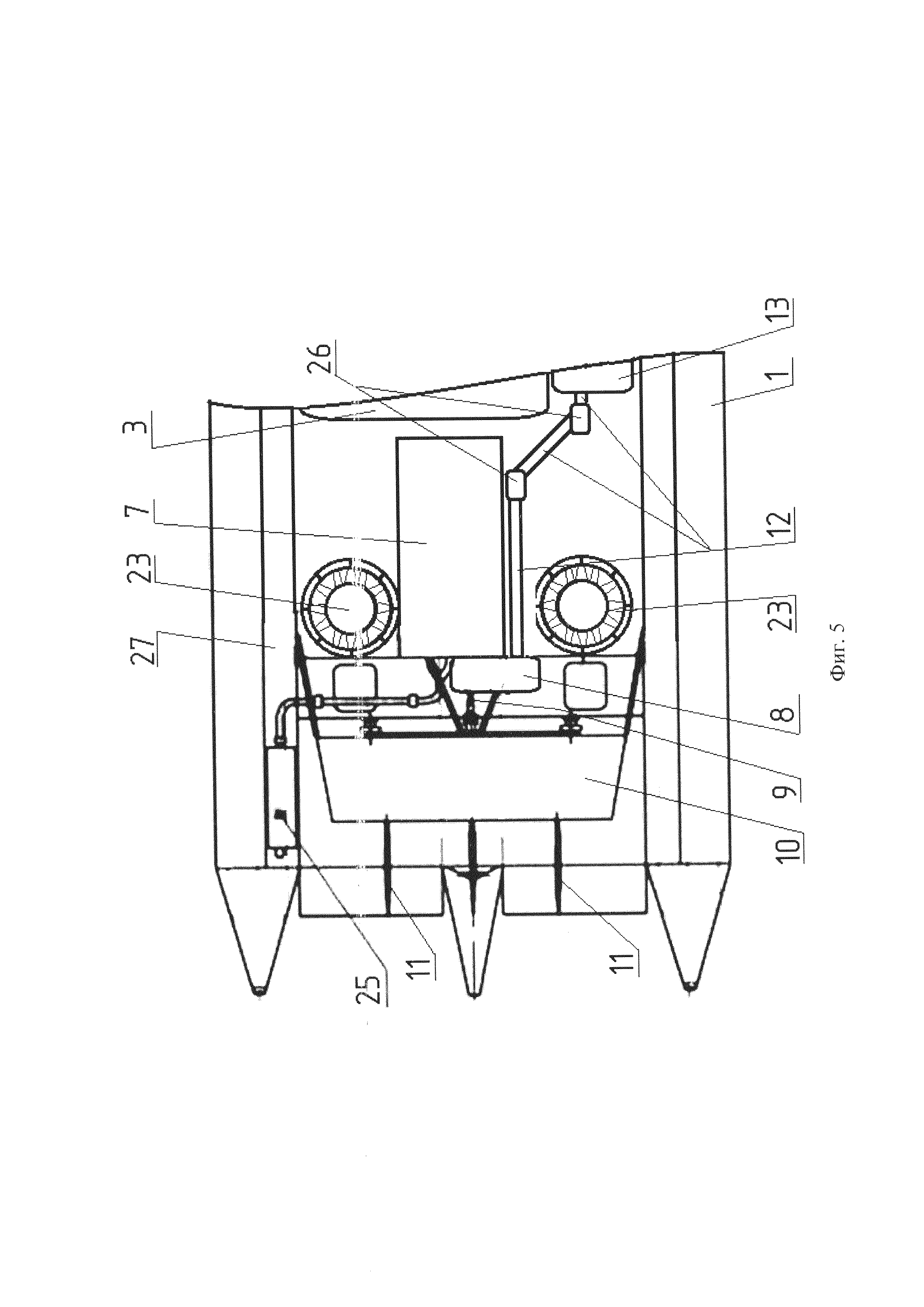
Полезная модель относится к техническим средствам службы горючего, а именно к техническим средствам подвоза и заправки горючим, которые оборудованы цистерной для транспортирования горючего и технологическим оборудованием для заправки им стационарных агрегатов и технических средств потребителей. Известен топливозаправщик (Патент РФ RU №133064 U1, «Топливозаправщик») [1], содержащий цистерну, установленную на раме транспортного средства и изготовленную из металла, состоящую их двух отсеков, закрытых откидными крышками, топливораздаточные колонки, при этом цистерна выполнена из двух слоев металла с проложенным между ними терморегулирующим материалом, а отсеки цистерны выполнены в виде отдельных емкостей эллипсовидной формы, между которыми также проложен терморегулирующий материал. Также известен топливозаправщик (Патент РФ RU №2268203 С1, «Топливозаправщик») [2], содержащий тягач с цистерной-полуприцепом, гидравлическую систему, образованную основным насосом в составе тягача, соединенным с масляным баком и посредством муфт и гидрораспределителя - с гидромотором топливной насосной установки. На коробке отбора мощности тягача установлен вспомогательный насос вспомогательной магистрали масла управления, соединенный своим входом с масляным баком, а выходом - с гидравлическим золотником пневмопривода гидрораспределителя и с регулятором потока, выход которого последовательно соединен с гидрораспределителями рукавных катушек, снабженных гидромоторами. Выходы гидромоторов рукавных катушек соединены с реверсивными выходами гидрораспределителей. Дренажи гидромоторов и выход масла управления соединены через самозапираюшуюся муфту с масляным баком. Вышеописанные конструкции имеют общие недостатки, выраженные в том, что они не предназначены для использования в районах с постоянным высоким снежным покровом ввиду того, что цистерна и технологическое оборудование установлены на автомобильном базовом шасси. Также на этих топливозаправщиках невозможно пересекать реки, расположенные на маршруте транспортирования топлива. Еще известны топливомаслозаправщик для особых условий (Патент РФ RU №204113 U1, «Топливомаслозаправщик для особых условий») [3], содержащий базовое шасси, цистерну для топлива, масляный бак, раздаточный рукав и топливораздаточный кран, при этом технологическое оборудование жестко зафиксировано к платформе, неподвижно зафиксированной к раме базового шасси модернизированного двухзвенного гусеничного транспортера ДТ-30ПМ-31 и топливомаслозаправщик (Патент РФ RU №207744 U1, «Топливомаслозаправщик») [4], содержащий базовое шасси, цистерну для топлива, масляный бак, раздаточный рукав, насос, при этом на базовом шасси двухзвенного модернизированного гусеничного транспортера ДТ-30ПМ-31 неподвижно зафиксирована платформа, на которой жестко закреплен корпус силового блока и корпус, технологического блока, изготовленный из металла толщиной 8 мм, к внутренней стенке жестко зафиксирован утеплитель Теплокор-Фасад, высоконакопительный микропористой структуры материал, отражающий, рассеивающий и сдерживающий тепловой поток, при этом, к полу кузова силового блока неподвижно зафиксирована дизельная электростанция, обеспечивающая работу нагревателя воздуха, жестко зафиксированного на внутренней стенке корпуса силового блока, две тепловентиляционные установки, закрепленные к внутренней стенке корпуса силового блока и корпуса технологического оборудования, связанные с датчиками температуры, неподвижно закрепленными к потолку внутри корпуса силового блока и корпуса технологического блока, связанные между собой через блок управления, неподвижно зафиксированный в кабине. Вышеописанные технические средства также имеют общие недостатки, выраженные в том, что использование вышеуказанных технических средств для подвоза и заправки горючим стационарных агрегатов и технических средств малых мобильных групп, выполняющих задачи в отрыве от основных сил, нецелесообразно и экономически не выгодно. Также эти технические средства тоже имеют сложные конструкции. Наиболее близкими прототипами являются топливозаправщик для особых условий (Патент РФ RU №213006 U1, «Топливозаправщик для особых условий») [5], содержащий ручной насос, фильтр, счетчик, раздаточный рукав и цистерну с горловиной, имеющей крышку горловины и механический дыхательный клапан, при этом цистерна установлена на базовом шасси, предназначенном для движения в районах с постоянным высоким снежным покровом и позволяющее подвозить горючее и заправлять им технические средства малых мобильных групп потребителей, выполняющих задачи в отрыве от основных сил. При этом технологическим трубопроводом жестко последовательно соединены цистерна, ручной насос, счетчик, фильтр и раздаточный рукав, намотанный на барабан. И передвижной топливозаправщик для особых климатических условий (Патент РФ RU №224958 U1, «Передвижной топливозаправщик для особых климатических условий») [6], содержащий кузов, силовую установку, трансмиссию и технологическое оборудование, включающее в себя насос, фильтр, счетчик и раздаточный рукав, а также цистерну с горловиной, на которой имеются крышка горловины и механический дыхательный клапан. При этом цистерна и технологическое оборудование установлены внутри кузова гусеничного плавающего снегоболотоходного базового шасси, при этом технологическим трубопроводом жестко последовательно соединены цистерна, насос, счетчик, фильтр и раздаточный рукав, намотанный на барабан. Существенным недостатком наиболее близких прототипов являются то, что их не везде можно использовать при передвижении по маршруту, имеющими реки, на которых происходит ледостав и ледоход в условиях зимнего бездорожья, в том числе в сложных метеорологических условиях для транспортирования и заправки технических средств потребителей, выполняющих задачи в полевых условиях на местности с постоянным снежным покровом. Так топливозаправщик на снегоходном базовом шасси при перемещении может попасть в полынью или трещину. При этом если вода попадет внутрь двигателя или внутрь электронных блоков некоторых узлов, выполнение поставленной задачи по подвозу и заправки горючим ставится под угрозу, а предстоящий ремонт может оказаться достаточно дорогостоящим. А передвижной топливозаправщик для особых климатических условий, который имеет гусеничное плавающее снегоболотоходное базовое шасси (как вариант, УЗОЛА ЗВМ-2411, относящихся к классу базовых шасси особо высокой проходимости) невозможно использовать во время ледохода, так как он может получить серьезные повреждения, после чего уйти под воду. Техническая задача полезной модели заключается в обеспечении возможности передвигаться в условиях зимнего бездорожья по маршруту, имеющему, в том числе реки, на которых происходит ледостав или ледоход и отсутствуют мосты (переправы), к тому же в сложных метеорологических условиях и осуществлять транспортировку и заправку горючим технических средств малых мобильных групп, действующих в отрыве от основных сил в полевых условиях на местности с постоянным высоким снежным покровом. Техническая задача достигается при использовании амфибийного топливозаправщика на воздушной подушке, содержащего платформу, гибкое ограждение, ходовую рубку, силовую установку, раздаточную коробку, маршевый винт, вентиляторы, технологическое оборудование и цистерну, изготовленную из листовой стали, и имеющую горловину с крышкой горловины и механическим дыхательным клапаном. Техническая задача решена за счет того, что амфибийный топливозаправщик на воздушной подушке имеет платформу, гибкое ограждение, ходовую рубку, силовую установку, раздаточную коробку, маршевый винт, цистерну, которая содержит горловину с крышкой и механическим дыхательным клапаном, и технологическое оборудование, включающее в себя насос, фильтр, счетчик, раздаточный рукав, заправочный пистолет и трубопровод. При этом цистерна и технологическое оборудование жестко зафиксированы на платформе, содержащей ходовую рубку, гибкое ограждение и вентиляторы, которые нагнетают воздух в гибкое ограждение, а трубопроводом жестко последовательно соединены цистерна, насос, счетчик, фильтр и раздаточный рукав, выполненный с возможностью наматываться на барабан. Амфибийный топливозаправщик на воздушной подушке поясняется фиг. 1, фиг. 2, фиг. 3, фиг. 4 и фиг. 5. На фиг. 1 представлен амфибийный топливозаправщик на воздушной подушке вид сбоку, где обозначено: поз. 1 - гибкое ограждение; поз. 2 - ходовая рубка; поз. 3 - цистерна; поз. 4 - горловина; поз. 5 - крышка горловины; поз. 6 - механический дыхательный клапан; поз. 7 - силовая установка; поз. 8 - раздаточная коробка; поз. 9 - вал; поз. 10 - кожух; поз. 11 - руль; поз. 12 - карданный вал привода насоса; поз. 13 - насос; поз. 14 - фильтр; поз. 15 - счетчик; поз. 16 - барабан; поз.17 - раздаточный рукав; поз. 18 - заправочный пистолет; поз. 19 - лестница; поз. 20 - поручень поз. 21 - фара; поз. 24 - технологический трубопровод; поз. 26 - крестовина; поз. 27 - платформа. На фиг. 2 представлен амфибийный топливозаправщик на воздушной подушке вид спереди, где обозначено: поз. 1 - гибкое ограждение; поз. 2 - ходовая рубка; поз. 4 - горловина; поз. 5 - крышка горловины; поз. 6 - механический дыхательный клапан; поз. 10 - кожух; поз. 19 - лестница; поз. 20 - поручень; поз. 21 - фара; поз. 22 - маршевый винт; поз. 27 - платформа. На фиг. 3 представлен амфибийный топливозаправщик на воздушной подушке вид сзади, где обозначено: поз. 1 - гибкое ограждение; поз. 4 - горловина; поз. 5 - крышка горловины; поз. 6 - механический дыхательный клапан; поз. 10 - кожух; поз. 11 - руль; поз. 19 - лестница; поз. 22 - маршевый винт; поз. 27 - платформа. На фиг. 4 представлен амфибийный топливозаправщик на воздушной подушке вид сверху, где обозначено: поз. 1 - гибкое ограждение; поз. 2 - ходовая рубка; поз. 3 - цистерна; поз. 4 - горловина; поз. 5 - крышка горловины; поз. 6 - механический дыхательный клапан; поз. 7 - силовая установка; поз. 8 - раздаточная коробка; поз. 9 - вал; поз. 10 - кожух; поз. 11 - руль; поз. 12 - карданный вал привода насоса; поз. 13 - насос; поз. 14 - фильтр; поз. 15 - счетчик; поз. 16 - барабан; поз. 17 - раздаточный рукав; поз.18 - заправочный пистолет; поз. 19 - лестница; поз. 20 - поручень; поз. 21 - фара; поз. 23 - вентилятор; поз. 24 - технологический трубопровод; поз. 25 - глушитель; поз. 26 - крестовина; поз. 27 - платформа. На фиг. 5 представлено размещение силовой установки амфибийного топливозаправщика на воздушной подушке вид сверху, где обозначено: поз. 1 - гибкое ограждение; поз. 3 - цистерна; поз. 7 - силовая установка; поз. 8 - раздаточная коробка; поз. 9 - вал; поз. 10 - кожух; поз. 11 - руль; поз. 12 - карданный вал привода насоса; поз. 13 - насос; поз. 23 - вентилятор; поз. 25 - глушитель; поз. 26 - крестовина; поз. 27 - платформа. Амфибийный топливозаправщик на воздушной подушке содержит платформу (27) на которой сверху зафиксированы ходовая рубка (2), поручень (20), силовая установка (7), раздаточная коробка (8), вентиляторы (23), кожух (10), лестница (19), технологическое оборудование и цистерна (3). На ходовой рубке (2) зафиксированы фары (21). Цистерна (3) имеет в верхней своей части горловину (4), а на горловине (4) в свою очередь установлены крышка горловины (5) и механический дыхательный клапан (6). В задней части платформы (27) амфибийного топливозаправщика на воздушной подушке за силовой установкой (7) размещен кожух (10) внутри которого вращается маршевый винт (22), а сзади зафиксированы рули (11). Технологическое оборудование установлено в сверху в центральной части платформы (27) и включает в себя трубопровод (24) насос (13), фильтр (14), счетчик (15) и барабан (16) на который наматывается раздаточный рукав (17), а на конце раздаточного рукава (17) установлен заправочный пистолет (18). При этом трубопроводом (24) последовательно жестко соединены цистерна (3), насос (13), фильтр (14), счетчик (15) и раздаточный рукав (17), который выполнен с возможностью наматываться на барабан (16). Воздушная подушка - это слой сжатого воздуха под платформой (27) данного топливозаправщика, приподнимающий его над поверхностью воды или земли. Отсутствие трения о поверхность позволяет снизить сопротивление движению. От высоты подъема зависит способность вышеописанного топливозаправщика форсировать различные препятствия на суше, волны на воде, проходя над ними и реки на которых происходит ледостав и ледоход и отсутствуют мосты (переправы) («Судно на воздушной подушке» [Электронный ресурс]: https://ru.wikipedia.org/wiki/Судно на воздушной подушке) [7]. Воздушная подушка данного топливозаправщика образуется камерным способом, при котором воздух, нагнетаемый вентиляторами (23) под куполообразное днище, которое накрыто гибким ограждением (1), свободно вытекает по его периметру, и чем больше подача воздуха, тем выше поднимается данный топливозаправщик. Амфибийный топливозаправщик на воздушной подушке может скользить по воде, снегу, льду, сильно заболоченной местности, используя тяговые способности вращающегося на большой скорости лопастей маршевого винта (22). Рули (11), установленные на корме, поворачиваясь позволяют толкать вышеописанный топливозаправщик в нужную сторону. Амфибийный топливозаправщик на воздушной подушке работает следующим образом: перед наполнением горючим цистерны (3) водитель-заправщик открывает крышку горловины (5). Топливные пары при наполнении и транспортировании горючего отводятся через механический дыхательный клапан (6). После чего амфибийный топливозаправщик на воздушной подушке транспортирует топливо стационарным агрегатам и техническим средствам малых мобильных групп потребителей, выполняющих задачи в отрыве от основных сил в полевых условиях на местности, имеющей постоянный высокий снежный покров, в том числе по маршруту имеющем реки, на которых происходит ледостав или ледоход и отсутствуют мосты (переправы), даже в сложных метеорологических условиях. Для выдачи горючего техническим средствам потребителей водитель-заправщик разматывает раздаточный рукав (17), намотанный на барабан (16). После чего спускается с платформы (27) по лестнице (19), для удобства пользуясь поручнем (20) и вставляет заправочный пистолет (19) в горловину топливного бака заправляемой техники. Далее с помощью раздаточной коробки (8), при заведенной силовой установке (7), переключив крутящий момент от вала (9) маршевого винта (22) на карданный вал (12) привода насоса, включает насос (13) и выдает необходимое количество горючего через фильтр (14) и счетчик (15). При этом крутящий момент передается от силовой установки (7) при переключении раздаточной коробки (8) через карданные валы (12) привода насоса, а между карданными валами (12) привода насоса расположены крестовины (26), которые помогают сопрягать данные вращающиеся валы (12) под углом друг к другу. При помощи крестовин (26) обеспечивается эффективная работа карданных валов (12) привода насоса (13), расположенных под углом. Цистерна (3) представляет собой сварную конструкцию (как вариант, из листовой стали 09Г2С). Фильтр (14) очищает выдаваемое горючее от механических примесей и воды. Цистерна (3), насос (13), фильтр (14), счетчик (15) и раздаточный рукав (17) жестко последовательно соединены трубопроводом (24). Фара (21), зафиксированная на ходовой рубке (2), предназначена для дополнительного освещения местности перед амфибийным топливозаправщиком на воздушной подушке при перемещении в темное время суток. Сборка амфибийного топливозаправщика на воздушной подушке предусматривает предварительную установку и жесткую фиксацию цистерны (3) и технологического оборудования сверху центральной части платформы (27). К цистерне (3) с помощью трубопровода (24) последовательно подсоединяются насос (13), фильтр (14), счетчик (15) и раздаточный рукав (17). Затем на платформу (27), устанавливается и жестко фиксируется ходовая рубка (2), поручень (20), силовая установка (7), раздаточная коробка (8), вентиляторы (23) и маршевый винт (22), который закрывается кожухом (10), имеющим рули (11). Таким образом, представленный амфибийный топливозаправщик на воздушной подушке имеет сравнительно простую и надежную конструкцию, обладает новизной и новыми техническими характеристиками и существенно отличается от прототипов обеспечивая возможность передвигаться в условиях зимнего бездорожья по маршруту, имеющему в том числе реки на которых происходит ледостав или ледоход и отсутствуют мосты (переправы), к тому же в сложных метеорологических условиях и осуществлять транспортировку и заправку горючим технических средств малых мобильных групп, действующих в отрыве от основных сил в полевых условиях на местности с постоянным высоким снежным покровом. Данный амфибийный топливозаправщик на воздушной подушке может применяться в тыловых подразделениях Министерства обороны или других силовых структур в полевых условиях на местности с постоянным высоким снежным покровом, при транспортировке по мари, руту, имеющему в том числе реки на которых может происходить ледостав или ледоход и отсутствуют мосты (переправы), а также для заправки горючим технических средств малых мобильных групп, действующих в отрыве от основных сил, в том числе в сложных метеорологических условиях. Список использованной литературы: 1. Патент РФ RU №12 3064 U1 «Топливозаправщик»; 2. Патент РФ RU №2268203 С1 «Топливозаправщик»; 3. Патент РФ RU №204113 U1 «Топливомаслозаправщик для особых условий»; 4. Патент РФ RU №207744 U1 «Топливомаслозаправщик»; 5. Патент РФ RU №213006 U1 «Топливозаправщик для особых условий»; 6. Патент РФ RU №224958 U1 «Передвижной топливозаправщик для особых климатических условий»; 7. «Судно на воздушной подушке» [Электронный ресурс]: https://ru.wikipedia.org/wiki/Судно на воздушной подушке.