Полезная модель относится к области транспортного машиностроения, а именно к конструкции заднего фонаря коммерческого грузового транспорта, и может быть использована в грузовых автомобилях, прицепах и полуприцепах. Целями полезной модели являются расширение функциональных возможностей и улучшение эксплуатационных характеристик заднего фонаря, заключающиеся в эффективном распределении световых потоков, которые в зависимости от приоритетности имеют разную плотность свечения, повышение эффективности формирования светового потока стоп-сигнала, а также обеспечение хорошей видимости заднего фонаря. Поставленные цели достигаются тем, что задний фонарь коммерческого грузового транспорта имеет разную плотность свечения секции светодиодных огней, обеспечивающих хорошую видимость заднего фонаря в любых световых и климатических условиях. Кроме всего, в конструкции заднего фонаря коммерческого грузового транспорта применена оригинальная восьмигранная конструкция отражателя светодиодов стоп-сигнала. Предложенная конструкция заднего фонаря универсальна и применима для широкого сегмента грузовых автомобилей, прицепов и автопоездов. Кроме всего, дизайн расположения световых секций и оригинальная форма секции габаритного огня придает предложенной конструкции заднего фонаря индивидуальность и различимость транспортного средства в транспортном потоке, а также отражает логотип фирмы производителя.
1. Задний фонарь коммерческого грузового транспорта, содержащий прямоугольный вытянутый по горизонтали корпус в виде основания корпуса и закрывающего его спереди рассеивателя, разъем для подключения к электропроводке транспортного средства, элементы крепления корпуса к транспортному средству, а также плату управления со светодиодами, расположенную внутри корпуса, рассеиватель содержит секции сигнальных огней и светоотражатель, а вокруг части светодиодов организованы светоотражатели, при этом часть светодиодов одной из секции сигнального огня имеет белый цвет свечения и отвечает за световой сигнал заднего хода, а другая часть светодиодов имеет красный цвет свечения и отвечает за световой сигнал противотуманного фонаря одной и той же прозрачной секции заднего фонаря, отличающийся тем, что на рассеивателе черного цвета образована секция красного цвета в виде равнобедренной трапеции, расположенной в середине и на всю высоту рассеивателя, причем меньшее основание составляет треть длины рассеивателя и расположено снизу, а большее основание составляет половину длины рассеивателя и расположено сверху рассеивателя, внутрь данной секции вписан и расположен снаружи этой секции светоотражатель, выполненный в виде равностороннего треугольника со скругленными углами, сторона которого совпадает с меньшим основанием трапеции секции красного цвета, внутрь трапецеидальной секции красного цвета вписана секция габаритного огня, реализованная с использованием рифленой внутренней поверхности рассеивателя и использованием светодиодов, размещенных на плате управления, с обоих сторон от трапецеидальной секции красного цвета на 2/3 оставшейся полезной длины верхней части рассеивателя параллельно рядом расположенным боковым сторонам трапеции расположены секции стоп-сигнала в форме параллелограммов, при этом данные секции реализованы многочисленными равномерно расположенными отверстиями со светоотражателями восьмигранной формы, в центре которых размещены светодиоды красного цвета свечения, пластиковые линзы которых не выступают за внешнюю поверхность рассеивателя, далее для заднего фонаря на оставшейся 1/3 полезной длины верхней части рассеивателя с одного края параллельно рядом расположенной боковой стороне одной секции стоп-сигнала расположена секция желтого цвета указателя поворота, выполненного в форме параллелограмма, под которой на плате управления размещены светодиоды, а на оставшейся 1/3 полезной длины верхней части рассеивателя с противоположного края параллельно рядом расположенной боковой стороне второй секции стоп-сигнала расположена прозрачная секция фонаря заднего хода/противотуманного фонаря, выполненного в форме параллелограмма, рассеиватели секции сигнала поворота и секции заднего хода/противотуманного фонаря выполнены матовыми. 2. Задний фонарь коммерческого грузового транспорта по п. 1, отличающийся тем, что содержит дополнительный выносной фонарь с тремя источниками света и тремя световыми секциями с индивидуальными рассеивателями, крепежное основание дополнительного выносного фонаря механически соединено с боковым торцом корпуса заднего фонаря, от средней части крепежного основания выносного фонаря расположен кронштейн, который выносит корпус с секциями указателей дополнительного выносного фонаря за боковые габариты в задней части транспортного средства, на который будет закреплен задний фонарь коммерческого грузового транспорта, при этом световая секция, направленная по направлению переднего хода транспортного средства, имеет рассеиватель белого цвета, световая секция, направленная по направлению заднего хода транспортного средства, имеет рассеиватель красного цвета, в торце корпуса с секциями указателей дополнительного выносного фонаря размещена секция с рассеивателем желтого цвета, направленным наружу транспортного средства, со световым потоком, направленным в плоскости крепления заднего фонаря, при этом корпус дополнительного выносного фонаря выполнен из жесткой резины.
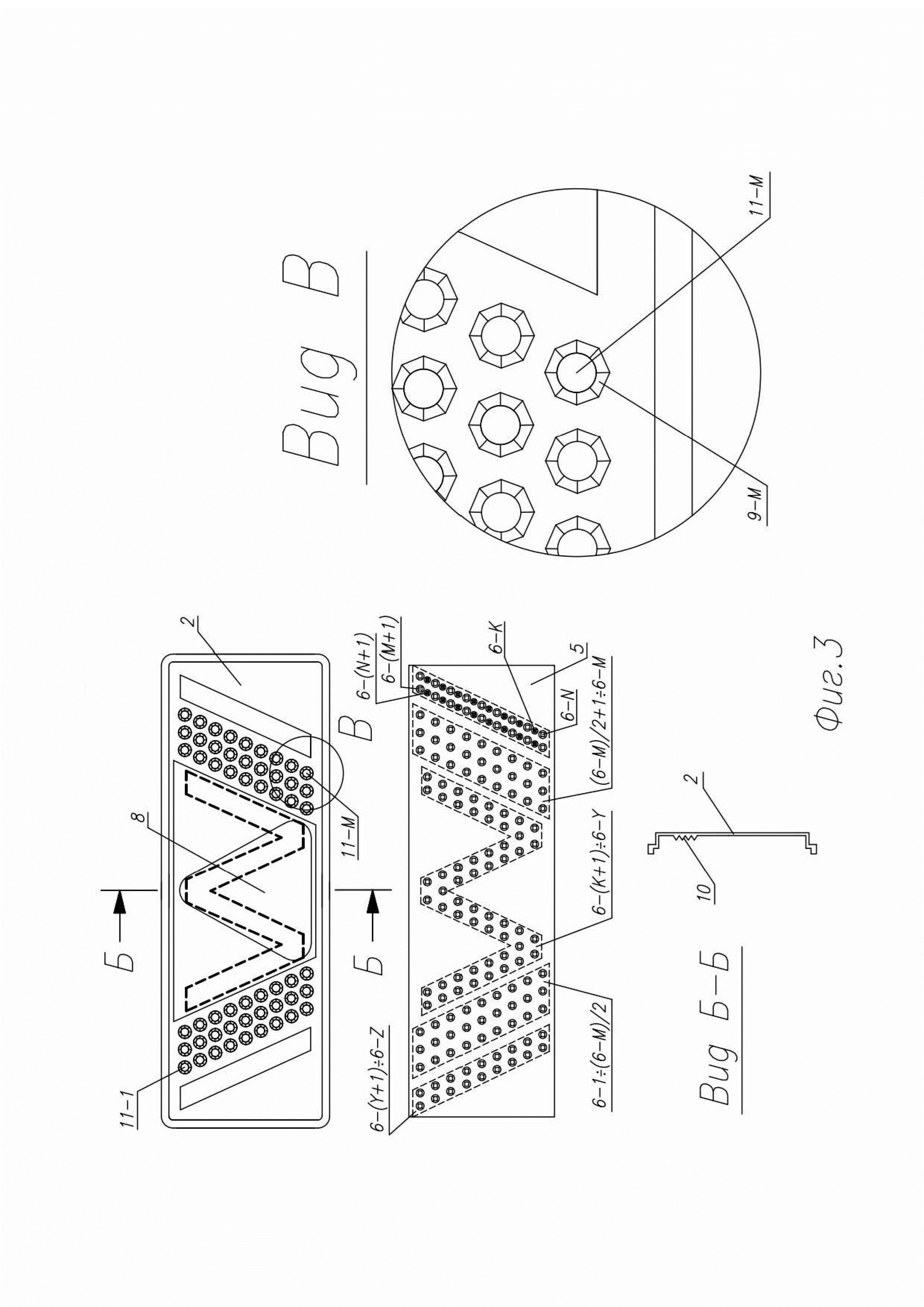
Полезная модель относится к области транспортного машиностроения, а именно к конструкции заднего фонаря коммерческого грузового транспорта, и может быть использована в грузовых автомобилях, прицепах и полуприцепах. Техническое решение предназначено для выработки в заднем фонаре коммерческого грузового транспорта сигналов торможения, поворота, противотуманного сигнала, сигнала заднего хода, светоотражателя, а также габаритного огня в виде логотипа ООО «Вагнермайер Русланд», улучшающее видимость, яркость, восприимчивость и безопасность при движении транспортного средства, а также придающее индивидуальность задним фонарям коммерческого грузового транспорта. В целях обеспечения безопасности дорожного движения, а также безопасной перевозки грузов согласно правилам дорожного движения Российской Федерации, все транспортные средства должны иметь внешние световые приборы от надежной и эффективной работы которых зависит не только видимости транспортного средства, но и сохранность перевозимых грузов, а также что наиболее важно - безопасность всех участников дорожного движения. Существует большое количество конструкции задних фонарей грузовых транспортных средств, отличающихся как формой и размером световых секции, функциональными возможностями, так и эксплуатационными характеристиками, а также стоимостью, материалоемкостью и технологичностью при их изготовлении. Известно устройство светящегося логотипа (патент CN112356910A, МПК B62D 1/04, 12.02.2021, B60R 13/10, B60Q 1/26, B62D 65/14, заявка 202011297290.2 от 17.11.2020, авторы Тан Фэй, Сунь Шаша, Лю Чанцюань, Дай Лихун, заявитель Chery Commercial Vehicle Anhui Co Ltd) которое содержит светозащитную пластину, светоизлучающую печатную плату и светодиодную лампу. Суть известного технического решения заключается в организации декоративной подсветки транспортного средства в виде логотипа фирмы производителя транспортного средства. Недостатком известного технического решения является лишь эстетический характер подсветки, который не несет функции рабочего освещения транспортного средства хотя и повышает безопасность при эксплуатации транспортного средства при плохой видимости, а также в темное время суток. Известно устройство универсальных модульных задних сигнальных фонарей грузового автомобиля WESEM LA3 (каталог фирмы WESEM, стр. 1290, версия 0961, каталог размещен на официальном сайте производителя https://www.wesem.com) состоящий из круглого пластикового светоизлучающего оптического элемента и содержащее светоотражающее декоративное кольцо обрамляющее круглый светоизлучающий оптический элемент. Цвета рассеивателя пластикового светоизлучающего оптического элемента могут быть различными в зависимости от требуемого цвета светового сигнала. Достоинством известного технического решения является универсальность, гибкость и возможность размещения светоизлучающих оптических элементов как удобно в любом удобном месте задней части транспортного средства. Кроме всего данные фонари могут встраиваться в кузов транспортного средства, а могут быть размещены как отдельно стоящие, например, на бампере. К достоинствам известного технического решения так же следует отнести модульность, простота замены лампы и необходимость замены только одного элемента в случае его повреждения, а не всего фонаря целиком. К недостаткам известного технического решения следует отнести необходимость приобретения и установки нескольких модульных задних сигнальных фонарей, которые организуют систему заднего фонаря. Кроме всего такая организация заднего фонаря транспортного средства имеет сложную систему крепления и более сложный электрический монтаж каждого из светоизлучающих оптических элементов. Еще одним недостатком такого конструктивного решения является помимо размещения световых модулей необходимость размещения дополнительных светоотражателей в задней части транспортного средства. Известно устройство заднего фонаря транспортного средства (патент US20060267752A1, 30.11.2006, МПК B60Q 1/44, заявка 1/140,354 от 28.05.2005, автор Paul Crunk, заявитель Paul Crunk) который выполнен в виде круглого основания внутри которого размещены в виде заполненного шестигранника светодиоды. При этом в зависимости от требуемого сигнала ходового огня, указателя поворота и стоп-сигнала будут загораться те или иные светодиоды. Так в качестве сигнала поворота из шестиугольника всех светодиодов будут загораться только светодиоды, которые образуют стрелку, направленную в соответствующую сторону, при необходимости включения стоп сигнала будут включаться все светодиоды, организующие шестиугольник, при необходимости включения ходового огня будут включены только центральные светодиоды из шестиугольника светодиодов. При этом светодиоды могут быть использованы многоцветные или одноцветные в зависимости от требуемых характеристик сигнального фонаря транспортного средства. Достоинством известного технического решения является компактный размер заднего фонаря и то что в одном корпусе и на одной поверхности могут отображаться разные символы и цвета в зависимости от исполнения светодиодной матрицы и используемых светодиодов. Отображаемые символы при необходимости могут оперативно меняться средствами системы управления заднего фонаря. К достоинствам так же следует отнести динамическое формирование информационных сигналов в заднем фонаре. Недостатком известного технического решения является необходимость дополнительной и системы управления фонарем заднего хода для возможности оперативного изменения отображаемых символов. К недостаткам следует отнести более высокую стоимость, низкую технологичность и сложную систему управления заднего фонаря. Известно устройство светового модуля комбинированного фонаря колесного транспортного средства (патент RU165582U1, 27.10.2016, МПК B60Q 1/26, заявка RU2016104610/11U от 11.02.2016, автор Юзеф ВАСЬ, Лешек ВАСЬ, заявитель Пшетвурство Твожыв Штучных ВАСЬ Юзеф и Лешек Вась С.Й. (PL)) содержащий корпус фонаря, печатную плату со светодиодами и рассеиватель из искусственного материала, рассеивающего свет на всей своей поверхности. При этом за рассеивателем из искусственного материала, рассеивающего свет на всей своей поверхности, закреплена лампа накаливания, окруженная отражателем, закрывающим сзади рассеиватель из искусственного материала, рассеивающего свет на всей своей поверхности. Печатная плата со светодиодами расположена за прозрачным рассеивателем, который встроен в переднюю поверхность рассеивателя из искусственного материала, рассеивающего свет на всей своей поверхности. Известная полезная модель позволяет решить задачу замены комбинированного фонаря с лампами накаливания с LED светодиодами. При этом оставшаяся лампа накаливания используется для создания светового фона для реализации габаритного огня заднего фонаря. Достоинством известного технического решения является высокая экономичность при эксплуатации такого фонаря. К достоинствам известного технического решения также следует отнести большой срок службы LED светодиодов. Недостатком известного технического решения является низкая ремонтопригодность такого технического решения и более высокая стоимость. При этом для реализации большого числа световых сигналов требуется такое же количество светодиодных модулей. К недостаткам известного технического решения так же следует отнести низкую технологичность при изготовлении заднего фонаря. Наиболее близким по технической сущности выбранным в качестве прототипа является фонарь задний комбинированный (патент RU 163858, МПК B60Q 1/26, 2015146891/11 от 02.11.2015, авторы ВАСЬ Юзеф, ВАСЬ Лешек, заявитель Пшетвурство Твожыв Штучных ВАСЬ Юзеф и Лешек Вась С.Й.) содержащий корпус в виде основания корпуса и закрывающего его спереди внешнего рассеивателя, а также светодиоды, размещенные на закрепленной в корпусе печатной плате. Конструкция содержит внутренний и внешний рассеиватель. Причем первая часть светодиодов прикрыты размещенным на корпусе перед печатной платой внутренним рассеивателем, выполненным из рассеивающего свет материала и имеющим отверстия. Вторая часть светодиодов размещена напротив отверстий внутреннего рассеивателя и проходят через него. Вторая часть светодиодов имеет оболочку из отражателей, выполненных в виде металлизированных чашеобразных гнезд, доходящих до передней поверхности внутреннего рассеивателя. Достоинством известной конструкции комбинированного фонаря является обеспечение возможности использования одного и того же участка фонаря для формирования разных световых сигналов с целью увеличения площади отдельных световых сигналов при сохранении общей площади поверхности фонаря. Данное преимущество достигается формированием разной яркости светового сигнала средствами включения соответствующей части светодиодов и использования комбинации конструкции рассеивателей. К достоинствам известного технического решения также следует отнести использование в качестве источника света экономичных, надежных и имеющих большой срок службы светодиодов. При этом для светового фона сигналов заднего фонаря в отличие от рассмотренного аналога используются так же светодиоды. К достоинствам известного технического решения также следует отнести увеличение площади светового потока, излучаемого задним комбинированным фонарем. Недостатком известного технического решения является сложная конструкция комбинированного фонаря, содержащего раздельные печатные платы секторов подсветки и такого же количества внутренних рассеивателей. Внешний рассеиватель имеет сложную формованную наружную поверхность, разделяющую сектора сигнальных огней. При этом внутренние рассеиватели также имеют сложную конструкцию, индивидуальную для каждого из секторов. Внутренние рассеиватели содержат отражатели, выполненные в виде металлизированных чашеобразных гнезд. К недостаткам известного технического решения также следует отнести низкую технологичность, высокую себестоимость и большую материалоемкость при изготовлении комбинированного фонаря. Задачей предлагаемого технического решения является создание конструкции заднего фонаря коммерческого грузового транспорта, характеризующуюся улучшенными потребительскими и эксплуатационными свойствами. Предложенный вариант заднего фонаря коммерческого грузового транспорта позволяет улучшить видимость, полезную площадь, яркость и восприимчивость задних световых сигналов транспортного средства, а, следовательно, обеспечить большую безопасность для всех участников дорожного движения. Кроме улучшения указанных потребительских и эксплуатационных характеристик оригинальный дизайн заднего фонаря коммерческого грузового транспорта, отражающий логотип фирмы производителя ООО «Вагнермайер Русланд», позволит улучшить эстетический вид заднего фонаря и придать ему индивидуальность и отличие от остальных в потоке транспортных средств. Описанные преимущества достигаются тем, что в предложенной конструкции заднего фонаря коммерческого грузового транспорта используется световые секции на рассеивателе имеющие разную плотность свечения светодиодных огней обеспечивающих хорошую видимость заднего фонаря и транспортного средства, на котором они установлены в любых световых и климатических условиях. Кроме всего оригинальная восьмигранная конструкция отражателя светодиодов стоп сигнала позволяет сформировать световой поток стоп сигнала в яркий и отчетливо наблюдаемый световой пучок что обеспечивает высокую эффективность позволяя применять обычные светодиоды меньшей мощности при высокой яркости стоп сигнала. Для достижения указанного технического результата используется следующая совокупность существенных признаков: задний фонарь коммерческого грузового транспорта содержащий прямоугольный вытянутый по горизонтали корпус в виде основания корпуса и закрывающего его спереди рассеивателя, разъем для подключения к электропроводке транспортного средства, элементы крепления корпуса к транспортному средству, а также плату управления со светодиодами расположенную внутри корпуса, рассеиватель содержит секции сигнальных огней и светоотражатель, а вокруг части светодиодов организованы светоотражатели, при этом часть светодиодов одной из секции сигнального огня имеют белый цвет свечения и отвечает за световой сигнал заднего хода, а другая часть светодиодов имеет красный цвет свечения и отвечает за световой сигнал противотуманного фонаря одной и той же прозрачной секции заднего фонаря, в отличие от прототипа, на рассеивателе черного цвета образована секция красного цвета в виде равнобедренной трапеции, расположенной в середине и на всю высоту рассеивателя, причем меньшее основание составляет треть длины рассеивателя и расположено снизу, а большее основание составляет половину длины рассеивателя и расположено сверху рассеивателя, внутрь данной секции вписан и расположен снаружи этой секции светоотражатель, выполненный в виде равностороннего треугольника со скругленными углами, сторона которого совпадает с меньшим основанием трапеции секции красного цвета, внутрь трапецеидальной секции красного цвета вписана секция габаритного огня, реализованная с использованием рифленой внутренней поверхности рассеивателя и использованием светодиодов размещенных на плате управления, с обоих сторон от трапецеидальной секции красного цвета на 2/3 оставшейся полезной длины верхней части рассеивателя параллельно рядом расположенным боковым сторонам трапеции расположены секции стоп сигнала в форме параллелограммов, при этом данные секции реализованы многочисленными равномерно расположенными отверстиями со светоотражателями восьмигранной формы, в центре которых размещены светодиоды красного цвета свечения, пластиковые линзы которых не выступают за внешнюю поверхность рассеивателя, далее для заднего фонаря на оставшейся 1/3 полезной длины верхней части рассеивателя с одного края параллельно рядом расположенной боковой стороне одной секции стоп сигнала расположена секция желтого цвета указателя поворота, выполненного в форме параллелограмма, под которой на плате управления размещены светодиоды, а на оставшейся 1/3 полезной длины верхней части рассеивателя с противоположного края параллельно рядом расположенной боковой стороне второй секции стоп сигнала расположена прозрачная секция фонаря заднего хода/противотуманного фонаря, выполненного в форме параллелограмма, рассеиватели секции сигнала поворота и секции заднего хода/противотуманного фонаря выполнены матовыми. Кроме того, задний фонарь коммерческого грузового транспорта может быть выполнен так, что содержит дополнительный выносной фонарь с тремя источниками света и тремя световыми секциями с индивидуальными рассеивателями, крепежное основание дополнительного выносного фонаря механически соединено с боковым торцом корпуса заднего фонаря, от средней части крепежного основания выносного фонаря расположен кронштейн, который выносит корпус с секциями указателей дополнительного выносного фонаря за боковые габариты в задней части транспортного средства на который будет закреплен задний фонарь коммерческого грузового транспорта, при этом световая секция, направленная по направлению переднего хода транспортного средства, имеет рассеиватель белого цвета, световая секция, направленная по направлению заднего хода транспортного средства, имеет рассеиватель красного цвета, в торце корпуса с секциями указателей дополнительного выносного фонаря размещена секция с рассеивателем желтого цвета направленным наружу транспортного средства со световым потоком направленным в плоскости крепления заднего фонаря, при этом корпус дополнительного выносного фонаря выполнен из жесткой резины. Сопоставление предлагаемого технического решения и прототипа показало, что поставленные задачи увеличение безопасности, улучшение потребительских и эксплуатационных свойств заднего фонаря коммерческого грузового транспорта выражающиеся в улучшении видимости и яркости, увеличении площади и восприимчивость задних световых сигналов грузового транспортного средства, а также придание ему индивидуальности и отличии от задних фонарей других конструкций и других производителей - решается в результате новой совокупности признаков, что доказывает соответствие предлагаемых технических решении критерию патентоспособности «новизна», в связи с чем может быть защищено патентом на полезную модель. Сущность технических решении поясняется чертежами, изображенными на Фиг.1 - Фиг.7 где: на Фиг.1 – представлен общий вид левого заднего фонаря коммерческого грузового транспорта; на Фиг.2 – представлены виды левого заднего фонаря коммерческого грузового транспорта в системе прямоугольных проекции; на Фиг.3 – представлен рассеиватель левого заднего фонаря и его поперечный разрез, печатная плата со светодиодами, организация сектора стоп сигнала; на Фиг.4 – представлен общий вид левого заднего фонаря коммерческого грузового транспорта и поясняющие рисунки организации сектора стоп сигнала имеющих восьмигранную форму светоотражателей; на Фиг.5 – представлен общий вид левого заднего фонаря коммерческого грузового транспорта содержащем дополнительный выносной фонарь; на Фиг.6 – представлены виды левого заднего фонаря коммерческого грузового транспорта содержащем дополнительный выносной фонарь в системе прямоугольных проекции; на Фиг.7 – представлен вид на задние фонари коммерческого грузового транспорта с включенным габаритным светом. Система крепления грузов магистрального полуприцепа, конструкция которой представлена на Фиг.1÷Фиг.7. Задний фонарь коммерческого грузового транспорта, конструкция которого представлена на Фиг.1÷Фиг.4 содержит прямоугольный вытянутый по горизонтали корпус 1 в виде основания корпуса и закрывающего его спереди рассеивателя 2, разъем 3 для подключения к электропроводке транспортного средства, элементы крепления корпуса 4-1÷4-H к транспортному средству, а также плату управления 5 со светодиодами 6-1÷6-Z расположенную внутри корпуса 1. Рассеиватель 2 содержит секции сигнальных огней 7-1÷7-6 и светоотражатель 8. Вокруг части светодиодов 6-1÷6-M организованы светоотражатели 9-1÷9-M. Часть светодиодов 6- (M+1) ÷6-N одной из секции 7-6 сигнального огня имеют белый цвет свечения и отвечает за световой сигнал заднего хода, а другая часть светодиодов 6- (N+1) ÷6-K имеет красный цвет свечения и отвечает за световой сигнал противотуманного фонаря одной и той же прозрачной секции 7-6 заднего фонаря. На рассеивателе 2 черного цвета образована секция 7-3 красного цвета в виде равнобедренной трапеции, расположенной в середине и на всю высоту рассеивателя 2. Меньшее основание секции 7-3 составляет треть длины рассеивателя 2 и расположено снизу, а большее основание составляет половину длины рассеивателя 2 и расположено сверху рассеивателя 2. Внутрь секции 7-3 вписан и расположен снаружи этой секции светоотражатель 8 выполненный в виде равностороннего треугольника со скругленными углами, сторона которого совпадает с меньшим основанием трапеции секции 7-3 красного цвета. Внутрь трапецеидальной секции 7-3 красного цвета вписана секция 7-4 габаритного огня, реализованная с использованием рифленой внутренней поверхности 10 рассеивателя 2 и использованием светодиодов 6-(К+1)÷6-Y размещенных на плате управления 5. C обеих сторон от трапецеидальной секции 7-3 красного цвета на 2/3 оставшейся полезной длины верхней части рассеивателя 2 параллельно рядом расположенным боковым сторонам трапеции расположены секции 7-2, 7-5 стоп сигнала в форме параллелограммов. Секции 7-2, 7-5 стоп сигнала реализованы многочисленными равномерно расположенными отверстиями 11-1÷11-M со светоотражателями 9-1÷9-M восьмигранной формы, в центре которых размещены светодиоды 6-1÷6-M красного цвета свечения, пластиковые линзы которых не выступают за внешнюю поверхность рассеивателя 2. Далее для заднего фонаря на оставшейся 1/3 полезной длины верхней части рассеивателя 2 с одного края параллельно рядом расположенной боковой стороне одной секции 7-2 стоп сигнала расположена секция 7-1 желтого цвета указателя поворота, выполненного в форме параллелограмма. Под секцией 7-1 на плате управления 5 размещены светодиоды 6-(Y+1)÷6-Z. На оставшейся 1/3 полезной длины верхней части рассеивателя 2 с противоположного края параллельно рядом расположенной боковой стороне второй секции 7-5 стоп сигнала расположена секция 7-6 фонаря заднего хода/противотуманного фонаря выполненного в форме параллелограмма. Рассеиватели секции 7-1 сигнала поворота, секции 7-6 заднего хода/противотуманного фонаря выполнены матовыми. Задний фонарь коммерческого грузового транспорта, представленный на Фиг.5÷Фиг.7 может быть реализован так что содержит дополнительный выносной фонарь 12–1 (12–2), с тремя источниками света и тремя световыми секциями 13-1, 13-2, 13-3 с индивидуальными рассеивателями. Крепежное основание 14 дополнительного выносного фонаря 12–1 (12–2) механически соединено с боковым торцом корпуса 1 заднего фонаря. От средней части крепежного основания 14 выносного фонаря 12–1 (12–2) расположен кронштейн 15, который выносит корпус 16 с секциями 13-1, 13-2, 13-3 указателей дополнительного выносного фонаря 12–1 (12–2) за боковые габариты в задней части транспортного средства на который будет закреплен задний фонарь коммерческого грузового транспорта. При этом световая секция 13-1 направленная по направлению переднего хода транспортного средства имеет рассеиватель белого цвета. Световая секция 13-2 направленная по направлению заднего хода транспортного средства имеет рассеиватель красного цвета. В торце корпуса 16 с секциями 13-1, 13-2, 13-3 указателей дополнительного выносного фонаря 12–1 (12–2) размещена секция 13-3 с рассеивателем желтого цвета направленным наружу транспортного средства со световым потоком, направленным в плоскости крепления заднего фонаря. При этом корпус дополнительного выносного фонаря 12–1 (12–2) выполнен из жесткой резины. Главное назначение задних фонарей коммерческого грузового транспорта - обозначение габаритного транспортного средства на дороге в темное время суток, а также при плохой видимости. При этом определенные элементы заднего фонаря отвечают и за передачу световых сигналов траектории движения автомобиля (торможение, поворот, обгон, движение задним ходом), движущимся сзади участникам дорожного движения. Таким образом расположение, видимость и эффективность подачи световых сигналов заднего фонаря коммерческого грузового транспорта играют важную роль. Предложенное техническое решение по конструкции заднего фонаря коммерческого грузового транспорта реализовано следующим образом. Задний фонарь коммерческого грузового транспорта (Фиг.1) содержит прямоугольный вытянутый по горизонтали корпус 1 и закрывающий его спереди рассеиватель 2. На корпусе 1 размещены разъем 3 для подключения к электропроводке транспортного средства и элементы крепления корпуса 4-1÷4-H к транспортному средству (Фиг.2). Внутри корпуса 1 заднего фонаря размещена плата управления 5 со светодиодами 6-1÷6-Z линзы которых направлены на внутреннюю поверхность закрывающего их рассеивателя 2. Рассеиватель 2 (Фиг.3) содержит секции сигнальных огней 7-1÷7-6 и светоотражатель 8. Секции сигнальных огней 7-1÷7-6 рассеивателя 2 собранного фонаря размещены напротив и по размеру совпадают с секциями расположения светодиодов 6-1÷6-Z отвечающих за включение того или иного светового сигнального огня заднего фонаря. При этом в одной из секции 7-6 сигнального огня часть светодиодов 6- (M+1)÷6-N имеют белый цвет свечения а другая часть светодиодов 6- (N+1) ÷6-K имеет красный цвет свечения. При этом первая группа светодиодов 6- (M+1)÷6-N отвечает за световой сигнал заднего хода. А вторая группа светодиодов 6- (N+1) ÷6-K отвечает за световой сигнал противотуманного фонаря. Вокруг части светодиодов 6-1÷6-M организованы светоотражатели 9-1÷9-M восьмигранной формы. При этом светодиоды 6-1÷6-M имеют красный цвет свечения, а их пластиковые линзы не выступают за внешнюю поверхность рассеивателя 2. Светоотражатели 9-1÷9-M выполнены из материала с высоким коэффициентом зеркального отражения и имеют восьмигранную форму, которая обеспечивает возврат и концентрацию света, излученного боковой стороной светодиода 6-1 (6-2÷6-M), в световой пучок (Фиг.4). То есть светоотражатели 9-1÷9-M собирают неполяризованный свет, от источника света – светодиодов 6-1÷6-M, который не имеет одного направления, а испускается во все стороны, в лучи светового потока и направленного в заднем направлении от транспортного средства на котором установлены данные фонари. Такое конструктивное решение обеспечивает высокую эффективность работы светодиодов 6-1÷6-M стоп сигнала при этом позволяя применять обычные светодиоды маленькой мощности при высокой яркости стоп сигнала заднего фонаря. Наружная поверхность светоотражателя 9-1 (9-2÷9-M) секции стоп сигнала может быть выполнена из пластика покрытая отражающим слоем хрома. Такое конструктивное решение позволит исключить использование линз с оптическими элементами и добиться четкой направленности светового потока в светоотражателе 9-1 (9-2÷9-M). Рассеиватель 2 заднего фонаря выполнен черным цветом на котором размещены секции: 7-1 – поворотника (желтого цвета свечения); 7-2, 7-5 – стоп сигнала (красного цвета свечения); 7-3 – декоративная секция (красного цвета); 7-4 - габаритного огня в виде латинской буквы W реализованная с использованием рифленой внутренней поверхности 10 рассеивателя 2 (красного цвета свечения); 7-6 - заднего хода/противотуманного фонаря (белого цвета свечения для заднего хода и красного цвета свечения для противотуманного фонаря). Рассеиватели секции 7-1 сигнала поворота, секции 7-6 заднего хода/противотуманного фонаря выполнены матовыми для придания сигналам рассеянного свечения. Секция 7-4 габаритного огня в виде латинской буквы W отражает логотип фирмы производителя ООО «Вагнермайер Руссланд» и придает задним фонарям индивидуальность и различимость транспортного средства в транспортном потоке. Использование рифленой внутренней поверхности 10 рассеивателя 2 в виде латинской буквы W придает лучшее восприятие и свечение ярко выраженной формы с четкими границами секции в виде латинской буквы W различимой даже при взгляде под значительным углом. Светоотражатель 8 выступает в роли светоотражающего элемента (катафота) который при полностью выключенном заднем фонаре способен отражать направленный на него пучек света информируя о обозначении не работающего транспортного средства в темное время суток. С целью придания большей видимости и обозначения габарита транспортного средства, а также большей безопасности при эксплуатации в особенности в темное время суток задний фонарь коммерческого грузового транспорта (Фиг.5÷Фиг.7) может дополнительно содержать выносной фонарь 12–1 (12–2), с тремя источниками света и тремя световыми секциями 13-1, 13-2, 13-3 с индивидуальными рассеивателями. При этом крепление выносного фонаря 12–1 (12–2) к заднему фонарю коммерческого грузового транспорта выполняют с использованием крепежного основания 14 и кронштейна 15 таким образом, чтобы корпус 16 выносного фонаря 12–1 (12–2), с тремя источниками света и тремя световыми секциями 13-1, 13-2, 13-3 выступал за боковые габариты транспортного средства (Фиг.5, Фиг.6). Кроме всего такое техническое решение позволяет продублировать световые сигналы заднего фонаря грузового коммерческого транспорта, а также избежать возможных наездов и аварий. Изготовление корпуса дополнительного выносного фонаря 12–1 (12–2) из резины позволит исключить его повреждение в случае контакта выносного фонаря 12–1 (12–2) с препятствием. В особенности такое конструктивное решение будет полезно при его использовании на длинном транспортном средстве, длинном прицепе либо составе из прицепов. На Фиг.7 представлен вид на левый и правый задние фонари коммерческого грузового транспорта с выносными фонарями 12–1, 12–2 с включенным габаритным светом (закрашенные области свечения, которые будут светиться красным цветом). Предложенная форма и расположение секции заднего фонаря отличает оригинальный дизайн отражающий логотип фирмы производителя ООО «Вагнермайер Руссланд» и придает индивидуальный и информативный вид сигналов для информирования о маневре находящихся с задней части транспортного средства иных участников дорожного движения. Индивидуальные восьмигранные светоотражатели светодиодов стоп сигнала концентрирующие лучи светового потока повышают эффективность в формировании светового потока стоп сигнала. Таким образом техническим результатом от использования всех существенных признаков полезной модели заключается в улучшении видимости, яркости и восприимчивости световых сигналов, а также обеспечении эффективного распределения световых потоков, которые в зависимости от приоритетности имеют разную плотность свечения и обеспечивают хорошую видимость заднего фонаря в любых световых и климатических условиях. Кроме всего предложенная конструкция заднего фонаря благодаря расположению световых секции и оригинальной форме секции габаритного огня придает индивидуальность и различимость транспортного средства в транспортном потоке. Предложенная конструкция заднего фонаря применима для широкого сегмента грузовых автомобилей, прицепов и автопоездов. Техническое решение было создано в ООО «Вагнермайер Руссланд» и апробировано на практике в конструкции заднего фонаря коммерческого магистрального полуприцепа. Опытная эксплуатация и практические исследования подтвердили высокие технические и эксплуатационные характеристики заявленного технического решения. Полученные результаты позволяют сделать вывод о соответствии технического решения критерию «промышленная применимость».